ФЕДЕРАЛЬНОЕ АГЕНТСТВО ПО ОБРАЗОВАНИЮ
КЕМЕРОВСКИЙ ТЕХНОЛОГИЧЕСКИЙ ИНСТИТУТ
ПИЩЕВОЙ ПРОМЫШЛЕННОСТИ
ТЕХНОЛОГИЧЕСКОЕ ОБОРУДОВАНИЕ
ТРАДИЦИОННОЕ И СПЕЦИАЛЬНОЕ ТЕХНОЛОГИЧЕСКОЕ
ОБОРУДОВАНИЕ ПРЕДПРИЯТИЙ ПИЩЕВОЙ ПРОМЫШЛЕННОСТИ
Учебное пособие
Часть 2
Кемерово 2009
УДК 664.009.5 (075)
Рецензенты:
Зав. кафедрой "Процессы, машины и аппараты химических производств" Кузбасского государственно технического университета д-р техн. наук проф.
Кафедра техники и технологий машиностроения и пищевых производств Рубцовского индустриального института Алтайского государственного технического университета
(зав. кафедрой к. т.н., доцент )
Рекомендовано редакционно-издательским советом
Кемеровского технологического института пищевой
промышленности
С65 Технологическое оборудование. Традиционное и специальное технологическое оборудование предприятий пищевых производств: учебное пособие / ; Кемеровский технологический институт пищевой промышленности. — 202 с.
ISBN 5-89289-443-6
Рассмотрено наиболее распространенное и типичное традиционное и специальное технологическое оборудование предприятий, хлебопекарной кондитерской, макаронной, бродильной, молочной, мясной и других отраслей пищевой промышленности.
Предназначено для студентов, обучающихся по направлению 260600.65 «Пищевая инженерия», представляет интерес для студентов – технологов, бакалавров, магистров обучающихся по смежным направлениям, а так же, научных работников, аспирантов и инженерно-технических работников пищевой промышленности.
© КемТИПП, 2009
© , 2009
Оглавление
4. Оборудование для ведения тепло-массообменных процессов 5
4.1. Оборудование для темперирования и повышения концентрации пищевых сред. 5
4.1.1. Аппараты для нагревания, уваривания и варки пищевых сред 5
4.1.2. Выпарные аппараты и установки 11
4.1.3. Развариватели крахмалосодержащего сырья 25
4.1.4. Ошпариватели и бланширователи для фруктов и овощей 28
4.1.5. Оборудование для пастеризации, стерилизации и
термообработки пищевых сред 31
Контрольные вопросы 37
4.2. Аппараты для сушки пищевых сред 38
4.2.1. Барабанные сушильные агрегаты 38
4.2.2. Вальцовые сушилки 43
4.2.3. Ленточные конвейерные многоярусные сушилки 44
4.2.4. Агрегаты с кипящим и виброкипящим слоями 48
4.2.5. Вакуум-сублимационные сушилки 51
4.2.6. Микроволновые сушильные установки 55
4.2.7. Распылительные сушилки 58
Контрольные вопросы 65
4.3. Оборудование для выпечки и обжарки пищевых сред 66
4.3.1. Печи 67
4.3.2. Оборудование для шпарки и опаливания 72
4.3.3. Обжарочные аппараты и печи для запекания 77
4.3.4. СВЧ - установки для обработки сырья и полуфабрикатов 83
Контрольные вопросы 87
4.4. Оборудование для охлаждения и замораживания пищевых сред 88
4.4.1. Охладительные установки и охладители 88
4.4.2. Оборудование для охлаждения и замораживания 94
Контрольные вопросы 99
4.5. Оборудование для проведения процессов диффузии и экстракции пищевых сред 100
4.5.1. Установки для получения настоек и морсов 100
4.5.2. Аппараты для экстракции растительного масла 107
4.5.3. Аппараты для получения экстрактов из животного сырья 111
Контрольные вопросы 115
4.6. Оборудование для процесса ректификации спирта 116
4.6.1. Брагоперегонные установки 119
4.6.2. Брагоректификационные установки непрерывного действия 122
4.6.3. Установки для получения абсолютного спирта 125
Контрольные вопросы 128
5. Оборудование для ведения биотехнологических
процессов 130
5.1. Оборудование для солодоращения и получения
ферментных препаратов 130
Контрольные вопросы 143
5.2. Оборудование для спиртового брожения пищевых сред 144
5.2.1. Аппараты для брожения и дображивания пива 144
5.2.2. Оборудование для сбраживания сусла при производстве спирта 151
5.2.3. Аппараты для сбраживания сусла при производстве вина 152
5.2.4. Оборудование для брожения квасного сусла 155
5.2.5. Агрегаты для брожения опары и теста 158
Контрольные вопросы 163
5.3. Аппараты для созревания молочных продуктов 164
5.3.1. Сливкосозревательные ванны и резервуары 164
5.3.2. Оборудование для свертывания молока и обработки
сгустка 167
5.3.3. Оборудование для посола, мойки и обсушивания сыров 176
Контрольные вопросы 179
5.4. Оборудование для посола мяса и рыбы 180
5.4.1. Оборудование для посола мяса 180
5.4.2. Смесители для посола мяса 183
5.4.3. Оборудование для посола рыбы 185
Контрольные вопросы 186
5.5. Оборудование для созревания мяса 187
5.5.1. Машины для массирования мяса 187
5.5.2. Аппараты для созревания мяса 190
Контрольные вопросы 195
5.6. Оборудование для копчения мяса и рыбы 195
5.6.1. Автокоптилки и коптильные установки 195
Контрольные вопросы 199
Список литературы 200
4. Оборудование для ведения тепло-массообменных процессов
Изучить самостоятельно [2, с. 719…723]:
1. Классификация тепло-массообменных процессов.
2. Научное обеспечение процессов темперирования и повышения концентрации пищевых сред.
3. Классификация оборудования.
4.1. Оборудование для темперирования и повышения концентрации пищевых сред
4.1.1. Аппараты для нагревания, уваривания и варки пищевых сред
Кожухотрубные подогреватели – кожухотрубные теплообменники изготавливают следующих типов: ТН – с неподвижными трубными решетками и температурными компенсаторами; ТП – с плавающей головкой, т. е. одна трубная решетка свободно перемещается; ТУ – с V-образными теплообменными трубками; ТС – с сальником на плавающей головке. В соответствии с существующими стандартами кожухотрубные стальные теплообменники изготавливаются с площадью теплообмена до 2000 м2, для работы при давлении до 6,4 МПа при нагревании жидких и газообразных продуктов при температуре -40…+450°C. Кожухотрубные теплообменники могут быть одноходовые и многоходовые как по трубному (до 12 ходов), так и межтрубному (до 12 ходов) пространству. При разности температур сред более 40°C и при значительной длине теплообменных труб на корпусе кожухотрубного теплообменника устанавливают специальные температурные компенсаторы, компенсирующие температурные расширения трубок (теплообменник типа ТН). С этой же целью можно использовать кожухотрубные теплообменники типа ТП, ТУ, ТС.
Кожухотрубный подогреватель (рис. 4.1) используется для нагревания дробленой томатной массы, пасты, пульпы, фруктового пюре, фруктовых и овощных соков и т. п. Он состоит их двух трубных решеток 1, в которые завальцованы 66 трубок 2 диаметром 34/32 мм и длиной 1986 мм.

Рис. 4.1. Кожухотрубный подогреватель
Общая площадь поверхности нагрева аппарата составляет около 30 м2. Трубные решетки с трубками заключены в металлический кожух 3 цилиндрической формы, с торцов закрытый крышками 4, которые прикреплены к кожуху при помощи откидных болтов. Герметичность соединения обеспечивает уплотняющая прокладка. Между крышкой и трубной решеткой 1 имеются перегородки 5, образующие четыре камеры, которые объединяют один или два пучка трубок. Таким образом, пучки трубок (по 16 в каждом) последовательно соединены между собой. Пар подается в пространство между кожухом и трубками и омывает их снаружи. Конденсат отводится через патрубок 6, расположенный в нижней части кожуха. Давление пара поддерживается на уровне 0,11…0,15 МПа.
Нагреваемый продукт насосом последовательно перекачивается через четыре пучка трубок. Направление движения продукта изменяется благодаря наличию камер в крышках. Путь продукта проходящего через подогреватель, равен длине одной трубки в пучке, умноженной на число ходов.
Реакторы предназначены для перемешивания с подогревом вязких и жидких пищевых продуктов, состоящих из нескольких компонентов. В зависимости от вместительности реакторы изготавливают различных типов.
Реактор типа ИЗ-2С (рис. 4.2) имеет две стойки 1, две цапфы 2, паровую рубашку 3, корпус 4, мешалку 5 и электрооборудование. В нижней части паровой рубашки 3 имеется краник для спуска воздуха и конденсата. После заполнения реактора продуктом в рубашку подается пар и начинается процесс перемешивания с подогревом. Мешалка 5 представляет собой вал с лопастями.
Рис. 4.2. Реактор типа ИЗ-2С |
Реактор имеет два окна для осмотра внутренней полости, а также люк для периодического осмотра, очистки и ремонта.
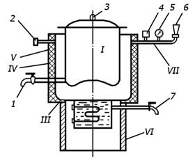
Варочные котлы бывают со стационарной и опрокидываемой чашей, открытые (без крышки) и закрытые. При необходимости в открытые варочные котлы помещают специальные переносные мешалки с электроприводом.
На рис. 4.3 представлена принципиальная схема электрического пищеварочного котла. Полезный объем пищеварочных котлов составляет обычно от 12 до 200. Внутренний диаметр чаши 500…800 мм; площадь поверхности нагрева 0,23…0,75 м2; давление греющего пара 0,3…0,6 МПа; частота вращения мешалки 35…60 мин-1.
Пищеварочный котел представляет собой двустенный сосуд I, расположенный в корпусе III, который покрыт кожухом V, изготовленным из листовой эмалированной стали.
Пространство между корпусом и кожухом заполнено теплоизоляционным материалом IV. В нижней части котла смонтирован парогенератор II. Вся конструкция котла крепится на основании VI. Пространство между внутренней и наружной поверхностями сосуда I представляет собой герметичную паровую рубашку.
Для слива содержимого из варочного котла предусмотрен кран 1. Уровень воды в парогенераторе регулируется с по мощью крана 7. Парогенератор представляет собой металлический короб, в котором смонтированы электронагреватели (ТЭНы).
|
Из за большого объема этот материал размещен на нескольких страницах:
1 2 3 4 5 6 7 8 9 10 11 12 13 14 15 16 17 18 19 20 21 22 23 24 25 26 27 28 29 30 31 |



