За время прохождения сырья под вакуумом для интенсификации процесса экстракции сырье, смоченное растворителем и находящееся на ложном днище, подогревают до 40…45°C через теплообменник.
По истечении определенного периода выдержки смоченного растворителем сырья под вакуумом в первом экстракторе экстрагент из экстрактора 2 подается в экстрактор 1. В экстракторе 2 сырье, смоченное растворителем, вакуумируется с подогревом до 40…45°C и отводят с наружной поверхности сырья пары, содержащие ароматические вещества, т. е. повторяют весь технологический цикл. Полученные фракции направляют в сборник.
Периоды выдержки сырья и циркуляции растворителя повторяют многократно до полного извлечения ароматических веществ из сырья.
В нижних слоях сырья, находящихся в жидкой фазе, для поддержания температуры и процесса испарения по всей высоте слоя сырья, через теплообменники подводится соответствующее количество теплоты. При движении потока паров снизу вверх через слой сырья, не заполненного жидкой фазой, происходит процесс многократного испарения и конденсации паров на поверхности сырья.
Более тяжелые пары, имеющие более высокую температуру кипения, конденсируются и стекают вниз, более летучие пары, с высокой концентрацией эфирных масел многократно испаряются и двигаются вверх, т. е. происходит процесс ректификации. В данном случае экстрактор работает как насадочная ректификационная колонка, роль насадки выполняют частицы сырья. Это позволяет увеличить скорость паровых потоков, исключить их обратное перемещение, интенсифицировать процесс повышения концентрации эфирных масел в паровой фазе.
По окончании процесса экстрагирования и откачки настоя в реакторе осуществляется выпарка этанола из отработанного сырья, а затем гидроспособом осуществляется удаление из реактора отработанного и выпаренного сырья.
Вибрационные экстракторы. Одним из способов интенсификации процесса экстрагирования плодово-ягодного сырья является наложение вибрационного поля низкочастотных механический колебаний на взаимодействующие фазы. При это создается активный гидродинамический режим, значительно сокращается металло и энергоемкость оборудования. При воздействии низкочастотных механический колебаний в процессе экстрагирования участвует практически вся поверхность экстрагируемого вещества, происходит интенсивное обновление межфазной поверхности в условиях интенсивного перемешивания обеих фаз.
Аппараты, в которых используются низкочастотные колебания, характеризуются высокой эффективностью массообмена при большой удельной производительности. Это связано с тем, что подводимая внешняя энергия равномерно, или в заранее заданном режиме, распределяется по поперечному сечению и высоте аппарата и нужным образом влияет на поле скоростей взаимодействующих фаз.
Низкочастотные взаимодействия создаются колебательным движением насадки (тарелки) в аппарате либо наложением колебаний на корпус аппарата. Вибрационные насадки изготавливают перфорированными, одно - и многодисковыми, с отверстиями цилиндрической или конической формы. Для создания колебаний используют электромеханические приводы, генерирующие колебательное движение и передающие его штанге с насадками.
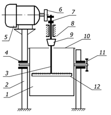
На рис. 4.51 представлен экстрактор с вибрационной насадкой периодического действия для экстрагирования плодово-ягодного сырья, свежего, замороженного, отжатого и сушеного. Он состоит из рабочей емкости 1, рамы 2, штока 3, подшипников 4, электродвигателя 5, диска 6, кривошипно-шатунного механизма 7, подшипникового узла 8, разъема 9, крышки 10, зубчатого колеса 11, перфорированной тарелки 12.
Рис. 4.51 Экстрактор с вибрационной насадкой периодического действия |
Аппарат работает следующим образом. Исходное плодово-ягодное сырье загружается в емкость 1, куда затем вставляется тарелка 12, установленная на шток 3, Шток 3 с помощью винтового разъема 9 соединяется с кривошипно-шатунным механизмом 7, затем в емкость 1 в заданном количестве заливается экстрагент и устанавливается крышка 10 с прорезью для штока 3. Включается электродвигатель 5 и с помощью диска 6 кривошипно-шатунного механизма 7 приводят тарелку 12 в возвратно-поступательное движение в вертикальной плоскости. По окончании времени экстрагирования отключается электродвигатель, снимается крышка 10, разбирается разъем 9, вынимается тарелка 10. Поскольку емкость 1 и элементы привода размещены на раме 1, причем емкость 1 подвешена на полуосях, установленных в подшипниках 4, для разгрузки емкости 1 используется электропривод с редуктором, которые с помощью шестерни на выходном конце вала соединяется с зубчатым колесом 11. Угол подъема и опускания емкости 1 ограничивают концевые выключатели, сблокированные с приводом механизма подъема и опускания.
Диаметр перфорированной тарелки 0,94…0,98 диаметра аппарата, диаметр отверстий в тарелке 3…5 мм, площадь свободного сечения тарелки 14…20%, толщина диска тарелки 3…4 мм, высота юбки на тарелке 10…18 мм, расстояние от дна емкости до диска тарелки 0,3 диаметра аппарата, расстояние от диска тарелки до свободной поверхности жидкости 0,25…03 диаметра аппарата. Частота колебаний тарелки 550…650 мин-1. Расход энергии на системе «вода – замороженные плоды красной рябины» - 1350 Вт/м2.
Время экстрагирования: на системе «вода – замороженные плоды красной рябины» - 10…30 мин.
В экстракторе периодического действия вспомогательные операции (загрузка, разгрузка) в 1,5…4 раза превышают время собственно экстрагирования, что является недостатком данного способа.
Экстрактор непрерывного действия с вибрационными тарелками (рис. 4.52) предназначен для экстрагирования плодово-ягодного сырья сухого, свежего, замороженного, а так же жома плодов и ягод, растительного сырья.
Экстрактор (рис. 4.52) состоит из вертикального цилиндрического корпуса 1, с устройствами ввода 5, 6, 7 и вывода 8 фаз. В корпусе установлен с возможностью возвратно-поступательного движения в вертикальной плоскости шток 3 с жестко закрепленными на нем перфорированными тарелками 2, снабженными по периферии бортами.
Рис. 4.52 Принципиальная схема экстрактора непрерывного действия с вибрационными тарелками |
Аппарат работает следующим образом. Экстрагент поступает в аппарат через устройства 6 и 7, твердая фаза (плодово-ягодное сырье и др.) подается через устройство 5, установленное под углом к корпусу аппарата. Непрерывность подачи и дозирования твердой фазы осуществляется шнековым питателем 9, установленным в устройстве 5. Твердая фаза и экстрагент, поступая в нижнюю часть аппарата, интенсивно перемешиваются под действием вибрационного поля, создаваемого пакетом тарелок 2, который вместе со штоком 3 совершает возвратно-поступательные движения. В результате снизу и сверху каждой тарелки создается виброожиженный слой, который обеспечивает разрушение агломератов твердой фазы до начальных размеров частиц и их последующее измельчение, участие в контакте с жидкой фазой всей поверхности твердой фазы, интенсивное омывание и проникновение жидкой фазы в твердую фазу.
Образовавшаяся в виброожиженном слое суспензия движется снизу вверх за счет вытеснения свежими объемами экстрагента и твердой фазы, постоянно поступающих в нижнюю часть аппарата, и выводится через устройство 8.
Продолжительность процесса в данном экстракторе зависит от скорости подачи фаз и определяется временем извлечения полезных компонентов из конкретного вида сырья.
Крышка 4 на устройстве 5 открывается при чистке и ремонте аппарата. Для повышения степени извлечения полезных компонентов и увеличения движущей силы процесса предусмотрено устройство 7 для дополнительного ввода экстрагента.
4.5.2. Аппараты для экстракции растительного масла
Процесс экстракции масла с применением растворителя обеспечивает практически полное извлечении масла из подготовленного соответствующим образом масличного материала, чаще всего прошедшего предварительное обезжиривание прессованием. Вследствие достаточно невысоких температур как на стадии экстракции, так и на других стадиях экстракционного производства создаются предпосылки сохранения качества продукта (масла и шрота).
Одним из показателей интенсивности процесса является продолжительность, которая в различных аппаратах колеблется от одного до нескольких часов.
Двухъярусный роторный карусельный экстрактор (рис. 4.53) представляет собой аппарат, состоящий из цилиндрического корпуса 2 и двух вращающихся роторов (верхнего и нижнего 3), имеющих собственные валы 14 и 18. У каждого ротора внешняя 15, 20 и внутренняя 16, 19 обечайки образуют кольцевое пространство, которое разделено вертикальными радиальными перегородками 4, 13 на 18 камер. В поперечном сечении эти перегородки имеют сужающуюся к низу форму, что способствует перегрузке материала на нижний ярус или разгрузочный бункер без зависания в камере. Привод обоих роторов общий, причем вращение они получают через зубчато-цепные передачи 5 и 9, которые, в свою очередь, получают вращение через валы с шарнирами.

Рис. 4.53. Двухъярусный роторный карусельный экстрактор
На обоих ярусах экстрактора по два днища: верхнее 1, 7 – зеерное (щелевое) и нижнее 6, 21 – сплошное, имеющие угол 12° к внешнему периметру экстрактора. На каждом сплошном нижнем днище расположены вертикальные радиальные перегородки, выгораживающие камеры для сбора мисцеллы (мисцеллосборники) и направления ее к рециркуляционным насосам. Загрузка исходного экстрагируемого материала происходит через загрузочный бункер 11 двумя параллельно расположенными шнеками 10 разной длины, что обеспечивает равномерность загрузки камер экстрактора. Загрузочные шнеки имеют индивидуальные приводы.
На вертикальном ярусе материал перемещается радиальными лопатками ротора по неподвижному зеерному днищу и проходит восемь ступеней орошения мисцеллой, подаваемой рециркуляционными насосами через орошающие трубы 12 (разбрыгиватели). Система рециркуляции мисцеллы обеспечивает общее противоточное движение экстрагируемого материала и мисцеллы, т. е. по направлению к месту ввода растет концентрация рециркулируемой мисцеллы.
|
Из за большого объема этот материал размещен на нескольких страницах:
1 2 3 4 5 6 7 8 9 10 11 12 13 14 15 16 17 18 19 20 21 22 23 24 25 26 27 28 29 30 31 |



