Опорами 13 в стойке можно регулировать угол наклона отделителей и качество отделения сыворотки.
Техническая характеристика отделителя сыворотки Я7-00-23-50: производительность до 50 м3/ч; длина перфорированной части барабана 710 мм; частота вращения барабана 0,5 с-1; установленная мощность электродвигателя 0,7 кВт.
Оборудование для прессования сырной массы бывает вертикального или горизонтального исполнения, причем в последнее время наметилась тенденция перехода к горизонтальным прессам туннельного типа.
Вертикальные прессы Е8-ОПД (рис. 5.21) и Е8-ОПГ (рис. 5.22) предназначены для прессования всех видов сыра, удаления части сыворотки и образование поверхностного слоя.
Пресс Е8-ОПД - пневматический, вертикальный, двухсекционный, шестиярусный. Пресс Е8-ОПГ имеет четыре секции, что отличает его от пресса Е8-ОПД.
Рис. 5.21. Пресс Е8-ОПД |
Прессы состоят из секций с пневмосистемой 7 и траверсой 2, связанных вертикальными стойками 7, установленных на основаниях 8, по которым вверх и вниз движутся прессующие полки 6 с сырными формами. В каждой секции расположено пять полок, соединенных между собой стяжками 9. Верхний конец стяжки закреплен неподвижно, а нижний, проходящий через сквозное отверстие в полке, - подвижно. Верхние прессующие полки прикрепляют стяжками к коромыслам 17, насаженным на концы штоков 14 пневмоцилиндров 3 и закрепленным прижимами 18. На пневмоцилиндрах 3 с траверсами 2 установлены крышки 12, поршни 13, втулки 15, манжеты 16, фланцы 10, кольца 11. Пресс устанавливают на полу производственного помещения на четырех регулируемых по высоте ножках.
Формы с сырной массой устанавливают на полках. Прессующие полки поднимают или опускают поворотом рукоятки крана 4. Удельное давление прессования регулируют поворотом рукоятки регулятора давления 5. Наличие в каждой секции шести ярусов прессующих полок позволяет прессовать за смену 125...250 кг сыра. Для работы прессов может быть использована компрессорная установка с давлением сжатого воздуха до 0,6 МПа. Ответственные детали пресса, подвергающиеся коррозии, изготовляют из нержавеющей стали с декоративной полировкой поверхностей.
Техническая характеристика вертикальных прессов (Е8-ОПД/Е8-ОПГ): число одновременно установленных форм (12/24); производительность (120…125)/(240…250) кг/смену; число секций (2/4); число ярусов в секции (6/6); максимальное давление воздуха в пневмоцилиндре (0,6/0,6) МПа; максимальное давление воздуха при прессовании (0,6/0,6) МПа; диаметр поршня пневмоцилиндра (125/125) мм; ход штока пневмоцилиндра (725/725) мм.
Горизонтальный пресс Е8-ОПБ (рис. 5.23) предназначен для прессования сыров унифицированной цилиндрической формы, а также голландского круглого и ярославского.
Пресс Е8-ОПБ состоит из двух прессующих секций и пяти ярусов, образованных горизонтальными направляющими 2 с фиксаторами 4, передней 1, средней 3 и задней 8 рамами. Его устанавливают на полу на регулируемых в горизонтальной и вертикальной плоскостях ножках. Пресс находится в кожухе 6 и содержит поддон 5.
Направление подачи воздуха регулируется краном управления 11. Один кран управляет одновременно двумя пневмоцилиндрами 9. Регулятор давления 7 обеспечивает регулирование давления сжатого воздуха для всех десяти пневмоцилиндров
пневмосистемы 10. Удельное давление прессования регулируется поворотом рукоятки регулятора давления.
Техническая характеристика пресса Е8-ОПБ: число одновременно установленных форм 50…140; производительность

Рис. 5.22.Пресс Е8-ОПГ

Рис. 5.23.Горизонтальный пресс Е8-ОПБ
500…1000 кг/смену; число пневмоцилиндров 10; расход сжатого воздуха 0,2 м3/г; максимальное давление воздуха прессования 4,5 кН.
Определение производительности и энергозатрат. Производительность сыродельных ванн П (кг/ч) определяется по формуле

где: VР – масса молока в ванне, кг; τЦ – продолжительность цикла, ч (включая наполнение, нагревание, свертывание, разрезку, вымешиванеи, образование пласта и разгрузку).
Сгусток начинают резать при скорости движения режущего инструмента V=0,3...0,4 м/с, а заканчивают постановку зерна при V= 1,5...2,0 м/с. Перемешивают зерно в течение τП = 30...150 мин.
Поглощаемая мешалкой мощность N (кВт) зависит от требуемой интенсивности перемешивания и определяется величиной перемешиваемого объема и энергией перемешивания.
Потребную мощность N (кВт), затрачиваемую лопастной мешалкой, определяют по формуле

где: ρ - плотность продукта, кг/м3; h - высота погруженной части лопасти, м; z - число лопастей; п - частота вращения, с-1; RН, RВ - расстояние от оси вращения до наружного и внутреннего краев лопасти, м.
Полезное усилие прессования РП (Н) вычисляют по формул
![]()
где: РУД – удельное давление, Н/кг; G – масса сыра, кг.
5.3.3. Оборудование для посола, мойки и обсушивания сыров
Для размещения сычужных сыров высотой до 160 мм при посолке сыра в солильных бассейнах применяют контейнер Т-547, который представляет собой металлический каркас, в котором устанавливаются рабочие полки. Конструкция контейнера позволяет производить загрузку его полок при помощи автопогрузчика.
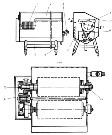
Машина РЗ-МСЩ (рис. 5.24) применяется для мойки поверхности твердых сыров на промышленных предприятиях.
|
Машина состоит из следующих основных частей: ванны 2, щеточных барабанов 1 и привода 6. Ванна смонтирована на раме 9 и установлена на опорных ножках 8, регулируемых по высоте. Ванна является резервуаром для воды и каркасом, на котором смонтированы все узлы и детали машин. В нижней части ванны имеется патрубок для слива загрязненной воды. Для регулировки температуры воды в торцевой стенке ванны вмонтирован паровой смеситель 3. Переливная труба 7 обеспечивает постоянство уровня воды.
Валы 12 щеточных барабанов 1 опираются на подшипниковые узлы 10, которые, в свою очередь, смонтированы на торцевых стенках ванны. Привод машины состоит из электродвигателя с редуктором 11, клиноременной и шестеренной передач. Барабаны состоят из набора щеток, стянутых накидной гайкой. Для удобства обслуживания машины ванна имеет стол загрузки 5. Привод закрывается кожухом 4.
Рабочие органы машины - щеточные барабаны 1 - вращаются в ванне с водой и формируют воздушно-водяной поток. Поверхности головок сыра моются направленно движущимся водяным потоком и ворсом щеток, изготовленных из пропиленового или капронового волокна диаметром 0,6...0,7 мм. Положение головок периодически изменяется оператором. Вода к ванне подводится через патрубок, который подключается к водопроводной магистрали через паровой смеситель, что позволяет в широких пределах регулировать ее температуру. Переливная труба поддерживает постоянный уровень воды в ванне. Загрязненная вода сливается в канализацию через патрубок с краном в нижней части ванны.
Техническая характеристика машины Р3-МСЩ: производительность 100…150 головок/ч; частота вращения рабочих щеток 150 мин-1; расход воды 0,6 м3/ч; установленная мощность электродвигателя 1,1 кВт.
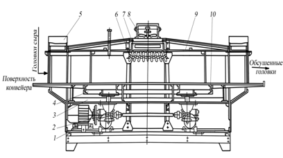
Машина М6-ОЛА/1 (рис. 5.25) предназначена для обсушки поверхности сыров нагретым воздухом после мойки. В состав машины входят сушильная камера, тепловая станция с калориферами 7, шаговый конвейер 10 для сыров, работающий от электропривода.
Сушильная камера представляет сварной каркас 1, по боковым сторонам которого в пазы вставляются легкосъемные щиты 9. Привод машины осуществляется от индивидуального электродвигателя через вариатор, клиноременную передачу и червячный редуктор. Воздух подается двумя вентиляторами 8 через калорифер 7. В нижней части калорифера имеются жалюзи 6, которые регулируют количество и направление поступающего воздуха. Отработанный влажный воздух удаляется из камеры и выбрасывается в атмосферу по воздуховоду 5.

Рис. 5.25. Машина М6-ОЛА/1 |
Транспортирующее устройство состоит из двух рам неподвижной 3 и подвижной 4. Подвижная рама соединена кронштейном 2 с эксцентриковым механизмом привода, который сообщает ей возвратно-поступательное движение. Величина вертикального перемещения подвижной рамы относительно неподвижной составляет 35 мм на сторону. Сыр укладывают на неподвижную раму 3. Подвижная рама совершает возвратно-поступательное движение относительно неподвижной и за каждый шаг переносит сыр на 70 мм. Обсушка сыра длится 4...8 мин.
Техническая характеристика машины М6-ОЛА/1: время обсушки 4…8 мин; скорость транспортирования 0,35…0,66 м/мин; производительность двух вентиляторов 1000 м3/мин; поверхность нагрева калорифера 34,2 м2; температура воздуха 65…70 0С; мощность калорифера 1,2 кВт.
|
Из за большого объема этот материал размещен на нескольких страницах:
1 2 3 4 5 6 7 8 9 10 11 12 13 14 15 16 17 18 19 20 21 22 23 24 25 26 27 28 29 30 31 |



Рис. 5.24. Машина Р3-МСЩ