Техническая характеристика камеры КХС-2-6: температура воздуха в камере 0...8 °С; охлаждаемый объем 6 м3; площадь поверхности:![]()
![]()


полок 2,3, испарителя 2x8,5 м2; максимальная загрузка продуктов 600 кг; максимальный расход электроэнергии 0,66 кВт·ч; холодильный агент Всэ-1250;габаритные размеры 1920x1920x2168 мм; масса 700 кг.
Производительность аппарата для созревания мяса П (т/смену) определяют по формуле
![]()
где: V— вместимость созревателя, м3; τ см, τ с — продолжительность смены и созревания, ч; ρ — плотность кускового мяса в созревателе, кг/м3.
Количество теплоты Qc (Дж), отводимое с хладоносителем при созревании мяса, определяют как
![]()
где: k — коэффициент теплопередачи, Вт/(м2 ·К); S — поверхность теплообменника, м2; tП, tХ — соответственно средние температуры продукта и хладоносителя, °С; τ — продолжительность охлаждения, с.
Расход хладоносителя GХ (кг/с) находят из уравнения теплового баланса
![]()
где: сХ - теплоемкость хладоносителя (вода, рассол), Дж/(кг·К); tK, tH - конечная и начальная температуры хладоносителя, °С.
Общее количество теплоты Q0 (Вт), поступающей в охлаждаемый объем камеры созревания, можно определить по уравнению
![]()
где: QОГР – количество теплоты, приходящей через изолированные ограждения камеры, Вт; Qинф — количество теплоты, поступающей за счет инфильтрации окружающего воздуха при открывании камеры, Вт; Qрод — количество теплоты, выделяемой продуктами при хранении, Вт; QЭKC — эксплуатационные теплопритоки, Вт; QВЕН — количество теплоты, образующейся при работе вентилятора испарителя, Вт.
Контрольные вопросы
1. Какие закономерности лежат в основе процесса созревания мяса?
2. Почему процессы созревания мяса протекают интенсивнее под влиянием препаратов протеаз?
3. От каких факторов зависят сроки созревания мяса?
4. Какие способы обработки мяса протеолитическими ферментами Вам известны?
5. Какова классификация оборудования для созревания мяса?
6. От каких параметров зависит производительность машин для созревания мяса?
7. Каково устройство и принцип действия оборудования рассмотренного в данном разделе?
8. Какова температура воздуха в камере для созревания мяса?
9. Приведите технико-экономические показатели оборудования, рассмотренного в данном разделе.
10. От каких факторов зависит продолжительность охлаждения при созревании мяса?
5.6. Оборудование для копчения мяса и рыбы
Изучить самостоятельно [2, с. 1141…1144]:
1. Основные определения.
2. Научное обеспечение процесса копчения.
3. Классификация оборудования.
5.6.1. Автокоптилки и коптильные установки
Стационарная коптильная камера представляет одноэтажное или многоэтажное кирпичное сооружение. В нижней части расположена топка, где сжигают топливо для получения дыма или обогрева камеры. Она оборудована подвесными путями для подачи продукта на рамах или стойках для их навешивания. На каждом этаже камеры имеются решетки на случай падения изделий. В центре топки укладывают мелко нарубленные дрова и засыпают их опилками, которые зажигают со стороны, обращенной к поддуву. Плотность дыма зависит от количества воздуха, поступающего в топку. Считают нормальным, если воздух поступает в таком количестве, что скорость его движения в коптильной камере не менее 0,12 и не более 0,25 м/с. Относительную влажность в камере поддерживают в пределах 60...65 %.
Стационарная коптильная камера проста в обслуживании, ее удобно загружать, подавая продукт на рамах. Однако копчение в такой камере может быть неравномерным. Это связано с тем, что состав и свойства дыма неодинаковы по высоте.
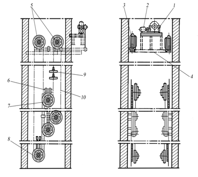
Автокоптилка малая АМ-360 (рис. 5.33) состоит из многоэтажной вертикальной кирпичной или железобетонной шахты размерами 2,52x3,2 м. Полезная нагрузка автокоптилки 12420 кг. В верхней части располагается привод, который осуществляется от электродвигателя 2 через червячный редуктор 1 и цепную передачу 3. Посредством цепной передачи вращение передается на червячные редукторы 4. На вал червячного колеса этих редукторов насажены приводные звездочки 5, на которые навешиваются две бесконечные пластинчато-шарнирные цепи 10, движущиеся в вертикальном направлении. Цепи соединены между собой траверсами 9 люлечного типа, подвешенными на шарнирах так, что они все время сохраняют горизонтальное положение и предназначены для навешивания копченостей. Скорость движения цепи 0,016 м/с, а шаг между траверсами 900 мм. Цепи автокоптилки натягиваются двумя натяжными станциями 6 грузового типа. Они состоят из оси, вращающейся в двух подшипниках скольжения, смонтированных в ползунах, и двух звездочек 7 и 8, из которых одна фиксируется шпонкой, а другая насажена по скользящей посадке. В целях предотвращения аварии транспортного механизма автокоптилки предусмотрено специальное автоматическое устройство, которое включает электродвигатель привода с одновременной световой и звуковой сигнализациями при застопоривании одной из ветвей конвейера.
В нижней части здания шахты расположена топка. От нее дымовоздушная смесь свободно поднимается по всей шахте, равномерно воздействуя на продукт, вывешенный на траверсе. В верхней части автокоптилки располагается дымовая камера, потолок которой снабжен шиберами для регулирования потока дымовоздушной смеси.

Рис. 5.33. Автокоптилка малая АМ-360 |
Автокоптилка загружается и выгружается при движущейся цепи после предварительного прогрева шахты. Загрузочные и разгрузочные двери устраиваются в соответствии с расположением технологических отделений. Масса автокоптилки составляет 6300 кг.
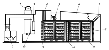
Коптильная установка типа АФОС (рис. 5.34) предназначена для копчения мясопродуктов, птицы и рыбы. Основными элементами установки являются коптильная камера с циркуляционным 5 и вытяжным вентиляторами, теплообменники (основной 4 и дополнительный 10), дымоводы 2 и 6, воздуховоды, приборы контроля и управления 3. Установка может быть с одной, двумя и четырьмя одностворчатыми дверьми. Коптильная камера содержит входную 8 и выходную 11 дымораспредели-тельные решетки.

Рис. 5.34. Коптильная установка АФОС |
В зависимости от вида продукт на рамах подвешивают или нанизывают на шомполы и устанавливают на тележках 9. Число тележек соответствует числу дверей в камере. Все основные элементы установки изготовлены из нержавеющей стали.
Заданная температура циркулирующей в установке дымовоздушной смеси поддерживается с помощью основного теплообменника в верхней части установки, а при необходимости и дополнительного теплообменника, расположенного в средней части коптильной камеры. Теплообменники могут нагреваться паром, электронагревателями, а также горячей водой температурой 75 °С (только для холодного копчения). Расход пара при давлении 0,02 МПа в зависимости от модели установки составляет 32,4... 288 кг/ч. Объем подаваемой в коптильную камеру дымовоздушной смеси, а также ее влажность регулируются открытием и закрытием шиберов 7 и 12, расположенных в воздуховодах. Температура, влажность и расход дымовоздушной смеси контролируются автоматически. Потребляемая мощность таких установок составляет от 29 до 187 кВт. Число дымогенераторов 1 в установке (от одного до двух) зависит от ее производительности. Для поддержания температуры топлива ниже температуры самовозгорания, а также охлаждения дыма перед подачей его в коптильную камеру дымогенератор дополнительно оборудован охладителем, который охлаждается циркулирующей холодной водой и расположен над колосниковой решеткой.
Производительность коптильных установок в расчете на их площадь ПS [кг/(м2·ч)] и на их объем ПV [кг/(м3·ч)] можно определять по следующим формулам
![]()
где: G – масса загружаемого сырья, кг; S – площадь, занимаемая установкой, м2; τ – продолжительность оборота, ч;
,
где: V1 – объем печи, м3; V2 — объем дымогенератора, м3; V3 – объем других устройств, обслуживающих установку (вентиляторы, преобразователи электрического тока, тележки, привод и др.), м3.
Контрольные вопросы
1. Что представляет собой процесс копчения?
2. Каковы режимы копчения мясопродутов?
3. Какое сырье используется для копчения рыбы?
4. Какие биотехнологические изменения претерпевают мясо и рыба при копчении?
5. Чем отличается горячее копчение от холодного?
6. Какой принцип лежит в основе классификации оборудования для копчения мяса и рыбы?
7. Каково устройство и принцип действия оборудования рассмотренного в настоящем разделе?
8. Каковы достоинства и недостатки оборудования рассмотренного в данном разделе?
Список литературы
1. Руднев оборудование предприятий пищевой промышленности. Часть I, конспект лекций [Текст]/. – Кемерово: Кемеровский технологический институт пищевой промышленности, 1997. – 116 с.
2. Машины и аппараты пищевых производств. В 2 кн.: Учебник для вузов [Текст]/, , и др.; Под ред. акад. РАСХН . – М.: Высшая школа, 2001.
3. Кавецкий и аппараты пищевых производств. [Текст]/, . – М.: Агропромиздат, 1991. – 432 с.
4. Машины и аппараты для переработки молока и мяса [Текст]/ , , и др.; Под общ. ред. . – Пенза: Пензенский технологический институт, 1999. – 454 с.
5. Драгилев машины и аппараты пищевых производств [Текст]/, . – М.: Колос, 1999. – 376 с.
6. Кретов оборудование предприятий бродильной промышленности: Учебник [Текст]/, . – Воронеж: Издательство государственного университета, 1997. – 624 с.
7. Хромеенков хлебопекарного производства [Текст]/.–М.: ИРПО; Изд. центр «Академия», 2000. – 320 с.
8. Ивашов оборудование предприятий мясной промышленоости. Части I и II/[Текст]/. – М.:, 2001-2006.
9. Сорокопуд линии и специальное оборудование для производства пищевых продуктов: учебное пособие [Текст]/, , . – Кемерово: Кемеровский технологический институт пищевой промышленности, 2006. – 168 с.
|
Из за большого объема этот материал размещен на нескольких страницах:
1 2 3 4 5 6 7 8 9 10 11 12 13 14 15 16 17 18 19 20 21 22 23 24 25 26 27 28 29 30 31 |



