Уравнение рекомендуется для инженерных расчетов в следующих пределах:
=600…10500; Pr = 4,5…7,5; линейная скорость концов лопастей ν = 1,1…2,0 м/с; количество лопастей z = 1…4; зазор Δ = 0,001…0,004 м.
Контрольные вопросы
1. В чем заключается сущность процесса экстракции и что является движущей силой диффузионного процесса?
2. Какие основные требования должны быть выполнены при конструировании диффузионных аппаратов?
3. Чем диффузионные аппараты отличаются от экстракционных?
4. По какому принципу работают экстракционные установки для получения спиртовых настоек и морсов?
5. Каково устройство и принцип действия оборудования рассмотренного в данном разделе?
6. Чем определяется производительность диффузионных аппаратов?
7. Какими способами ведется экстракция растительных масел и в чем их особенность?
8. Что отражает коэффициент молекулярной диффузии?
9. Что отражает коэффициент конвективной диффузии?
10. Каков принцип обесклеивания костного шрота в диффузоре?
11. Чем отличаются расчеты производительности экстракторов для полученя растительного масла?
4.6. Оборудование для процесса ректификации спирта
Изучить самостоятельно [2, с. 987…989]:
1. Основные понятия и определения.
2. Научное обеспечение процесса ректификации спирта.
3. Классификация оборудования.
Полная колонна 1 (рис. 4.57, а) состоит из отгонной (исчерпывающей) и концентрационной частей, в состав которых входит дефлегматор 2 и холодильник дистиллята 3. Греющий пар подводится в нижнюю часть колонны, а вода проходит через дефлегматор и холодильник. Питание в полную колонну вводится в среднюю часть (на верхнюю тарелку отгонной части колонны). Дистиллят отводится из холодильника дистиллята.
Отгонная колонна 1 (неполная) (рис. 4.57, б) имеет только отгонную часть, в ней отсутствует дефлегматор 2, а питание подается на ее верхнюю тарелку. В этой колонне поступающее питание истощается низкокипящим компонентом.
Рис. 4.57. Принципиальные схемы ректификационных колонн:а – полная; б – неполная отгонная; в – неполная концентрационная
Концентрационная колонна 1 (неполная) (рис. 4.57, в) снабжена дефлегматором 2, а питание поступает под нижнюю тарелку в парообразном виде.
В полной ректификационной колонне 1 создается возможность для получения практически в чистом виде обоих компонентов разделяемой бинарной (двухкомпонентной) смеси. В неполной отгонной колонне из нижней части отводится практически чистый труднолетучий компонент, а из верхней – пар, несколько обогащенный легколетучим компонентом. Из верхней части неполной концентрационной колонны отводится практически чистый легколетучий компонент, а из нижней – остаток S, несколько обогащенный труднолетучим компонентом.
Контактное устройство – основной элемент ректификационной колонны, на котором осуществляется процесс массообмена между паром и жидкостью. Интенсивный массообмен на контактном устройстве достигается путем создания развитой поверхности контакта фаз и активной гидродинамической обстановки.
В спиртовой промышленности, как правило, применяют тарельчатые контактные устройства, на которых осуществляется последовательно ступенчатый контакт фаз. Тарелки ректификационных колонн могут быть (рис. 4.58): колпачковыми, сетчатыми (решетчатыми), клапанными, чешуйчатыми, ситчатоклапанными, жалюзийно-клапанными и др. Во всех случаях на тарелке удерживается слой жидкости, через который проходит пар, в результате чего осуществляется массообмен.
Простейшая одноколпачковая тарелка одинарного кипячения используется в бражных колоннах установок малой производительности (для разделения жидкостей со взвешенными частицами или способных выделять осадки). В одноколпачковой тарелке двойного кипячения барботаж происходит из под краев колпачка и воротника. Благодаря этому создаются встречные потоки пара, улучшающие контакт пара и жидкости.
Многоколпачковые (капсульные) тарелки применяют в колоннах для разделения жидкостей, не содержащих взвешенных частиц. Они имеют большой периметр барботажа и более эффективны. Ситчатые (решетчатые) тарелки с отверстиями диаметром 2,5…3,5 мм (для разгонки жидкостей, способных выделять осадки) и 8…12 мм (для разгонки жидкостей со взвешенными частицами).
В провальной тарелке (решетчатого типа) нет сливных стаканов и жидкая фаза сливается через те же отверстия, через которые поступает на тарелку пар. Тарелки изготовляются из стальных или медных листов толщиной 2,5…6 мм. Щели тарелки выполняются штамповкой или фрезеровкой с живым сечением 10…15%. Расстояние между тарелками составляет 300…600 мм. Такие тарелки применяются в бражных колоннах при перегонке паточной и зернокартофельной бражки.

Рис. 4.58. Тарелки ректификационных колонн:
а – одноколпачковая одинарного кипячения; б – одноколпачковая двойного кипячения; в – многоколпачковая; г – ситчатые (решетчатые); д – провальная; е – клапанная; ж – чешуйчатая
В клапанных тарелках распределительным устройством для пара являются клапаны (пластины той или иной формы), которые перекрывают отверстия тарелки и под давлением пара поднимаются, пропуская пар. Предельная высота подъема клапана определяется высотой ограничительного устройства. Клапанные тарелки обладают способностью к самоочищаемости. Они используются в ректификационных и эпюрационных колоннах.
Чешуйчатые тарелки относятся к группе однонаправленных, где пар и жидкость движутся в одном направлении, причем пар способствует движению жидкости. Их целесообразно устанавливать в бражных колоннах, работающих на паточной и зернокартофельной бражке. Чешуйчатые тарелки обеспечивают высокую эффективность и производительность при работе в струйном режиме, когда скорость пара в щелях превышает 12 м/с.
Работу тарелок оценивают по пропускной способности по пару и жидкости, по способности разделять рабочую смесь, по диапазону устойчивой работы, по гидравлическому сопротивлению и др. Пропускная способность по пару и жидкости характеризует производительность колонн (удельный объем конечного продукта с единицы поперечного сечения колонны).
Способность разделять перегоняемую смесь называют эффективностью контактного устройства или колонны в целом. Обычно определяют число теоретических тарелок (ступеней изменения концентраций) или число единиц переноса и по нему оценивают эффективность тарельчатых колонн.
Под теоретической тарелкой понимают такое устройство, которое обеспечивает контакт пара и жидкости, в результате покидающие его потоки, достигают фазового равновесия. Практически на реальных тарелках такое равновесие почти никогда не достигается. Теоретическая тарелка служит эталоном для установления эффективности реальных тарелок.
4.6.1. Брагоперегонные установки
В спиртовой промышленности применяются брагоперегонные установки двух типов – одноколонные и двухколонные (рис. 4.59). В одноколонной установке бражка, предварительно подогретая в дефлегматоре 4, поступает на верхнюю тарелку колонны 1. Нижняя часть колонны называется бражной, куда снизу подводится греющий пар. Из бражной колонны водно-спиртовые пары направляются в нижнюю часть спиртовой колонны 2; здесь пары укрепляются. Из колонны 2 укрепленные пары поступают в межтрубное пространство дефлегматора 4.
Конденсируясь, пары отдают теплоту бражке, протекающей в трубах дефлегматора. Конденсат водно-спиртовых паров возвращается в колонну 2 в виде флегмы. Несконденсировавшиеся пары направляются в холодильник 5, где они конденсируются и образуют спирт-сырец. Спирт-сырец содержит не только воду и спирт, но и другие летучие продукты, входящие в состав бражки.
Рис. 4.59. Принципиальные схемы брагоперегонных установок
В двухколонной установке подогретая в дефлегматоре 4 бражка поступает в бражную колонну 7, где из бражки испаряется спирт. Водно-спиртовые пары через ловушку 6 попадают во вторую колонну. В ловушке отделяется жидкость, увлеченная парами; отсюда она возвращается в колонну 1. Верхняя часть колонны 2 служит для укрепления паров спиртом; нижняя часть колонны 3 предназначена для истощения (вываривания) стекающей флегмы, откуда отводится лютерная вода. Таким образом, в этой установке из бражки и флегмы спирт испаряется раздельно, вследствие чего повышается концентрация сухих веществ в барде.
Гидравлический предохранитель 6 предотвращает образование в колонне вакуума. Жидкость из пробного холодильника поступает в сборник 3.
Колонна изготовляется из меди. При приемке она испытывается под давлением 0,1 МПа.
Техническая характеристика одноколонной брагоперегонной установки: производительность при переработке бражки крепостью 7,5 об.% – 500 дал/сут; избыточное давление – до 0,05 МПа; средняя температура, – 100°C; общее число тарелок – 27; в том числе в укрепляющей части: многоколпачковые – 7; ситчатые – 2; в истощающей части одноколпачковые – 18; диаметр колонны (внутренний) – 700 мм; высота колонны – 8240 мм.
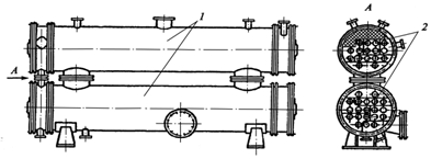
Горизонтальный дефлегматор (рис. 4.60) состоит из двух барабанов 1. Он имеет две трубчатые многоходовые поверхности охлаждения 2. В одной из них по трубам протекает бражка, в другой – охлаждающая вода. Бражка и вода делают в дефлегматоре несколько ходов, что обеспечивается соответствующим расположением перегородок в распределительных коробках.
Рис. 4.60. Двухбарабанный горизонтальный дефлегматор
Для направления потока пара в межтрубном пространстве дефлегматора установлены поперечные перегородки. Бражные трубы дефлегматоров изготовляют из меди, водяные трубы – из стали. Дефлегматор испытывают гидравлическим давлением 0,4 МПа для трубного пространства и 0,15 МПа для межтрубного пространства. Корпус дефлегматора, коробки, крышки, решетки, фланцы, патрубки и трубы водяной секции изготовляются из
|
Из за большого объема этот материал размещен на нескольких страницах:
1 2 3 4 5 6 7 8 9 10 11 12 13 14 15 16 17 18 19 20 21 22 23 24 25 26 27 28 29 30 31 |



