Змеевиковые аппараты непрерывного и периодического действия широко используют для уваривания сиропов, рецептурных смесей и т. п. Змеевиковые теплообменные аппараты представляют большую группу специальных аппаратов, они просты в изготовлении, удобны в эксплуатации, обеспечивают хорошие энергетические показатели. Однако из-за слабой циркуляции раствора имеют невысокий коэффициент теплопередачи.
Примером змеевикового теплообменного аппарата периодического действия является диссутор-аппарат для приготовления сахарно-паточного раствора. Диссуторы могут быть открытые и закрытые, с паровой рубашкой и без неё.
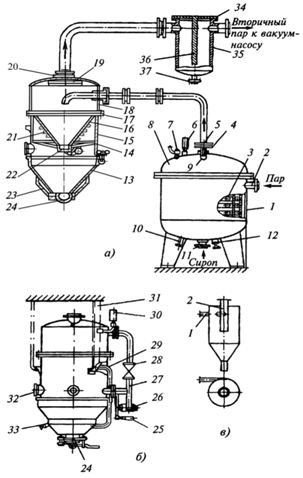
Унифицированный змеевиковый вакуум-аппарат 33-2А (рис.4.10) состоит из цилиндрического сварного котла 1 со съемной крышкой 8. Через штуцер 2, расположенный в верхней части обечайки, поступает греющий пар под избыточным давлением 0,7…08, МПа. Через штуцер 10 отводится конденсат, а через кран 12 выводится готовый продукт. В паровом пространстве греющий пар омывает медный змеевик 3. Нижний конец змеевика присоединяется фланцем 11 к сиропному насосу плунжерного типа, создающего давление 0,4 МПа. Верхний конец змеевика при помощи фланца 4 присоединен к трубе 5, которая вторым концом соединена с вакуум-камерой 18.
В змеевик поступает сироп или рецептурная смесь. Увариваемый продукт поднимается по внутренним спиралям вверх, а затем проходит по соединительной трубе в нижнюю спираль наружного змеевика и далее вверх по спиралям наружного змеевика. Из верхней спирали наружного змеевика увариваемый продукт поднимается по соединительной трубе 5 и из её верхнего конца поступает в вакуум-камеру 18. Масса собирается в медном конусе 16, который имеет внизу клапан 22. Верхняя кромка конуса зажата болтами 17 между фланцами вакуум-камеры и обечайки 15. Чтобы масса не застыла, конус обогревается паром, поступающим в змеевик 21. Он находится внутри обечайки 15 с крышкой 14.
Вместе с карамельной массой из соединительной трубы в вакуум-камеру входит также вторичный пар и воздух, выделяющиеся из сиропа при его упаривании. Они удаляются в конденсатор через патрубок 20. Отбойник 19 препятствует уносу крупных капель карамельной массы.

Рис. 4.10. Унифицированный змеевиковый вакуум-аппарат 33-2А
Обычно увариваемая масса накапливается в приемнике 13 при открытом клапане 22 и закрытом клапане 24. В этом случае объем вакуум-камеры получается на 80 дм3 больше. Кроме сливного отверстия вакуум-камера сообщается с приемником через кран 28 и трубопровод 27. Приемник снабжен рубашкой 23 для обогрева. В змеевик 21 и паровую рубашку 23 греющий пар подается по трубе 29. Рубашка 23 имеет продувочный кран 33. Когда в приемнике скопится достаточное количество (16…18 кг) массы, закрывают рукояткой 25 клапан 22 сливного отверстия, а при помощи крана 28 разобщают приемник с вакуум-камерой.
После этого, открыв кран 26, в приемник впускают воздух, и поворачивая рукоятку клапана 24 открывают выпускное отверстие. Масса сливается из аппарата. По окончанию слива закрывают отверстие клапаном 24, сообщают при помощи крана 28 приемник с вакуум-камерой. Когда в приемнике установится такое же разряжение, как в вакуум-камере, открывают выпускные отверстия, поворачивая клапан 22.
Окно 32 служит для наблюдения за спуском карамельной массы из конуса в приемник. Разряжение в вакуум-камере регистрируется вакуумметром 30. Давление греющегося пара измеряется манометром 6. Через воздушный кран 7 периодически выпускают воздух из парового пространства. Предохранительный клапан 9 служит для предотвращения разрыва аппарата в случае увеличения давления греющего пара.
Вакуум-камера с приемником подвешивается при помощи тяг 31 к потолку или кронштейну, прикрепленному к стене. Это удобно при ремонтах и эксплуатации.
Ловушка 35 с крышкой 34 и перегородкой 36 монтируется на трубопроводе между вакуум-камерой и конденсатором. Уловленная в виде мелких капель масса выпускается периодически через кран 37.
В подобном аппарате можно уваривать начинки, мармеладные смеси и т. п. В аппаратах, предназначенных для уваривания начинки, вакуум-камера имеет объем, увеличенный в 7 раз. При меньшем объеме вакуум-камеры начинка выбрасывается вторичным паром в конденсатор. Аппараты меньшей производительности имеют медный змеевик из одной спиральной трубки внутренним диаметром 40 мм.
Греющая часть змеевиковых аппаратов используется также для уваривания рецептурных смесей и сиропа под атмосферным давлением. В этом случае конец змеевика соединяется с центробежным пароотделителем, который показан на рис. 4.10в. Пар и уваренная масса выходят из трубки 1 в центробежный пароотделитель. Масса стекает вниз и непрерывно выходит из аппарата, а вторичный пар по центральной трубе 2 поступает в вытяжные вентиляционные трубы.
Отложения сахара на внутренней поверхности трубки змеевика смывают горячей водой два раза в смену. Раз в неделю трубку протравливают горячим 2% раствором гидроксида натрия в течении 24 часов.
Унифицированный змеевиковый вакуум-выпарной аппарат 33-2А выпускается производительностью 1000 и 500 кг/ч. В первом случае поверхность теплообменника составляет 7,5 м2, а во втором – 4,2 м2, объем парового пространства 570 дм3 и 330 дм3 соответственно.
Определение производительности и энергозатрат. Производительность однокорпусного выпарного аппарата определяется из уравнений материального баланса:
и
,
где: GН – количество исходного раствора, кг/ч; GК – количество упаренного раствора, кг/ч; xН и xК – соответственно начальная и конечная концентрации раствора, мас. %
Из уравнений материального баланса находят количество выпаренного растворителя и конечную концентрацию раствора.
Анализ уравнения теплового баланса на работу однокорпусного выпарного аппарата показывает, что расход пара определяется главным образом расходом пара на собственно выпаривание растворителя:
,
где: i, i', i" – энтальпия соответственно вторичного пара, конденсата, греющего пара; tН – начальная температура раствора, °C; cН – начальная теплоемкость раствора, кДж/(кг·град)
Следует иметь в виду, что
. Тогда следует, что для испарения 1 кг воды требуется затратить 1,1…1,2 кг насыщенного водяного пара.
Уравнения материального баланса для однокорпусной выпарной установки справедливы и для многокорпусной и могут быть использованы для определения GК , W, xК.
Расход греющего пара в многокорпусной выпарной установке, работающей без отбора экстра-пара приближенно может быть определен: для двухкорпусной – 0,55…0,6 кг пара на 1 кг испаренной воды, для трехкорпусной – 0,27…0,3 кг.
4.1.3. Развариватели крахмалосодержащего сырья
Измельченное крахмалосодержащее сырье перед развариванием смешивается с горячей водой, и затем полученный замес нагревают вторичным паром. По схеме скоростного разваривания смешивание сырья с водой и нагревание массы производят раздельно: смешивание – в смесителях, нагревание в трубчатом теплообменнике. По схеме разваривания при пониженной температуре смешивание и нагревание замеса производят в одном аппарате – в смесителе предразварнике.
Вертикальный цилиндрический смеситель (рис. 4.11) вместимостью 1,5 м3 снабжен пропеллерной мешалкой 6 для смешивания дробленного сырья с водой. Сырье подается в смеситель по патрубку 5, а вода – по трубе 4. Для распыления воды в стенках трубы просверлены отверстия диаметром 2 мм. Конец трубы 4 заглушен. Такая подача воды улучшает равномерность смешивания. Подогревание смеси производится через змеевик 2. Уровень массы в смесителе контролируется электрическим сигнализатором 6, поплавок которого расположен в трубе 7. С целью уменьшения воздействия перемешиваемой массы на поплавок сигнализатора труба 7 снизу перекрыта решеткой 8, которая стабилизирует в зоне поплавка уровень массы. Для контроля режима работы смесителя на корпусе размещены кран 3 для отбора пробы и штуцер 9 для термометра. Продолжительность смешивания при переработке зерна 15 мин, картофеля – 10 мин.
Вода в смеситель должна подаваться температурой не более 45°C, т. к. в противном случае мука измельченного продукта образует комочки, которые затем не провариваются. Из смесителя замес подается в трубчатый теплообменник, где нагревается
Рис. 4.11. Вертикальный цилиндрический смеситель |
вторичным паром до температуры 70…75°C. Теплообменник типа «труба в трубе» изготавливается из стальных труб диаметром 180 мм (наружные трубы) и 108 мм (внутренние трубы).
Контактная головка с двухсторонним подводом пара (рис. 4.12) предназначена для спиртовых заводов производительностью 1700…2500 дал/сутки. В корпусе 3 расположены трубы 4 и 5, в которых просверлены отверстия диаметром 5 мм. В каждой трубе по высоте имеется 10 рядов по 13 отверстий в каждом. Замес подается в контактную головку по патрубку 1. В головке замес течет в кольцевом зазоре. Пар, подаваемый по патрубкам 2 и 6, пронизывает слой замеса с двух сторон. Такой подвод пара обеспечивает быстрое и равномерное нагревание замеса.
Определенный уровень массы на выходе из варочного аппарата поддерживается поплавковым регулятором.
Определение производительности и энергозатрат. Количество замеса, развариваемого в течении часа П (кг) определяется по формуле
|
Из за большого объема этот материал размещен на нескольких страницах:
1 2 3 4 5 6 7 8 9 10 11 12 13 14 15 16 17 18 19 20 21 22 23 24 25 26 27 28 29 30 31 |



