Рис. 4.3. Принципиальная схема электрического пищеварочного котла |
Манометр предназначен для измерения в процессе работы давления в паровой рубашке котла. Чаще всего устанавливаются электроконтактные манометры, с помощью которых автоматически поддерживается уровень давления в рубашке котла и осуществляется управление тепловым режимом.
Двойной предохранительный клапан 4 при повышении давления в греющей камере сверх допустимой величины приподнимает клапан над седлом, и избыток пара выходит в атмосферу. В нижней части двойного клапана 4 расположен вакуумный клапан, который открывается под давлением наружного воздуха, когда в рубашке образуется вакуум (давление становится ниже атмосферного). Воздух, проникая через открытый клапан в рубашку, выравнивает давление. Вакуум в рубашке образуется при охлаждении котла в результате конденсации пара, поскольку удельный объем последнего больше удельного объема воды (конденсата).
Воронка 6 предназначена для заполнения парогенератора водой и выпуска воздуха из паровой рубашки в начальный период работы котла (если предохранительный клапан не имеет воздушного клапана). Наполнительная воронка 6 снабжена запорным краном, фильтрующей сеткой и крышкой.
Кран уровня 7 размещается в пароводяной рубашке котла на линии предельно допустимого уровня воды и служит для контроля количества воды в парогенераторе.
Клапан-турбинка 3 предохраняет варочный сосуд от повышения давления сверх допустимого. Если давление превысит допустимое, пар, поступающий в корпус клапана-турбинки 3, ударяет в винтовые канавки шпинделя турбинки, приподнимая его от седла, и приводит во вращательное движение. С внутренней стороны крышки укреплен отражатель, который предотвращает попадание в турбинку мелких частиц продукта при интенсивном кипении содержимого сосуда.
Котел неподвижно крепится к полу (фундаменту), крышка котла зачастую уравновешивается противовесом, позволяющим фиксировать её в любом положении.
Элементы автоматического управления тепловым режимом котла и защиты ТЭНов от «сухого хода», за исключением электроконтактного манометра, смонтированы на щите управления, который устанавливается рядом с котлом.
Электрический варочный котел обычно работает в двух режимах. Первый режим обеспечивает автоматическое отключение пяти из шести ТЭНов от сети при достижении давления верхнего заданного предела и включения их после снижения давления до нижнего предела; второй режим – автоматическое отключение всех ТЭНов от сети после установления в пароводяной рубашке заданного давления.
Все детали котла, соприкасающиеся с продуктами, выполнены из нержавеющих марок стали.
При шарнирном соединении котла со станиной нагретую массу выгружают через борт, поворотом котла вокруг горизонтальной пустотелой оси при помощи маховика. Подвод пара и отвод конденсата в таких котлах может производиться через пустотелые оси. В рубашке таких котлов от пустотелой оси к наинизшей точке опускается трубка, по которой паром выдавливается конденсат.
Варочные котлы используются в общественном питании для приготовления сиропов, колеров, варки круп, мясопродуктов и др.
Определение энергозатрат и производительности. Расход пара D (кг/с) непрерывно действующего подогревателя (например, трубчатого) определяется из уравнения теплового баланса:
или
,
где: Q1 – расход тепла на нагревание продукта, кВт; Q2 – потери тепла в окружающую среду, кВт; i, iK – соответственно энтальпия греющего пара и конденсата, кДж/кг.
Расход тепла на нагревание продукта Q1 (кВт) находится из уравнения теплопередачи:
,
где: F – площадь поверхности нагрева, м2; K – коэффициент теплопередачи, кВт/(м2·К); ΔT – разность температур, К.
Производительность непрерывно действующего подогревателя П (кг/с)
,
где: c – теплоемкость продукта, кДж/(кг·К); T1 и T2 – соответственно начальная и конечная температура продукта, К.
Расход пара D (кг/с) подогревателя периодического действия определяется из уравнения теплового баланса:
,
где: Qобщ – общий расход тепла, кДж,
,
где: Q1 – расход теплоты на нагревание продукта, кДж; Q2 – потери тепла в окружающую среду, кДж; Q3 – расход тепла на испарение с поверхности зеркала продукта, кДж; Q4 – расход теплоты на нагревание аппарата, кДж.
Площадь поверхности нагрева, F (м2):
,
где: τ – продолжительность нагревания, с.
Производительность периодически действующего подогревателя П (кг/с) определяется по объему продукта, перерабатываемого за один цикл
,
где: V – объем продукта в аппарате, м3; ρ – плотность продукта, кг/м3; τ, τ1 и τ2 – соответственно время нагревания, загрузки и разгрузки аппарата, с.
4.1.2. Выпарные аппараты и установки
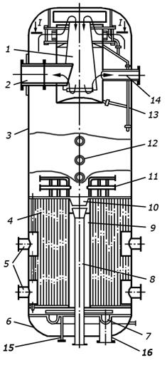
Выпарной аппарат типа ВАГ (рис. 4.4) представляет собой цилиндрический корпус 3 сварной конструкции, внутри которого установлена греющая камера 4 и сепаратор 1 для улавливания капель выпариваемого продукта. Внизу корпус имеет съемное днище 6, на котором размещены люк и патрубок для спуска 15.
Греющая камера 4 по конструкции аналогична кожухотрубному теплообменнику жесткой конструкции типа ТН с неподвижными трубными решетками.
В циркуляционной трубе 9 паровой камеры смонтированы направляющая воронка 10 и труба 8 с воронкой для отвода сгущенного раствора из аппарата.
Пар в греющую камеру 4 подводится через восемь штуцеров 5, расположенных в два яруса. Для лучшего распределения пара в межтрубном пространстве греющей камеры устроены проходы. Не сконденсировавшиеся газы отводятся из верхней части греющей камеры при помощи разветвленной системы труб 11.
Раствор, поступивший в аппарат через патрубок 16, направляется кольцевым распределителем 7 в кипятильные трубки. Выброшенный из кипятильных трубок на верхнюю трубную решетку раствор стекает по направляющей воронке 10 в раствороотводящую трубу 8. Так как последняя вследствие гидравлического сопротивления или соответствующего регулирования потока не может пропустить все количество раствора, часть раствора стекает по циркуляционной трубе 9 и вновь поднимается по кипятильным трубкам.
Аппарат снабжен сепаратором 1 инерционного типа. Пар из сепаратора удаляется через патрубки 2 и 14, а отделенные капли продукта – через систему труб 13. Для наблюдения за уровнем раствора в аппарате имеются смотровые стекла 12. Выпарные аппараты типа ВЦ-1500, ВЦ-2120 состоят из тех же узлов, что и ВАГ.
Широкое разнообразие конструкций выпарных аппаратов в различных отраслях пищевой промышленности связано с широким диапазоном изменения физико-химических, теплофизических, структурно-механических свойств упариваемых продуктов.
Рис. 4.4. Выпарной аппарат типа ВАГ |
Пленочные трубчатые выпарные аппараты типа ВАПП-1250, ПВА-400 и другие аналогичные работают в условиях прямотока. Процесс выпаривания происходит в тонкой пленке, толщиной 2…3 мм. Пар, образующийся в слое пленки, прорывает её и попадает в паровой поток кипятильной трубки. Пар из кипятильных трубок через трубки в специальных насадках для создания пленки поступает в верхнюю часть питающей камеры.

Рис. 4.5. Пленочный прямоточный выпарной аппарат ВАПП-1250
Схемы оросительных устройств выпарных аппаратов: А) орошение по принципу кольцевого водослива; Б) кольцевой водослив с распределительными дисками; В) кольцевой водослив с распределительными дисками и цилиндрическими
вставками; Г) орошение при наличии столба жидкости на распределительном диске и трубной решетке.
Пленочный прямоточный выпарной испаритель ВАПП-1250 приведен на рис. 4.5. Исходный продукт, подогретый до температуры кипения, поступает по патрубку 10 в приемную камеру 7, затем в трубки 6, где закипает и вместе с образовавшимся паром движется вверх по греющей камере 4. Пройдя сепарирующее устройство 2 и надставку 3, где от продукта отделяется пар, продукт далее через распределительное устройство 13 поступает в кипятильные трубки 5 пленочный части аппарата и в виде тонкой пленки стекает по внутренней поверхности. Образовавшийся пар вместе со сгущенным раствором поступает в нижний сепаратор 9. Вторичный пар по системе труб 12 из сепараторов 2 и 9 отводится в следующий корпус либо внешнему потребителю. Готовый продукт отводится из патрубка 11. Патрубок 8 служит для отвода конденсата.
Аппарат отвечает технологическим и техническим требованиям, предъявляемым к выпарным аппаратам, и имеет лучшие показатели, чем достигаемые в типовых аппаратах с естественной циркуляцией. Время пребывания раствора в тонкопленочном аппарате значительно меньше чем в типовых. Аппарат может эффективно работать при малой полезной разности температур, поскольку отсутствуют потери полезной разности температур от гидростатического давления вследствие свободного стекания пленки выпариваемого раствора.
Техническая характеристика выпарного аппарата ВАПП-1250: площадь поверхности нагрева 1250 м2; длина греющих трубок – 7000 мм; диаметр греющих трубок – 30/33 мм; рабочее давление – до 0,3 МПа.
|
Из за большого объема этот материал размещен на нескольких страницах:
1 2 3 4 5 6 7 8 9 10 11 12 13 14 15 16 17 18 19 20 21 22 23 24 25 26 27 28 29 30 31 |



