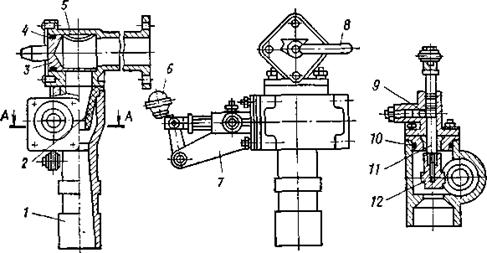
Пеносмеситель ПС-5 находит наибольшее применение на пожарных насосах ПН-40 и относится к предвключенным пеносмесителям. Максимальная подача пенообразователя 1,8 л/с. Пеносмеситель ПС-5 (рис. 5.27) состоит из корпуса 1, дозатора 2, сопла 3, корпуса 5, пробки 4 крана, шкалы 13, стрелки 9, маховичка 12, обратного клапана 10, крышки 11 клапана и ручки 8. Пробка 4 крана и дозатор 2 уплотнены кольцами б и 7. Пеносмеситель присоединен корпусом 5 крана к напорному коллектору, а корпусом 1 — к крышке насоса посредством стакана и хомута.
Для включения пеносмесителя следует повернуть кран ручкой 8 против часовой стрелки до упора. Вода из напорной полости насоса поступит в сопло 3 и диффузор корпуса 1. При этом в полости вокруг сопла образуется разрежение, пенообразователь из емкости начнет поступать в Пеносмеситель. В диффузоре пенообразователь смешивается с водой, затем раствор поступает во всасывающую полость насоса и далее в пенные стволы.
Дозатор 2 осуществляет регулировку подачи пенообразователя в пяти рабочих положениях пробки 4 крана. Цифры на шкале пеносмесителя обозначают число стволов ГПС-600, работающих от данного насоса. Для подачи пенообразователя маховичка 12 поворачивают до совпадения стрелки 9 с нужным делением шкалы 13.

Рис. 5.27. Пеносмеситель ПС-5:
1— корпус; 2 — дозатор; 3 — сопло; 4 — пробка крана;
5 — корпус крана; 5, 7— уплотнительные кольца; 8 — ручка;
9 — стрелка; 10 — обратный клапан; 11 — крышка клапана;
12 — маховичок; 13 — шкала; I— положения дозатора
Пеносмеситель оборудован обратным клапаном, предотвращающим попадание воды в емкость для пенообразователя во время работы насоса с подпором. Обратный клапан состоит из крышки 11 и клапана 10. Уплотнение пробки 4, дозатора 2 и корпуса 1 обеспечивается резиновыми кольцами. В местах соединений пеносмесителя проложены паронитовые прокладки. Пеносмесители пожарных насосов комплектуют прорезиненным шлангом с накидной гайкой под подсоединения к приставной емкости с пенообразователем.
Во время работы насоса с пеносмесителем напор на насосе должен быть 0,7...0,8 МПа (7...8 кгс/см2) (в зависимости от длины и диаметра рукавных линий), подбор во всасывающей полости насоса — не более 0,25 МПа (2,5 кгс/см2).
А-А

Рис. 5.28. Пеносмеситель ПС-12:
1—диффузор: 2 — сопло; 3 — пробка крана;
4, 10 — уплотнительное кольцо; 5 — корпус крана;
6 — рукоятка дозатора; 7 —кронштейн; 8 — ручка крана;
9 — фиксатор; 11— шток; 12 — пробка дозатора.
При эксплуатации пеносмесителя необходимо следить за его герметичностью, состоянием прокладок и резиновых колец, своевременно подтягивать крепежные детали. По окончании работы пеносмеситель необходимо промыть водой.
Пеносмеситель ПС-12 устанавливают на пожарном насосе ПН-110Б прицепных насосных станций и автомобилях ПНС-110. Максимальная подача пенообразователя 4,3 л/с, что обеспечивает одновременную работу 12 стволов ГПС-600. Напор перед пеносмесителем должен быть не менее 0,75 МПа (7,5 кгс/см2), подбор во всасывающей полости и насоса — не более 0,15 МПа (1,5 кгс/см2).
Пеносмеситель ПС-12 (рис. 5.28) состоит из диффузора 1, сопла 2, пробки 3 крана, уплотнительных колец 4 и 10, корпуса 5 крана, рукоятки дозатора б, кронштейна 7, ручки крана 8, фиксатора штока 9, штока 11, пробки 12, дозатора.
Пеносмеситель подсоединен корпусом крана к напорному патрубку насоса, а диффузор через резиновый армированный стакан — к крышке насоса. Дозатор выполнен в виде ступенчатой пробки, которая закреплена на стержне, имеющем три фиксированных положения: на 6, 9 и 12 пенных стволов ГПС-600. Фиксация стержня обеспечивается подпружиненным шариком, а перемещение — рычагом. На лыске стержня нанесены цифры, указывающие положение дозатора.
Дозировка пенообразователя изменяется в зависимости от расположения пробки относительно отверстия. В положении, изображенном на рис. 4.42, отверстие полностью открыто, что обеспечивает питание 12 пенных стволов ГПС-600. Для питания девяти стволов в отверстие вводят первую ступень пробки, шести стволов — вторую.
Проходные пеносмесители устанавливают в рукавных линиях к пенным стволам. Для каждого ствола или группы стволов должен быть предусмотрен пеносмеситель, установленный соответственно в рабочей или магистральной рукавной линии. Проходные пеносмесители создают сопротивление в напорной линии и поэтому необходимо увеличивать напор на насосе. При работе проходных пеносмесителей возможно от одного насоса подавать и воду, и пену.
Таблица 5. 3. Технические характеристики пеносмесителей.
Параметры | Пеносмеситель | ||
ПС-1 | ПС-2 | ПС-3 | |
Напор перед смесителем, МПа | 0.7 - 1 | 0.7 - 1 | 0.7 - 1 |
Предельный подпор за смесителем, МПа (кгс/см2) | 0,45.. .0,65 | 0,45... 0,65 | 0,45.. .065 |
Дозировка пенообразователя, % | (4, 5. ..6, 5) | (4,5... 6,5) | (4,5. ..6, 5) |
Расход раствора, л/с | 5. ..6 | 10. ..12 | 15. ..18 |
Условный проход, мм: на входе в смеситель на выходе из смесителя всасывающего шланга | 70 70 16 | 80 80 25 | 80 80 25 |
Длина пеносмесителя, мм | 420 | 500 | 520 |
Масса пеносмесителя, кг | 4,5 | 5,5 | 6,0 |
Число подключаемых генераторов пены ГПС-600 | 1 | 2 | 3 |
Количество подсасываемого пенообразователя при напоре перед смесителем 0,8 МПа (8 кгс/см2), л/с | 0,26 | 0,52 | 0,78 |
В настоящее время промышленность выпускает три вида проходных пеносмесителей: ПС-1, ПС-2 и ПС-3 (см. табл. 5.3.), аналогичных по конструкции и различающихся только размерами и технической характеристикой.

Рис. 5.29. Пеносмеситель ПС-1:
1 — всасывающий шланг; 2 — рабочая камера; 3 — корпус;
4 — диффузор; 5 — сопло.
Пеносмеситель ПС-1 (рис. 5.29) состоит из корпуса 3, в котором расположено сопло 5, направленное через рабочую камеру на входное отверстие диффузора 4. Струя воды, проходя через сопло в диффузор, создает в рабочей камере 2 разрежение. Под действием разрежения во всасывающий шланг 1 из емкости (бочки, бака, цистерны) пенообразователь поступает в рабочую камеру, где и смешивается с водой, образуя пенообразующий раствор.
Испытания пеносмесителя на прочность материала и герметичность соединений производят гидравлическим давлением 1,5 МПа (15 кгс/см2), при этом просачивание воды в течение 1 мин не допускается.
Дозировку пеносмесителя проверяют водой при напоре перед пеносмесителем 0,7 МПа (7 кгс/см2) и подпоре 0,45 МПа (4,5 кгс/см2). Подсасывание воды определяют по мерной емкости. Оно должно быть в пределах, указанных в табл. 3, при этом полученный расход подсасываемой воды умножают на 0,86—коэффициент разности вязкости воды и пенообразователя ПО-1 (при использовании пенообразователей иных типов коэффициент может быть другим, что требуется определить расчетом).
Для нормальной работы емкость с пенообразователем должна быть на уровне смесителя или несколько выше (но не превышать высоты 2м).
Дозирующие вставки.
Дозирующие вставки предназначены для введения пенообразователя в поток воды из цистерны пожарного автомобиля пенного пожаротушения. Дозирующие вставки устанавливают чаще всего в напорных рукавных линиях в тех случаях, когда необходимо обеспечить большие расходы пенообразующего раствора, например для питания пеноподъемников с 2 - 3 пеногенераторами ГПС-600 или одного ГПС-2000.
Дозирующая вставка (рис. 5.30) состоит из цилиндрического корпуса 2 с соединительными головками 3 для пожарных рукавов, по которым поступает вода. Пенообразователь во вставку поступает от насоса пожарного автомобиля пенного тушения по пожарному рукаву через дозирующую шайбу 5, расположенную в приемном патрубке 4.

Рис. 5.30. Дозирующая вставка
/ — манометр; 2 — корпус; 3 — соединительные головки;
4 — приемный патрубок; 5 — дозирующая шайба.
Площадь отверстия дозирующей шайбы определяют по формуле:
________
ω = Q/μ √2gΔH,
где Q — расход пенообразователя, м3/с; (μ — коэффициент расхода; g — ускорение свободного падения, м/с2; ΔH — разность напоров в рукавной линии с пенообразователем и водой, м (ΔH = Нп - Нв).
При подаче пенообразователя в дозирующую вставку насос, подающий пенообразователь, должен создавать напор от 2 до 30 м (в зависимости от числа подключенных пеногенераторов) и всегда должен быть выше напора в рукавной линии.
Дозирующие вставки можно устанавливать и на всасывающей линии. В этом случае они должны быть оборудованы соответствующими присоединительными головками.
Схемы включения дозирующих вставок показаны на рис. 5.31.





Рис. 5.31. Схемы боевого развертывания при подаче
ГПС через пенные вставки:
а — при подаче 1 ГПС-600; б — при подаче 1 ГПС-2000; в — при подаче ГПС по двум магистральным линиям; г — при подаче раствора и двум пеноподъемникам по двум магистральным линиям; д — при подаче ГПС при помощи автолестниц; е —при подаче ГПС при помощи пеноподъемника.
|
Из за большого объема этот материал размещен на нескольких страницах:
1 2 3 4 5 6 7 8 9 10 11 12 13 14 15 16 17 18 19 20 21 22 23 24 25 26 27 28 29 30 31 32 33 34 35 36 37 38 39 40 41 42 43 44 |



