
1 – седло; 2 – пружина; 3,4 – корпус; 5 – обойма; 6 – шарики; 7 – втулка; 8 – манжета; 9 – пружина; 10 – кольцо; 11 – уплотнительное кольцо; 12 – клапан; 13 – корпус; 14,17 – штуцер; 15 – шланг; 16 – кольцо; 18 - уплотнительное кольцо.
Рис. 4.6. Разъем
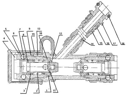
Легочный автомат (рис. 4.7) состоит: из корпуса 9; мембраны 13, закрепленной в корпусе гайкой прижимной 10; штуцера 3; гайки 4 с облицовкой 6; заслонки 3 и щитка 1 прикрепленного к корпусу винтами 5; обоймы 11; пружины 12; клапана легочного автомата, состоящего из штока 7, втулок 8 и 17, корпуса клапана 18, пружины 19, седла 15 и кольца уплотнительного 14; соединения легочного автомата с разъемом, состоящего из корпуса 20, рукава соединительного 21 и штуцера 25. Корпус 20 соединен с седлом 15 штифтом, герметичность соединения обеспечивается кольцом уплотнительным 16. Соединительный рукав надет на корпус 20 и штуцер 23 и закреплен на каждом из них кольцами 22. Прорезь в щитке 1, по которой движется шток 7, при работе легочного автомата закрыта, надетой на шток 7 скользящей заслонкой 2. Легочный автомат гайкой 4 присоединяется к маске штуцером 23 к разъему. Работает легочный автомат следующим образом: при входе в корпус 9 создается вакууметрическое давление, под воздействием которого мембрана 13 прогибается внутрь, нажимает на втулку 8 и перекашивает шток 7. При этом в образовавшийся зазор между седлом 15 и корпусом клапана 18 поступает воздух. При выходе мембрана возвращается в исходное положение, клапан закрывается, подача воздуха прекращается. Для дополнительной подачи воздуха на вдох в центре обоймы 11 имеется кнопка, между кнопкой и мембраной 13 установлена пружина 12. При нажатии на кнопку мембрана прогибается, клапан перекашивается и воздух поступает на вдох. Маска предназначена для соединения дыхательных путей человека с легочным автоматом аппарата, а также для защиты органов дыхания и зрения от токсичной и задымленной окружающей среды. В аппарате АИР-317 применена панорамная маска ПМ-88. Капилляр предназначен для подсоединения к газовому редуктору сигнального устройства.


1 – щиток; 2 – заслонка; 3 – штуцер; 4 – гайка; 5 – винт; 6 – облицовка; 7 – шток; 8,17 – втулка; 9 – корпус; 10 – гайка; 11 – обойма; 12 – пружина; 13 – мембрана; 14 – кольцо; 15 – седло; 16 – кольцо; 18 – клапан; 19 – пружина; 20 – корпус; 21 – соединительный рукав; 22 – кольцо; 23 – штуцер
Рис. 4.7. Легочный автомат
Капилляр (рис. 4.8) состоит из двух штуцеров 2, впаянной в них свитой в спираль трубки высокого давления 3, двух штуцеров 6 соединенных шлангом 7. Штуцера 2 соединены между собой гибким тросом 1. Шланг 7 закреплен на штуцерах 6 облицовками 8. Штуцеры 2 зафиксированы внутри штуцеров 6 штифтами 4. Кольца уплотнительные 5 обеспечивают герметичность соединения штуцером 6 с редуктором и сигнальным устройством. Капилляр имеет симметричную конструкцию, одним из концов подсоединяется к редуктору, вторым к сигнальному устройству. Штуцеры 6 фиксируются в этих соединениях винтами, входящими в кольцевые проточки штуцеров. По трубке высокого давления из баллонов поступает в манометр и на звуковой указатель исчерпания рабочего запаса воздуха, по шлангу 7 воздух под редуцированным давлением передается на звуковой указатель.

1-гибкий трос; 2-штуцеры; 3-трубки высокого давления; 4-штифты; 5-уплотнительные кольца; 6-штуцеры; 7-шланг; 8-облицовка
Рис. 4.8. Капилляр
Сигнальное устройство (рис. 4.9) предназначено для визуального контроля по манометру давления сжатого воздуха в баллонах и для звуковой сигнализации о полном расходе рабочего запаса воздуха. Сигнальное устройство состоит из корпуса 10, манометра 11 с облицовкой 12 и прокладкой 9, втулки 8 с втулкой 1 и кольцом уплотнительным 7, свистка 6 с контргайкой 4, кожуха 2, кольца уплотнительного 3, шточка 5, втулки 14 с кольцом уплотнительным 13, гайки 17 с контргайкой 15, пружины 16, заглушки 19 с кольцом уплотнительным 18, кольца уплотнительного 20 и гайки 21. В шточке 5 просверлено на проход косое отверстие. Работает сигнальное устройство следующим образом. При открытом вентиле баллона воздух под высоким давлением через капилляр непосредственно поступает в манометр 11. Манометр показывает величину давления воздуха в баллоне. Кроме того, воздух с высоким давлением через радиальное отверстие во втулке 14 поступает в камеру между гайкой 17 и хвостовиком шточка 5. Шточок 5 пол действием высокого давления воздуха перемещается до упора во втулке 8, сжимая пружину 16. Оба выхода косого отверстия в шточке 5 при этом находятся за уплотнительным кольцом 7. По мере уменьшения давления в баллоне аппарата в процессе его эксплуатации и, соответственно, давление на хвостовик штока 5 пружина 16 перемещает шточок 5 к гайке 17. Когда ближний к уплотнительному кольцу выход косого отверстия в шточке 5 переместится за уплотнительное кольцо 7, воздух под редуцированным давлением поступает в свисток 6 через отверстия во втулке 8, косое отверстие в шточке 5, канал в корпусе 10 и боковое отверстие в гайке 21. При дальнейшем снижении давления воздуха в баллоне оба выхода косого отверстия в шточке 5 переместятся за уплотнительное кольцо 7, и подача воздуха в свисток прекратится. Регулировка давления срабатывания звукового сигнала производится за счет перемещения свистка 6 по резьбе в корпус 10. При этом перемещается и втулка 8 с втулкой 1 и уплотнительным кольцом. В комплект принадлежностей и приспособлений аппарата АИР-317 входят: спасательное устройство, состоящее из легочного автомата, лицевой части промышленного противогаза ГОСТ 12.4.166 (рост 2), поясного и прицепного ремней и контрольный манометр. Легочный автомат спасательного устройства по конструкции не отличается от легочного автомата основного пользователя, но снабжен более соединительным рукавом 21. легочный автомат при помощи штуцера 23 подсоединяется к разъему и при помощи гайки 4 соединяется с лицевой частью промышленного противогаза. Лицевая часть надевается на голову пострадавшего. В результате чего последний получает возможность дышать воздухом из аппарата АИР-317. Поясной ремень застегивается на талии пострадавшего. Пострадавший пристегивается к пожарному с помощью прицепного ремня. Контрольный манометр предназначен для проверки редуцированного давления и давления срабатывания предохранительного клапана редуктора, а также для регулировок редуктора и предохранительного клапана. Контрольный манометр снабжен штуцером, позволяющим подсоединять его к разъему вместо спасательного устройства.

1-втулка; 2-кожух; 3,20-кольцо уплотнительное; 4-контргайка; 5-шточка; 6-свисток; 7-кольцо; 8-втулка; 9-прокладка; 10-корпус; 11-манометр; 12-облицовка; 13-кольцо; 14-втулка; 15-контргайка; 16-пружина; 17,21-гайка; 18-кольцо; 19-заглушка
Рис. 1.9. Сигнальное устройство
Устройства, принцип действия и технические
характеристики АП –2000.
Технические характеристики АП –2000
1) Аппарат работоспособен при давлении воздуха в болоне (болонах) от 1,0 до 29,4 МПа (от 10 до 300 кгс/см)
2) В подсасочном пространстве лицевой части аппарата в процессе дыхания поддерживается избыточное давление при легочной вентиляции до 85 л/мин и диапазоне температур окружающей среды от
минус 40 до +60 С.
3) Избыточное давление в подмасочном пространстве при нулевом расходе воздуха –(300+100)Па [(30+10)мм вод. ст.].
4) Время защитного действия аппарата при легочной вентиляции 30 л/мин (работа средней тяжести) в зависимости от температуру окружающей среды соответствует значениям, указанным в таблице 4.1.
Таблица 4.1
Исполнение Время защитного действия, мин, не менее, при t С
+(25+1) минус(40+2)
-----------------------------------------------------------------------------
1 60 45
2 60 45
3 80 60
4 80 60
5) Сопротивление дыханию на выдохе при легочной вентиляции 30 л/мин
не превышает:
- 350Па (35 мм вод. ст.) при t +25 С
- 500Па (50 мм вод. ст.) при t –40 С
6) Расход воздуха при работе устройства дополнительной подачи (байпаса) – не менее 70 л/мин в диапазоне давления от 29,4 до 1,0 МПа
(от 300 до 100 кгс/см)
7) Системы высокого и редуцированного давления аппарата герметичны после закрытия вентиля болона, падение давления не превышает 20кгс/см в минуту.
8) Сигнальное устройство срабатывает при падении давления в болоне до 60 кгс/см, при этом сигнал звучит не менее 60 сек.
9) Уровень звукового давления сигнального устройства (при замере непосредственно у источника звука) не менее 90 дБА. При этом частотная характеристика звука, создаваемая сигнальным устройством находится в пределах 800…4000Гц
10) Расход воздуха при работе сигнального устройства не более 5л/мин.
Давление на входе редуктора (без расхода) составляет: - не более 0,9МПа (9кгс/см) при давление в болоне аппарата 27,45…29,4 МПа (280….300кгс/см)
- не менее 0,5 МПа (5кгс/см) при давление в болоне аппарата 1,5 МПа (15кгс/см).
11) Предохранительный клапан редуктора открывается при давлении на выходе редуктора не более 18кгс/см.
Болоны аппарата выдерживают не менее 5000 циклов нагружений (заправок) между нулевым и рабочим давлением.
12) Срок переосведетельствования болонов аппаратов составляет:
- 3 года для метоллокомпозитных болонов
- 5 лет для стального болона ГНПП «СПЛАВ»
- 6 лет (первичное), 5 лет – последующее для стального болона фирмы «FABER».
13) Срок службы болонов аппарата составляет:
- 15 лет для металлокомпозитных «LUXFER LCX»
- 10 лет для металлокомпозитных «Маштест»
- 11 лет для стального болона ГНПП «СПЛАВ»
- 16 лет для стального «FABER»
14) Масса снаряженного аппарата (без спасательного устройства и гарнитуры связи) и его габаритные размеры:
15) Масса маски не превышает 0,7 кг.
|
Из за большого объема этот материал размещен на нескольких страницах:
1 2 3 4 5 6 7 8 9 10 11 12 13 14 15 16 17 18 19 20 21 22 23 24 25 26 27 28 29 30 31 32 33 34 35 36 37 38 39 40 41 42 43 44 |



