Таблица 4.2
Исполнение Масса, кг, не более. Габоритные размеры, мм, неболее
1 16 670х290х215
2 13 670х290х225
3 15,5 580х300х210
4 13,2 635х290х230
Устройство и принцип действия АП – 2000.
1. Подвесная система.
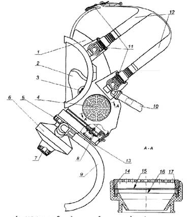
Основой аппарата (рисунок 4.10) является подвесная система, служащая для монтажа на ней всех частей аппарата и его крепления на теле человека, включающая в себя основание 23, плечевые ремни 6, концевые ремни 22 и поясной ремень 21.

1 - маска; 2 - кнопка отключения легочного автомата; 3 - маховичок байпаса; 4 - легочный автомат; 5 - многофункциональная кнопка (байпаса и отключения легочного автомата); 6 - плечевой ремень; 7 - шланг; 8 - баллон с вентилем; 9 - шланг высокого давления; 10 - свисток; 11 - корпус сигнального устройства; 12 - манометр; 13 - штекерный ниппель; 14 - шланг устройства для дозарядки; 15 - спасательное устройство; 16 - редуктор; 17 - кронштейн; 18 - маховичок вентиля; 19 - поясной ремень; 20 - замок подключения спасательного устройства; 21 - шланг для подключения спасательного устройства; 22 - концевой ремень; 23 - основание; 24 - ремень; 25 - замок; 26 - тройник.
Рис.4.10 Аппарат дыхательный АП-2000
На подвесной системе смонтированы следующие составные части аппарата:
- баллон с вентилем 8 (для исполнения 1,2,4) или два баллона с вентелями и тройником 26 (для исполнения)
- редуктор 16, закрепленный на основание 23 с помощью кронштейна 17.
- Сигнальное устройство с монометром 12, корпусом 11, свистком 10 и шлангом 9, идущим от редуктора 16 по левому плечевому ремню
- Шланг низкого давления 7, проложенный по правому плечевому ремню, соединяющий редуктор 16 с легочным автоматом 4
- Шланг 21 с легочным замком 20 для подключения спасательного устройства 15 к аппарату, идущий от редуктора 16 по правой части поясного ремня
- Шланг высокого давления 14 со штекером ниппелем 13 для дозарядки аппарата методом перепуска, идущий от редуктора 16 по левой части поясного ремня
Для более удобного крепления аппарата на теле пользователя в подвесной системе предусмотрена возможность регулировки длинны ремней.
Для регулировки положения плечевых ремней в зависимости от комплекции пользователя в верхней части основания аппарата предусмотрены две группы пазов.
2. Баллон с вентилем.
Баллон является емкостью для хранения запаса сжатого воздуха, пригодного для дыхания. Баллон 8 (рисунок 1) плотно уложен в ложемент основания 23, при этом верхняя часть баллона пристегивается к основанию с помощью ремня 24 с замком 25, вентели баллонов аппарата исполнения 3 соединены между собой тройником26 с резьбовыми штуцерами и маховичками.
Для защиты от повреждения поверхности металлокомпозитного баллона и продление срока его службы в процессе эксплуотации аппарата может применяться чехол. Чехол выполнен из плотной ткани красного цвета. На поверхности чехла нашита белая светоотражающая ткань, что позволяет контролировать местонахождение пользователя в условиях плохой видимости.
3. Сигнальное устройство.
Сигнальное устройство предназначено для подачи звукового сигнала, предупреждающего пользователя о снижении давления воздуха в баллоне до 5,5 – 6,8 МПа, и состоит из корпуса 11 (рисунок 4.10) и ввернутых в него свистка 10 и манометра 12.
Манометр аппарата предназначен для контроля давления сжатого воздуха в баллоне при открытом вентеле.
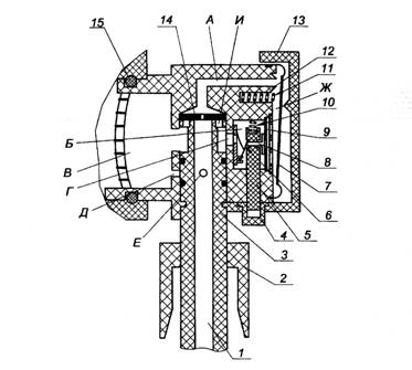
4. Редуктор.
Редуктор (рисунок 4.11) предназначен для понижения давления сжатого воздуха и подачи его к легочным автоматам аппарата и спасательного устройства.

Рис.4.11. Редуктор:
1 – корпус редуктора; 2- маховичок; 3 – резьбовой штуцер; 4 – кольцо 9В8.684.909; 5 – манжета; 6 – предохранительный клапан; 7 – пломба.
На корпусе 1 редуктора имеется резьбовой штуцер 3 с маховичком 2 для соединения с вентелем баллона (исполнение 1,2,и 4) или тройником (исполнение 3). Встроенный предохранительный клапан 6 редуктора защищает полость низкого давления аппарата от чрезмерного роста давления на выходе редуктора.
Редуктор обеспечивает работу без регулировки в течении всего срока службы и не подлежит разборки.
Редуктор опломбирован пломбировочной пастой при нарушении сохранности пломб претензии к работе редуктора предприятием изготовителем не принимаются.
5. Маска.
В состав аппарата в зависимости от комплектации могут входить два варианта масок:
- маска ПМ –2000 с легочным автоматом 9В5.893.497 –вариант 1;
- маска «Пана Сил» из неопрена или силикона с резиновым или сетчатым оголовьем с легочным автоматом 9В5.893.460 – вариант 2;
маска (рисунки 4.12, 4.13) предназначена для изоляции органов дыхания и зрения человека от окружающей среды, подачи воздуха от легочного автомата 6 в органы дыхания человека через клапаны вдоха 3, расположенного в подмасочнике 2, и удаления выдыхаемого воздуха через клапан выдоха 8 в окружающую среду.

1 - корпус маски; 2 - подмасочник; 3 - клапаны вдоха; 4 - переговорное устройство; 5 – гайка; б - позорный автомат; 7 - многофункциональная кнопка; 8 - клапан выдоха; 9 - шланг легочного автомата; 10 – лямка; 11 – замок; 12 - ремни оголовья; 13 - крышка клапанной коробки; 14 – корпус; 15-сетка; 76 - мембрана; 17- кольцо.
Рис.4.12. Маска ПМ – 2000 с легочным автоматом (вариант 1)

1 - корпус маски; 2 - подмасочник; 3 - клапаны вдоха; 4 - переговорное устройство; 5 - кнопка отключения легочного автомата; 6 - легочный автомат; 7 - маховичок устройства дополнительной подачи (байпаса); 8 - клапан выдоха; 9 - шланг легочного автомата; 10 - лямка; 11 - замок; 12- ремни оголовья; 13- фиксатор; 14- крышка клапанной коробки.
Рис.4.13. Маска «Пана Сил» из неопрена или силикона с резиновым или сетчатым оголовьем с легочным автоматом (вариант 2)
В корпусе маски 1 имеется встроенное переговорное устройство 4, обеспечивающее возможность передачи речевых сообщений. В конструкции маски предусмотрена возможность регулировки длинны ремней оголовья 12.
6. Легочный автомат.
Легочный автомат 6 (рисунок 4.14) предназначен для подачи воздуха во внутреннюю полость маски с избыточным давлением, включения дополнительной непрерывной подачи воздуха при отказе легочного автомата или нехватки воздуха пользователю и принудительного выключения подачи воздуха после снятия маски.
![]() |
1 - шланг легочного автомата; 2 - маховичок байпаса; 3 - шток; 4 - кнопка отключения легочного автомата; 5 - шток; 6 - плоская пружина; 7 - мембрана; 8 - седло; 9 - мембрана; 10 - пружина; 11 - пружина; 12 - седло; 13 - крышка; 14 - клапан; 15 - кольцо 054.111.22.
А - канал; Б, В, Ж - полости; Г, Д, Е, И - отверстия.
Рис. 4.14. Принципиальная схема легочного автомата.
Легочный автомат крепится к маске с помощью гайки с резьбой М45х3 (вариант 1) или шарнирного соединения и фиксатора 13 (вариант 2)
7. Спасательное устройство.
Спасательное устройство (рисунок 4.15) предназначено для защиты органов дыхания и зрения пострадавшего человека при его спасении пользователем аппарата и выводе из зоны с непригодной для дыхания газовой средой.

1 – маска спасательного устройства; 2 - легочный автомат; 3 - кнопка байпаса; 4 - шланг; 5 - гайка.
Рис.4.15. Спасательное устройство
Спасательное устройство включает в себя:
- носимую в сумке маску 1, представляющую собой лицевую часть ШМП-1 рост 12.4.166
- легочный автомат 2 с кнопкой байпаса 3 и шлангом 4
легочный автомат крепится к маске с помощью гайки 5 с резьбой круглой 40х4.
Для подключения спасательного устройства к аппарату используется шланг 21 (рисунок 4.15) который предприятие изготовитель устанавливает на аппарате при заказе спасательного устройства.
В случае отсутствия заказа на редукторе устанавливается пробка 12 (рисунок 4.15). Конструктивно легочный автомат спасательного устройства отличается от легочного автомата аппарата (вариант 1) отсутствием возможности создания избыточного давления и типом резьбы крепления к маске.
8. Устройство для дозарядки аппарата воздухом.
Устройство для дозарядки аппарата воздухом представляет возможность не прерывая функционирования аппарата дозаряжать баллон аппарата методом перепуска.
Устройство включает в себя шланг высокого давления 14 (рисунок 4.10) со штекером ниппелем 13, устанавливаемый на аппарате предприятием изготовителем при заказе устройства для дозарядки и шланг с полумуфтой для подключения к стационарному баллону.
В случае отсутствия заказа устройства на редукторе устанавливается пробка 13 (рисунок 6).
9. Работа.
Включение в работу механизма легочного аппарата при открытом вентеле осуществляется автоматически – усилием первого вдоха пользователя. Выключение механизма легочного автомата при снятии маски с головы осуществляется принудительно – нажатием до упора на кнопку 5 (вариант 1) или на кнопку 2 (вариант 2).
Включение устройства дополнительной подачи воздуха (байпаса) осуществляется плавным нажатием на кнопку 5 и удержании ее в этом положении (вариант 1) или поворотом на 90* против часовой стрелки маховичка байпаса 3 (вариант 1).
Контроль давления воздуха осуществляется по манометру 12, смонтированному на шланге 9, который вынесен на левый плечевой ремень подвесной системы. Шкала манометра – фотолюминесцентная для использования при слабом освещении и в темноте.
Принцип работы представлен на принципиальной схеме аппарата (рисунок 4.16).
При закрытом венклапан 9.1 редуктора 9 открыт усилием пружины 9.2.
При включении в аппарат пользователь открывает венСжатый воздух, содержащийся в баллоне 3.1, через открытый вендля исполнения 3 – через вентили и тройник 4 ) поступает на выход редуктора 9. Одновременно через шланг высокого давления 7 воздух поступает на сигнальное устройство 5.
|
Из за большого объема этот материал размещен на нескольких страницах:
1 2 3 4 5 6 7 8 9 10 11 12 13 14 15 16 17 18 19 20 21 22 23 24 25 26 27 28 29 30 31 32 33 34 35 36 37 38 39 40 41 42 43 44 |




