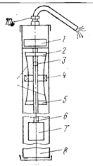
В некоторых случаях надо измерять с точностью до миллиметра. Для этой цели клиновые щелемеры непригодны. Подводный рычаговый щелемер (рис. 18) состоит из малых рычагов, вводимых внутрь шва, больших рычагов, мерного лимба и стрелки. Соотношение рычагов 1:4 позволяет замерять ширину шва с точностью до +0,5 мм. О последующей деформации шва можно судить лишь в том случае, если замеры проведены в одном и том же месте, для чего в журнале измерений, кроме номера шва, должна быть записана отметка места замера и глубина ввода в шов малых рычагов.

Рис.18. Подводный рычаговый щелемер
Диаметр свай до 60 см можно определять при помощи деревянного штангенциркуля, имеющего неподвижный и подвижный упоры. Диаметр больших оболочек высчитываются по длине окружности, замеренной с помощью гибкого линя.
Диаметр арматуры, отверстий и толщины металлических изделий можно измерять обыкновенным инструментальным штангенциркулем.
Местные деформации берегоукрепительных покрытий замеряют при помощи мерной рамы, установленной на опорах над деформированным участком (рис. 19).

Рис 19. Рама для замера местных деформаций берегоукрепительных покрытий
Размеры рамы определяются в зависимости от ее массы, которая не должна затруднять установку. Материалом для изготовления рамы служит обычно прокатный дюралевый профиль. На раму натягивается проволочная сетка, размер ячеек которой позволяет уловить характер деформации участка. Измерения деформаций производятся в углах каждой ячейки с помощью линейки с миллиметровыми делениями. Разность отметок в углах каждой ячейки позволяет вычертить план деформированного участка в горизонталях. При большой площади замеряемого участка перестановка рамы производится с нивелировкой ее по четырем углам.
Снятие отметок можно автоматизировать, если вместо сетки по продольным сторонам рамы перемещать мерную линейку, а вдоль линейки передвигать ползунок со штыревым контактным датчиком, показания которого передаются наверх на цифровые счетчики. Перемещения линейки и ползунка должны быть фиксированными.
Промеры глубин воды вблизи сооружений, по створу, поперечному сечению реки или акватории порта выполняются при помощи размеченных через 10 см черной и белой красками вешек и реек (при небольших глубинах) или лот-линем. Лот-линь изготавливается из капронового шнура диаметром 4-6 мм, к его концу прикрепляется шаровидный груз массой 5-10 кг. Такой груз имеет хорошую обтекаемость, благодаря чему меньше цепляется за выступающие и оставшиеся после строительства части конструкции, топляк, доски, проволоку, арматуру. Перед разметкой лот-линь, следует намочить и вытянуть грузом массой 5-10 кг. Для маркировки применяется хлорвиниловая изоляция или вплетаемый в пряди линя мягкий материал: цветные кусочки кожи или материи с вырезанными зубчиками, указывающими число целых метров. Применение металлических колец или жетонов с набитыми на них цифрами запрещается, так как при быстром стравливании линя они могут повредить руки.
Измеряя глубину на течении, лот забрасывают против течения с таким расчетом, чтобы в момент определения глубины он занимал по возможности вертикальное положение. Если промеры производятся вблизи сооружений и измеряющий имеет возможность перемещаться по сооружению (причал, выступающий обрез фундамента т. п.), то после забрасывании лота при снятии отсчетов вертикальное положение линя выбирается из свободного путем его быстрого смещения вниз по течению.
На больших и глубоких реках приходится применять лот с металлическим тросом диаметром 2-3 мм. Трос закрепляется на лебедке со счетчиком длины линя. В связи с тем, что лот относится течением, отсчеты дают преувеличенные глубины, поэтому для получения истинных глубин нужно вводить поправочный коэффициент, равный косинусу угла наклона линя. Угол наклона определяется с помощью транспортира или уклономера (можно считать, что при тяжелом грузе гибкая нить тонкого троса представляет прямую линию). При промерах глубин в реках и портовых акваториях часто применяются стационарные или портативные съемные или переносные эхолоты.
Для определения толщины наносного грунта используется гладкий щуп из стали диаметром 6-8 мм, один конец которого заостряется, а на другом делается упорная петлевая ручка. Длина щупа выбирается в зависимости от плотности наносного слоя. Практика показала, что аквалангист может проколоть песчаный слой на глубину не более 0,8 м, а водолаз в вентилируемом снаряжении до 1,2-1,5 м. При прокалывании водолаз, стравливая воздух и нажимая всей тяжестью на щуп, должен его слегка покачивать или вращать из стороны в сторону. Твердый грунт и особенно каменную отсыпку легко обнаружить по характерному звуку ударяющегося о них щупа.
Уклономеры
Необходимость измерения наклона вертикальных и горизонтальных поверхностей при подводном обследовании возникает довольно часто. Определение наклона вертикальных конструкций – процесс довольно трудоемкий, особенно когда требуется большая точность. Очень часто для замера наклона используется линь и водолазная линейка, но этот способ сравнительно трудоемок.
Если от измерений не требуется большой точности, то можно пользоваться изготовленным для этих целей в ЦНИИСе подводным уклономером. В герметичном боксе из оргстекла смонтирована измерительная система прибора, состоящая из небольшого отвеса, двух шестерен с передаточным отношением 1:6, стрелки и лимба со шкалой на +250. Размеры прибора подобраны так, чтобы, не затрудняя работу водолаза даже на течении, обеспечить точность отсчета до 0,50. Герметичный бокс укрепляется на жесткой металлической планке, у концов которой имеются упорные штыри, облегчающие работу на конструкциях, заросших водорослями и ракушками. Прибор прост в изготовлении. В качестве передаточной системы можно использовать механизм шестеренок воздушного манометра.
Другой уклономер работает на принципе уровня (рис.20). На его рабочей панели закреплено два уровня: верхний имеет диапазон измерений +120 и точность отсчета 30 минут, а нижний – диапазон +50 и точность 15 минут.
Уклономер, работающий на принципе жесткого маятникового отвеса с передачей отклонений на мессуру с ценой деления 0,01 мм, что соответствует 0,03 минуты, используется для точного контроля деформаций при испытании и эксплуатации сооружений (рис. 21). Диапазон измерений +100. В местах предполагаемой установки прибора желательно в бетонные элементы на расстоянии базы уклономера заделывать металлические марки.
Удобен и надежен в работе универсальный подводный уклономер ЦНИИМ-ПУ-0,2,0-360, (рис. 22), предназначенный для измерения уклонов дна, каменной отсыпки, элементов конструкций портовых, мостовых и других гидротехнических сооружений (авторское свидетельство на изобретение № 000). В этом изобретении используется принцип поплавка.
Рис.20. Уклономер с уровнем

Рис. 21.Уклономер маятниковый Рис. 22. Универсальный подводный уклономер ЦНИИС
Корпус датчика уклономера негерметичен, выполнен из тонкого некорродирующего материала, так как не подвержен избыточному давлению воды. Уклономер очень легок, удобен при транспортировке, не имеет трущихся осей и дает стабильные показания, так как не имеет инерционных масс. В негерметичном корпусе на гибких осях, прикрепленных к стойкам и переднему стеклу, посажены две шестеренки передаточного механизма. К большой секторной шестеренке на фигурном рычаге прикреплен поплавок, а к оси малой шестеренки – индикаторная стрелка. На циферблате нанесены значения уклонов в градусах. Корпус датчика укрепляется на стойке жесткой балочки шарнирно и может стопориться через 300, что обеспечивает возможность измерения уклонов от нуля до +3600. Шкала установки необходимого диапазона измерений расположена на обратной стороне корпуса датчика. На концах балочки закреплены регулируемые упоры, обеспечивающие установку «нуля» прибора.
Для измерения уклонов водолаз, закрепляя датчик уклономера в предполагаемом диапазоне измерений, прижимает уклономер упорами к измеряемому элементу и по циферблату считывает показания уклона.
Все перечисленные выше уклономеры позволяют измерить уклон только в одной плоскости. В последнее время для измерения небольших углов под водой используются устройства, позволяющие измерять углы отклонений от 0 до 140 от горизонтальной плоскости во всех направлениях по изменению положения светового пятна относительно калиброванной круговой шкалы. Цена деления 10, что дает возможность проводить измерения практически с точностью до 0,50. Прибор представляет собой стандартный инклинометр, заключенный в толстостенный патрубок с иллюминатором на верхнем конце.
Контроль отклонения в любой плоскости от вертикали с дистанционной передачей показаний на поверхность можно производить инклинометром Гипроречтранса. В герметичном корпусе датчика на шаровом шарнире подвешен маятник, к верхнему концу которого закреплены через 1200 три струнных датчика, по показаниям которых можно построить диаграмму уклонов в любой плоскости.
В тихую погоду и при отсутствии течения уклоны очень точно можно определить нивелировкой с поверхности. Для придания нивелировочной рейке вертикального положения к ее нижней части должен быть закреплен груз, а к верхней на глубине 1-1,5 м от поверхности воды следует прикрепить поплавки (пенопласт, буйки или резиновые надувные волейбольные камеры в плетеных сетках). При волнении или при течении для обеспечения вертикального положения рейки работающему под водой водолазу необходимо помогать с лодки, следя за вертикальным положением рейки по вспомогательному отвесу или используя для контроля подводный уклономер.
Характер деформации металлического шпунта по высоте может быть определен путем измерения углов наклона шпунта уклономером и последующего построения упругой линии.

Рис 23. Измеритель деформации упругой оси стенок НИДС-1:
1-штанга; 2-измерительная каретка; 3-штурвал; 4-упорная головка; 5-рельсовые направляющие; 6-стопорный винт; 7-упорный стержень; 8-диск-указатель с верньером; 9-мерная линейка; 10-уровень
В Ленинградском институте водного транспорта изготовлен измеритель деформации упругой оси шпунтовых стенок НИДС-1 (рис 23 а). Прибор состоит из жесткой штанги с четырьмя рельсовыми направляющими, высокоточного уровня, измерительной каретки, перемещающейся по рельсовым направляющим штанги при помощи катков. Каретка снабжена стопорным винтом, упорным стержнем с микрометрической нарезкой, вводимым в контакт со стенкой штурвалом. На упорном стержне закреплены диск-указатель с верньером и сферическая упорная головка. При вращении стержня диск-указатель перемещается вдоль мерной линейки с миллиметровыми делениями.
При измерении (рис. 23 б) штанга навешивается как можно ближе к шпунтовой стенке, каретка устанавливается в строго фиксированной точке, и упорная головка вводится в контакт со шпунтовой стенкой. Упорный стержень перемещается до тех пор, пока штанга не займет строго вертикальное положение, контролируемое по уровню. Отсчет считывается по линейке и верньеру с точностью до 0,1 мм. Такая точность отсчетов оправдывает себя лишь на металлических и вновь построенных, необросших бетонных конструкциях. Работать с прибором под водой удобнее в легководолазном снаряжении с использованием подводного освещения и телефонной связи.
В Союзморниипроекте, ЛИВТе и других организациях разработаны более сложные приборы для измерения прогибов тонких подпорных стенок. Схема одного из них приведена на рис.24. Для работы без водолаза в этих приборах предусмотрены специальные устройства, обеспечивающие их скольжение вдоль шпунтины

Рис. 24. Уклономер Союзморниипроекта:
1-опора кронштейна; 2-опорная пластина с двумя фрезерованными площадками; 3-пружинный шарнир; 4-рамка с призмами для создания предварительного прогиба пластинчатых тензодатчиков; 5-коромысло с двумя фрезерованными площадками; 6-ось маятника; 7-груз; 8-корпус прибора; 9-пластинчатые пружинящие тензодатчики; 10-герметизированный штекерный разъем
Приборы для геодезической съемки
Геодезические приборы для определения высотных отметок под водой, в отличие от механического измерительного инструмента (лот-линя, футштока, нивелирной рейки), использование которого ограничивается глубиной воды и скоростью течения, построены на принципе изменения гидростатического давления по глубине. Эти приборы по типу измерения делятся на две группы: приборы для определения абсолютных и относительных отметок, а по конструкции считывающего устройства – на приборы с прямым считыванием отметок под водой и на передающие показания на поверхность. Нивелиры различной конструкции имеют свои преимущества и недостатки.
Гидростатический нивелир (Авторское свидетельство № 000) (рис. 25) состоит из двух трубок, соединенных шлангом, заполненных ртутью и спиртом, сильфона, воздушного поплавка, грузика и системы дистанционного регистрирования положения уровня ртути, включающей в себя проводники тока высокого сопротивления, соединительные провода и измерительный мост. При проведении измерений трубки устанавливаются на точки и занимают вертикальное положение. Уровень ртути под давлением воды, передаваемым через эластичную оболочку и спирт, установится в определенном положении, при этом в обеих трубках он исключит из электрической измерительной цепи часть контактных проволок в соответствии с разностью высот в точках установки трубок. Измеряемое превышение соответствует разности электрического сопротивления этих цепей, фиксируемой дистанционной регистрирующей системой. Оставляя одну трубку на постоянной реперной точке и переставляя другую на следующие точки, можно определить их относительные превышения.
Другой нивелир конструкции и ( авт. свид. № 000), (рис. 26), позволяющий определить абсолютные отметки точек под водой, состоит из подводной и надводной частей. Полость над ртутью левого колена U –образного манометра посредством внутреннего шланга сообщается с атмосферой. Полость над ртутью правого колена, кольцевая полость, образованная стенками наружного и внутреннего шлангов, полость подводной трубки и температурного компенсатора сообщаются между собой и заполнены жидкостью – диэлектриком, например, бензином.

Рис 25. Гидростатический нивелир для
определения относительных отметок:
1-трубка; 2-проводники тока высокого сопротивления; 3-грузик; 4-шланг; 5-соединительные провода; 6-измерительный мост; 7-воздушный поплавок; 8-сильфон

Рис 26. Гидростатический нивелир для определения абсолютных отметок:
1- манометр; 2-груз; 3-мерная шкала;
4-ртутно-реостатный преобразователь;
5-поплавок; 6- кабель; 7-блок дистанционной регистрации показаний;
8- тренога; 9-градуированная трубка; 10-температурный компенсатор;
11-шланг; 12-кран; 13-репер; 14-внутреннипй шланг; 15-наружный шланг
При передаче высотной отметки от надводной геодезической сети к подводной трубка устанавливается вертикально с помощью треноги на репере с известной высотной отметкой.
Подводную часть гидростатического нивелира водолаз устанавливает в точке, высотную отметку которой требуется определить. Открывается кран, перемещением поршня-штока температурного компенсатора устанавливается рабочий уровень жидкости-диэлектрика в трубе и кран закрывается. Затем включается питание блока дистанционной регистрации показаний и ртутно-реостатного преобразователя и по шкале считывается величина разности высот столбиков ртути в правом и левом коленах U-образного манометра. Полученное значение умножают на соотношение плотностей ртути и жидкости-диэлектрика. В результате получают превышение репера над точкой под водой, в которой установлена подводная часть устройства.
Глубиномеры для водолазного промера с дистанционной регистрацией показаний ГД-10, ГД-16, ГД-25, ГД-40 представляют собой приборы манометрического типа с выносными датчиками глубины. Принцип действия манометрического глубиномера заключается в том, что давление столба воды в точке, в которой установлен наконечник шланга, в момент измерений компенсируется давлением воздуха во внутренней полости прибора. Так как давление воздуха в любой части пневмосистемы практически одинаково, манометр, подключенный к ней на поверхности, показывает давление воздуха в пневмосистеме, равное давлению воды, в исследуемой точке, которое соответсвует высоте столба воды т. е. глубине.
Прибор состоит из корпуса с хомутами, которыми он крепится к баллону со сжатым воздухом. К корпусу прикреплены образцовый манометр и компенсатор объема, сообщающиеся между собой через трубку. На вентиле баллона со сжатым воздухом установлен редуктор, соединенный шлангом с компенсатором объема. К штуцеру компенсатора присоединен гибкий шланг из полимерных материалов с наконечником. Наконечник снабжен пятой и имеет выходное отверстие. Шкала образцового манометра проградуирована в сантиметрах водяного столба.
Технические характеристики
ГД-10 ГД-16 ГД-25 ГД-40
Рабочая глубина, м
Габариты, мм 250х200х500
Длина шлангов, м 60
Масса, кг 15
Допустимые погрешности
измерений, см +4 +6,4 +10 + 16
Цена деления шкалы, см 5
Давление сжатого воздуха, МПа 15
Запас сжатого воздуха на 2000 измерений
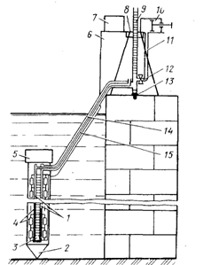
Подводный барометрический нивелир ПН-0,2/30(100) (рис.27) предназначается для нивелирования дна, каменной отсыпки, элементов конструкций сборных и монолитных портовых, мостовых и других гидротехнических сооружений.
Нивелирование, так же как и в надводной геодезии, ведется от реперной точки, абсолютная отметка которой известна. В конструкции нивелира используется принцип дифференциального манометра, (Авторские свидетельства №№ 777420).

Рис. 27 Подводный барометрический нивелир
Нивелир состоит из сборной штанги, на которой нанесены сантиметровые деления, передвижной каретки и закрепленного на ней индикатора горизонта. Вертикальное положение штанги под водой обеспечивается тяжелым опорным подпятником и закрепленным вверху поплавком. Каретка перемещается по штанге с помощью фигурного зубчатого колеса, входящего в зацепление с прорезями, совпадающими с сантиметровыми делениями штанги. На каретке дополнительно установлен съемный счетчик превышений нивелируемых точек.
Индикатор горизонта состоит из двух камер, разобщенных чувствительной диафрагмой и перепускным краником. В верхней рабочей камере расположена светооптическая индикаторная система и блок питания. Нижняя, компенсационная камера оканчивается крышкой с отверстием и демпферными конусными успокоителями, сглаживающими колебания давления при работе на небольших глубинах при волнении.
Измерения начинаются с реперной точки или любой точки, относительно которой предполагается определить превышения измеряемых точек. На эту точку водолаз устанавливает подпятник штанги и, открыв краник, выравнивает давление в обеих камерах. При этом каретка устанавливается на нулевое деление штанги, передвижной индекс экрана устанавливается по световому индикатору. После разобщения камер путем перекрытия краника водолаз переносит нивелир и устанавливает штангу на любую измеряемую точку. Вращая маховик каретки, перемещает индикатор горизонта до момента совмещения на экране светового индикатора с риской передвижного индекса. Величина перемещения каретки по штанге определяет величину превышения точек.
По сравнению с традиционными способами подводного нивелирования, точность которого резко падает с увеличением глубины и скорости течения, барометрический нивелир ПН-0,2/30(100) позволяет вести нивелирование на любых глубинах, при течении и волнении, разрешенными правилами охраны труда для водолазов. Работы можно вести в отдалении от берега, на неограниченной площади. При перепадах высот более длины штанги применяется общеизвестный метод нивелировки на косогорах с промежуточными опорными точками. Высокая чувствительность прибора и точность измерений определяются конструкцией индикатора горизонта, содержащего вялую диафрагму и светооптическую безинерционную индикаторную систему.
Технические характеристики
Рабочая глубина измерений, м до 30
с приставкой, м до 100
Чувствительность индикатора, мм +1
Точность измерений, мм +2
Масса нивелира, кг до 10
Габаритные размеры
в транспортном положении:
длина, м 0,8
ширина, м 0,3
высота, м 0,3
в рабочем положении:
длина, м 0,3
высота, м 2,0
ширина, м 0,3
Эхолоты и гидролокаторы
Промеры глубин при подводном обследовании транспортных сооружений, особенно во время работы на течении, весьма трудоемки и занимают много времени. Применение эхолотов для этого позволяет значительно повысить производительность. Работа эхолота основана на принципе измерения времени между посылкой сигнала и приемом его отражения. Электрические импульсы, выработанные генератором, подаются на вибратор, преобразовываются в акустические сигналы и излучаются в окружающую среду. Дойдя до препятствия, ультразвуковые колебания отражаются и снова принимаются вибратором. Затем, после преобразования в электрические, эти сигналы усиливаются и регистрируются записывающим устройством на электротермической бумаге. До последнего времени применение эхолотов при измерении глубин воды у гидротехнических сооружений было ограничено из-за громоздкости и большой массы оборудования. Обычно к их помощи прибегали лишь в том случае, когда был велик объем работ: при изыскании на реках, при определении заносимости больших портовых акваторий. Для этих целей использовались съемные лодочные или стационарные судовые эхолоты.
В настоящее время нашей промышленностью и рядом зарубежных фирм выпускаются портативные эхолоты. Выпускаемый в нашей стране переносной шлюпочный эхолот «Язь» (рис. 28), может быть использован для гидрографических, научно-исследовательских и навигационных целей.

Рис.28. Переносной шлюпочный эхолот «Язь»
Эхолот «Язь» состоит из трех основных элементов: вибратора, приемопередающей части с самописцем и блока питания. Самописец и приемопередатчик смонтированы в одном корпусе, предохраняющем их от брызг. Электронная часть прибора изготовлена методом печатного монтажа с применением полупроводников. Рабочая частота эхолота 85+5 кГц. Прибор имеет один сорокаметровый диапазон измерений с плавным фазированием до 160 м. Запись сигналов – круговая, на электротермической бумаге шириной 80 мм.
Приемоизлучающей системой является пьезокерамический вибратор, который представляет собой диск из керамики титаната бария, вмонтированный в герметичный цилиндрический корпус. Вибратор эхолота опускается в воду или может работать через днище судна. Угол диаграммы направленности приемоизлучателя 34+70. Мертвая зона эхолота – 1 м от плоскости вибратора.
Питание осуществляется от батареи элементов общим напряжением
6 В. Потребляемая мощность не более 5 Вт. Масса комплекта с укладочной тарой не более 14 кг. Прибор рассчитан на нормальную работу при температуре окружающей среды от -100С до +400С и при скорости судна до двух узлов.
Одна из английских фирм выпускает портативный эхолот «Сюрвейор», предназначенный также для гидрологических измерений при небольшой глубине. Шестидиапазонная запись на самописце перекрывает глубину 62 м. Эффективная ширина диапазона составляет 12 м. Предусмотрена плавная регулировка протяжки ленты. Два преобразователя – один для передачи, а другой для приема ультразвукового сигнала – обеспечивают узкую нулевую линию при работе в очень мелких водах. Номинальная рабочая частота 150 кГц. «Сюрвейор» полностью транзистирован, потребляет ток около 300мА. Питание осуществляется от внешнего источника напряжением 12-32 В. Индикаторный блок смонтирован в прочном герметичном металлическом корпусе размером 23,5х18,5х 9,75 см. Масса прибора 3,6 кг.
Основным недостатком всех типов эхолотов является большой угол диаграммы направленности излучателя, приводящий к осреднению величины отметки. Кроме этого, специально проведенные исследования выявили следующие величины ошибок измерений: из-за колебания напряжения в сети питания – до +25 см, из-за плотности воды – от +20 до -50 см. Такие погрешности не всегда могут обеспечить требуемую точность измерений при обследовании сооружений, но поскольку они приемлемы при изысканиях, при оценке размывов грунта вблизи сооружений, то такие приборы должны входить в комплект снаряжения водолазных станций.
Для измерения скоростей течения, глубины, определения расходов воды и создания планов рельефа дна на участках русл рек и водоемов в ЦНИИСе разработана автоматизированная система для производства гидрометрических работ (АТИС). Она включает ультразвуковой портативный модернизированный профилограф «Язь», электромагнитный скоростемер «Зонд», электронную приставку к профилографу «Язь», складное портативное плавсредство и комплект геодезических приборов.
Ультразвуковой портативный модернизированный профилограф «Язь» имеет в основном те же характеристики, что и упомянутый выше эхолот «Язь», но его угол диаграммы направленности составляет 26+30.
Электромагнитный скоростемер «Зонд» характеризуется следующими техническими данными:
Диапазон измеряемых скоростей потока, м/с 0-0,5; 0-1,0
0-5,0; 0-10,0
Допускаемая основная погрешность измерителя, % 2,5
Мощность потребляемая измерителем, Вт не более 12
Длина линии связи между преобразователем
скорости (датчиком) и преобразователем
напряжения (регистратором), м не более 30
Масса преобразователя скорости, кг 7
Масса преобразователя напряжения, кг 6
Электронная приставка к профилографу «Язь» предназначена для осуществления одновременной записи показаний глубин и скоростей на ленте профилографа «Язь». На ленте эхолота –профилографа с помощью приставки попеременно с соотношением 1:3 записываются данные скорости течения и глубины. Запись осуществляется пером самописца на электротермической бумаге.
Складное портативное плавсредство имеет массу не более 2 кг.
В комплект геодезических приборов входят (в зависимости от условий работ) теодолиты или дальномеры.
Работу водолаза по осмотру дна вблизи сооружений в непрозрачной воде можно облегчить при помощи портативных подводных гидролокаторов. Эти приборы используются для обнаружения посторонних предметов, выступающих над дном. В основу гидролокации так же, как и при эхолотировании, заложен принцип посылки в воду ультразвукового импульса и фиксации сигнала, отраженного от встретившегося на пути предмета. Регистрации отраженных сигналов производится при помощи звуковых индикаторов, электронно-лучевых трубок или стрелочных индикаторных приборов. Гидролокаторы – приборы автономные, их питание осуществляется от батарей сухих элементов.
Создание портативных гидролокаторов для нужд водолазов находится в настоящее время на стадии поиска наиболее оптимальных параметров приборов, изучения единичных образцов. Один из таких образцов создан в специальном конструкторском бюро «Газприборавтоматика» (рис. 29).

Рис. 29. Портативный гидролокатор конструкции СКБ «Газприборавтоматика»
В качестве индикатора использована электронно-лучевая трубка.
Рабочая частота прибора 130 кГц
Диапазон измерений: 0-6; 0-12; 0-25; 0-50; 0-100 м.
Угол диаграммы направленности 160.
Разрешающая способность по дальности для диапазона 25 м составляет 0,8 м
Глубина погружения 30 м.
Габаритные размеры приборов 37х28х23 см.
Масса 16,8 кг.
Отрицательная плавучесть – около 2 кг.
Все элементы гидролокатора заключены в цилиндрический бокс диаметром 130 мм и длиной 380 мм. На его корпус выведены три ручки управления: включение питания, регулировка чувствительности, переключение диапазонов дальности.
Лабораторией электроники военно-морских сил США разработан гидролокатор с радиусом действия 120 м, разбитым на три диапазона. При работе прибора отраженный от препятствия ультразвуковой сигнал обеспечивает слуховую индикацию через герметизированные наушники. По тональности сигнала можно судить о расстоянии до цели. Электронная часть выполнена с использование печатных схем. Обслуживают прибор два человека.
Водолаз, работающий с гидролокатором, как бы приобретает второе «дальнее» зрение, к особенностям которого надо себя приучить, так кА по сигналу на индикаторе нельзя определить на характера, ни формы препятствия; прибор обеспечивает только направление и расстояние до цели.
3.11. Неразрушающие методы испытаний материалов сооружений.
Определение качества бетона под водой
Интерес к созданию аппаратуры контроля за состоянием морских сооружений из железобетона за рубежом резко повысился после появления таких уникальных конструкций, как морские платформы для добычи нефти, так как выход из строя одного такого сооружения может повлечь за собой огромные убытки. Это ускорило создание аналогичной аппаратуры для контроля за состоянием гидротехнических сооружений, поскольку принципиальных различий между ними нет.
Наиболее уязвимые зоны сооружения из железобетона с точки зрения повреждения материала – зоны переменного горизонта воды и всплеска, а наиболее распространенное повреждение в этой зоне – коррозия арматуры со всеми вытекающими отсюда последствиями. Из применяемых в настоящее время за рубежом способов выявления начинающийся коррозии арматуры наиболее надежными считают измерение электрического потенциала арматуры и определение глубины проникания хлоридов в бетон.
Измерение потенциала арматуры осуществляется с использованием эталонного элемента медь, и сернокислая медь и вольтметра с высоким внутренним сопротивлением. Величина потенциала связана обратной зависимостью с вероятностью коррозии. Установлено, что некорродирующая сталь имеет потенциал более – 250 мВ, корродирующая сталь – менее - 350 мВ. Арматура, имеющая величину потенциала между этими значениями, может находиться как в том, так и в другом состоянии. Обычно на основании измерений потенциалов в некоторых точках конструктивного элемента (например, железобетонной сваи) на схеме строят линии равных потенциалов, что дает наглядное представление о состоянии арматуры в различных зонах. Нередки случаи, когда при наличии видимых дефектов становится бессмысленным лечение элемента только в местах распространения этих дефектов, так кА по результатам измерения потенциалов становится известным, что через некоторое время другие участки элемента окажутся разрушенными.
Высверливание кернов поблизости от арматуры и их исследовании, позволяют определить содержание хлоридов в бетоне и тем самым оценить степень депассивирования стали. Более простой и быстрый способ решения той же задачи – высверливание отверстия небольшого диаметра в бетоне, сбор бетонного порошка и быстрый анализ его в лаборатории. Пробы в отверстии берутся на разных глубинах.
В некоторых случаях, обычно при инспектировании давно построенных железобетонных сооружений, бывает необходимо определить местоположение арматуры. Для этой цели служит стандартный прибор несложной конструкции, принцип действия которого основан на фиксации искажения магнитного поля поблизости от стержней. Прибор эффективен при толщине защитного слоя бетона до 80 мм.
При необходимости обследования подводной зоны сооружения могут быть использованы в основном те же методы и принципы выявления состояния арматуры, но специфические условия накладывают на них свой отпечаток. Выбуривание кернов в подводной зоне сооружения вполне осуществимо, однако эта операция занимает много времени из-за трудности крепления контрударной рамы к бетонной поверхности под водой. Прибор для определения местоположения арматуры может быть заключен в водонепроницаемый бокс и использован водолазами. Измерение электрического потенциала в подводной зоне, как показали эксперименты, не дает удовлетворительных результатов из-за низкого сопротивления морской воды.
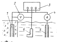
В настоящее время продолжаются лабораторные исследования по созданию более совершенной аппаратуры выявления картины коррозионного состояния арматурной стали. Перспективным в этой области считают способ определения величины коррозии по поляризационным характеристикам металла, представляющим собой данные об изменении потенциала в присутствии наложенного тока (рис. 30). Величина коррозии оценивается по поляризационным кривым зависимости потенциала от силы тока.

Рис. 30. Схема определения поляризационных характеристик арматуры:
1-арматура (рабочий электрод); 2-вольтметр с высоким внутренним сопротивлением; 3-стабилизатор напряжения; 4-миллиамперметр; 5-прогтивоположжны электрод; 6-эталонный электрод
Довольно широко в зарубежной практике используется подводная ультразвуковая дефектоскопия. Применение механических неразрушающих методов контроля поверхностной прочности бетона некоторые специалисты считают малоэффективным, так кА полученные результаты трудно соотнести с прочностными характеристиками бетона в подводной зоне. Однако выпускаемые одной из Шведских фирм склерометры Шмидта ( основанные на принципе упругого отскока), специально приспособленные для работы под водой, пользуются в мировой практике успехом. Некоторые модели этих приборов снабжены приспособлениями для автоматической записи результатов измерений, что особенно удобно при испытаниях бетона в подводных условиях.
Недавно был предложен новый способ выявления трещин, глубина которых достигает арматуры. Он предусматривает использование источника питания постоянного тока и соответствующей измерительной аппаратуры, позволяющей оценивать плотность электрического тока. В местах, где трещины достигают арматуры и начинается коррозия, плотность тока резко возрастает, что позволяет оценить интенсивность трещинообразования в данной зоне. Новый способ оценки подводных железобетонных конструкций позволяет точно определить расположение и размеры трещин, не очищая поверхности элементов от обрастаний.
Хотя операции по подводной очистке выполняются на небольших участках подводной части сооружений, они составляют самую большую статью расходов на обследование. Вследствие этого зарубежные фирмы уделяют большое внимание разработке средств очистки: пневматических зубил и молотков, проволочных щеток, гидравлических роторных машинок со щетками и абразивами, скребков, высоконапорных водометов, струйных кавитационно-эрозионных машинок, пескоструйных установок.
В нашей РФ также разработаны приборы и аппаратура неразрушающего метода контроля качества бетона под водой. К ним относятся приборы для определения поверхности твердости бетона, а также ультразвуковая аппаратура для определения качества бетона.
Принцип действия прибора ПИГБ-2 (Авторское свидетельство на изобретение № 000), (рис. 31) основан на определении отношений размеров отпечатков, оставленных ударником на поверхности бетона и на эталонной пластинке.
|
Из за большого объема этот материал размещен на нескольких страницах:
1 2 3 4 5 6 7 8 9 10 11 12 13 14 15 16 17 18 19 |



