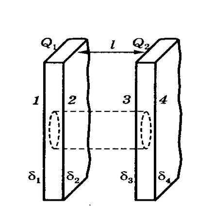
Решение. Сделаем рисунок, соответствующий условию задачи.

Рис.12
По условию задачи размеры пластин велики. В этом случае можно пренебречь зарядами на торцевых поверхностях и считать, что на каждой из четырех боковых поверхностей 1, 2 ,3, 4 заряды распределены равномерно. Тогда напряженность результирующего поля определяется выражением:
(1)
Здесь
, (2)
где
- результирующая поверхностная плотность сообщенных и индуцированных зарядов на боковой поверхности пластины. При этом формула (2) может быть получена из теоремы Остроградского – Гаусса. Из условий задачи следует, что электрическое поле между пластинами однородно и тогда разность потенциалов между пластинами можно найти по формуле:
(3)
Таким образом, чтобы найти напряженность электрического поля, надо определить поверхностные плотности зарядов на всех четырех боковых поверхностях. Это можно сделать на основе закона сохранения заряда. Если
и
= поверхностные плотности зарядов на поверхностях первой пластины, то по закону сохранения заряда имеем:
(4)
Если
и
- поверхностные плотности зарядов на поверхностях второй пластины, то
(5)
Распределение зарядов на поверхностях пластин должно быть таким, чтобы напряженность электрического поля в толще металла была равна нулю. Используем это условие, для чего выберем цилиндрическую поверхность. Основания этой поверхности находятся внутри металлических пластин, а боковая поверхность соединяет пластины. Теперь используем теорему Остроградского – Гаусса. Поток вектора напряженности через боковую поверхность выбранного цилиндра равен нулю, так как силовые линии электрического поля перпендикулярны пластинам, и поэтому во всех точках боковой поверхности скалярное произведение
. Поток через основания цилиндра обращается в нуль, так как оба основания находятся в толще металла, где напряженность электрического поля равна нулю. Следовательно, поток через полную замкнутую поверхность выбранного цилиндра равен нулю:
. Теперь определим суммарный заряд, находящийся внутри этой поверхности:
, где
- площадь основания выбранной цилиндрической поверхности. По теореме Остроградского – Гаусса
имеем
. Отсюда следует, что
(6)
Из этого равенства следует, что электрические поля, создаваемые поверхностями 2 и 3, внутри каждой из рассматриваемых пластин взаимно скомпенсированы. Векторы
и
в этих областях направлены в противоположные стороны и равны по модулю. Так как в толще пластин напряженность электрического поля равна нулю, то поля, создаваемые зарядами на поверхностях 1 и 4, также должны быть скомпенсированы. Так как напряженности электрического поля, созданного зарядами на поверхностях 1 и 4, в толще пластин должны быть противоположно направлены, то
(7)
Уравнения (4), (5), (6) и (7) образуют систему, решение которой позволит найти распределение зарядов, а затем и разность потенциалов между пластинами.
В пространстве между пластинами векторы
и
направлены в противоположные стороны и с учетом формулы (7) можно записать:
.
Векторы
и
, как следует из формулы (6) направлены в пространстве между пластинами в одну сторону. Тогда из формулы (1) следует:
.
Теперь по формуле (3) можно найти разность потенциалов между пластинами:
(8)
Из формулы (8) видно, что знак разности потенциалов зависит от
.
Теперь рассмотрим различные предложенные в задаче ситуации.
1.
. Из формулы (5) получаем
. Таким образом для данного случая имеем систему уравнений:

Решая эту систему, получаем
. Теперь можно воспользоваться определением поверхностной плотности заряда:
![]()
Подставляем численные значения и определяем поверхностную плотность заряда на каждой поверхности:
.
Теперь вычислим по формуле (8) напряжение между пластинами:
.
2.
. Теперь система уравнений из формул (4), (5), (6) и (7) имеет вид:

Решим эту систему и получим:
.
Теперь подставим численные значения зарядов и получим:
![]()
Используя формулу (8) вычислим разность потенциалов между пластинами в этом случае
.
3.
и вторая пластина заземлена. При соединении внешней поверхности правой пластины с Землей, потенциал которой принимается за ноль, потенциал этой пластины также становится равным нулю. Это значит, что в области справа от заземленной поверхности напряженность поля равна нулю. В толще второй пластины напряженность тоже равна нулю, так как пластина металлическая. Это значит, что на поверхности 4 вектор напряженности электрического поля не имеет разрыва. Это может быть в случае, когда зарядов на этой пластине нет. Тогда можно сразу записать, что
. Теперь из формулы (7) следует, что
. Тогда из формулы (4) найдем:
. Формула (6) позволяет определить
.
Подставляем численные значения и получаем:
.
По формуле (8) вычислим разность потенциалов между пластинами в данном случае
.
В данной задаче размерность полученных величин легко проверялась устно на основе определения этих величин.
Ответ: 1.
,
;
2.
,
;
3.
,
.
Задача 10 Внутри сферической металлической оболочки радиусами
и
находится металлический шар радиуса
с зарядом
. Найти потенциалы в точке, являющейся центром оболочки, и на внешней поверхности оболочки, если 1) шар расположен концентрично оболочке; 2) центр шара смещен на расстояние
от центра оболочки; 3) шар соприкасается с оболочкой.
|
Из за большого объема этот материал размещен на нескольких страницах:
1 2 3 4 5 6 7 8 9 10 11 12 13 |



