В результате обработки жидкости в электрическом поле коллоидные частицы разноименно заряжаются, притягиваются друг к другу и уплотняются. Вследствие уплотнения коллоидные частицы легко выпадают в осадок в отстойнике.
Метановое сбрасывание навоза - это биохимическая обработка для получения кормовых дрожжей.
5. Охрана окружающей среды от загрязнений.
Основные требования по охране окружающей среды:
1. Хранить навоз без добавления воды, так как разбавление увеличивает выживаемость патогенных возбудителей.
2. Транспортировать навоз в надежно закрытых емкостях.
3. Перед внесением навоза в почву проводить квалифицированную его профилактику.
4. Вносить жидкий навоз только после пастбищного периода или за три месяца до него.
5. Кормовые растения с удобренных площадей по возможности силосовать (силосование прекращает жизнедеятельность почти всех болезнетворных возбудителей).
6. Навоз должен длительно выдерживаться в хранилищах.
7. Не подвергать загрязнения водоемов сточными водами.
Лекция № 17.
тема микроклимат в животноводческих
помещениях.
ПЛАН:
1 Понятие о микроклимате и его значение для животноводства.
2. Технические средства для создание оптимального микроклимата.
3. Воздухо - влаго - и теплообмен животноводческого помещения.
4. Вентиляционные сети. Основы расчета электровентиляторов.
5. Элементы расчета электрокалориферов.
ЛИТЕРАТУРА.
1. Белянчиков технологических процессов. - М.: Агропромиздат, 1989, Раздел 2, Глава 6.
1. Понятие о микроклимате и его значение
для животноводства.
По современным воззрениям, успех животноводства определятся на 60% кормлением, на 20 % разведением и возрастом животных и на 20 % микроклиматом и условиями содержания (Рис.17.1.).
| |
Рис.17.1. Факторы, определяющие эффективность животноводства. |
От животных при самых лучших условиях кормления невозможно добиться наилучшей продуктивности, если условия микроклимата небезупречны в течение всего года.
С другой стороны, оптимальные условия микроклимата сами по себе еще не могут считаться предпосылками высокой продуктивности, если этого не позволяет уровень кормления и качество животных.
Параметры микроклимата в сильной мере влияют на срок службы зданий и оборудования, на условия труда обслуживающего персонала. Срок службы электродвигателей, пускозащитной аппаратуры в животноводческих помещениях составляет всего 1-2 года.
Под микроклиматом понимают совокупность физических свойств и химического состава воздушной среды помещений, в особенности температуру, влажность, содержание вредных газов, а также содержание микроорганизмов и частиц пыли. Кроме того, сюда относят движение воздуха (его направление и скорость), освещенность в помещении, тишину.
Факторы, влияющие на формирование микроклимата.
В процессе жизнедеятельности животных и в результате их обслуживания в воздух помещения выделяются пары воды, газа, пыль и микроорганизмы.
Количество поступающих в воздух указанных компонентов зависит от вида и возраста животных, плотности их размещения, температуры воздуха, его влажности, скорости и направления движения, а также от способов удаление навоза, кормораздачи и типа кормления.
Микроклимат определяется физиологическими, метеорологическими, техническими и технологическими факторами.
Физиологические факторы.
1. Требования животных к параметрам микроклимата (температуре, влажности и скорости движения воздуха, содержания вредных газов, освещенности, тишине).
2. Количество теплоты, влаги и газов, отдаваемые (выделяемые) непосредственно животными.
Метеорологические факторы.
1. Условия наружного климата, влияющие на микроклимат через ограждающие конструкции и систему вентиляции:
а) интенсивность солнечной радиации;
б) количество облачных и солнечных дней в году;
в) движение воздушных масс;
г) температура летних и зимних месяцев;
д) влажность воздуха;
е) почвенные условия и др.
Технические факторы.
1. Конструкция здания (размеры, форма, отделка помещения, теплоизоляция). Огромную роль играет конструкция пола (свиньи в течении суток лежат 70 – 90 % времени, коровы – до 50 % времени).
2. Вентиляция.
3. Отопление.
4. Освещение.
Технологические факторы.
1. Способ содержания животных.
2. Технология раздачи кормов.
3. Система навозоудаления.
Способ содержания животных.
беспривязный способ содержания крупного рогатого скота с их свободным выходом из помещений приводит к понижению температуры (это ведет к повышению затрат кормов). Так на производство 1 кг молока расход кормов увеличивается на 10 – 30 % по сравнению с закрытыми помещениями.
В США проводили исследования на откорме крупного рогатого скота в закрытых помещениях и открытых площадках. При содержании в помещении период откорма сокращен на 35 дней, среднесуточный прирост массы на 100 гр выше, расход кормов на 1 ц прироста массы ниже на 110 кг.
Тип кормления.
При сухом кормлении в помещение меньше вносится влаги с кормом. Однако животные чаще пьют воду, что приводит к повышению влажности.
Система навозоудаления.
При напольных способах удаления навоза увеличивается площадь испарения влаги и выделения вредных газов.
При канальных способах – площадь испарения уменьшается, однако влага и газы накапливаются в локальных участках здания.
влияние на продуктивность животных основных физиологических факторов.
Температура воздуха – оказывает наибольшее влияние на продуктивность сельскохозяйственных животных и использование ими корма. Ею определяется и влияние других факторов (скорости движения воздуха, влажности и др.).
Под оптимальной температурой понимают температуру, при которой животные имеют наивысшую продуктивность при наименьшем расходе корма (Рис.17.2.).
|
Рис. 17.2. Влияние температуры окружающей среды на удои в % к нормальной продуктивности (1) и на расход условного корма (2). |
Оптимальная температура для молочных коров
, а минимально допустимая
. Верхняя граница оптимальной температуры считается +25 0С.
На рисунках 17.3. и 17.4. показано влияние температуры воздуха на изменение массы у откармливаемых свиней и на яйценоскость кур. Оптимальные значения температуры, влажности и содержания углекислого газа представлены в таблице 17.1.
| |
Рис.17.3. Влияние температуры на изменение массы у откармливаемых свиней. | Рис.17.4. Влияние температуры воздуха на яйценоскость кур. |
Таблица 17.1. – Оптимальные значения температуры, влажности и содержания углекислого газа для различных видов животных.
Вид животных | Температура, 0С | Влажность, % | СО2, г/м3 |
Крупный рогатый скот | 6-25 | 70-85 | 2,5 |
Свиньи | 12-16 | 70-75 | 2,5 |
Птицы | 10-20 | 60-70 | 2,0 |
овцы | 8-15 | 80 | 3,0 |
2. Технические средства для создания оптимального
микроклимата.
Все технические средства для создания оптимального микроклимата делятся на 3 большие группы:
1. Устройства, обеспечивающие воздухообмен и освещение.
2. Устройства, обеспечивающие обработку воздуха.
3. Средства создания локального микроклимата.
|
Рис.17.5. Схема вентиляционной установки: 1-электродвигатель; 2-вентилятор; 3-заслонка; 4-воздуховод; 5-отвод. |
К устройствам, обеспечивающим воздухообмен, относятся вентиляционные установки, которые состоят из вентилятора с электродвигателем и вентиляционной сети, состоящей из систем воздуховодов и приспособлений для забора и выпуска воздуха и регулирования производительности.
Принципиальная схема вентиляционной установки показана на рисунке 17.5.
У систем с принудительным побудителем основным узлом является вентилятор.
По конструкции и принципу действия вентиляторы делятся на осевые (рабочим органом является лопасть) и центробежные (рабочим органом является колесо) (Рис.17.6.).
Вентиляторы бывают низкого (до 1 кПа), среднего (до 3 кПа) и высокого давления (> 3 кПа).
|
Рис.17.6. Схемы электровентиляторов: а – осевой; б – центробежный. |
Номер вентилятора показывает диаметр рабочего органа в дециметрах (№4–d = 400 мм).
Осевые вентиляторы обеспечивают более низкое давление, поэтому их используют при коротких трубопроводах.
Устройства, обеспечивающие обработку воздуха:
а) нагрев воздуха (теплогенераторы, воздушно-отопительные агрегаты на воде и паре, калориферы);
б) охлаждение воздуха (установки для мокрого и сухого охлаждения воздуха, вихревые трубы);
в) кондиционирование воздуха (кондиционеры);
г) очистку воздуха (воздухоочистители).
Теплогенераторы используются для воздушного отопления животноводческих помещений. Бывают на твердом (К-11М) и жидком топливе (ТГ–75А, ТГ–150А). Принципиальная схема теплогенератора показана на рисунке 17.7.

Рис.17.7. Схема теплогенератора:
1-камера сгорания; 2-электровентилятор; 3-водонагреватель.
Кроме нагрева воздуха теплогенератор обеспечивает подогрев 200 л/ч воды на 50 0С.
Станцией управления предусмотрена высокая степень автоматизации режимов работы теплогенератора.
1. Автоматическое включение в следующем порядке:
- продувка камеры сгорания в течение 10 – 15 с;
- подача топлива в форсунку;
- подача искры;
- включение электрического двигателя вентилятора после прогрева камеры сгорания до температуры 35 – 40 0С.
2. Автоматическое включение и отключение на рабочем режиме в зависимости от сигнала датчика температуры, установленного в обогреваемом помещение. Пределы регулирования от 5 до 35 0С.
3. Автоматическое отключение в случаях перегрева, при не зажигании факела в течение 20 – 25 секунд с момента подачи команды на включение, при срыве факела, а также при отказе отдельных элементов схемы.
Отключение теплогенератора осуществляется в такой последовательности: сначала прекращается подача топлива и воздуха на горение, а затем после остывания камеры сгорания до температуры 25 – 30 0С отключается вентилятор.
Калориферы бывают: водяные, паровые, электрические.
Наиболее высоким к. п.д. обладают электрические колориферы. Они позволяют осуществлять полную автоматизацию управления.
Широко используются калориферы типа СФОА мощностью от 16 до 100 кВт.
Устройства для очистки воздуха от пыли.
«Пыль» - система из мельчайших частиц твердого или жидкого вещества с размерами от 0,1 до 0,0001 мм.
Сюда относятся, пылеосадочные камеры, циклоны, инерционные пылеуловители, матерчатые и слоистые фильтры, электрофильтры.
Циклоны: СИОТ; ЛИОТ; НИИОГАЗ; ВЦНИИОТ. Эффективность пылеулавливания циклона – 85 %. Электрофильтры – основаны на электростатическом осаждении частиц. Степень очистки – 98 %.
Охладители воздуха.
Существует два способа охлаждения воздуха: мокрый и сухой.
Мокрый способ основан на непосредственном контакте воздуха с водой (осуществляется в оросительных камерах). Здесь нужна холодная вода с температурой 5-10 0С. Такой процесс изменения состояния воздуха называется политропическим.
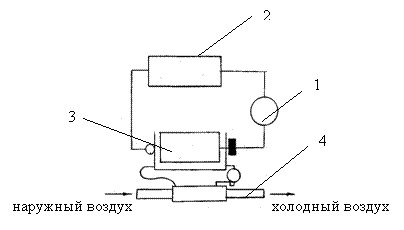
При сухом способе – воздух пропускают через воздухоохладители (по принципу калориферов), через которые прокачивают холодную воду (Рис.17.8.).
|
Рис.17.8. Принципиальная схема воздухоохладителя: 1-компрессор; 2-конденсатор; 3-испаритель; 4- теплообменник. |
Кондиционирование воздуха применяется для создания и поддержания в помещении искусствен - ного микроклимата, т. е. заданной температуры, влажности и чистоты воздуха.
В данных установках воздух нагревается, охлаждается, увлажняется и осушивается. Кроме того, воздух подвергается озонированию и ионизации.
Общая схема кондиционера показана на рисунке 17.9..

Рис.17.9. Схема кондиционера:
1 - решетка; 2 - фильтр; 3 - подводящий воздуховод; 4 - калорифер первого подогрева; 5 - оросительная камера; 6 - каплеотделитель; 7 - калорифер второго подогрева; 8 - вентилятор.
В зимнее время воздух забирается частично снаружи через решетку 1 и фильтр 2 и частично из помещения через воздуховод 3.
Средства создания локального микроклимата.
К ним относятся:
1. Электрические брудеры Б-4, БП-1А;
2. Лампы инфракрасного излучения ИКО–2, ИКО–4 (светлые), ИКУФ–1 (темные);
3. Электрообогреваемые полы и коврики;
4. Газовые горелки инфракрасного излучения.
Электрообогреваемые полы особенно большой эффект дают при выращивании поросят и цыплят. Опыт показывает, что при использование электрообогреваемых полов падеж поросят уменьшается на 20 %, а их среднесуточный привес увеличивается на 17,8 %.
Применяются два типа обогреваемых полов:
1 -полы с нагревательными элементами, заложенными в их массив;
2 -полы с нагревательными элементами, уложенными на их поверхности (коврики, плиты).
В качестве нагревательного элемента используют провод ПОСХВ, ПОСХП, ПОСХВТ.
В настоящее время промышленность выпускает вентиляционные системы «Агровент», предназначенные для создания и автоматического поддержания оптимального температурно-влажностного режима воздуха в коровниках на 30…50 голов. Расположение установки в помещении показано на рисунке 17.10, а ее схема – на рисунке 17.11.
|
Рис.17.10. Расположение вентиляционной установки «Агровент» в помещении: / - станция управления; 2 - вентиляционная установка; 3 - приточная шахта; 4 - вытяжной вентилятор; 5 - стена помещения. |
|
Рис.17.11. . Функциональная схема установки «Агровент»: 1 - приточный теплообменник; 2 - приточный вентилятор; 3 - рециркуляционная заслонка; 4 - заслонка обводного канала; 5 - вытяжной теплообменник; 6 - насос циркуляционного контура; 7 - электромагнитный клапан; 8 - вытяжной вентилятор. |
|
Рис. 17.12. Схема системы обеспечения динамического микроклимата: 1 - приточный вентилятор; 2 - электрокалорифер; 3 - воздушный дроссельный клапан; 4 - узел порционной подачи воздуха; 5 - воздуховоды равномерной раздачи; 6 и 8 - датчики внутренней и наружной температуры; 7 - щит управления |
Также разработана и выпускается система динамического микроклимата (Рис.17.12.). Предназначена для помещений с содержанием до 100 голов телят молочного возраста до шести недель.
Динамический микроклимат поддерживается за счет периодической подачи порций свежего воздуха непосредственно в зону нахождения телят.
3. Воздухо - влаго и теплообмен в животноводческих помещениях.
За основу расчетов вентиляции приняты физиологические нормативы оптимальных температур, относительной влажности воздуха и предельно-допустимого содержания углекислого газа. Полученный наибольший показатель величины воздухообмена принимают за основу расчета вентиляционных систем.
Уравнение теплового баланса для расчета воздухообмена по оптимальной температуре:
,
где
- количество теплоты, выделяемое животными, кДж;
- количество животных;
- количество теплоты, выделяемое одним животным в час, кДж/ч;
- потери теплоты помещением через наружные ограждения, кДж;
- потери теплоты на вентиляцию, кДж;
- потери теплоты на испарение влаги в помещении.
Количество теплоты, теряемой через наружные ограждения:
,
где
- площадь ограждающих конструкций здания, м2;
- суммарный коэффициент теплопередачи (
3,36 кДж/м2·ч·0С).
Потери теплоты на вентиляцию:
,
где
- расчетный воздухообмен, м3/ч;
- весовая теплоемкость воздуха (
1,008 кДж/кг. 0С );
![]()
- объемная масса воздуха (
=1,29 кг/м3);
Потери теплоты на испарение влаги:
.
Тогда:
.
Отсюда:

Количество теплоты, требуемое на обогрев помещения:
.
Воздухообмен по предельно допустимой влажности воздуха (м3/ч):
,
где
- количество влаги, выделяемое животными, г/ч;
- количество влаги, испаряемое с пола, г/ч
(
);
- содержание влаги в свежем воздухе, г/м3;
- предельно допустимое значение абсолютной влажности воздуха, г/м3, при которой относительная влажность не превышает допустимой нормы.
Воздухообмен по предельному содержанию СО2 (м3/ч):

где
- количество СО2, выделяемое одним животным, л/ч;
- допустимое содержание СО2 в помещении, л/м3;
- содержание СО2 в чистом воздухе (
= 0,3 – 0,4 л/м3 ).
Определив часовую величину воздухообмена и зная внутренний объем помещения, определяют кратность воздухообмена в час:

При К
3 – назначают вентиляцию с естественным побудителем; при К = 3
5 – с искусственным побуждением воздуха; при К > 5 – с искусственным побуждением подогретого воздуха.
Требуемый воздухообмен в животноводческом помещении обеспечивается системой вентиляции, в общем случае к которой предъявляются следующие требования:
1. Обеспечивать расчетный воздухообмен.
2. Автоматически изменять параметры микроклимата в помещении.
3. Равномерно распределять свежий воздух по всему объему помещения.
4. Не превышать нормативной скорости движения воздуха.
Классификация систем вентиляции:
а) по принципу действия:
- с естественным побудителем (естественная вентиляция);
- с механическим побудителем ( принудительная или искусственная);
- комбинированного действия.
б) по назначению:
- приточная (нагнетает воздух);
- вытяжная (отсасывает воздух);
- комбинированная (приточно-вытяжная).
4. Вентиляционные сети. Основы расчета
электровентиляторов.
Исходными данными для выбора вентилятора служат: требуемая подача L и развиваемое давление (напор) Н.
Требуемая подача вентилятора:
,
где
- расчетный воздухообмен, м3/ч;
- коэффициент, учитывающий потери или подсос воздуха в воздуховоде (К = 1,1 – 1,5).
Общие потери напора
Н складываются из потерь на трение воздуха о стенки воздуховода НТ и потерь от местных сопротивлений НМ:
.
; ![]()
где
- суммарный коэффициент сопротивления движения воздуха;
l и D - соответственно, длина и диаметр воздуховода, м;
- скорость движения воздуха, м/с.
Давление вентилятора должно быть больше или равно
Н.
|
Рис.17.13. Характеристика вентиляционной сети. |
Следует помнить, что производительность вентилятора обуславливается гидравлическим сопротивлением сети воздуховодов, т. е. характеристикой сети. Один и тот же вентилятор при n=const обладатет различной производительностью, в зависимости от сопротивления сети.
Характеристика сети выражает зависимость между расходом воздуха в сети L и потерями напора в нем
Н (Рис.17.13.).
Здесь зависимость
.
Существует 2 способа регулирования производительности вентиляторов (Рис.17.14.).
| |
а) | б) |
Рис.17.14. Способы регулирования подачи вентилятора: а – изменением характеристики сети; б – изменением характеристики вентилятора. | |
1-характеристика вентилятора; 2-характеристика сети при полностью открытом воздуховоде; 3-характеристика сети с задросселированным воздуховодом | 1-характеристика вентилятора при n = max; 2-характеристика вентилятора при n = min . 3.- характеристика сети. |
Мощность электрического двигателя на привод вентилятора (Вт):
,
где
- коэффициент запаса мощности двигателя (
=1,1 - для осевых вентиляторов,
=1,2–1,5 - для центробежных вентиляторов);
- к. п.д. вентилятора;
- к. п.д. передачи (
=1 -если рабочий орган вентилятора насажен на вал двигателя,
=0,98 - если валы соединены муфтой,
=0,95 - клиноременная передача).
Для любого вентилятора подача (L), развиваемый напор (H) и потребляемая мощность (N) зависят от частоты вращения рабочего органа (n). Если (n2>n1) то :
|
Рис.17.15. механическая характеристика. |

Механическая характеристика вентиляторов приведена на рисунке 17.15.
Требуемый диаметр воздуховода определяется исходя из подачи и допустимой скорости движения воздуха в сети:
.
|
Из за большого объема этот материал размещен на нескольких страницах:
1 2 3 4 5 6 7 8 9 10 11 12 13 14 15 16 17 18 19 |















