Воздуховоды и фасонные элементы из оцинкованной, черной и нержавеющей стали
Цены от производителя
8(495)
Стальные из оцинкованной листовой стали систем вентиляции и кондиционирования

Состоят из типовых элементов круглого или прямоугольного сечения. Элементы состоят из прямых участков и фассонных элементов (отводы, переходы, тройники, крестовины, зонты, адаптеры, боксы). Фассанина стоит значительно дороже прямиков если сравнивать стоимость изделия за м2. Возможно изготовить любой воздуховод в пределах возможного, например овальный или треугольный. Нетиповые элементы стоят дороже, т. к. под них необходимо рассчитывать и создавать индивидуальные выкройки.
Типовые элементы по размерам делятся:
- круглого сечения: d100мм, 125, 150, 160, 200, 250, 300, 315, 400, 450, 500, 550, 600, 630, 700, 800, 900, 1000 и более;
- прямоугольного сечения: 100х100мм, с шагом 50мм до воздуховодов со стороной 400мм, с шагом 100мм до воздуховодов со стороной 1000мм.
В ассортименте: воздуховоды прямые, отводы 90°, 45°, 1200, заглушки, врезки, нипели, переходы, тройники, зонты крышные, дефлекторы и другая продукция.


Типовые круглые и прямоугольные (возможно изготовление нетиповых, например треугольных). Зависят от типа соединения воздуховодов, толщины и типа стали. Производятся из оцинкованной, черной, нержавеющей стали, меди или из материалов заказчика при возможности их технологической обработки.

Прямой участок воздуховода круглого сечения

Прямой участок воздуховода прямоугольного сечения

Отводы
Предназначены для поворотов. Выполняются в зависимости от угла поворота: 900 (типовые отводы), 600, 450 (полуотводы), 300, 150.
Круглые отводы






Прямоугольные отводы
C помощью отводов можно повернуть систему воздуховодв на любой угол.

Отвод 900 Отвод 450

Размер боковой (поворотной) стороны А записывается первым. Размер затылочной (гнущейся) стороны В записывается вторым. По умолчанию значение R=100мм.
По периметру стыков установлены соединительные фланцы.
Другие варианты соединений элементов между собой указывать в бланке-заказа.
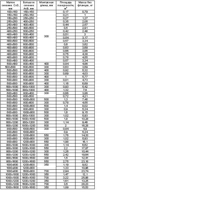
Переходы
Предназначены для соединения круглых и прямоугольных воздуховодов различного сечения, при переменном сечении системы.
Переходы с круга на круг (прямой и односторонний):

Переход с круглого на прямоугольное сечение:
Предназначен для соединения одной части системы, состоящей из воздуховодов круглого сечения с другой частью системы, состоящей из воздуховодов прямоугольного сечения, при переменном сечении системы. Со стороны прямоугольного сечения – фланец или под рейку, со стороны круглого сечения – соединение под ниппель. Для центральных переходов указание типа не обязательно. По вашему желанию возможно изготовление переходов нестандартной длины.



Переход с прямоугольного на прямоугольное сечение
Предназначен для соединения частей систем, состоящих из воздуховодов прямоугольного сечения, при переменном сечении системы. Со стороны прямоугольного сечения соединение фланец или под рейку.



Врезки
Для установки врезки в воздуховод в нем необходимо сделать отверстие, согласно размеру врезки. Врезка крепится механически к воздуховоду с помощью саморезов или на точечной сварке. Перед установкой между врезкой и воздуховодом необходимо нанести слой силиконового уплотнения.
Врезка прямая круглый-круглый

Врезка воротниковая круглый-круглый

Врезка прямая прямоугольный-прямоугольный


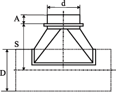
Тройник
Предназначены для разветвления систем воздуховодов. Существуют прямые, штанообразные прямые, штанообразные под 450, 300.
Круглый тройник типовой Т-образный 900

Круглый штанообразный тройник
Тройник типовой прямоугольный Т-образный 900 (прямой) с врезками под 900:

Тройник Т-образный 900 (прямой) с плавными врезками:

Обращаем Ваше внимание, что использование такого тройника с закругленными, плавными врезками (не типовой элемент) позволяет отказаться от дополнительных переходов с сечения на сечение, необходимых при обычном тройнике, а также улучшает гидравлические и акустические параметры сети.
Размер сечения ствола (АхВ) или диаметр D записывается первым (например 200×400).
Размер стороны А, в которую производится врезка, записывается первым (200).
Размер сечения врезки (СхD) или диаметр d записывается вторым (200×150).
Размер стороны врезки С, параллельной оси воздуховода, записывается первым (200).
Кресовина
Различных типов – плоские и объемные, с прямоугольными и круглыми врезками различных размеров.

Плоская крестовина со смещенными врезками круглого сечения:

Объемная кресовина со смещенными врезками круглого сечения:

Для стандартной детали Н2 = НЗ = 0.5d1 + 50мм
Если l > (d2+d3)/2 + 120мм, то рассмотрите возможность использования двух тройников.
Возможно любое соотношение размеров d1, d2, d3, L, l, H2, НЗ, с учетом технологических ограничений. Обязательно проконсультируйтесь при заказе. При заказе приложите эскиз.
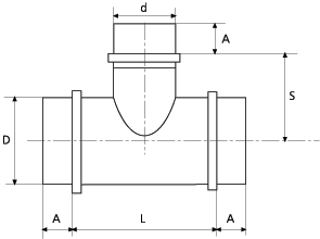
Крестовина прямоугольного сечения:


Размер сечения прямого участка (АхВ) записывается первым (200×400).
Размеры врезок (СхD, EхF) записываются вторыми (400×150). Размеры сторон врезок (C,E) параллельные оси воздуховода, записываются первыми (400).
Эскизы прямых участков с врезками, смещенными относительно оси воздуховода, или с разными сечениями врезок необходимо вычерчивать, в примечании делается пометка «см. эскиз».
По умолчанию длина врезок равна 100 мм.
Ниппель внутренний и наружный (муфта)
Ниппель – соединительный элемент круглых воздуховодов, ниппель внутренний крепиться внутрь воздуховода, а наружный (муфта) снаружи, механически, с помощью саморезов. Перед соединением необходимо нанести небольшое количество силиконового герметика.
Заглушка
Заглушка крепиться во внутреннюю часть воздуховода механически, с помощью саморезов. Перед установкой в воздуховод необходимо нанести на заглушку небольшое количество силиконового герметика.


Утка
Соотношение размеров – любое с учетом технологических ограничений.



Размер боковой (поворотной) стороны А записывается первым. Размер затылочной (гнущейся) стороны В записывается вторым. Обязательно проконсультируйтесь при заказе.
Зонт и флюгарка
Предназначен для защиты от атмосферных осадков, крепиться непосредственно на воздуховод. Нижняя часть круглого зонта оснащена ниппельным соединением.




Дефлектор ЦАГИ
Дефлектор (от лат. deflecto – отклоняю, отвожу) ЦАГИ (Центрального аэрогидродинамического института) устанавливают на вытяжных шахтах в системах естественной вентиляции для усиления тяги под действием ветра

Гибкие вставки
Для присоединения воздуховода с прямоугольным сечением к вентилятору используют прямоугольные гибкие вставки. Прямоугольные гибки вставки гасят вибрацию и предотвращают ее передачу в систему воздуховодов. По Вашему желанию, также может быть изменена и длина прямоугольной гибкой вставки.

Зонты вытяжные

Адаптеры для решеток и воздухораспределилителей

Нестандартные фасонные изделия
Мы имеем возможность изготовить изделия из листового металла любой сложности в пределах технической возможности.

Эскизы сложной конфигурации необходимо вычерчивать. В примечании сделайте пометку «см. эскиз».

Круглого сечения изделия дешевле из-за меньшей площади стали и незначительно эффективней в плане аэродинамики, ввиду меньших площадей поверхностей соприкосновения воздуха. Но круглые имеют большие габариты по сравнению с той же площадью живого сечения чем прямоугольные, в связи с чем особенно проигрывают в дизайне (потолки, фальшбалки).
Типы соединения воздуховодов
Дешевые соединения, ввиду изготовления соединительных элементов из той же листовой стали:
- для круглых "в стакан" не надо вообще соединительных элементов, но возникают сложности при монтаже т. к. необходимо "подгонять" диаметры друг к другу (или обозначить при заказе) ;
- для круглых "нипельное" (ниппеля как отдельные элементы соединители);
- для прямоугольных "реечное".
Дешевые соединения применимы для небольших размеров воздуховодов:
- прямоугольные со стороной не более 350мм включительно;
- круглые до d350мм включительно.
Дешевые соединения затем необходимо проклеить специальной клейкой лентой (часто называют алюминиевым скойтчем).
Фланцевые соединения герметичнее, т. к. фланцы соединены 4-мя болтовыми соединениями и между фланцами проклеивается уплотнительная лента.

С размером 400мм и выше необходимо выполнять в любом случае на фланце, т. к. под собственным весом сталь прогибаеться и воздуховод будет терять форму.
Для прямоугольных в советские времена применяли прокатный уголок, но теперь эффективней использовать готовый специализированную систему на базе стального профиля (еврофланец или щинорейка) и уголков с соединением фланцев на 4х болтовых соединениях и при участках шире 400мм скобой.



СИСТЕМА 20. При размере одной из сторон воздуховода 500 мм и меньше или полупериметре менее 1 000 мм используется профиль высотой 20 мм в комплекте с уголками 65 х 65 мм для малых сечений и 95 х 95 мм для средних сечений воздуховодов.
Перед сборкой системы вентиляции по периметру каждой рамки устанавливается уплотнительная лента, с клейким слоем с одной стороны.
Если система вентиляции не предусматривает в последующем ее разборку, возможно в место стыка рамок вместо уплотнительной ленты нанесение слоя герметика.
Прилегающие стороны элементов системы вентиляции соединяются между собой с помощью болтового соединения М8.
СИСТЕМА 30. При размерах сторон воздуховодов свыше 500 мм и полупериметре свыше 1 000 мм используется рейка высотой 30 мм в комплекте с уголками размером 102 х 102 мм.
Перед сборкой системы вентиляции по периметру каждой рамки устанавливается уплотнительная лента, с клейким слоем с одной стороны. Если система вентиляции не предусматривает в последующем ее разборку, возможно в место стыка рамок вместо уплотнительной ленты нанесение слоя герметика. Прилегающие стороны элементов системы вентиляции соединяются между собой с помощью болтового соединения М10.
Для создания дополнительной плотности прилегания рекомендуется устанавливать скобы с шагом 500 мм по каждой стороне стыка воздуховодов.

Порокатный уголок применяют теперь только при значительно больших размерах воздуховодов. Небольшие размеры выполняются из стали оцинкованной, листовой, толщиной 0,55мм. Воздуховоды размером 500мм и более необходимо выполнять из оцинкованной стали толщиной 0,7мм, более …… 0,8мм, более …. 1мм и т. д. Воздуховоды из нержавеющей стали рассмотрены в разделе дымоходы. Для круглых необходимы фланцы выполненные из прокатного уголка и окрашенные грунтовкой в разделе сварные воздуховоды.
Водосточные системы из листовой оцинкованной стали


Водостоки — это защита Вашего здания от сырости и затопления в сильные дожди. Так же водостоки защищают поверхность здания от разрушения, так как сырость с годами берет свое. Как правило, водостоки имеют два фасона: прямоугольный и полукруглый. Изготовление водостоков производится, как из нержавеющей, так и оцинкованной стали.
Самое главное в производстве водостоков — расчет толщины его производства, так как от этого зависит стойкость и износоустойчивость всей водосточной системы. Водостоки должны оказывать сопротивление любой массе воды и выдерживать напор течения воды, только такую водосточную систему можно назвать надежной. Водосточная система призвана осуществлять отвод больших масс соды с поверхности здания во внешние водоотводы и канализационные системы, предотвращая тем самым затопление поверхности земли и здания.

1. Заглушка желоба 2. Желоб водосточный 3. Угол желоба наружный 4. Желоб водосточный 5. Угол желоба внутренний 6. Воронка выпускная 7. Соединитель желобов 8. Держатель желоба 9. Колено трубы 10.Держатель трубы с лапками 11.Колено сливное 12.Труба водосточная 13.Держатель трубы штырь
Желоб и воронка

Воздуховоды из черной стали сварные на фланцах систем дымоудаления, аспирации и пневмотранспорта
Системы дымоудаления необходимы там, где при возникновении пожара могут образоваться высокие концентрации дыма, а также опасные для здоровья газообразные вещества. Система дымоудаления это специальная управляемая автоматическ
и либо вручную техническая система приточно-вытяжной вентиляции. Основная задача системы дымоудаления – обеспечения условий для безопасной эвакуации людей в случае возникновения пожара на объекте.
При пожаре серьезным повреждающим фактором является дым. Дымоудаление играет очень важную роль. Системы дымоудаления позволяют очистить большие пространства от дыма, пепла, мелких частиц.
Системы дымоудаления могут быть статическими и динамическими. При статической системе дымоудаления происходит отключение всех вентиляционных систем помещения, чтобы не дать дыму распространяться по вентиляционным шахтам в другие помещения. То есть отключается вся вентиляция, дымоудаление фактически не происходит, просто дым локализуется в одном помещении. При динамическом методе дымоудаление идет за счет вентиляторов, которые удаляют дым из помещения согласно плану. Если используется динамический метод, то вентилятор дымоудаления может работать попеременно для удаления и подачи воздуха. Либо будут задействованы сразу несколько вентиляторов, каждый из которых выполняет свою функцию. При дымоудалении может быть задействована как специальная система дымоудаления, так и общая, которая обычно служит как приточно-вытяжная вентиляция. Дымоудаление однако, лучше производить через отдельную систему.
При проектировании отдельной системы для дымоудаления используют отдельные воздуховоды дымоудаления и вентиляторы дымоудаления. Вентиляторы дымоудаления, воздуховоды дымоудаления немного отличаются от обычных тем, что способны работать длительное время, перекачивая продукты горения при высоких температурах. Зачастую для дымоудаления используют сварные воздуховоды для дымоудаления которым присвоен класс "П" плотные. Воздуховоды для дымоудаления из черной стали отлично выдерживают высокие температуры.
Воздуховоды металлические сварные круглого и прямоугольного сечения изготавливаются из тонколистовой стали толщиной
более 1 мм. Воздуховоды соответствуют требованиям ТУ и монтажных проектов, разработанных в соответствии со СНиП 2.04.05.-91, СНиП 3.05.01-85 и ведомственными строительными нормами ВСН 353-86.
Сеть воздуховодов необходимо компоновать из унифицированных деталей: прямых участков, переходов, отводов, тройников, крестовин и заглушек.
Толщина тонколистовой стали для изготовления воздуховодов указывается в проекте, при отсутствии указаний определяется
по условиям производства сварочных работ.
Воздуховоды изготавливаются на фланцевом соединении.
Наружные и внутренние поверхности воздуховодов покрыты грунтовкой ГФ-021. Класс покрытия – УП по ГОСТ 9.032-74.
Основные элементы:
Прямой участок

Переход с круглого на прямоугольное сечение

Отвод под 900

Фланцы

Воздуховоды из панелей изолированные
![]()
Воздуховоды с теплоизолирующим наполнителем с двусторонним алюминиевым фольгированием из материала импортного производства. Круглые и прямоугольные, последние в исполнении обычном и с антибактериальной защитой.
Воздуховоды с двусторонним фольгированием идеально подходят для установки как внутри помещений, так и снаружи зданий. Жесткая и необычайно легкая (большинство фрагментов легко устанавливают два человека ) система воздуховодов является высокопроизводительной и энергосберегающей, а также обладает при этом прекрасными гигиеническими и противопожарными характеристиками. Панели, изготовленные с применением инновационного технологического процесса, представлены широким ассортиментом толщин и различными характеристиками алюминия, с целью удовлетворить любые проектные требования:
- толщина панели 0,8-30мм плотность уплотнителя 65кг/м3 толщина алюминиевого покрытия 80/200/500 микрон рифленая или гладкая поверхность алюминиевого покрытия максимальное рабочее давление Па максимальная скорость потока 30м/с диапазон температур от -25 до +700С
Черезвычайно легкие, по сравнению со стальными. Круглые размером 200, 300, 400, 500мм
![]()
Различная цветовая гамма
![]()
Воздуховоды с антибактериальной защитой
Данный вид вентиляционного трубопровода разрешает проблемы, которые касаются дизайна, гигиены, вентиляции и сохранения тепла в медицинских учреждениях. Воздуховоды состоят из жесткой пенополиуретановой пены с замкнутыми ячейками, различной толщины покрытой с одной стороны алюминиевой фольгой, а с другой запатентованным покрытием. Принцип покрытия в постепенном и постоянном высвобождении серебряных ионов. Эти ионы разрушают клеточную систему микроб и бактерий, препятствуя их дыханию и останавливая их репродуктивность путем подавления рибонуклеиновой кислоты.
Эффективен в борьбе со следующими бактериями:
Bacillus cereus, bacillus thuringiensis, mycobacterium tuberculosis, legionella pneumophila, Escherichia coli, Klebsiella pneumonia, Salmonella gallinarum, Salmonella typhimurium, Phorphyromonas gingivalis, Staphylococcus aureus, Staphylococcus epidermidis, streptococcus faecalis, Streptococcus agalactiae, Streptococcus mutans, Pseudomonas aeruginosa, Proteus species, Vibrio parahaemolyticus, Enterobacter aerogenes, Enterobacter sakazakii, Listeria monocytogenes, Campylobacter jejuni.
Грибы и плесень:
Stachybotrys, Aspergillus niger, Candida albicans, Penicilliu, funiculosum, Saccharomyces cerevisiae, Trichophyton malmsten, Chaetomium globosum, Aureobasidium pullulans, Gliocladium virens.Дороже оцинкованных, но значительно легче и эстетичнее. Обычно воздуховоды изолируются фольгированной минватой, которая сравнительно неравномерно распределяется по поверхности. Тут воздуховоды идеально гладкие.
Вирусы:
Атипичная пневмония SARS, вирус Norwalk, H5N1 птичий грипп.
![]()
Гибкие воздуховоды
В основном применяются круглые, очень редко квадратные или овальные. Круглые выполнены из: ПВХ, алюминий, сталь оцинкованная, сталь нержавеющая. В системах вентиляции в основном применяются воздуховоды из ПВХ, они и самые дешевые. Круглые с размерами: d100, 125, 150, 200, 250, 300, 315, 400, 450, 500. До d315 включительно обычно присутствуют на складе.
Гибкие представлены изолированные для приточных систем и кондиционирования и неизолированные:
Изолированные состоят из трех слоев – внутренний из ПВХ, теплоизоляция, наружный из ПВХ фольгированное.
Неизолированные – фольгированное ПВХ. Изоляция обычно толщиной 30мм, гибкие воздуховоды имеют шумопоглащающие свойства.

Часто монтажники для экономии из гибких выполняют всю систему вентиляции (хотя оплачено за стальные), что обоснованно только существенным занижением скорости потока воздуха, это приводит к увеличению диаметра. Монтаж необходимо выполнять со специальными комплектами натяжения на базе тросов, чего у нас редко не встретишь. Отечественные монтажники вешают их как сопли и воздуховоды провисают, складываются в местах в гармошку, что создает большие потери давления, а значит уменьшает количество воздуха. Правильная система вентиляции с применением гибких – магистрали из стальных воздуховодов, а только ответвления в местах подключения воздухораспределителей возможны на гибких, для инсталяции например к подвесному потолку типа "Армстронг".

На гибкие воздуховоды опытный проектант всегда даст поправку на уменьшение скорости "на монтаж", т. к. чем выше скорость тем выше потери давления системы. Крайне негативно на работу систем вентиляции влияют складки при монтаже, воздуховод должен быть натянут (а – не натянут, большие потери давления; б – натянут).

Соединение между собой гибких воздуховодов с помощью ниппельного соединения, переходы, адаптеры, тройники, крестовины, врезки из оцинкованной стали. При наличии большого кол-ва фасонных элементов проще выполнить всю систему а базе оцинкованных воздуховодов.
Монтаж- внутренний рукав гибкого воздуховода должен находиться в полностью растянутом состоянии, для устранения изгибов и потерь давления, излишки воздуховода следует обрезать; не рекомендуется создавать запас длины воздуховода с расчетом на последующий ремонт помещения и переделку; кронштейны подвески должны иметь достаточную ширину, чтобы не вызывать изменение наружного диаметра жакета (оболочки воздуховода); при прохождении через стеновые конструкции обязательно использование металлических гильз или переходников, что гарантирует сохранность воздуховода при монтаже.
- воздуховод должен быть полностью растянут; нужно отмерить необходимую длину и нанести метку мягким маркером; резать воздуховод следует прямо по витку острым ножом или специальным инструментом; спиральную часть нужно обрезать кусачками или бокорезами.
- соединение гибких воздуховодов производится с помощью 100 мм муфты/ниппеля, мастики или самоклеющейся алюминиевой ленты; соединение может фиксироваться металлической или нейлоновой стяжкой; полужесткие воздуховоды должны присоединяться к фланцам при помощи шурупов (не менее 3-х шурупов для диаметров воздуховодов до 8 дюймов и более 5 шурупов для больших диаметров, шурупы должны располагаться не ближе 12 мм от края воздуховода); минимальная длина "захода" воздуховода на патрубок составляет 50 мм; необходимо убедиться в совместимости материалов клея (мастики) и воздуховода герметичность соединений должна быть проверена при приемке системы.
- радиус изгиба воздуховода при повороте должен превышать диаметр воздуховода; провисание воздуховода между точками подвеса не должно превышать 50 мм/м; расстояние между двумя точками подвески составляет, в зависимости от типа воздуховода, от 1 до 3 метров; в случае вертикальной подвески воздуховода, допустимое расстояние между стабилизирующими крепежными хомутами – от 1 до 1,8 м.
Ограничение на использование гибких воздуховодов.
Ограничения на применение гибких воздуховодов обусловлены, в большинстве случаев, различиями в национальных и отраслевых стандартах и нормах. В числе прочих общих ограничений на использование гибких воздуховодов можно назвать следующие:
|
Из за большого объема этот материал размещен на нескольких страницах:
1 2 3 4 5 6 7 8 |





