Деформация растяжения-сжатия
Цель работы: исследование деформации растяжения-сжатия при расчётах стержней на прочность
Задание
Выполните расчёт стержня на растяжение-сжатие по условию прочности
Инструктивная карта
1.Методические указания
При решении задач для исследования деформации растяжения-сжатия необходимо составить расчётную схему, изобразить на ней все внешние силы и реакции связей. При необходимости для полученной уравновешенной системы сил составить уравнения равновесия и определить реакции связей.
При определении внутренних силовых факторов воспользоваться методом сечений.
Если на каких-либо участках условие прочность не обеспечивается, обязательно для этих участков выполнить проектировочный расчёт.
При подстановке в формулы числовых значений физических величин обратить особое внимание на их размерность.
Исходные данные принять по таблице 1 и рис. 1. Номера вариантов указывает преподаватель.
Оборудование:
Вычислительная техника
2.Карта допуска
Выполните тест
Вопросы | Ответы | Код |
1.Выберите соответствующую эпюру продольных сил в поперечных сечениях бруса
| А | 1 |
Б | 2 | |
В | 3 | |
Г | 4 | |
2.Для бруса из вопроса 1 определить наибольшую продольную силу, возникшую в поперечном сечении | 190 кН | 1 |
50 кН | 2 | |
85 кН | 3 | |
35 кН | 4 | |
3.Определить нормальное напряжение в сечении С-С бруса из вопроса 1 | 70 МПа | 1 |
0 МПа | 2 | |
-85 МПа | 3 | |
-50 МПа | 4 | |
4.Определите коэффициент запаса прочности в сечении С-С бруса, если механические характеристики материала имеют следующие значения: | 3,3 | 1 |
6,6 | 2 | |
4 | 3 | |
8 | 4 | |
5. Стальной стержень длиной 4 м нагружен силой 360 кН, форма поперечного сечения стержня – швеллер № 8. Определите удлинение стержня, если модуль продольной упругости равен 2·105 Мпа. | Среди данных ответов верного нет | |
0,07 мм | ||
0,2 мм | ||
8 мм |
Алгоритм решения задачи
1. Изобразить расчётную схему в соответствии с исходными данными.
2. Разбить стержень на участки. Построить эпюру продольных сил N.
3.Построить эпюру нормальных напряжений у, используя соотношение ![]()
![]()
4.Для каждого участка проверить условие прочности ![]()
.
5. Определив значение продольной силы в сечениях стержня, вычислить удлинение каждого участка по закону Гука![]()
![]()
6. Определить полное удлинение стержня![]()
![]()
7. Сделать вывод о механическом состоянии стержня.
Условие задачи
Для стального (
МПа) ступенчатого стержня определите продольные силы N и нормальные напряжения у на каждом участке; построить эпюры N и у; проверить прочность на участках стержня, если допускаемые напряжения
МПа, ![]()
; определить удлинение стержня.
Таблица 1
№ варианта | F1 | F2 | F3 | A1 | A2 |
кН | кН | кН | cм2 | cм2 | |
1 | 40 | 10 | 30 | 1,5 | 2 |
2 | 38 | 12 | 28 | 2,5 | 2 |
3 | 36 | 14 | 26 | 1,5 | 2 |
4 | 34 | 16 | 24 | 1,5 | 2,5 |
5 | 32 | 18 | 22 | 2 | 2,5 |
6 | 30 | 20 | 20 | 2,5 | 2 |
7 | 28 | 18 | 18 | 2 | 1,5 |
8 | 26 | 16 | 16 | 2 | 2,5 |
9 | 24 | 14 | 14 | 2,5 | 2 |
10 | 22 | 12 | 12 | 2 | 1 |
11 | 20 | 10 | 10 | 1,5 | 2 |
12 | 18 | 40 | 40 | 2,5 | 1,5 |
13 | 16 | 28 | 38 | 2 | 2,5 |
14 | 14 | 36 | 36 | 1 | 1,5 |
15 | 12 | 34 | 34 | 1,5 | 2 |

Пример
Для заданного стержня построить эпюру продольных сил и нормальных напряжений, определить удлинение стержня, если 

Решение

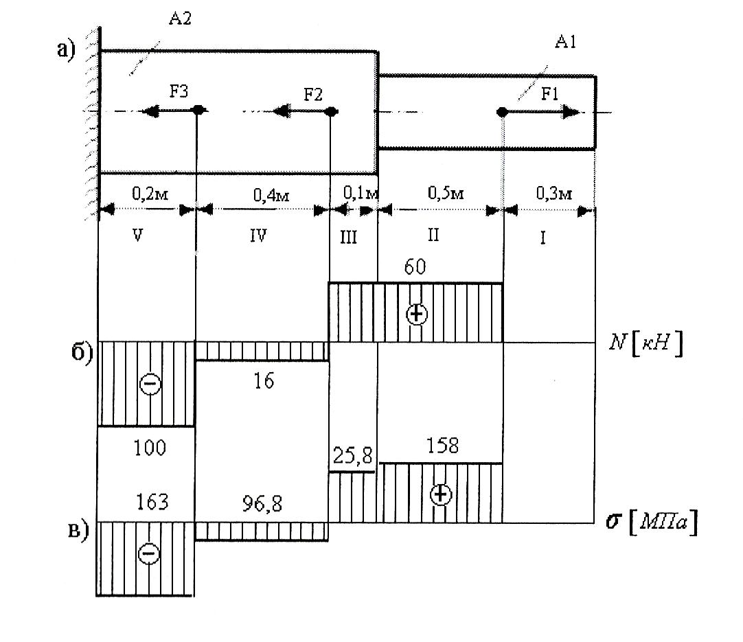
Рис. 2
1. Разбить стержень на участки. Для каждого участка, используя метод сечений, определить продольную силу:
Участок I
![]()
Участок II
![]()
Участок III
![]()
Участок IV
![]()
Участок V
![]()
По полученным результатам построить эпюру продольных сил N (Рис. 2, б)
2. Определив значение продольной силы для каждого участка вычислить нормальные напряжения
Участок I: ![]()
![]()
Участок II

Участок III

Участок IV

Участок V

По полученным результатам построить эпюру у (Рис. 2, в)
3. Опасными являются сечения на участке V, так как в этих сечениях возникает максимальное нормальное напряжение![]()
. Условие прочности на этом участке не выполняется, ![]()
. Определить перегрузку участка

Значит, прочность заданного стержня обеспечена.
4. Определив значение нормальных напряжений в сечениях стержня, вычислить удлинение каждого участка по закону Гука
Участок I
![]()
Участок II
![]()
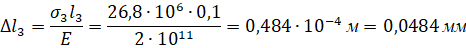
Участок III
![]()
Участок IV
![]()
Участок IV
![]()
5.Определить полное удлинение стержня
|
Из за большого объема этот материал размещен на нескольких страницах:
1 2 3 4 5 6 7 8 9 |




