При проведении испытаний должны быть приняты все меры по обеспечению безопасности персонала, находящегося на испытуемом автомобиле или вблизи него, и сохранности самого автомобиля. Для этой цели непосредственно перед испытаниями, проводимыми при движении автомобиля с высокой скоростью или связанными с повышенными нагрузками на ходовую часть и механизмы управления, автомобиль подвергают тщательному техническому осмотру с проверкой работы его механизмов (в том числе с применением соответствующего диагностического оборудования, стендов и приборов).
Водители-испытатели должны иметь опыт езды с высокими скоростями и в сложных дорожных условиях, а перед проведением конкретного испытания должны обязательно пройти соответствующий инструктаж на рабочем месте.
На испытуемом автомобиле могут находиться только водитель и контролер-испытатель. Они должны иметь шлемы и должны быть закреплены ремнями безопасности.
На испытания, связанные с повышенной опасностью, нужно оформлять разрешения (наряд-допуск) в установленном порядке с обязательным указанием ответственного за данные испытания лица.
В необходимых случаях (например, при проведении испытаний на управляемость, устойчивость, пассивную безопасность, торможение при движении с высокими скоростями и т. п.) на месте испытаний должны находиться пожарный автомобиль с командой, медицинский автомобиль с персоналом, представитель службы безопасности движения организации, на территории или силами которой проводится испытание.
1.2 Режимы и условия испытаний
Работа автомобильного двигателя происходит при широком изменении скоростных и нагрузочных режимов. При этом независимо от частоты вращения коленчатого вала двигателя и развиваемой им мощности его работа должна быть устойчивой и экономичной, токсичность отработавших газов, шум и вибрация двигателя должны находиться в пределах установленных норм. Не должно происходить даже кратковременных перебоев в работе двигателя при резких изменениях режимов, переключении передач, работе двигателя на принудительном холостом ходу.
Рабочие режимы автомобильного двигателя могут быть изображены в пределах кривых (рисунок 1). Кривая 2 показывает, какую мощность должен развивать двигатель данного автомобиля при его движении с различными скоростями по горизонтальной дороге с твердым покрытием. Кривая 1 определяет, какие максимальные мощности может развивать двигатель на каждом скоростном режиме. Точка пересечения кривых характеризует максимальную скорость автомобиля на горизонтальной дороге. В случае движения автомобиля под уклон кривая 2 будет располагаться ниже, а при свободном качении сольется с осью абсцисс. При торможении двигателем кривая 2 смещается в отрицательную зону, так как мощность при этом затрачивается на принудительное вращение коленчатого вала (кривая 3).

Рисунок 1 Баланс мощности автомобиля при движении на прямой передаче по горизонтальной дороге
Показатели двигателя на всех скоростных и нагрузочных режимах работы нельзя оценить одной универсальной зависимостью. Поэтому для оценки используют несколько зависимостей, каждая из которых определяется при некоторых неизменных условиях. Зависимость одного или нескольких показателей двигателя от какой-либо величины, определенная при некоторых неизменных условиях, называется характеристикой двигателя. Характеристика изображается графически в виде кривой, построенной на основании данных, полученных при испытании двигателя на тормозном стенде. Такие кривые характеризуют, например, мощностные, экономические, детонационные качества двигателя.
Некоторые показатели работы двигателя характеризуются не графически, а величинами, сопоставляемыми с установленными нормами или требованиями. К таким показателям относятся, например, долговечность работы двигателя, токсичность отработавших газов, уровень шума.
Каждое испытание двигателя проводится при определенных неизменных условиях. Так, кривую расхода топлива при различных нагрузках двигателя строят при постоянной частоте вращения коленчатого вала и неизменных температурах охлаждающей жидкости и масла. Характеристика может быть построена при постоянном положении дроссельной заслонки, при постоянной мощности и т. п. Величины, характеризующие содержание вредных веществ в отработавших газах, определяются при точно регламентированных режимах движения автомобиля. При испытаниях двигатель должен иметь соответствующую комплектность. В зависимости от наличия различных приборов и устройств, как, например, воздухоочистителя, вентилятора охлаждения, компрессора и т. п., меняются мощность двигателя, его надежность, шум при работе, содержание вредных веществ в отработавших газах и другие показатели.
Условия испытаний двигателей устанавливаются стандартами, техническими правилами или другими нормативными документами. Оценка показателей двигателя в одинаковых условиях позволяет сравнивать результаты испытаний одного двигателя, проведенных в разных местах, или результаты испытаний различных двигателей. Так, например, можно сделать вывод о том, что мощностные показатели двигателя, определенные на разных стадиях его пробега (при одинаковых условиях испытаний), зависят от износа деталей, нагарообразования и т. п.
Стандарты на методы испытаний, принятые в различных странах, отличаются один от другого по объему испытаний, по комплектности испытуемого двигателя, по рекомендуемой измерительной аппаратуре. Это приводит к тому, что для одного и того же двигателя могут быть получены различные показатели в зависимости от стандартов, в соответствии с которыми он испытывался. Так, мощность двигателя, определенная по стандарту США (SAE), на 7 - 20% (а иногда и больше) выше мощности того же двигателя, полученной по стандарту ФРГ (DIN). В каталогах автомобильных фирм обычно указывается мощность по SAE, noDIN.
В Советском Союзе мощностные и экономические показатели двигателей регламентированы ГОСТ 14Они отличаются от показателей, получаемых при испытаниях по стандарту DIN, незначительно. В настоящее время Международной организацией по стандартизации (ISO) разработаны единые правила испытаний автомобильных двигателей (R - 1585), рекомендованные для всех стран.
1.3 Подготовка к испытаниям
В зависимости от вида испытаний или задачи, поставленной перед экспериментатором, должна быть выбрана методика испытаний и разработана программа их проведения. В программе указывается объект, цель испытаний, комплектность испытуемого двигателя и перечисляются показатели, которые должны быть определены при испытаниях.
Для того чтобы оценить показатели двигателя и установить, насколько он удовлетворяет нормам и требованиям, определяют рабочие, предельные, индикаторные, детонационные показатели, надежность в работе, выделение вредных веществ, уровень шума и вибраций. В зависимости от поставленной задачи двигатель подвергают всем или некоторым из этих испытаний. В отдельных случаях проводят и другие специальные испытания.
Перед испытаниями нужно проверить, соответствует ли испытуемый двигатель техническим условиям. Для этого проверяют размеры цилиндров, степени сжатия, фазы газораспределения и высоту подъема клапанов, углы опережения зажигания, состояние свечей зажигания и зазоры в них, состояние карбюратора и его регулировку.
При проверке конструктивных показателей двигателя снимают головку блока цилиндров. Диаметры цилиндров и ход поршня измеряют с помощью штихмаса, точного штангенциркуля и штангенглубиномера. Степень сжатия определяют путем заливки камер сгорания дизельным топливом, а для нахождения объема камеры сгорания сложной формы изготовляют слепки камеры из пластилина, гипса и измеряют объем слепков.
Фазы газораспределения и высоту подъема клапанов измеряют индикатором, устанавливаемым так, чтобы его ножка опиралась на торец стержня клапана или тарелку пружины.
Для измерения высоты подъема клапанов устраняют зазор между клапанами и толкателями. Клапан устанавливают в закрытое положение. При проворачивании коленчатого вала определяют по индикатору начало подъема клапана и фиксируют соответствующий угол поворота вала относительно в. м. т. или н. м. т. При дальнейшем вращении вала через каждые 5-10° определяют соответствующие высоты подъема клапана и наносят их на график. По графику подъема клапанов могут быть определены фазы газораспределения при любом заданном зазоре между клапанами и толкателями.
Распределитель проверяют на специальном стенде. Определяются характеристики центробежного и вакуумного регуляторов опережения зажигания и допускаемые пределы начала разрыва контактов прерывателя для различных граней кулачка.
При проверке карбюратора устанавливают пропускную способность жиклеров, момент открытия клапана экономайзера, производительность насоса ускорителя, контролируют работу системы холостого хода и устройств, предназначенных для уменьшения токсичности отработавших газов.
Новый двигатель перед испытаниями должен быть обкатан. Длительность обкатки обычно принимается равной 60 ч. Нагрузочные и скоростные режимы в процессе обкатки постепенно ужесточаются и чередуются с кратковременной работой двигателя на холостом ходу. Программу обкатки двигателей, как правило, рекомендуют заводы-изготовители.
Испытания двигателей производят на специальных стендах. Стенд имеет приспособления для установки и закрепления на нем двигателя, тормозное устройство, которое предназначено для поглощения мощности, развиваемой двигателем, приспособления для питания двигателя, его охлаждения, отвода отработавших газов и органы управления двигателем. Кроме того, стенд оборудуется измерительными приборами.
1.4 Тормозная установка
Эффективная мощность, развиваемая двигателем, при стендовых испытаниях поглощается тормозом. Для того чтобы определить мощность, развиваемую двигателем, необходимо измерить крутящий момент и соответствующую частоту вращения коленчатого вала. Для измерения крутящего момента тормоз снабжается весами. Частоту вращения измеряют тахометром.
Тормоз должен обеспечивать поглощение эффективной мощности во всем диапазоне скоростных и нагрузочных режимов, в которых работает испытуемый двигатель, стабильность торможения, т. е. поддержание постоянного тормозного момента в течение длительного времени, устойчивость торможения, т. е. сохранение неизменного скоростного режима при случайных изменениях нагрузки двигателя, возможность принудительного провертывания коленчатого вала двигателя. Желательно, чтобы энергия, поглощаемая тормозом, полезно использовалась.
В настоящее время применяют гидравлические, электрические и индукторные тормоза.
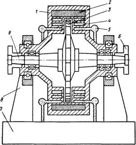
Гидравлические тормоза проще, имеют меньшую стоимость и используются в тех случаях, когда не требуется принудительного провертывания коленчатого вала двигателя. Мощность двигателя, поглощаемая гидравлическим тормозом, затрачивается на совершение гидродинамической работы и на трение ротора тормоза о жидкость. Наибольшее распространение получили гидравлические тормоза лопастного и штифтового типов. Лопастной тормоз (рисунок 2) состоит из статора 3 и ротора 2, вал 9 которого вращается в подшипниках 4, и через фланец 10 и карданный вал соединен с коленчатым валом испытываемого двигателя. В статоре и роторе тормоза имеются карманы полуэллиптического сечения со специальными лопатками.

Рисунок 2. Схема гидравлического тормоза
Конструкция лопастного тормоза аналогична конструкции гидромуфты. Во время работы тормоза вся его внутренняя полость заполняется водой. Вода увлекается ротором и отбрасывается к периферии на внутренние стенки статора. Вследствие трения воды о стенки статора скорость ее уменьшается, и вода вновь стекает к валу 9 тормоза - устанавливается циркуляция воды. Во внутреннее пространство тормоза вода поступает из водопровода 1 через отверстия, расположенные у вала ротора. Сливается через вентиль 8. Расход устанавливают таким, чтобы температура сливаемой воды была в пределах° С. Интенсивность торможения изменяют при помощи заслонок, устанавливаемых в зазор между статором и ротором.
Для того чтобы измерить момент, развиваемый двигателем, статор 3 тормоза устанавливают в стойках 6 не жестко, а на подшипниках 5, и он может поворачиваться (качаться) относительно оси ротора. Такая подвеска тормоза называется балансирной. Стойки 6 закреплены на плите основания 7 тормоза. Корпус статора соединен рычажным устройством с динамометром. При возникновении момента, который стремится повернуть статор, усилие передается на динамометр через рычаг.
В качестве электрического тормоза применяется электрическая машина, которая может работать и как генератор (когда она тормозит двигатель), и как электродвигатель (когда она провертывает коленчатый вал двигателя). При вращении якоря генератора, соединенного с коленчатым валом двигателя, вследствие взаимодействия магнитных полей, в статоре возникает момент, стремящийся повернуть его в сторону вращения якоря.
При провертывании коленчатого вала двигателя электрической машиной вследствие взаимодействия магнитных полей в ее статоре возникает реактивный момент. Он равен крутящему моменту, необходимому для провертывания коленчатого вала двигателя, и направлен в сторону, противоположную вращению якоря. Подвеска электрических тормозов, так же как и гидравлических, делается балансирной. Для того чтобы на весах можно было измерять момент, действующий на статор, то в одном, то в другом направлении, применяют реверсивную рычажную систему.
При испытании автомобильных двигателей широко применяются электротормоза постоянного тока, обычно называемые балансирными динамомашинами. Тормоза этого типа регулируют током возбуждения, вследствие чего обеспечиваются стабильность работы тормозной установки, точность измерений. Кроме того, можно легко автоматизировать испытания при проведении их по заданной программе. Электрическая энергия, вырабатываемая тормозом, поглощается в реостатах или передается в сеть. В последнем случае балансирная динамомашина с независимым возбуждением электрически связана с электродвигателем постоянного тока, механически соединенным с генератором переменного тока, подключаемым к сети. Обмотки возбуждения генератора и балансирной Динамомашины питаются от сети переменного тока через автотрансформаторы и специальные выпрямители. Такая схема обеспечивает простоту управления тормозом при испытаниях. Переход с моторного режима (при принудительном провертывании коленчатого вала двигателя) на генераторный (торможение двигателя) осуществляется автоматически при включении подачи топлива и зажигания испытуемого двигателя. Заданная частота вращения автоматически поддерживается независимо от изменений мощности испытуемого двигателя.
Область применения электротормозов постоянного тока ограничивается частотой вращения якоря и мощностью. Поэтому для испытаний быстроходных двигателей большой мощности и особо быстроходных двигателей (например, гоночных) применяют электротормоза переменного тока.
Широко распространены индукторные тормоза, характеризующиеся высокой надежностью, большой энергоемкостью, меньшей стоимостью изготовления и эксплуатации и возможностью автоматизации испытаний по жестким программам.
Схема индукторного тормоза приведена на рисунке 3.

Рисунок 3 Схема индукторного тормоза
В статор 1 вмонтирована катушка возбуждения 2. Ротор 3 представляет собой диск или барабан с зубьями прямоугольной формы. Вал 9 ротора через фланец 6 и карданный вал соединяется с коленчатым валом испытуемого двигателя. Катушка возбуждения 2 создает магнитный поток, имеющий наибольшее значение в местах расположения зубьев ротора. Во время вращения ротора отдельные участки статора последовательно намагничиваются и размагничиваются. Вследствие этого возникают вихревые токи. При взаимодействии основного магнитного поля с магнитным полем вихревых токов создается сопротивление вращению ротора. Вихревые токи нагревают статор. Для отвода тепла статор охлаждается водой, подводимой по трубопроводам 5 в систему охлаждения 4. В некоторых конструкциях охлаждающая вода подводится в полость между статором и ротором. В этом случае вода обеспечивает дополнительный тормозной эффект. Статор тормоза имеет балансирную подвеску на стойках 8, установленных на основании 7.
Индукторный тормоз регулируют путем изменения силы тока возбуждения. Мощность возбуждения для индукторных тормозов значительно меньше, чем для любой другой электрической машины. Это упрощает автоматизацию испытательных стендов, оборудованных индукторными тормозами.
Недостатками индукторных тормозов является невозможность принудительного вращения коленчатого вала испытуемого двигателя и рекуперации поглощаемой тормозом энергии. Для устранения первого недостатка последовательно с тормозом включается электродвигатель переменного тока или небольшая балансирная динамомашина постоянного тока.
Для того чтобы провести испытания двигателя и определить его показатели на всех возможных режимах работы, необходимо так подобрать тормоз, чтобы он по показателям соответствовал данному двигателю. Соответствие тормоза двигателю устанавливают путем совмещения известной или предполагаемой скоростной характеристики двигателя и внешней характеристики тормоза.
Внешняя характеристика электрического тормоза (рисунок 4) постоянного тока дает представление о предельных возможностях тормоза, определяемых максимально Допустимой силой тока обмотки, максимально допустимой мощностью электрической машины и максимальным напряжением. Линия 0-1 соответствует мощности, поглощаемой при полной нагрузке тормоза. Характер протекания этой линии определяется типом тормоза.
В точке 1' достигается максимальный тормозной момент (допускаемый прочностью вращающихся частей тормоза). При дальнейшем возрастании частоты вращения поглощаемая тормозом мощность увеличивается по прямой 1' - 2', т. е. при постоянном максимальном крутящем моменте.

Рисунок4 Внешняя характеристика электрического тормоза
В точке 2' достигается максимально допустимая по нагреву обмоток мощность тормоза (или воды в гидравлическом тормозе). Линия 2' - 3' характеризует максимальную мощность тормоза по условию предельного нагрева обмоток. Торможение по прямой 2' - 3' возможно при разгрузке тормоза и соответствующем уменьшении крутящего момента. Прямая 3' - 4' определяется напряжением от действия центробежных сил и показывает, до каких пределов можно увеличивать частоту вращения ротора. Линия 0 - 4' соответствует минимальной мощности тормоза при полной его разгрузке (или отсутствии воды в гидравлическом тормозе).
При правильном выборе тормоза весь исследуемый диапазон скоростных и нагрузочных режимов испытуемого двигателя должен располагаться в пределах рабочей области (0- 1’ - 2' - 3' - 4' - 0) характеристики тормоза (кривая 3). Если характеристика (кривая 2) испытуемого двигателя выходит за пределы линии 0 - 1' - 2', то двигатель нельзя испытывать при частоте вращения меньше 1500 об/мин. Если характеристика (кривая 2) испытуемого двигателя выходит за пределы линии 2'-3', то тормозная установка непригодна для испытания данного двигателя. Следует учитывать, что электрические и индукторные тормоза допускают кратковременные перегрузки до 100%.
При выборе типа тормоза для испытания данного двигателя нужно обращать внимание на устойчивость работы системы двигатель-тормоз. Устойчивостью системы называется способность тормоза автоматически поддерживать заданный скоростной или нагрузочный режим двигателя. Устойчивость работы обеспечивается в том случае, если при случайном изменении частоты вращения коленчатого вала испытуемого двигателя автоматически возникают моменты, под действием которых система стремится вернуться к заданному режиму. Величина таких восстанавливающих моментов различна у разных тормозов: наибольшая у гидравлических тормозов, несколько меньшая у электрических и наименьшая у индукторных. Вследствие этого в индукторных тормозах обычно применяется автоматическое регулирование скоростного режима.
Соединение двигателя с тормозом. Двигатель, установленный на стенде, соединен с тормозом двухшарнирным карданным валом. Рекомендуется соединение осуществлять непосредственно и коробку передач применять лишь в необходимых случаях. При установке карданного вала должно быть произведено центрирование, т. е. обеспечена соосность валов двигателя и тормоза. Прочность карданного вала должна не только соответствовать максимальным крутящим моментам испытуемых двигателей, но и обеспечивать передачу резких изменений нагрузки, которые возникают при переходе с моторного режима на режим торможения или при неустойчивой работе двигателя. В связи с этим наряду с жесткими карданными шарнирами используют резинометаллические элементы или мягкие карданы с промежуточным резиновым элементом. При выборе размеров кардана следует проверить, не возникают ли резонансные колебания на скоростных режимах, при которых будут проводиться испытания.
По правилам техники безопасности все карданное соединение должно быть заключено в защитный кожух.
Питание двигателя топливом. Для того чтобы обеспечить питание испытываемого двигателя топливом, стенд оборудован системой питания и приборами, измеряющими расход топлива. На крупных испытательных станциях топливо к каждой тормозной установке поступает по специальным трубопроводам. В зависимости от количества сортов топлива, которое может потребоваться при испытаниях, к тормозным установкам подводится несколько трубопроводов. Топливные баки чаще размещают в том же помещении, что и тормозной стенд. Емкость баков 50-100 л и более. Желательно иметь несколько баков, что дает возможность применять разные сорта топлива и проводить детонационные испытания.
Для измерения расхода топлива применяют приборы для визуального наблюдения за мгновенным расходом топлива и для измерения расхода топлива после установки заданного режима. Для визуального наблюдения устанавливают поплавковые расходомеры (ротаметры). Если необходимо оценить работу двигателя на неустановившихся режимах, применяют специальные расходомеры, показания которых записываются на ленте осциллографа.
Для измерения расхода топлива на установившемся режиме используют метод измерения времени расхода определенных объемов или масс порций топлива. Объемный способ применяется при испытаниях карбюраторных двигателей. Топливо поступает к карбюратору или из топливного бака, или из предварительно заполненных емкостей, объем которых известен. При замере питание двигателя переключают на мерные объемы и определяют время расходования определенного объема топлива.
Подача топлива из мерного объема осуществляется вручную, а при использовании специальных приборов автоматически. На рисунке 5 показаны схемы для автоматического измерения расхода топлива.
Массовый способ определения расхода топлива применяется при испытании дизелей.
Питание двигателя воздухом. Питание воздухом осуществляется через воздушный фильтр испытуемого двигателя, а в том случае, если необходимо измерить расход воздуха, - через воздухомер или мерный насадок. Наибольшее распространение получили объемные расходомеры, аналогичные по устройству роторно-лопастным нагнетателям. Счетчик расходомера непрерывно показывает расход воздуха. Часовой расход воздуха определяют путем измерения расхода воздуха в единицу времени и соответствующего пересчета.
При установке воздухомера и трубопроводов, соединяющих его с карбюратором, изменяется сопротивление на входе во впускную систему, что часто приводит к возникновению во впускном тракте резонансных колебаний.

а - объемным; б - массовым; 1 - осветители; 2 – мерная емкость; 3 - фотодиоды; 4 - блок автоматики; электромагнитные вентили; 9 - расходный бак; 10 - датчик; 11 - весы
Рисунок 5 Схемы автоматического измерения расхода топлива методом
Вследствие этого изменяется наполнение, а на некоторых режимах искажается характеристика двигателя (возникают «провалы»). Для того чтобы исключить эти нежелательные явления, воздухомер следует соединять с двигателем через промежуточную емкость с демпфирующей стенкой и при необходимости изменять регулировку карбюратора.
Отвод отработавших газов. Отработавшие и картерные газы содержат вредные для здоровья человека вещества и должны быть полностью отведены за пределы помещений испытательной станции. Газы отводятся или через общий для всей испытательной станции коллектор, или через индивидуальную для каждой установки систему. Согласно ГОСТ устройство для отвода отработавших газов не должно создавать противодавления у выходного отверстия выпускного трубопровода двигателя более 20 мм рт. ст. (3,6 кН/м2).
Общий коллектор обычно устанавливается на испытательных станциях с большим числом тормозных стендов. Они оборудуются вытяжными насосами, обеспечивающими допускаемое противодавление, глушителем и очистными устройствами.
По другим правилам двигатель должен испытываться с выпускной системой автомобиля, для которого предназначен испытуемый двигатель (международный стандарт R-1585; DIN). В этих случаях в отводные трубопроводы отработавшие газы поступают из выпускной системы после глушителя автомобиля.
Охлаждение двигателя. Устройство для охлаждения двигателя, установленного на стенде, предназначено для поддержания постоянной температуры жидкости в системе охлаждения двигателя в пределах 80-90° С (ГОСТ ). Применяются две системы охлаждения двигателя: с замкнутой циркуляцией жидкости и разомкнутой циркуляцией жидкости (с добавлением холодной воды из водопроводной сети).
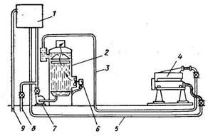
На рисунке 6 показана схема системы охлаждения смешанного типа.

Рисунок 6 Схема системы охлаждения
Вода из рубашки охлаждения испытуемого двигателя 4 поступает по трубопроводу 3 в градирню 2. Охлажденная в градирне вода подается центробежным насосом 7 в резервуар 1. Из него вода поступает в систему охлаждения двигателя по трубопроводу 5. Интенсивность охлаждения воды в градирне регулируется вентилятором 6. В этой системе вода совершает круговое движение и расходуется только на испарение в градирне. Добавляют воду из водопровода по трубе 8. Излишки воды сливаются в канализацию по трубопроводу 9.
Температуру воды регулируют вручную или автоматически и измеряют на выходе из системы охлаждения.
При испытаниях двигателей с воздушным охлаждением, как правило, используют систему охлаждения испытуемого двигателя, включающую вентилятор и направляющий кожух вокруг двигателя. Целесообразно устанавливать воздуходувку для обдува всей установки. Измеряется температура воздуха, выходящего из кожуха двигателя. При помощи термопар замеряют температуру стенок головки блока и блока цилиндров. Для этого необходимо сделать несквозные отверстия в тех стенках двигателя, за температурой которых ведется наблюдение.
Смазка двигателя. При испытаниях двигателя должна быть обеспечена температура масла° С, установленная ГОСТ 14Для этой цели на стенде применяется воздушное или водяное охлаждение соответствующих элементов системы смазки двигателя (поддон картера, масляный радиатор). Во время работы двигателя на стенде наблюдают за температурой и давлением масла в системе смазки двигателя.
Пульт управления двигателем. Органы управления двигателем, тормозом и измерительные приборы размещены на центральном пульте. Органы управления обеспечивают возможность на расстоянии от двигателя плавно изменять положение дроссельной заслонки (рейки топливного насоса) и угла опережения зажигания и фиксировать их в выбранном положении, а также включать или выключать тормоз, изменять нагрузку, скоростной режим и т. п.
Современные установки для испытания двигателей снабжаются системами программирования - устройствами, автоматически изменяющими режим работы двигателя и тормоза по предварительно заданной программе.
Пульт управления размещен около двигателя или в специальной звукоизолированной кабине, из которой двигатель хорошо виден.
Измерительная аппаратура. Оснащение стенда измерительными приборами зависит от вида испытаний, которые предполагается проводить на данной установке. При проведении контрольных, приемочных и регулировочных испытаний измеряют следующие параметры:
крутящий момент, Н ∙ м или кгс ∙ м;
частоту вращения коленчатого вала, об/мин и суммарную за определенное время опыта;
расход топлива, кг/ч;
температуру, С (окружающего воздуха; воды, выходящей из системы охлаждения; масла в картере; отработавших газов на выходе из выпускного трубопровода);
давление или разрежение, Н/м2 или кгс/см2 (окружающего воздуха; масла в магистрали; топлива после топливного насоса; горючей смеси во впускном трубопроводе);
угол опережения зажигания, градусы поворота коленчатого вала;
расход воздуха, кг/ч;
влажность окружающего воздуха (абсолютная, Н/м2, и относительная, %).
Для проведения таких испытаний, как детонационные, испытаний по определению токсичности, шума и вибрации, стенд оборудуют специальной измерительной аппаратурой.
Приборы должны обеспечивать точность измерения, установленную международным стандартом R-1585 и принятую в ГОСТ . В соответствии с установленными правилами о контроле измерительных приборов измерительную аппаратуру периодически проверяют и тарируют.
Установившийся крутящий момент на валу двигателя измеряют с помощью весов (динамометров). Обычно применяются маятниковые (квадрантные) весы (рисунок 7). Весы состоят из двух маятников 1, укрепленных на кулаках-квадрантах 2. Кулаки подвешены на тонких стальных лентах 4 к направляющим 5, укрепленным в корпусе весов. Усилие Рот тормоза через балансир 9 и две стальные ленты 8 передается кулачкам 7. Кулачки объединены с квадрантами 2.
Под действием усилия Р маятники начинают перемещаться, перекатываясь по направляющим 5 кулаками 2. При этом они совершают сложное движение, отклоняясь в стороны и поднимаясь на некоторую высоту. Балансир 9 смещается вниз. Движение балансира через рейку и шестерню 6 передается стрелке 3, которая перемещаясь по шкале 10, показывает величину усилия.
Мгновенные значения крутящего момента двигателя, работающего на переменных режимах, измеряют путем определения деформации кручения некоторого участка вала с помощью динамометрических муфт. Для измерения угла закручивания применяют индуктивные, фотоэлектрические датчики перемещений, тензодатчики и др. Для измерения частоты вращения коленчатого вала двигателя используют тахометры для визуального наблюдения за мгновенной частотой вращения и суммарные счетчики с секундомерами для определения среднего значения частоты вращения за соответствующий промежуток времени.
Угол опережения зажигания измеряют при помощи искрового устройства, которое может быть изготовлено в условиях обычной испытательной станции, или специальными электронными приборами, обеспечивающими большую точность измерения и возможность дистанционного наблюдения за углом опережения зажигания.

Рисунок 7 Схема маятниковых весов
Температура рабочих тел и деталей двигателя изменяется в очень широких пределах, поэтому при испытаниях для измерения температур применяют различные приборы и аппаратуру. Температура воды, масла, топлива, окружающего воздуха, изменяется медленно (или остается постоянной). Требуемый диапазон измерения - 40 ÷ +120° G. Для измерения этих температур применяются ртутные и спиртовые термометры, дистанционные термометры манометрического типа, термосопротивления.
Температура газов в цилиндре двигателя изменяется с большой скоростью и достигает 2500° С. Мгновенные значения температур газа в процессе сгорания измеряются оптическими приборами. Среднюю температуру в камере сгорания отработавших газов определяют термопарами с гальванометрами.
Температуру деталей двигателя измеряют термопарами хромель-копелевыми, нихром - константановыми и др., а также с помощью специальных термокрасок и плавких вставок. Передача сигнала на регистрирующую аппаратуру от движущихся деталей (поршень, клапан) вызывает большие трудности, поэтому испытуемый двигатель оборудуют специальными токосъемными устройствами с периодическим или непрерывным контактом.
1.5 Определение рабочих показателей двигателя
Рабочими показателями двигателя называются его мощностные и экономические показатели, определенные при регулировках, указанных заводом-изготовителем, и комплектности двигателя, установленной стандартами. Рабочие показатели измеряют опытным путем при испытании двигателя на тормозном стенде. Испытания проводят при полном открытии дроссельной заслонки (или при полной подаче топлива в дизель) и при частичных нагрузках. Дополнительно к рабочим показателям определяют показатели, характеризующие работу двигателя на холостом ходу.
Характеристика индикаторной мощности.Рабочие показатели зависят от величины полезной работы, совершаемой газами в цилиндрах двигателя в единицу времени, т. е. от индикаторной мощности Nt. Для четырехтактных двигателей индикаторная мощность (в кВт или л. с).
![]()
или
![]()
где pt - среднее индикаторное давление, мН/м2 или кгс/см2;
Vh - рабочий объем двигателя, л;
n - частота вращения коленчатого вала, об/мин.
Кривые зависимости показателей двигателя от частоты вращения коленчатого вала называются скоростными. Кривые изменения показателей двигателя в зависимости от нагрузки называются нагрузочными.
На скоростной характеристике по оси абсцисс в масштабе откладывают измеренные при испытаниях частоты вращения коленчатого вала в об/мин; по оси ординат - в различных масштабах: мощность, кВт или л. с; среднее индикаторное давление, Н/м2 или в кгс/см2; часовой расход топлива, кг/ч; удельный расход топлива, г/(кВт ∙ ч) или г/(л. с ∙ ч); часовой расход воздуха, кг/ч; угол опережения зажигания в градусах угла поворота коленчатого вала; разрежение во впускном трубопроводе, Н/м2 или мм рт. ст., и др.
Для того чтобы построить скоростную характеристику индикаторной мощности, двигатель устанавливают на тормозном стенде и при различной частоте вращения коленчатого вала снимают индикаторные диаграммы. Путем планиметрирования площадей полученных диаграмм определяют работу цикла, а следовательно, и среднее индикаторное давление. Величины среднего индикаторного давления откладывают в принятом масштабе по оси ординат. Через полученные точки проводят осредняющую кривую, показывающую, как изменяется среднее индикаторное давление при различной частоте вращения коленчатого вала.
Индикаторную мощность двигателя Niподсчитывают по кривой среднего индикаторного давления pi. В выбранном масштабе для соответствующих частот вращения коленчатого вала откладывают величины индикаторной мощности и строят кривую, характеризующую изменение индикаторной мощности в зависимости от частоты вращения коленчатого вала.
Методы определения скоростной характеристики эффективной мощности. Для того чтобы простроить скоростную характеристику эффективной мощности Ne, двигатель устанавливают на тормозном стенде и при различной частоте вращения определяют среднее эффективное давление или крутящий момент. ГОСТом предусмотрено, чтобы испытания проводились при температуре жидкости, выходящей из рубашки двигателя, 80-90° G и температуре масла 85-95° G. Определение характеристики начинают при минимально устойчивой частоте вращения коленчатого вала, при которой двигатель работает без рывков и сотрясений.
|
Из за большого объема этот материал размещен на нескольких страницах:
1 2 3 4 5 6 7 8 9 10 11 12 13 14 15 16 17 18 |



