Испытания на надежность, включая испытания на долговечность и износостойкость механизма сцепления в сборе и отдельных его элементов, проводят, как правило, на стендах, снабженных инерционными массами, момент инерции которых соответствует моменту инерции вращающихся и поступательно движущихся масс автомобиля. При этом величина ведущей инерционной массы, соединенной с электродвигателем стенда, обычно значительно превышает величину ведомой массы. Ведомую (нагрузочную) массу подбирают по суммарному значению вращающихся частей трансмиссии с колесами и поступательно движущейся массы автомобиля, приведенной к массе ведомого диска сцепления с учетом передаточного числа силовой передачи. Ведомая масса состоит из набора дисков с целью возможности регулирования режимов нагружения сцепления.
Испытания заключаются в периодическом включении сцепления и разгона ведомой инерционной массы до частоты вращения, равной частоте вращения ведущей, после чего сцепление выключают и осуществляют торможение ведомой массы. Затем цикл повторяется. Надежность сцепления лимитируется стойкостью фрикционных накладок и других деталей, подверженных износу и усталостным поломкам. Поэтому в практике заводов большой объем составляют испытания отдельно фрикционных колец, шарниров рычагов нажимного диска, пружин и выжимных подшипников, в процессе которых определяется усталостная прочность, термостойкость, износостойкость, а для накладок еще и стабильность коэффициента трения и другие параметры. Фрикционные накладки испытывают на стенде, схема которого дана на рисунке 62.

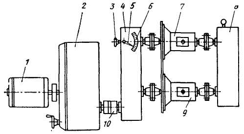
Рисунок 62 Схема стенда для испытаний фрикционных накладок сцепления
Стенд имеет электродвигатель 1, который через муфту 2 приводит в движение вал 3. На валу установлены инерционные массы и маховик 4, к которому прикрепляют испытуемую фрикционную накладку 5. С другой стороны накладка прижимается нажимным диском 6, соединенным с оптическим или тензометрическим торсиометром 7 для замера крутящего момента. Накладку прижимает прижимное устройство 9 с пневматическим цилиндром 10 выключения. Усилие, создаваемое пружиной, контролируется динамометром 8. На этом стенде нагрузочной массой является ведущая инерционная масса, а ведомая масса отсутствует. Испытания проводят путем периодического включения электродвигателя, разгона инерционной массы с последующим торможением ее при срабатывании пружинного устройства. При этом испытуемая накладка при каждом включении поглощает заданное количество энергии в определенном диапазоне температур, контролируемом с помощью термопар, которые установлены в нажимном диске, вблизи его рабочей поверхности. Стенд снабжен устройством 11, которое автоматически управляет включением и выключением стенда, поддерживает заданную температуру нагрева испытуемых образцов. Перед испытаниями' выполняется серия включений, примерно 50, при температуре 50 ± 10° С для приработки поверхностей испытуемого кольца и нажимного диска не менее чем на 80% площади их взаимного касания. После приработки замеряют толщину кольца микрометром с точностью до 0,01 мм в нескольких, обычно шести равнорасположенных одна от другой точках, которые специально отмечают и оставляют неизменными на весь период испытаний. Испытания на надежность состоят из серии включений стенда с периодическими остановками через 200-250 включений, во время которых осматривают испытуемые объекты и определяют износ трущихся поверхностей.
Испытаниям подвергают также нажимной механизм и привод сцепления или отдельные их элементы. Испытания проводят на стендах, имеющих кулисный или какой-либо другой механизм для периодического включения и выключения испытуемых объектов.
Испытания на надежность ведутся до предельного состояния объекта, определяемого усталостной поломкой, или до допустимой величины износа, либо до момента, когда темп, т. е. интенсивность износа становится постоянной величиной. В этом случае, если необходимо, например при испытании нового материала, на стенде может быть определен коэффициент трения кольца при различной температуре, обычно в диапазоне 50-250° С. Коэффициент f трения вычисляют по формуле
,
где М - момент, фиксируемый торсиометром;
Р - сила прижатия нажимного диска к фрикционному кольцу;
Rcp - средний радиус кольца.
Износостойкость µ, например, фрикционных накладок определяют удельным износом или темпом износа, представляющим собой отношение толщины hизноса накладки к числу включений стенда т, либо более общим показателем, который представляет собой отношение объема изношенного материала (определяемого как произведение рабочей поверхности кольца S(см2) на толщину изношенной части накладки в процессе испытаний) к энергии Е, поглощенной испытуемым объектом (Н ∙ м) за т включений:
.
Дорожные испытания. Их проводят с целью определения непосредственно на автомобиле легкости управления сцеплением, плавности включения и частоты выключения, наличия пробуксовывания, рывков и вибраций по субъективному ощущению испытателя, а также надежности работы сцепления в целом и его элементов, имея в виду прочность и износостойкость отдельных деталей.
Перед испытаниями детали, подверженные износу, подвергают контрольному обмеру, проверяют балансировку вращающихся частей сцепления, определяют осевую нагрузку, которую необходимо приложить к нажимному диску для полного выключения сцепления, а также ход нажимного диска, после чего сцепление устанавливают на автомобиль. Сцепление обкатывают в течение 200 км пробега автомобиля по определенному маршруту, изобилующему поворотами, требующими частого переключения передач, а следовательно, и работы сцепления. Однако частоту этих поворотов выбирают такой, чтобы происходила нормальная приработка и исключался перегрев сцепления.
В зависимости от категории автомобиля, для которого предназначено сцепление, установившейся практики на автомобильных заводах и других обстоятельств программа дорожных испытаний сцепления может включать различные режимы, отражающие специфику эксплуатации. Тем не менее, все программы, как правило, предусматривают определенное количество троганий с места на низшей передаче, в том числе на режиме максимальной мощности двигателя, движение на подъемах различной крутизны, включая подъемы, близкие к тем, которые способен преодолеть автомобиль, а также движение автомобиля с максимальной скоростью. В промежутке между указанными маневрами или их сериями предусматривается пробег автомобиля для охлаждения сцепления.
В качестве примера можно привести одну из программ ускоренных дорожных испытаний легкового автомобиля, в соответствии с которой испытания состоят в 33-кратном повторении следующего цикла: три трогания с места на первой передаче при режиме максимальной мощности двигателя на подъеме, близком к 2/3 максимального подъема, преодолеваемого автомобилем. Интервал между двумя последовательными троганиями с места равен 10 с. Далее производят пробег для охлаждения сцепления. После 16 циклов, равных 48 троганиям с места, выполняется пробег автомобиля на 1000 км с максимальной скоростью. После завершения 33 циклов производят аналогичный пробег на 2000 км. По окончании испытаний сцепление снимают и отправляют для анализа его состояния, снятия характеристик и т. д.
Испытания сцепления на надежность по параметрам усталостной прочности и износостойкости проводят путем длительного пробега км и более), по специальному маршруту.
В процессе испытаний в протоколе, имеющем специальную форму, указывают операции по регулировке, а также все отмеченные неисправности.
После испытаний сцепление снимают с автомобиля, осматривают, снимают необходимые характеристики, разбирают, обмеривают и анализируют состояние отдельных деталей.
Испытания проводят в следующей последовательности:
определяют момент трения у неприработанного сцепления при малых относительных угловых скоростях вращения маховика и ведомого диска сцепления (0,1-0,16 рад/с);
осуществляют приработку сцепления в течение 1-3 мин с перерывами для охлаждения на 30 с при разности угловых скоростей вращения маховика и ведомого диска 94-105 рад/с;
определяют момент трения сцепления при разной скорости скольжения;
устанавливают зависимость момента трения сцепления от скорости скольжения и температурного состояния сцепления.
2.3 Испытания коробок передач, раздаточных коробок и ведущих мостов
Лабораторные испытания. Коробки передач подвергают испытаниям с целью определения их к. п. д. на различных передачах, частотах вращения и нагрузках, включая максимальные их значения. Эти характеристики обычно снимают на специальных установках с прямым потоком мощности (рисунок 63).

Рисунок 63 Схема стенда с прямым потоком мощности для испытаний коробок передач
Испытуемую коробку передач 2 устанавливают между балансирным электродвигателем 1 и тормозным устройством 3, например генератором, который так же, как и двигатель, подвешивают балансирно, что позволяет измерять крутящий момент на валу. Фиксируя мощности на входе и выходе коробки передач, определяют ее к. п. д.
Для повышения точности получаемых результатов электродвигатель и испытуемую коробку передач укрепляют балансирно, а генератор неподвижно. Тогда к. п. д. ηкп коробки передач может быть определен по формуле
,
где Мэ- крутящий момент на валу электродвигателя;
МР - реактивный момент на корпусе коробки;
i - передаточное число коробки передач.
Непременным условием успешной работы любого редуктора, в том числе и коробки передач, является обеспечение достаточной смазываемости трущихся поверхностей шестерен, валов, подшипников и других элементов. Испытания на смазываемость проводят путем прокручивания шестерен коробок с различной частотой вращения. Контроль за распределением смазки внутри коробки осуществляется через специально сделанные в картере смотровые отверстия или путем разборки коробки передач и анализа проникновения масла, в которое вводят специальный краситель.
Одним из видов стендовых испытаний коробок являются испытания их на крутильных машинах для определения статической прочности и жесткости ее деталей: картера, валов, шестерен и подшипников. Деформации деталей измеряют индикаторами. При этом коробку передач нагружают моментом, действующим со стороны ведущего вала при неподвижном ведомом вале, пока не появятся остаточные деформации или разрушится наименее прочный элемент при включении каждой из передач.
Оценку уровня шума при работе коробки передач производят как на слух, так и с помощью специальных приборов, которые измеряют параметры, записывают акустические характеристики и позволяют установить влияние на них режима, качества смазки, жесткости валов, зазоров. Для получения наиболее точных результатов испытания рекомендуется проводить в специальных шумо-заглушенных камерах.
Испытания коробок передач на долговечность, имея в виду определение прочности на изгиб, контактной усталостной прочности и износостойкости зубьев шестерен, валов, подшипников и рабочих поверхностей прочих деталей, проводят обычно на стендах, выполненных по схеме с замкнутым потоком мощности, которые являются значительно более экономичными по сравнению со стендами, имеющими прямой поток мощности, особенно если электроэнергия от генератора не возвращается в сеть, а превращается с помощью реостатов в тепловую.
Стенды с замкнутым потоком мощности (рисунок 64) состоят из приводного электродвигателя 1, который через редуктор 2 обычно с переменным передаточным числом и муфту 10 подводит мощность к замкнутому контуру.
Контур образован двумя редукторами 4 и 8 и двумя одновременно испытуемыми коробками передач 7 и 9. Этот контур, включая испытуемые коробки передач, может быть нагружен требуемым крутящим моментом с помощью предварительного закручивания валов.

Рисунок 64 Схема стенда с замкнутым потоком мощности для испытаний коробок передач
Для этого в редукторе 4 имеется специальное нагружающее устройство, снабженное стрелкой 5 и шкалой 6, по которой определяют момент закручивания, регулируемый маховиком 3. Посредством вращения маховика 3 достигается сжатие пружины, которая при этом воздействует на одну из косозубых шестерен редуктора, перемещая ее в осевом направлении и создавая предварительный угол закручивания контура.
Существуют и другие виды нагружающих устройств, например самотормозящий планетарный редуктор с очень большим передаточным числом и электродвигателем малой мощности. Характерно, что для создания нагружающего момента не требуется затрачивать мощность, она расходуется только на преодоление механических, вентиляционных и гидравлических сопротивлений в механизмах стенда. Так, при циркуляции в контуре мощности 150 кВт требуется приводной двигатель мощностью не более 20 кВт. В том случае, если при испытаниях предусматривается измерение крутящего момента, подводимого к контуру, то между редукторами 2 и 4 устанавливается динамометрическая муфта, а тахометр служит для контроля частоты вращения валов. Для гашения крутильных колебаний, возникающих при работе стенда, а также для плавного нагружения контура и поддержания в требуемых пределах крутящего момента независимо от износа трущихся поверхностей валы соединяются упругими резиновыми муфтами.
Испытания на долговечность проводят либо при нагружающих моментах, близких к максимальным крутящим моментам двигателя на каждой передаче, либо по специальной программе, разработанной на основании изучения нагрузочных режимов в условиях реальной эксплуатации. В последнем случае целесообразно стенды оснащать программным устройством, которое автоматически изменяет нагрузки и частоту вращения валов, создавая, таким образом, все те возможные их сочетания, которые бывают в эксплуатации. При этом характер отказов и износ значительно лучше согласуются с данными эксплуатации, чем при испытаниях по предельно допускаемым моментам, хотя времени на их проведение затрачивается больше.
В процессе испытаний предусматриваются периодические остановки стенда и разборка коробок передач для осмотра отдельных деталей, проведения необходимых обмеров, по которым определяются износы и остаточные деформации рабочих поверхностей деталей. Износ коробки передач в целом или ее отдельных элементов целесообразно определять путем анализа отработанного масла на специальных установках, позволяющих установить содержание железа и других металлов в отдельных пробах масла, попадающих в него в результате износа рабочих поверхностей.
Механизм переключения передач коробки испытывают на стендах, имеющих приспособление пневматического, электрического или другого типа для включения-выключения передач, и приводного электродвигателя, как правило, малой мощности, который служит для провертывания шестерен коробки передач без нагрузки через вторичный вал. При этом на первичный вал должен быть установлен ведомый диск сцепления или другой какой-либо маховик с эквивалентным моментом инерции. Частоту вращения электродвигателя выбирают такой, чтобы при включении самой низшей передачи коробки частота вращения ее первичного вала составляла 75% максимальной частоты вращения, для которого данная коробка предназначена. Испытания состоят в периодическом включении-выключении последовательно каждой из передач коробки и обычно длятся до тех пор, пока при переключении не будет прослушиваться характерный шум шестерен, свидетельствующий об износе блокирующих колец синхронизаторов.
Испытание коробок передач производится с целью проверки правильности сборки узлов, механизмов и коробок передач в сборе и проверки герметичности уплотнений воздухопроводов пневмосистемы управления делителем передач.
Испытание коробок передач производится на обкаточных стендах без нагрузки и под нагрузкой.
Правильность сборки коробки передач перед установкой ее на стенд проверяется вращением валов и включением передач.
Валы коробки передач должны свободно без заедания вращаться при любой включенной передаче в основной коробке и делителе передач при вращении первичного вала от усилия руки.
Фиксаторы штоков всех передач при включении передач рычагом должны четко фиксировать их в нейтральном положении и в рабочих положениях. Включение 1-й передачи и передачи заднего хода должно производиться только при отжатом предохранителе заднего хода, установленном в верхней крышке.
Соединения воздухопроводов и пневмосистемы управления делителем, который установлен на коробке передач 15-й модели, должны быть проверены на герметичность сжатым воздухом под давлением 0,6 МПа. Из ресивера воздух под давлением подводится к редукционному клапану пневмосистемы. Падение давления в ресивере допускается не более 0,15 МПа в течение 40 с.
Зацепление зубчатых муфт синхронизатора делителя регулируется с помощью упорных болтов механизма переключения передач.
Регулировка производится следующим образом:
включается делитель передач в работу, при этом воздух под давлением из ресивера поступит в полость клапана и перемещает его в крайнее положение до упора в рычаг;
вывертываются оба упорных болта и снимается крышка смотрового люка механизма переключения передач делителя;
перемещается золотник крана управления делителем в положение «низшая передача» и вворачивается задний упорный болт до упора в рычаг; после этого упорный болт довертывается еще на 1/4 оборота и фиксируется контргайкой; при этом положении первичный вал должен проворачиваться от руки легко и без заеданий;
перемещается золотник крана управления делителем в положение «высшая передача» и передним упорным болтом регулируется зацепление аналогично вышеуказанному пункту.
После проверки правильности сборки коробка передач подвергается обкатке (приработке и испытанию). Приработка производится с целью подготовки коробки передач к восприятию эксплуатационных нагрузок.
Приработка и испытание коробок передач производятся на маслах пониженной вязкости. Такие масла позволяют лучше удалять механические примеси при сливе их после обкатки из картера коробки передач через сливные отверстия.
При испытании и приработке коробки передач под нагрузкой проверяются:
надежность включения передач;
работа коробки передач при включении 1-й передачи и передачи заднего хода; эти передачи включаются только при остановленных валах в коробке передач;
легкость переключения передач при включении 2, 3, 4 и 5-й передач;
уровень шума с помощью шумомеров; датчики шумомера устанавливаются на стенку картера на расстоянии 25 мм от плоскости разъема картера с крышкой коробки передач в зонах вхождения шестерен в зацепления; при включении высшей передачи в делителе и частоте вращения первичного вала 2600 мин-1 уровень шума, зафиксированный стрелкой на шкале шумомера, не должен превышать 105 дБ.
После окончания приработки и испытания коробки передач масло из картера немедленно сливается горячим. Магниты сливных пробок очищаются от металлических отложений.
Ведущий мост и его главную передачу с дифференциалом в лабораторных условиях подвергают, так же как и коробку передач, испытаниям по определению потерь на трение шестерен и смазываемость трущихся поверхностей деталей на аналогичных установках с прямым потоком мощности, показанных на рисунке 65.
Балансирный электродвигатель 1 соединяется с ведущей шестерней главной передачи 2, а полуоси - с балансирными генераторами 3 и 4, которые поглощают передаваемую мощность. На этих стендах определяется к. п. д. главной передачи, а также распределение крутящих моментов между полуосями. Жесткость и статическую прочность ведущего моста, его шестеренчатых передач, валов и подшипников определяют путем закручивания вала ведущей шестерни главной передачи при неподвижных полуосях.

Рисунок 65 Схема стенда с прямым потоком мощности для испытаний главных передач ведущих мостов
При испытаниях измеряют упругие деформации картера, чашки дифференциала, конической пары и подшипников, нагружая узел моментом, который соответствует максимальному моменту двигателя, умноженному на передаточное число первой передачи или заднего хода при соответствующем направлении вращения ведущей шестерни. На основании произведенных замеров устанавливают суммарные и относительные перемещения ведущей и ведомой шестерен и в случае отклонения этих величин от допускаемых дают рекомендации по увеличению жесткости некоторых деталей данного узла.
Поскольку ведущие мосты являются элементом ходовой части автомобиля, воспринимающей внешние нагрузки, то их картеры также испытывают на жесткость и статическую прочность в условиях приложения внешних сил по схеме, показанной на рисунке 66.
В схеме на рис. 36, а мост рессорными площадками укрепляют на подставках 3 и 4, а к концам чулок прикладывают нагрузку, например с помощью домкратов 2 и 5 с динамометрами 1 и 6. В схеме на рис. 36, б картер моста концами чулок устанавливают на опорном столе стенда типа гидравлического пресса с помощью подставок 3 и 4. Нагрузка действует сверху через шток 7 на жесткую раму 8. В этом случае схема нагружения ближе к реальной. Деформации характерных точек моста измеряют индикаторами, механическими и электрическими тензометрами.

Рисунок 66 Схемы установок при испытании корпуса ведущего моста
Наиболее полная оценка характеристик жесткости и статической прочности балки моста может быть получена после испытаний с приложением к ней соответствующих сил и моментов, имитирующих действие, кроме вертикальной и тормозной нагрузок, боковых сил и их моментов. Такие испытания могут быть осуществлены на том же стенде с помощью простейших добавочных приспособлений.
Усталостную прочность балок мостов оценивают путем испытаний на специальных стендах-пульсаторах (их описание будет дано ниже), создающих переменную нагрузку, которая имеет какую-либо фиксированную частоту и амплитуду, обычно близкие к максимальным, либо задается по специальной программе, отражающей реальные условия эксплуатации.
На долговечность ведущие мосты, так же как и коробки передач, испытывают на стендах с открытым и чаще с замкнутым потоком мощности. Принципиальная схема стенда с замкнутым потоком мощности дана на рисунке 68.
От электродвигателя 1 и редуктора 2 крутящий момент подается на замкнутый контур, образованный двумя испытуемыми мостами 4 и 6, полуоси которых соединены шестеренчатыми передачами 5 и 7, а ведущие конические шестерни - через карданные валы 3 и 8 с шестеренчатой передачей 13. Нагружение контура производят закручиванием вала 8 посредством муфты 12, а величину закручивающего момента контролируют по показаниям динамометрического устройства, которое состоит из жесткой трубы 9 и шкалы 10 со стрелкой 11.
Испытание по числу оборотов двигателя неподвижного автомобиля для автоматической коробки передач. Это испытание проводится для проверки общих характеристик двигателя и коробки передач /муфт, тормозов планетарного редуктора/. Оно проводится на автомобиле, который не может двигаться, путем измерения оборотов двигателя при переключении на диапазон «D» или «R» и при полном нажатии на педаль акселератора. Проводить это испытание необходимо при нормальной рабочей температуре жидкости °С).
Нельзя проводить это испытание более 5 секунд непрерывно. Для гарантии безопасности проводите это испытание на большой
свободной и ровной площадке, обеспечивающей хорошее сцепление.
Испытания на неподвижном автомобиле всегда должны проводится с напарником. Один должен наблюдать за колесами и колесными клиньями снаружи автомобиля, тогда как другой проводит испытание, и в случае, если колеса начали вращаться или колесные клинья начали отходить, напарник, находящийся снаружи, должен немедленно сигнализировать об этом другому.
Проверка числа оборотов двигателя неподвижного автомобиля:
заблокируйте клиньями передние и задние колеса;
полностью затяните стояночный тормоз;
левой ногой сильно нажмите тормозную педаль и держите ее нажатой;
запустите двигатель;
включите диапазон «D». Нажмите педаль акселератора до упора правой ногой. Быстро снимите показания числа оборотов двигателя;
проведите аналогичные испытания в диапазоне «R».
Оценка испытаний оборотов двигателя:
если число оборотов двигателя одинаковое при включении обоих диапазонов без вращения задних колес, но ниже указанной величины, то:
может быть недостаточная мощность двигателя;
может быть неправильно работает муфта свободного хода реактора (неисправность в гидротрансформаторе);
если число оборотов двигателя при включенном диапазоне «D» выше указанной величины то:
может быть слишком низкое давление в магистрали;
может пробуксовывать муфта переднего хода;
возможна неправильная работа муфты свободного хода, или муфты повышающей передачи;
если число оборотов двигателя при включенном диапазоне «R» выше указанной величины, то:
может быть слишком низким давление в магистрали;
может пробуксовывать муфта прямого включения;
возможна пробуксовка тормоза первой передачи и заднего хода;
если число оборотов двигателя при включении обоих диапазонов «R» и «D» выше указанной величины, то:
может быть слишком низким давление в магистрали;
может быть неправильным уровень жидкости;
возможно неисправен гидротрансформатор.
Измерение задержки по времени:
полностью затяните ручной тормоз;
запустите двигатель и проверьте число оборотов холостого хода. (Для всех марок автомобилей это число индивидуальное и колеблется в пределах об\мин);
переместите рычаг переключения из положения «N» в положение «D». С помощью секундомера измерьте время с момента переключения рычага до ощущения удара. Нормальная задержка по времени должна быть менее 1,2 секунды;
таким же образом измерьте задержку по времени при переключении с диапазона «N» на диапазон «R». Нормальная задержка по времени должна быть менее 1,5 секунды.
Оценка испытания по времени:
если задержка по времени при переключении с «N» на «D» больше указанной величины:
может быть слишком низкое давление в магистрали;
может быть изношена муфта переднего хода возможно неправильно работает муфта свободного хода повышающей передачи ОД;
если задержка по времени при переключении с «N» на «R» больше указанной величины:
может быть слишком низкое давление в магистрали;
может быть изношена муфта прямого включения;
может быть изношен тормоз 1 - он передачи и заднего хода;
возможно неправильно работает муфта свободного хода повышающей передачи ОД.
Испытание давления жидкости.
При проведении этого испытания измеряется давление после центробежного регулятора при данной скорости автомобиля и давление в магистрали при данном числе оборотов двигателя. Оно проводится для проверки работы каждого золотника в гидравлической системе управления, а также для проверки утечек жидкости и т. д.
Давление в магистрали в диапазоне «D» на холостом ходу составляет от 3,7 до 4,3 кг\см2.
Давление в магистрали в диапазоне «D» при числе оборотов двигателя неподвижного автомобиля (2об\мин) составляет от 9,2 до 10,7 кг\см2.
В диапазоне «R» на холостом ходу составляет от 5,4 до 7,2 кг\см2.
В диапазоне «R» при числе оборотов двигателя неподвижного автомобиля(2об\мин) составляет от 14,4 до 16,8 кг\см2.
Дорожные испытания АКПП
Эти испытания проводятся, когда автомобиль находится в движении и коробка передач переключается на повышенные и пониженные передачи, для проверки, соответствуют ли точки переключения стандартным величинам, а также для проверки на удары, буксование, ненормальные шумы и т. д.
Проводить испытания необходимо при нормальной рабочей температуре жидкости°С.
Испытания в диапазоне «D»
Включите диапазон «D» и удерживайте педаль акселератора полностью нажатой.
Проверьте следующее:
должно произойти переключение передач с 1 на 2, со 2 на 3 и с 3 наПП(повышающую передачу) и моменты переключения должны соответствовать числу оборотов двигателя и скорости автомобиля.
Оценка:
если нет переключения с 1 - и на 2-ю:
может быть неисправным центробежный регулятор;
может заедать золотник клапана переключения с 1 - и на 2-ю передачу;
если нет переключения со 2-й на 3-ю передачу:
может заедать золотник клапана переключения со 2-й на 3-ю передачу;
если нет переключения с 3-й на ПП:
может заедать золотник клапана переключения с 3-й на ПП передачу;
может быть неисправным клапан с электромагнитным управлением ПП;
если точки переключения не соответствуют приведенным на таблице:
может быть разрегулирован трос кулачка дроссельного клапана на кронштейне карбюратора;
могут заедать в своих гнездах дроссельный клапан, клапан переключения 1-2 передач, клапан переключения 2-3 передач, клапан переключения 3-4 передач, а также вспомогательные клапана.
Также проверьте на удары и буксование при переключении 1 - 2, 2-3,3 - ПП.
Оценка
Если имеет место чрезмерный удар, то:
может быть слишком высоким давление в магистрали;
может быть неисправным аккумулятор ( поршень в корпусе автомата);
может заедать запорный шарик.
Проверьте механизм блокировки:
двигайтесь с включенным диапазоном «D», на повышающей передаче, с устойчивой скоростью (блокировка включена) около 70 км\час;
слегка нажмите на педаль акселератора и проверьте не меняются ли резко обороты двигателя. Если имеет место большой скачок оборотов двигателя, блокировки нет.
Испытание в диапазоне «2»
Включите рычаг переключении на диапазон «2» и, двигаясь при полностью нажатой педали акселератора, проверьте следующее:
убедитесь что есть переключение с 1-й на 2-ю передачу и что момент переключения соответствует тому числу показанному в таблице автоматического переключения;
при движении с включенным диапазоном «2» (2-я передача) отпустите педаль акселератора и проверьте, происходит ли торможение двигателем.
Оценка
Если нет торможения двигателем:
может быть неисправным тормоз 2-й передачи при торможении двигателем;
может заедать золотник клапана 2-й передачи;
проверьте на наличие ненормального шума при ускорении и замедлении и ударов при переключении на повышенные и пониженные передачи.
Испытание в диапазоне «L»
При движении с включенным диапазоном «L» убедитесь в невозможности переключения на 2-ю передачу.
При движении с включенным диапазоном «L» отпустите педаль акселератора и проверьте торможение двигателем.
Оценка
Если нет торможения двигателем:
может быть неисправным тормоз 1 - и передачи и заднего хода;
проверьте на наличие ненормального шума в процессе разгона и замедления.
Испытание в диапазоне «R»
Включите диапазон «R» и, трогаясь при полностью нажатой педали акселератора, проверьте наличие буксования.
Испытание в диапазоне «Р»
Остановите автомобиль на уклоне (более 5°) и после переключения на диапазон «Р» отпустите стояночный тормоз. Убедитесь, что собачка защелки ручного тормоза удерживает автомобиль на месте.
Классификация стендов для испытаний агрегатов трансмиссии автомобиля
На стендах для испытания трансмиссии автомобиля в зависимости от их назначения определяют:
долговечности деталей и узлов трансмиссии (испытания на износ и усталость);
статическую прочность и жесткость узлов и деталей;
температурные характеристики агрегатов трансмиссии;
уровень шума и вибраций;
пятна контакта зубьев шестерен;
специальные характеристики узлов трансмиссии.
В большинстве случаев применяют универсальные стенды, на которых определяют несколько показателей. Так, например, на стенде для испытаний на долговечность определяют температурные характеристики и уровень шума и вибраций, а на стенде для испытаний на статическую прочность находят жесткости узлов и т. д.
Стенды для испытания узлов трансмиссии в зависимости от способа нагружения можно разделить на следующие группы:
с прямым нагружением (с разомкнутым потоком мощности);
с замкнутым контуром;
с динамической нагрузкой;
с нагрузкой от маховых масс.
Специальные стенды предназначены для исследования различных характеристик механизмов трансмиссии автомобиля.
К первой группе стендов относят стенды для испытания коробок передач, карданных передач, раздаточных коробок, ведущих мостов и всей трансмиссии. Нагрузка в них передается обычно от балансирных гидро - или электродвигателей, а торможение - от гидро - или электротормозов. Преимуществами этих систем являются легкость управления и программирования при ступенчатых нагрузках, возможность определения КПД и использование только испытуемого узла (без установки технологического). Недостаток этих стендов, связанный с большим расходом энергии, можно устранить возвратом энергии, затраченной на вращение узла. Применяя в качестве тормозного устройства генератор постоянного тока или используя замкнутые гидросистемы, можно значительно снизить расход энергии при использовании стендов с прямым нагружением. Большой момент инерции ротора электрогенератора ограничивает использование программ со случайным нагружением.
На стендах второй группы широко испытывают узлы трансмиссии на долговечность и шумность работы, определяют КПД и подбирают смазки. В этих стендах нагрузка на испытываемый узел создается силами упругости, возникающими в замкнутом контуре при применении специальных нагружателей. При малом расходе энергии возможно нагружение по любой программе. Недостаток - необходимость применения дополнительного технологического узла.
В стендах с замкнутым контуром конструкция нагружателя должна обеспечивать пуск стенда без нагрузки, возможность изменения нагрузки на ходу, высокую точность и быстроту выполнения команд для применения случайных программ нагружения. В настоящее время разработано большое число различных конструкций нагружающих устройств. Наиболее перспективными из них являются вращающиеся гидроцилиндры, которые удовлетворяют всем требованиям, предъявляемым к нагружающим устройствам.
На рисунке 67 приведена принципиальная схема стенда с замкнутым контуром для испытания раздаточных коробок.
Испытываемая раздаточная коробка 8 соединена карданными валами с технологической раздаточной коробкой 9. Система приводится во вращение электродвигателем 5 через муфту 6. Два замкнутых контура системы, наличие которых необходимо для испытания всех шестерен валов и подшипников раздаточной коробки, создаются редукторами 1 и валами 2.
Нагружающие устройства 3 выполнены в виде вращающихся цилиндров. Давление в полостях 11 вращающегося цилиндра создается маслом, поступающим через отверстие 12 от гидронасоса и оказывающим воздействие на лопасти 10, тем самым создаются требуемые крутящие моменты в замкнутых контурах. Для контроля заданной программы испытаний раздаточной коробки в системе предусмотрены преобразователи частоты вращения 4 и крутящих моментов 7.
|
Из за большого объема этот материал размещен на нескольких страницах:
1 2 3 4 5 6 7 8 9 10 11 12 13 14 15 16 17 18 |



