Перед испытаниями подвергают тарировке упругие элементы подвески, снимают характеристики амортизаторов. Затем их устанавливают на автомобиль, который должен иметь номинальную нагрузку, распределенную по осям, как указано в паспорте, при этом давление воздуха в шинах должно соответствовать инструкции. Перед проведением испытаний автомобиль совершает обкаточный пробег 300-500 км по гладкой дороге с умеренной скоростью для осадки пружин и рессор, а также приработки трущихся поверхностей шарниров подвески и амортизаторов.
В протоколе испытаний указывают осадку рессор и пружин, а также все поломки. После испытаний подвеску демонтируют, рессоры, пружины и амортизаторы проверяют на стенде, после чего амортизаторы и шарнирные сочленения разбирают и подвергают микрометражу для определения их износов. Поломки анализируют, производя металлографический анализ. По результатам испытаний делают заключение о соответствии параметров надежности подвески или ее элементов техническим условиям и, если это необходимо, разрабатывают рекомендации по ее доработке.
Для испытания на долговечность торсионов можно использовать стенд с аналогичной принципиальной схемой. Перспективным является испытание на долговечность всей подвески в сборе. Более полное воспроизведение эксплуатационного нагружения подвески автомобиля возможно на стенде при одновременном нагружении колеса (или детали его заменяющей) тремя силами: вертикальной, продольной и боковой, приложенными в зоне пятна контакта.
При испытании на специальных дорогах автополигона получают данные о долговечности всех деталей подвески одновременно. Тип дороги выбирают в зависимости от задач испытания. В большинстве случаев используют кольцевую дорогу с булыжным замощением специального профиля. Режим движения выбирают в зависимости от двух обстоятельств. Во-первых, необходимо получить идентичность разрушения при испытании и в эксплуатационных условиях. Во-вторых, колебания кузова автомобиля при движении по дорогам автополигона не должны сказываться на здоровье водителя.
2.8 Испытания шин и колес
Лабораторные испытания. Работу шины во многом определяют ее упругие или жесткостные характеристики, в частности характеристики радиальной, тангенциальной, боковой и угловой жесткостей, представляющих собой отношение соответственно радиального, тангенциального, бокового усилий, а также момента в месте контакта шин с дорогой к вызываемым ими деформациям шины в соответствующих направлениях.
Для определения радиальной жесткости обычно используют пресс, имеющий механизм нагружения и систему
отсчета деформаций. В шинной промышленности для этой цели применяют стенд ОПШ-30, предназначенный для испытаний металлических образцов на разрыв. Аналогичный стенд, который разработан на базе машины УММ-50, имеется на автомобильном полигоне НАМИ.
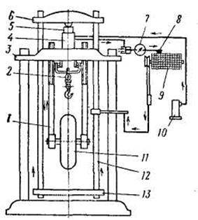
Стенд ОПШ-30 (рисунок88) имеет неподвижную траверсу 3, на которой установлен гидроцилиндр 4.
Его плунжер 5 через подвижную траверсу 6 и тяги 12 перемещает стол 13, воздействующий на шину 11, которая подвешена с помощью тяг 1 к траверсе 3.На этой траверсе укреплен крюк 2 подъемной тали для установки колеса. Давление в гидроцилиндре создается насосом 10 и измеряется силоизмерительным прибором 7, показания которого пропорциональны действующей нагрузке.

Рисунок 88 Стенд ОПШ-30
Стенд оборудован записывающим устройством, барабан которого соединен тросиком с тягой 12 и поворачивается на угол, пропорциональный деформации шины, а перо 8 в зависимости от действующей нагрузки перемещается по образующей барабана 9 и автоматически вычерчивает кривые в координатах усилие - радиальная деформация шины. На стенде кроме характеристик радиальной жесткости определяют площади отпечатков и статические радиусы шин, а также прочность каркаса методом продавливания шины наконечником соответствующей формы с последующим подсчетом работы, затраченной на разрушение, которая характеризует прочность каркаса.
Тангенциальную, или окружную, жесткость шины определяют на установках, принципиальная схема одной из которых дана на рисунке 89.
По верхней штанге 1 установки перемещается груз 2. Это позволяет регулировать вертикальное усилие, прикладываемое к испытуемому колесу 6, путем изменения момента груза 2 относительно опоры 8. Винт 3 служит для поддержания рычага в горизонтальном положении и непосредственно передает усилие через рессору 5 на балку 10, закрепленную на оси стойки 8 и имеющую груз 9, служащий для вывешивания колеса относительно опорной плиты 7.Карданный вал 11 соединяет колесо с храповым устройством 12, собачка 14 которого через сектор 13 и трос связана с винтом 16.

Рисунок 89 Установка для определения тангенциальной жесткости шин
По осевому перемещению винта 16 с учетом передаточного отношения определяют угол закручивания, а по динамометру 15 усилие, которое создается на колесе. Отношение этого усилия к углу поворота колеса - тангенциальная, или окружная, жесткость шины.
Боковую жесткость шины определяют на установках, схема одной из которых изображена на рисунке 90. Испытуемое колесо 6 жестко связано с трубой 3, свободно посаженной на оси, вследствие чего труба может перемещаться вдоль оси и вращаться вокруг нее. Через подшипники труба связана с рамой 4, на которую воздействуют груз 5, прижимая шину к основанию.

Рисунок 90 Установка для определения боковой жесткости шин
Груз 11 через блок и трос 10 создает боковое усилие на колесе. Ось 2 жестко связана со станиной 1, последняя может качаться на шарнире 8, что необходимо для первоначального вывешивания колеса, которое осуществляется с помощью противовеса 9. Боковая деформация шины фиксируется самопишущим устройством 7. По величине отношения боковой силы к боковой деформации шины определяют ее боковую жесткость.
Для определения угловой жесткости шины опирают шину на поворотный диск, взаимодействующий с основанием через шарики. По отношению момента, поворачивающего диск, к углу его поворота подсчитывают угловую жесткость в месте контакта шины с основанием.
Существуют универсальные стенды, которые позволяют определять все перечисленные жесткостные параметры.
Для определения сцепных качеств шин в лабораторных условиях используются те же установки, которые применяются для исследования жесткостных параметров.
Продольный коэффициент сцепления, представляющий собой отношение касательного усилия в месте контакта к нормальной нагрузке на колесе при его скольжении, определяется на установке, которая используется для снятия тангенциальной жесткости шины (см. рисунок 89). Поперечный коэффициент сцепления, характеризуемый отношением боковой силы к нормальной нагрузке на колесе при боковом скольжении колеса, определяется на установке, изображенной на рисунке 89. На этой же установке, если колесо опереть не на неподвижное основание, а на вращающийся барабан или диск с приводом от электродвигателя, можно снимать характеристики бокового увода шин. Однако не менее распространены стенды, на которых боковую силу изменяют поворотом оси вращения колеса по отношению к оси вращения бегового барабана.
Сопротивление качению в лабораторных условиях определяется на стендах с беговым барабаном или вращающимся в горизонтальной плоскости диском. Принципиальная схема стенда с беговым барабаном приведена на рисунок 91.

Рисунок 91 Стенд для определения сопротивления качению шин
Колесо с испытуемой шиной 1 опирается на беговой барабан 2 и имеет привод от электродвигателя 3, а барабан соединен с генератором 4. Разность мощностей электродвигателя и генератора (за вычетом мощности, обусловленной вентиляционными потерями при вращении шины) определит мощность, затрачиваемую на преодоление сопротивления качению колеса, а коэффициент сопротивления качению колеса 1 может быть вычислен по формуле
,
где N - мощность, затрачиваемая на качение колеса по барабану;
Q- нагрузка на колесо;
u- окружная скорость.
Испытания шин на долговечность, включая усталостную прочность каркаса и износостойкость протектора, проводят на шинообкатных станках, схема одного из которых приведена на рисунке 92.

Рисунок 92Шинообкатный станок
Беговой барабан 5 получает привод от электродвигателя 4 и приводит во вращение две испытуемые шины 3. Они установлены на каретках 6, которые, перемещаясь на роликах по направляющим станины, прижимают шины к беговому барабану под действием грузов 1 через угловые рычаги 2. Станок является универсальным, на нем можно проводить испытания шин диаметром до 1400 мм при нагрузке до 45 кН и скорости качения 25-150 км/ч. Для проверки прочности каркаса при воздействии динамических нагрузок на рабочей поверхности барабана укрепляют различных размеров препятствия.
В целях ускорения процесса испытаний на износ шин применяют станки, на которых в процессе обкатки на шину действует крутящий момент, создаваемый гидротормозом, динамомашиной, либо станки с замкнутым контуром мощности. При возрастании крутящего момента от 0,5 до 1 Н ∙ м интенсивность износа при обкатке по барабану со стальной рифленой поверхностью увеличивается в 4,5 раза.
Колеса и ступицы в лабораторных условиях подвергаются главным образом испытаниям на прочность. Прочность ободов исследуется в основном тензометрическим методом, который подробно будет описан ниже при рассмотрении методов испытаний несущих систем. Обод колеса в сборе с шиной, находящейся под давлением, подвергают действию вертикальной и боковой нагрузки. Тангенциальные нагрузки и крутящие моменты не учитываются, так как их влияние на прочность обода незначительно.
Испытания проводят на установках, аналогичных тем, которые применяют при испытании шин. Диски колес подвергают усталостным испытаниям на стендах, схема одного из которых представлена на рисунке 93.
Особенностью стенда является то, что в процессе испытаний колесо 1 с испытуемым диском остается неподвижным. Это позволяет наблюдать процесс возникновения и развития усталостных трещин, которые образуются в результате действия изгибающего момента при вращении несбалансированной массы 2. Масса установлена на валу, который через упругую муфту 3 соединен с электродвигателем 4. Основание стенда смонтировано на упругой подвеске 5. На этом же стенде можно проводить усталостные испытания ступиц колес.

Рисунок 93 Стенд для испытаний дисков колес
Шины в сборе с ободьями подвергают прочностным испытаниям в броневой камере под давлением, доводя его до значения, при котором разрушается шина или обод. Для предотвращения взрыва вместо воздуха в шину нагнетается вода.
Дорожные испытания. В дорожных условиях шины подвергают испытаниям для определения их сцепных качеств, сопротивления качению, характеристики бокового увода, влияния шин на основные эксплуатационные качества автомобиля, а также надежности шин, колес и ступиц в условиях, характерных для эксплуатации. Сцепные качества, сопротивления качению и характеристики бокового увода шин в дорожных условиях определяют на специальных, чаще одноколесных тележках, хотя существуют двух - и трехколесные тележки.
Следует указать, что до сих пор ни в отечественной, ни в зарубежной практике не существует установившихся взглядов относительно схемы и конструкции тележек в зависимости от их назначения. Однако в большинстве случаев одноколесные тележки применяют для определения коэффициента сцепления в продольном направлении и сопротивления качению, а также характеристик бокового увода шин небольших размеров. В последнем случае для создания боковой силы ось поворачивается в горизонтальной плоскости. Для определения коэффициента сцепления шин в поперечном направлении и характеристики бокового увода шин средних и больших размеров рекомендуется использовать двухколесные тележки, поскольку в этом случае при повороте обоих колес навстречу возникающие на них боковые силы нейтрализуют одна другую, не нагружая рамы тележки и траверсы. Как правило, тележки имеют тормозное устройство для регулирования проскальзывания шины относительно дороги вплоть до полного скольжения. Однако имеются конструкции тележек, у которых отсутствует тормоз, а заданное проскальзывание испытуемого колеса обеспечивается выбором определенного рассогласования кинематики качения испытуемого и опорных колес тележки.
Существуют конструкции тележек с активным приводом, на которых можно испытывать шины, как в тормозном, так и в тяговом режиме. Наиболее точно коэффициент сцепления может быть определен на тележках, схемы которых обеспечивают независимость вертикальной нагрузки на колесе от приложенного к нему момента. Наиболее просто это решается применением параллельных горизонтально расположенных шарнирных штанг, связывающих тележку с тягачом, как это сделано на тележке ПКРС-2У (рисунок 94).

Рисунок 94 Тележка для определения коэффициента сцепления дорожного полотна
Прицеп 1 снабжен датчиком 3 коэффициента сцепления, а также датчиком 2 ровности профиля. На тягаче размещены рабочее место оператора, бак 4 для воды, рукоятка управления 5 подачей воды для увлажнения дороги, регистрирующие приборы 6 и педаль 7 для торможения колеса тележки при замерах.
При разработке любой новой модели шины проводят комплекс лабораторно-дорожных испытаний по определению влияния шин на основные эксплуатационные качества автомобиля. Обязательными являются испытания на топливную экономичность, устойчивость и управляемость, скоростные, тормозные и сцепные качества, плавность хода. Для автомобилей высокой проходимости, кроме того, обязательны испытания по определению влияния шин данной модели на проходимость автомобиля, а для легковых автомобилей испытания на шум при работе шин.
При испытаниях используются в основном общепринятые методы. Однако испытания шин имеют особенность, которая заключается в том, что метод замера параметров должен обеспечивать не только качественное, но и количественное сопоставление моделей шин, так как без этого невозможно выбрать лучшую модель, если испытывается несколько моделей. Кроме того, эксперимент должен ставиться с высокой точностью и в одинаковых условиях, чтобы можно было получить достоверные данные и установить различие во влиянии каждой из испытуемых моделей на изучаемое эксплуатационное качество автомобиля. Так, например, в случае определения влияния шин на устойчивость и управляемость автомобиля используется метод, в котором оценочным критерием достоинства шин является кубическое значение средней скорости прохождения специальной слаломной трассы, состоящей из отрезков прямых и поворотов. При этом заезды должны совершаться с максимальной скоростью, а их число при испытаниях каждой шины должно быть не меньше 10. Заезд зачитывается, если при прохождении трассы не будет сбита ни одна вешка. Шины считаются приемлемыми, если кубическое значение скорости прохождения трассы на опытных шинах меньше такого же значения для эталонных шин не более чем на 10%.
Сцепные качества шин определяют в тяговом и тормозном режимах, включая буксование и полное скольжение.
В первом случае автомобиль с испытуемыми шинами буксирует динамометрическую машину, оборудованную гидротормозом, с помощью которого можно плавно увеличивать силу тяги вплоть до буксования колес тягача. Во втором случае динамометрическая машина используется в качестве тягача. Оценочным критерием сцепных качеств шин является сила тяги на крюке, которая определяется с помощью электрического динамометра и записывается на ленту осциллографа либо самопишущего прибора. Длина мерного участка составляет 100 м, а число заездов не менее двух в том и другом направлении.
Сопротивление качению шин в процессе лабораторно-дорожных испытаний определяют, используя метод подсчета пути и времени свободного качения автомобиля, начиная с какой-то начальной скорости, например 50 км/ч до остановки, или методом буксировки автомобиля на испытуемых шинах с замером силы тяги. Устанавливая на один и тот же автомобиль последовательно опытные и эталонные шины, можно получить сравнительные данные по сопротивлению качению шин, как и по всем прочим характеристикам автомобиля, включая топливную экономичность, скоростные, тормозные и другие его качества. При этом для успешного проведения эксперимента необходимо, прежде всего, обеспечить идентичность условий испытаний для исследуемых моделей шин. Важное значение имеет тщательная подготовка автомобиля и шин, включая обязательно прогрев их перед проведением зачетных заездов. Прогрев шин необходимо выполнять в течение не менее 1 ч при скорости, близкой к той, с которой будет проводиться эксперимент, так как только после этого стабилизируется характеристика шины.
Наиболее достоверные результаты о долговечности шин, или ходимости шин, включая износостойкость их протектора и усталостную прочность каркаса, можно получить, испытывая достаточно большое число шин в условиях эксплуатации. В целях сокращения времени испытаний используют метод оценки результатов по неоконченным эксплуатационным испытаниям. С помощью этого метода, опираясь на статистические закономерности, можно с приемлемой степенью точности определить средний пробег шин уже тогда, когда из строя выходит 25- 30% всех испытуемых шин. Тем не менее, время эксплуатационных испытаний продолжительное, в связи с чем для его сокращения организуют ускоренные дорожные испытания. Такие испытания выполняют на автомобилях с полной нагрузкой при больших среднесуточных пробегах на маршрутах, которые могут быть приняты как типовые. Наиболее эффективны ускоренные испытания при их проведении на автомобильном полигоне. В условиях ускоренных испытаний пробег шин меньше эксплуатационного, поэтому их желательно проводить как сравнительные, т. е. параллельно испытывать опытные и стандартные шины, используемые в качестве эталона. Учитывая, что при ускоренных испытаниях шины находятся примерно в одинаковых условиях, число шин каждого варианта может составлять не более 15-20 шт.
Перед испытаниями шин их взвешивают и балансируют, измеряют ширину профиля, в том числе под нагрузкой, глубину протектора в четырех сечениях, отстоящих одно от другого на 90° по окружности шины (одно из сечений проходит через вентиль). В каждом сечении замеряют глубину протектора в нескольких точках, число которых зависит от рисунка протектора, хотя может быть и произвольным, однако при этом обязательно должны быть сделаны замеры посередине протектора и в его крайних точках. В процессе испытаний систематически делают замеры. Они служат исходным материалом для определения износа.
Дорожные испытания колес проводят для выявления прочностных качеств, главным образом в условиях ударных нагрузок о неровности, которые могут вызвать разрушение и погнутости закраин ободьев и разрушение деталей крепления колес к ступице, а также самопроизвольный демонтаж шины с обода или нарушение ее герметичности, если шина бескамерная. Эти испытания проводят, как правило, на дорогах второй категории, имеющих участки с нарушенным покрытием, по бездорожью с глубокой колеей, при движении по которым колеса подвергаются воздействию значительных вертикальных и, что особенно важно, боковых сил.
Прочностные качества дисков колес и ступиц определяют путем специальных ускоренных испытаний во время движения автомобилей по траектории, представляющей собой двойную или одинарную восьмерку. Скорость автомобиля задается наибольшей с учетом требований безопасности. При этом возникают боковые силы, которые нагружают колеса и ступицы изгибающим моментом, позволяя в короткий срок получить данные об их усталостной прочности. При определении прочностных качеств колес и ступиц широко применяется тензометрический метод, позволяющий подробно изучить напряженное состояние детали, выявить зоны концентрации напряжений, а также те области, в которых напряжения малы. На основании полученных материалов делают заключение о равнопрочности обода по сечению и диска, затем увеличивают, если это необходимо, напряжение соответствующей зоны и удаляют часть металла там, где напряжения незначительные. В результате таких мероприятий может быть повышена несущая способность детали и уменьшен ее вес. Возможность изучения напряженного состояния с помощью тензометрирования имеет особое значение для деталей, теоретические методы расчета которых отсутствуют или слабо разработаны. К таким деталям относятся диски колес и ступицы.
2.9 Испытания рам и кузовов
Лабораторные испытания. Рамы и несущие кузова в лабораторных условиях испытывают для определения их жесткостных и прочностных характеристик под действием статических и динамических нагрузок, вызывающих изгиб и кручение несущей системы.
Жесткость и напряженное состояние рам и кузовов при статическом нагружении определяют на стендах, позволяющих воспроизводить нагрузку, которую воспринимает несущая система автомобиля от двигателя, водителя и пассажиров, грузов или багажа, бензинового бака, запасного колеса и других агрегатов. Одним из способов создания нагрузки при испытаниях кузова на изгиб является применение одного нагружающего винта и рычажной системы, распределяющей усилие от винта по отдельным точкам кузова, либо нескольких винтов или каких-нибудь других нагружающих устройств. Для испытаний рам и кузовов на кручение используют специальные стенды.
Деформации и напряжения в разных точках кузова и рамы определяют различными методами, в том числе методом хрупких лаковых покрытий, позволяющих дать качественную оценку напряженности на отдельных участках конструкции по величине и направлению трещин, которые образуются при деформации системы. Для определения величины деформаций, особенно в наиболее напряженных местах, целесообразно использовать механические тензометры - приборы с большим (1000) передаточным числом механизма. Существуют и другие методы, однако в последнее время наиболее распространен метод электротензометрирования, заключающийся в определении деформаций исследуемого объекта с помощью тензорезисторов (тензосопротивлений), схематически показанных на рисунке 95, а.
Основной частью тензорезистора является зигзагообразная, обычно константановая нить 1 из проволоки диаметром 30 мкм либо из фольги толщиной примерно 10 мкм. Применение константана обусловлено большой чувствительностью его к деформации и малой чувствительностью к колебаниям температуры. Сверху и снизу нить закрыта бумагой 2 и 4, к концам нити припаяны медные выводы 3, к которым подводится электрический ток.

Рисунок 95 Конструкция и схема включения тензорезистора
Тензорезистор наклеивают на поверхность детали. При деформации детали будут меняться длина и поперечное сечение нити тензорезистора, что вызывает изменение его сопротивления, а следовательно, и величины протекающего тока. Таким образом, по изменению силы тока в цепи можно судить о величине действующих деформаций в детали, если провести предварительную тарировку. Для увеличения чувствительности тензорезисторы соединяют по мостовой схеме (рисунок 95, б). При этом с помощью одного из резисторов измеряют деформации, например резистором R1; функции резисторов R2 и R3 выполняют резисторы питающего прибора или усилителя. Резистор R4 наклеивают на деталь, которая не деформируется, однако находится с исследуемой в одинаковом температурном состоянии, чем исключается влияние температуры на результаты тензометрирования.
Колебания силы тока, вызванные изменением сопротивления тензодатчиков, усиливаются электронным усилителем и подаются на прибор визуального отсчета, в качестве которого используется микроамперметр, или на записывающий прибор - самописец или осциллограф.
На усталостную прочность рамы и кузова испытывают на стендах-пульсаторах с механическим, электромагнитным и инерционным возбуждением. Общий вид стенда с инерционным возбуждением, на котором проводятся усталостные испытания рам при кручении вокруг продольной оси, показан на рисунке 96.
Основными элементами инерционных стендов являются двухвальные вибраторы, закрепляемые на раме и создающие усилие либо момент, которые изменяются по синусоидальному закону. В этом случае рама 5, установленная на пружинных или резиновых опорах 4, представляет собой упругое звено колебательной системы, а вибраторы 3, связанные с рамой, в совокупности со специальными грузами 1, закрепленными на ярме 2, или без них выполняют роль инерционных элементов.

Рисунок 96 Стенд для усталостных испытаний рам на кручении
Перемещая по раме вибратор, а также изменяя вес грузов, можно создавать различные схемы нагрузок. Статические и динамические реакции, воспринимаемые опорами стендов, фиксируются с помощью динамометрических элементов с тензодатчиками, которые указывают действующие на раму нагрузки. Регулируя частоту вращения и величину эксцентриситета неуравновешенных масс вибратора, изменяют режим испытаний.
С помощью таких стендов можно моделировать многие из типичных, возникающих в эксплуатации поломок лонжеронов, поперечин и заклепочных соединений при минимальных затратах времени и средств на испытания. Вибрационные стенды применяют также при испытаниях кузовов, кабин грузовых автомобилей и оперения.
При испытании кабин, кузовов и их оборудования используют также ударные стенды. На этих стендах испытуемому объекту, укрепленному на платформе, сбрасываемой с определенной высоты, можно сообщать ускорения в диапазоне 0-100g. Величину ускорения регулируют изменением жесткости резиновых прокладок, расположенных между основанием и платформой.
Герметичность кабины и кузова проверяют, например, методом нагнетания в салон воздуха под давлением.
Специальным испытаниям подвергают сиденья для определения жесткости подушки, а также элементов подвески сидений, если они подрессорены (грузовые автомобили).
На звукоизоляцию кузов испытывают в лабораторных условиях на роликовом стенде путем замера уровня шума, подвешивая шумомер упруго на высоте головы пассажиров каждого ряда сидений. Уровень шума измеряют при работе двигателя с максимальной мощностью на каждой передаче, а также в режиме торможения двигателем. В процессе испытаний стекла кабины должны быть подняты, воздухозаборник закрыт, а электродвигатель отопления выключен.
Испытание кузова на водонепроницаемость проводят в дождевальной камере с включенными стеклоочистителями, приборами освещения и сигнализации. Обычно автомобиль находится в камере в течение 15 мин, при этом фиксируется проникновение воды в салон, багажник и отсек двигателя. Не допускается проникновение воды в ответственные части электроаппаратуры, образование конденсата в приборах освещения.
Дорожные испытания. Автомобильные рамы и несущие кузова подвергают дорожным испытаниям для определения их прочности и жесткостных характеристик в условиях комплексного воздействия изгибающих нагрузок и крутящих моментов, обусловленных профилем дороги. Для ускорения испытаний их проводят на участках разбитых дорог обычно с булыжным покрытием и просевшим основанием. Существенно ускорить процесс испытаний без ухудшения их качества возможно при проведении испытаний на специальных дорогах автополигона: «бельгийской мостовой», дороге типа «короткая волна», «разбитый булыжник». Значительно же ускоряется процесс испытаний при применении дороги с искусственными неровностями трапециевидного профиля, которые расположены на полотне дороги в шахматном порядке, с расстоянием между ближайшими неровностями по длине колеи, равным базе автомобиля. При такой схеме расположения неровностей в раме или кузове автомобиля возникают наибольшие нагрузки, а следовательно, в максимальной степени ускоряются испытания, хотя скорость приложения нагрузок является небольшой, так как скорость движения автомобиля по таким неровностям мала. На дороге со сменными препятствиями эффективно могут испытываться также оперение, кузова, кабины грузовых автомобилей, детали их крепления к раме и другие узлы.
Режимы нагружения элементов несущей системы в основном определяет конфигурация неровностей, а также скорость движения автомобиля. Размеры и форму неровностей и режимы движения выбирают при предварительных режимометрических испытаниях, которые заключаются в определении уровня напряжений в характерных точках рамы или несущего кузова при движении автомобиля в типичных условиях эксплуатации, включая самые тяжелые. Запись напряжений проводят обычно с помощью тензодатчиков, сигналы от которых подаются к осциллографу, который их записывает на бумажную ленту.
На рисунке 97 показано расположение измерительной аппаратуры на автомобиле при проведении тензометрирования в дорожных условиях.
Блок питания состоит из аккумуляторной батареи 5 и преобразователя - генератора 1, который вырабатывает напряжение, необходимое для работы усилителя 4.

Рисунок 97 Дорожная тензометрическая установка
От усилителя напряжение подается на тензодатчики 3. Поступающий от них сигнал усиливается, а затем подается на осциллограф 2, который записывает процесс на специальную бумажную ленту.
В последнее время большое распространение получают магнитографы, осуществляющие запись процесса на магнитную ленту. Преимущества такой системы записи заключаются в том, что магнитная лента позволяет зафиксировать больший объем информации по сравнению с бумажной лентой. Это дает возможность производить непрерывную запись на больших отрезках пути, упрощая процесс режимометрирования. Главное же преимущество системы магнитной записи заключается в существенном ускорении статистической обработки информации путем непосредственной подачи сигнала с магнитной ленты на вход электронно-вычислительной машины.
Кузова легковых автомобилей и автобусов, а также кабины грузовых автомобилей испытывают для определения их акустических характеристик. Испытания проводят с применением той же аппаратуры, что и в стендовых условиях, при разгоне автомобиля с максимально возможным ускорением и полностью открытой дроссельной заслонкой, а также при замедлении с полностью закрытой дроссельной заслонкой.
Испытания на водонепроницаемость кузовов и кабин производят путем преодоления автомобилем неглубокого, около 10 см, брода со скоростью 25-30 км/ч, а в условиях полигона, кроме того, путем проезда по участку дороги, оборудованному дождевальной установкой, с максимальной скоростью, допускаемой нормами безопасности.
Для получения достоверных результатов число заездов через брод и участок с искусственным дождем должно быть около десяти.
Кузова подвергают специальным испытаниям на загрязнение путем выполнения нескольких, обычно пяти, заездов по преодолению вязкого неглубокого брода со скоростью до 30 км/ч. После испытаний проверяют визуально и фотографируют загрязнение различных частей кузова, включая двигательный отсек.
Пыленепроницаемость кузова определяют путем выполнения нескольких, обычно трех заездов, со скоростью 30 км/ч по участку дороги, покрытой слоем пыли, следуя на расстоянии примерно 30 м за поднимающим пыль автомобилем. После каждого заезда визуально проверяют проникновение пыли в пассажирское помещение, багажное отделение и двигательный отсек. Результаты проверки отмечают в журнале или путевом протоколе.
2.10 Испытания автомобилей на тягово-скоростные свойства и топливную экономичность
Предварительные измерения и тарировки. Перед началом дорожно-лабораторных или пробеговых испытаний автомобиля, в частности испытаний на тягово-скоростные свойства и топливную экономичность, проводят предварительные измерения для общей оценки технического состояния автомобиля и нахождения некоторых необходимых параметров и коэффициентов.
Тарировка спидометра (указателя скорости автомобиля) производится при движении автомобиля на горизонтальном прямолинейном участке дороги с твердым ровным покрытием. При этом автомобиль проходит определенные отрезки пути с заданными установившимися скоростями.
Истинные скорости прохождения автомобилем мерного отрезка пути (км/ч) подсчитывают по формуле
,
где s - дистанция заезда, м;
τ- время прохождения дистанции, с.
На тарировочном графике по оси ординат откладывают значения абсолютных и относительных (%) поправок с учетом их знака при соответствующих скоростях движения автомобиля, отсчитываемых по оси абсцисс.
Тарировка счетчика пути. Для тарировки счетчика пути автомобиль проходит точно измеренную дистанцию при заданной скорости, затем длина дистанции сопоставляется с показаниями счетчика. Дистанция при тарировке должна быть достаточной для получения точности измерения 0,1-0,2%. В зависимости от цены деления (минимальное показание) счетчика пути (0,1 или 1 км) дистанция заезда должна быть не менее 10 км или 50-100 км. Тарировку проводят на дороге с усовершенствованным гладким покрытием, расположенной в равнинной местности.
Заезды выполняют в двух направлениях, в каждом заезде фиксируют начальное и конечное показание счетчика, а также промежуточные показания - через каждые 10 км.
Ввиду того, что радиус качения ведущих колес автомобиля, непосредственно влияющий на поправочный коэффициент счетчика пути, зависит от скорости движения автомобиля, тарировку следует проводить при определенной скорости, типичной для эксплуатационных условий данного типа автомобиля. Рекомендуемая скорость: для грузовых автомобилей и междугородных автобусов 60 км/ч, специальных грузовых автомобилей и автобусов городского типа 40 км/ч, легковых автомобилей 80 км/ч.
Перед выездом на испытание проверяют и устанавливают согласно указаниям инструкции давление в шинах. Непосредственно перед замером шины должны быть прогреты, для чего производят пробег с заданной скоростью в течение 1 ч или на расстояние 50 км.
Поправочный коэффициент счетчика пути определяют по формуле
,
где S - истинный путь, пройденный автомобилем в заезде, км;
Sсп - путь по счетчику, равный разности конечного и начального показаний счетчика, км.
Следует учитывать, что при износе протектора шин по мере увеличения их пробега, например при ресурсных испытаниях автомобилей, поправочный коэффициент меняется.
Определение радиуса качения колеса производят одновременно с тарировкой счетчика пути. Радиус качения колеса (шины) является условным радиусом, определяющим путь, проходимый центром колеса при заданном количестве оборотов. Другими словами, радиус качения представляет собой частное от деления пройденного автомобилем пути на количество оборотов колеса за этот путь и на 2л. Радиус рассчитывают из выражений:
,
где i0 - передаточное число главной передачи ведущего моста автомобиля (с учетом передаточного числа раздаточной коробки, если она имеется);
iсп - передаточное число, привода спидометра;
ссп - постоянная спидометра: частота вращения валика привода спидометра на 1 км пути (по показаниям счетчика), ссп = 624 об/мин.
Истинный пройденный при опыте путь определяют по дорожным знакам или посредством прибора «путь - скорость - время» (или только путь) с прецизионным (точным) «пятым колесом».
|
Из за большого объема этот материал размещен на нескольких страницах:
1 2 3 4 5 6 7 8 9 10 11 12 13 14 15 16 17 18 |



