Определить реакции стержней, удерживающих грузы F1 и F2. Массой стержней пренебречь. Схему своего варианта см. на рисунке – 1. Числовые данные своего варианта взять из таблицы – 2.

Рисунок – 1
Таблица – 2
№ задачи и № схемы | F1 | F2 |
kH | kH | |
1 | 7 | 3 |
2 | 8 | 5 |
3 | 5 | 2 |
4 | 10 | 4 |
5 | 12 | 6 |
6 | 18 | 4 |
7 | 5 | 2 |
8 | 6 | 1 |
9 | 16 | 7 |
10 | 20 | 8 |
Задачи №№ 11 – 20
Для заданного сечения, составленного из приваренных друг к другу прокатных профилей, определить положение центра тяжести (рисунок – 2, таблица – 3).

Рисунок – 2
Таблица – 3
№ задачи | Профиля | |
1 | 2 | |
11 | швеллер № 10 | двутавр № 14 |
12 | швеллер № 14 | швеллер № 18 |
13 | швеллер № 10 | двутавр № 14 |
14 | швеллер № 16 | двутавр № 18 |
15 | швеллер № 14 | двутавр № 20 |
16 | швеллер № 10 | двутавр № 16 |
17 | швеллер № 12 | швеллер № 8 |
18 | швеллер № 12 | двутавр № 24 |
19 | двутавр № 22 | швеллер № 20 |
20 | швеллер № 14 | двутавр № 20 |
Задачи №№ 21 – 30
Груз массой m, двигаясь по наклонной плоскости (рисунок - 3, схема II) или по горизонтальной плоскости (рисунок - 3, схема II), под действием силы F проходит путь S за время t. Считая движение груза равноускоренным с начальной скоростью V0 = 0 м/с, определить величину силы F, если коэффициент трения равен f. Исходные данные для своего варианта взять из таблицы - 4.

Рисунок – 3 Расчетные схемы
Таблица – 4
Номера задач | Исходные данные | |||||
Номер схемы | m, кг | S, м | б, град | f | t, c | |
21 | 1 | 20 | 10 | 15 | 0,25 | 1,5 |
22 | 2 | 30 | 15 | 25 | 0,35 | 2,5 |
23 | 1 | 25 | 12 | 20 | 0,30 | 2,0 |
24 | 2 | 35 | 18 | 30 | 0,40 | 3,0 |
25 | 1 | 40 | 20 | 35 | 0,35 | 2,5 |
26 | 2 | 45 | 20 | 30 | 0,30 | 2,0 |
27 | 1 | 50 | 18 | 25 | 0,25 | 1,5 |
28 | 2 | 55 | 15 | 20 | 0,20 | 2,5 |
29 | 1 | 60 | 12 | 15 | 0,30 | 2,0 |
30 | 2 | 65 | 10 | 10 | 0,35 | 2,0 |
Задачи №№ 31-40
Двухступенчатый стальной брус, длины ступеней которого указаны на рисунке - 4 (схемы 31-40) нагружен силами F1 и F2. Построить эпюры продольных сил и нормальных напряжений по длине бруса. Определить перемещение ∆l свободного конца бруса, приняв Е = 2 • 105 МПа. Проверить прочность бруса и указать, насколько (в процентах) брус недогружен или перегружен [у] = 160 МПа. Исходные данные для своего варианта взять из таблицы - 5.
Таблица – 5
№ задачи | F1 | F2 | A1 | A2 |
kH | kH | см2 | см2 | |
31 | 12 | 30 | 0,8 | 1,5 |
32 | 22 | 4 | 1,4 | 1,2 |
33 | 20 | 3 | 1,65 | 1,4 |
34 | 11 | 29 | 0,9 | 1,2 |
35 | 19 | 43 | 1,55 | 1,9 |
36 | 26 | 46 | 2,2 | 1,7 |
37 | 23 | 4 | 1,3 | 1,9 |
38 | 15 | 35 | 1,4 | 1,5 |
39 | 19 | 36 | 1,6 | 1,7 |
40 | 35 | 10 | 2,4 | 2,1 |

Рисунок – 4
Задачи №№ 41 – 50
Для двухопорной балки определить реакции опор (рисунок – 5, таблица – 6), построить эпюры поперечных сил и изгибающих моментов. Подобрать сечение балки, составленное из двух швеллеров, если [у] = 160 МПа.

Рисунок – 5
Таблица - 6
№ задачи | F1 | F2 | М |
kH | kH | кН•м | |
41 | 25 | 20 | 15 |
42 | 40 | 25 | 20 |
43 | 30 | 50 | 20 |
44 | 15 | 45 | 30 |
45 | 50 | 60 | 10 |
46 | 65 | 10 | 35 |
47 | 40 | 50 | 30 |
48 | 55 | 15 | 25 |
49 | 60 | 20 | 15 |
50 | 55 | 20 | 15 |
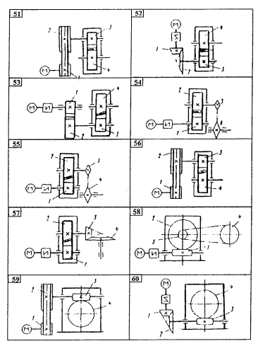
Задачи №№ 51 – 60
Привод состоит из электродвигателя и двухступенчатой передачи, включающей редуктор и открытую передачу. Дайте характеристику привода и его отдельных передач (рисунок – 6). Выполнить геометрический расчет передачи редуктора. Тип передачи (червячная, цилиндрическая прямо - или косозубая). Межосевое расстояние aw и передаточное число взять из таблицы - 7 . При расчете цилиндрических передач принять следующие значения относительной ширины колеса ц = 0,4 для прямозубой передачи и 0,5 для косозубой.

Рисунок – 6
ПЕРЕЧЕНЬ ПРАКТИЧЕСКИХ ЗАНЯТИЙ
Номер темы | Номер практического занятия | Наименование практического занятия |
1. | 1 | Определение равнодействующей системы сил |
1.2 | 2 | Определение координат центра тяжести груза при погрузке/выгрузке грузов |
2.2 | 3 | Подбор поперечного сечения балки из условия прочности |
3.1 | 4 | Чтение и составление кинематических схем редукторов. Кинематический расчет редукторов |
ПЕРЕЧЕНЬ ЭКЗАМЕНАЦИОННЫХ ВОПРОСОВ
Основные задачи статики. Сила, система сил. Равнодействующая и уравновешивающая силы. Свободное и несвободное тело. Связи и реакции связей. Аксиомы статики. Система сходящихся сил. Условия равновесия плоской системы сходящихся сил в векторной и в аналитической форме. Проекция силы на ось, правило знаков. Пара сил. Момент пары. Эквивалентные пары. Условия равновесия системы пар сил. Момент силы относительно точки, правило знаков. Приведение силы к центру. Плоская система произвольно расположенных сил. Приведение плоской системы произвольно расположенных сил к заданному центру. Главный вектор и главный момент системы сил. Теорема Вариньона. Условия равновесия плоской системы произвольно расположенных сил в векторной и в аналитической форме. Три вида уравнений равновесия. Балочные системы. Классификация нагрузок. Виды опор балочных систем. Определение опорных реакций. Определение центра тяжести составных плоских фигур. Основные понятия кинематики: траектория, путь, время, скорость, ускорение. Кинематика точки. Скорость точки, ускорение полное, нормальное и касательное. Частные случаи движения точки. Вращательное движение твердого тела вокруг неподвижной оси. Угол поворота, угловая скорость, угловое ускорение, частота вращения. Частные случаи вращательного движения. Линейная скорость и ускорение точек вращающегося тела. Сложное движение точки: переносное, относительное и абсолютное движение точки. Скорости этих движений. Аксиомы динамики. Две основные задачи динамики. Метод кинетостатики. Сила инерции при прямолинейном и криволинейном движениях. Принцип Д' Аламбера. Виды трения. Законы трения. Коэффициент трения. Работа при поступательном и вращательном движении твердого тела. Работа при вращательном движении твердого тела. Мощность при поступательном движении твердого тела. Мощность при вращательном движении твердого тела. Общие теоремы динамики. Основные задачи сопротивления материалов. Метод сечения. Внутренние силовые факторы в сечениях стержня. Напряжения. Закон Гука при деформации растяжения и сжатия. Внутренние силовые факторы в поперечных сечениях бруса при растяжении и сжатии. Эпюры продольных сил и нормальных напряжений. Диаграмма растяжения пластичных материалов. Механические характеристики материалов. Расчеты на прочность при деформации растяжения и сжатия. Три вида задач, вытекающих из расчета на прочность при деформации растяжения и сжатия. Закон Гука при сдвиге. Внутренние силовые факторы в сечениях бруса при кручении. Эпюры крутящих моментов. Расчеты на прочность при кручении. Три вида задач, вытекающих из расчета на прочность при кручении. Изгиб. Классификация видов изгиба. Внутренние силовые факторы в поперечных сечениях балки при прямом изгибе. Эпюры поперечных сил и изгибающих моментов при изгибе. Нормальные напряжения при чистом изгибе. Расчеты на прочность при изгибе. Три вида задач, вытекающих из расчета на прочность при изгибе. Проектный и проверочный расчеты при изгибе. Рациональные формы поперечных сечений балок. Общие сведения о передачах. Зубчатые передачи. Червячные передачи Решенные передачи. Цепные передачи. Разъемные соединения. Неразъемные соединения. Подшипники.
Используемые источники литературы
1. , , Основы технической механики. Л., Машиностроение, 1990
2. , , Техническая механика. М., Высшая школа, 1991.
3. , Детали машин. М., Высшая школа, 1987.
|
Из за большого объема этот материал размещен на нескольких страницах:
1 2 3 4 5 6 7 8 9 |



