2.2. УКЛАДКА ПАРАШЮТНОЙ СИСТЕМЫ Д-10
Укладка парашютной системы Д-10 производится в шесть этапов.
Первый этап. Проверка наличия и исправности частей основного
парашюта, подготовка их к укладке
Элементы 1-го этапа
1. Вытянуть парашютную систему на всю длину. Запасной парашют (если не требуется его переукладка) и парашютную сумку положить на верхнее окантовочное полотнище.
2. 
Проверить закрепление пара-шюта (стеллажный номер), а также соответствие номеров паспорта и основного купола.
3. Проверить наличие частей.
4. Проверить техническое состояние частей.
5. Проверить монтаж шнуров блокировки на свободных концах.
6. Смонтировать трос звена ручного раскрытия в гибкий шланг и вставить кольцо в карман.
7. Снять с ранца страхующий парашютный прибор, произвести его внешний осмотр и положить на верхнее окантовочное полотнище.
8. Проверить положение строп и отсутствие их запутывания.
9. При необходимости распутать стропы.
Порядок выполнения элементов этапа

Расстилают полностью укладочное полотнище (1) (рис. 2.32) и закрепляют костылями. Накрывают укладочное полотнище подстилочным полотнищем (4), вынимают парашютную систему из сумки, кладут на середине укладочного полотнища (стола) и вытягивают на всю длину. Раскладывают отделяемые части в следующем порядке: стабилизирующую с-стему (10) кладут справа от вершины купола (12) и камеры основного парашюта (11); укладочные принадлежности (5) – на расстоянии 2 м от подстилочного полотнища (4); кольцо звена ручного раскрытия после осмотра вставляют в карман на главной лямке подвесной системы, а трос пропускают в шланг. Складывают парашютную сумку (6) и вместе с запасным па-рашютом (7) и парашютным прибором АД-3У-Д-кладут на верхнее окантовочное полотнище (2).
Вначале проверяют номера на паспорте парашюта и основном куполе. Убедившись в их соответствии, приступают к проверке технического состояния парашютной системы. Берут камеру стабилизирующей системы, убеждаются в исправности карабина (4) (рис. 2.33), надежно ли пришиты ленты крепления карабина к камере и металлические кольца (2), не повреждена ли ткань камеры (1) и исправны ли завязки. После проверки камеру стабилизирующего парашюта кладут на верхнее окантовочное полотнище рядом с запасным парашютом. При осмотре стабилизирующей системы и камеры основного парашюта проверяют, нет ли на них порывов и ожогов ткани, нарушений строчек в местах крепления усилительных лент (3) и строп, повреждений карманов, сот (7), съемных резиновых сот (9), уздечек, петли (5), эластичного кольца (8), фартуков (10). Проверяют узел соединения (6) и наличие закрепки в месте крепления парашютного звена к уздечке камеры и купола основного парашюта. В случае обнаружения порыва резиновых сот их снимают и заменяют новыми.
При осмотре основного парашюта выполняют следующее. Кладут парашют на подстилочное полотнище так, чтобы номер купола и клеймо завода-изготовителя находились сверху. Вершину купола крепят уздечкой к костылю, удерживающему торец укладочного полотнища, или к другому приспособлению. Один человек берет основной парашют за стропы у кром -
____________________ ки, второй – за ткань купола между кромкой и вершиной и, перебирая стропы, производят осмотр купола по полотнищам. Осматривают материал купола по всей поверхности, при этом проверяют, нет ли порывов строчек и ткани купола, нет ли пятен неизвестного происхождения. Осматривают стропы, начиная от нижней кромки до пряжек-полуколец. Обнаружив петлю на стропах, нить петли заправляют под оплетку стропы с помощью иглы при равномерном натяжении стропы. Проверяют положение строп и отсутствие запутывания их, для чего берут пучки строп от верхних свободных концов подвесной системы и проходят с ними до кромки купола, убеждаясь в том, что стропы делятся на верхнюю и нижнюю группы. Верхняя группа строп, в свою очередь, должна делиться на правую и левую. Контрольные стропы № 24, 1А и 1Б должны располагаться сверху и не пересекаться с другими стропами на всем протяжении от свободных концов до кромки купола.
Осматривая стропы управления, убеждаются, что нет нарушений зигзаг-строчки в местах их пришивки к стропам купола основного парашюта.
При осмотре подвесной системы проверяют ее металлические детали: карабины и их пружины, кольца, пряжки (изогнутые, полукольца и др.), скобы крепления запасного парашюта. На металлических деталях не должно быть коррозии и других повреждений.

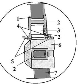
Проверяют монтаж шнуров-блокировок (2) свободных концов (1) (рис. 2.35), наличие на них закрепки из капроновой нити, исправность лент и строчек подвесной системы и кармана (6) для кольца (5). При применении парашютной системы с использованием перекатов свободных концов подвесной системы шнуры-блокировки свободных концов снимают. Для этого аккуратно разрезают закрепку концов шнура, развязывают узлы и удаляют шнуры-блокировки.
Проверяют крепление пряжек с зубчатыми перемычками (8) к лямкам наспинно-плечевых обхватов (7) в районе меток (11). К двойным пряжкам на главной лямке присоединяют регулирующие ленты (рис. 2.37), а к двойным кольцам – ленты подтяга углов ранца.

Осматривая ранец, проверяют, не деформирована ли рама жесткости, нет ли порывов ткани клапанов и дна ранца, исправны ли карман и завязки
__________________________________

для крепления парашютного прибора, надежно ли закреплены кольцо для контровки петли парашютного звена и кольцо для крепления камеры со стабилизирующим парашютом, исправна ли резиновая сота на правом клапане ранца.
Проверяют исправность шланга звена ручного раскрытия и крепление его к ранцу, пришивку регулирующих лент и петель крепления подвесной системы к дну ранца, лент подтяга углов ранца, а также обращают внимание, не повреждены ли ткань и ленты ранца, проверяют исправность ранцевых карабинов и лент крепления запасного парашюта.
При осмотре двухконусного замка проверяют, надежно ли он крепится к ранцу, нет ли на двухконусном замке вмятин, забоин, коррозии и грязи, нет ли препятствий открытию и закрытию затвора. При обнаружении на замке грязи и пыли их необходимо удалить сухой тряпкой.
Осматривая звено ручного раскрытия, убеждаются в том, что нет повреждений и заусенцев на проволочной петле, не нарушены ее оплетка и опайка, нет порывов нитей троса и надежна заделка ограничителя троса. После проверки кольцо (5) вставляют в карман (6) на главной лямке подвесной системы, а трос (4) продевают в шланг (3) (рис. 2.35).
При осмотре парашютной сумки проверяют, нет ли порывов ткани и повреждений на ручках, наличие и исправность стягивающего шнура и металлической бирки. Убедившись, что сумка исправна, ее аккуратно складывают и кладут на укладочное полотнище.
Парашютный прибор АД-3У-Д-165 кладут на верхнее окантовочное полотнище рядом с запасным парашютом (на сложенную парашютную сумку).
Если при проверке парашютной системы будут обнаружены дефекты, то ее ремонт или замена неисправных частей должны производиться в мастерской по ремонту ВДТ. После устранения дефектов укладка парашютной системы разрешается только после проверки офицером воздушно-десантной службы.
Элементы контроля 1-го этапа
1. Подсоединение подвесной системы к ранцу:
- пряжки с зубчатой перемычкой подсоединены к наспинно-плечевым
обхватам;
- регулирующие ленты подсоединены к пряжкам главной лямки.
2. Установка кольца звена ручного раскрытия в карман на главной лямке подвесной системы и продевание троса в шланг.
3. Наличие шнуров-блокировок, если парашютная система применяется без переката свободных концов. (Отсутствие шнуров-блокировок при применении парашютной системы с перекатом свободных концов).
4. Правильность монтажа расчековочного устройства (при расстегнутой текстильной застежке).
5. Отсутствие запутывания строп.
6. Узел соединения петли парашютного звена с уздечками купола и камеры основного парашюта, наличие закрепки на петле.
7. Исправность парашютного прибора (проверяет техник по приборам
и автоматическим устройствам).
Положение для контроля этапа
Укладывающий – опустившись на одно колено лицом к проверяющему, держит ранец левой рукой вертикально. В этой же руке держит петлю троса звена ручного раскрытия и резиновую соту правого клапана ранца, правой рукой представляет к проверке расчековочное устройство при расстегнутой текстильной застежке.
Помогающий – стоя у вершины купола, в правой руке держит узел соединения уздечек купола основного парашюта и его камеры с петлей парашютного звена, представляет для проверки закрепку на петле. В левой руке на уровне пояса удерживает за вершину купол стабилизирующей системы.
Второй этап. Укладка купола основного парашюта
и надевание камеры на него
Элементы 2-го этапа
1. На петлю стропы № 12 наложить петли строп № 13А и 13Б, расправить полотнище, закрыв щель между стропами № 13А и 13Б.
2. Представить положение строп и первого полотнища для контроля.
3. Уложить левую половину купола (до заводского клейма) и зафиксировать ее тремя грузиками.
4. Перекинуть правую часть купола на уложенную левую половину.
5. Уложить правую половину купола.
6. Устранить промежуток между правой и левой половинами купола.
7. Подогнуть сначала правую часть кромки и основу купола, затем левую на ширину камеры.
Надеть камеру на купол. Проверить правильность укладки купола и надевания камеры на купол.Порядок выполнения элементов этапа
Находят стропу № 12, обозначенную красной или оранжевой муфтой у кромки купола, и кладут ее по осевой линии укладочного полотнища, весь остальной купол размещают справа от нее. На петлю стропы № 12 кладут петлю стропы № 13А, полотнище купола, расположенное между этими стропами, расправляют до вершины купола. На петлю стропы № 13А кладут петлю стропы № 13Б, слегка натягивают стропы и полотнище купола, чтобы закрыть щель между стропами № 13А и 13Б. Фиксируют положение купола тремя грузиками из комплекта укладочных принадлежностей: один грузик кладут на кромку первого полотнища, второй – у кромки остальной части купола, третий – у вершины щели. Представляют положение строп № 12, 13А и 13Б и первого полотнища купола для кон-троля командиру подразделения и офицеру воздушно - десантной службы, при этом укладывающий стоит у кромки основного купола лицом к проверяющему, помогающий – за ним.


После проверки снимают с купола грузики и приступают к укладке основного купола. Захватывают петлю стропы № 14 и накладывают ее на петлю стропы № 13Б. Кромку, заключенную между ними, сложенную вдвое, вытягивают перпендикулярно к стропам и накладывают на первое полотнище купола. Полотнище купола разравнивают от нижней кромки до вершины купола. Захватывают петлю стропы № 15 и повторяют всю операцию укладки (рис. 2.38). Укладывают таким же образом остальную часть левой половины купола до клейма завода-изготовителя и по всей длине уложенной части купола накладывают грузики. Перебрасывают правую половину купола на уложенную левую половину, стропу № 12 сдвигают вправо на 20 – 30 мм от середины подстилочного полотнища и на нее укладывают правую половину купола, начиная со стропы № 11. В правильно уложенном куполе полотнище с клеймом завода-изготовителя должно находиться сверху и справа.
Если правая и левая половины находятся на значительном расстоянии друг от друга, то их аккуратно сдвигают. Для этого необходимо, удерживая у кромки купола пучок строп, потянуть купол за уздечку.

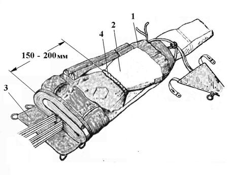
Уложенный купол подгибают по всей длине (от нижней кромки до вершины) на ширину камеры основного парашюта, при этом сначала правую половину купола, а затем левую (рис.2.39). На уложенный и свернутый купол накладывают грузики. После этого надевают на купол камеру основного парашюта. Укладывающий берет камеру ниже съемных резиновых сот (рис.2.40) и надевает ее на уложенный купол основного парашюта, при этом по-могающий, аккурат-но прижимая купол к подстилочному полотнищу, пере-двигается вслед за надеваемой каме-рой. Надевают ка-меру основного па-рашюта на купол до тех пор, пока ее кромка с попереч-ной усилительной лентой не окажется на одном уровне с нижней кромкой купола (2), при этом специальный рукав камеры должен располагаться внутри, а эластичное кольцо – находиться на расстоянии 150 – 200 мм от нижней кромки купола (рис. 2.41). Вершина купола и стабилизирую-щая система дол-жны распола-гаться с правой стороны.
Вырав-нивают нижнюю кромку. Берутся за свободные кон-цы подвесной си-стемы и, удержи-вая кромку купо-ла в камере, легко встряхивая, вытягивают стропы на всю длину. Затем
расправляют складки ткани, образовавшиеся в средней части купола (рис. 2.42 а). Для этого, удерживая
|
|
|
Элементы контроля 2-го этапа
1. Правильность укладки купола и положения строп.
Находясь у ранца, взять в одну руку стропы верхних свободных концов, в другую – стропы № 24, 1А и 1Б. Поднимая и разделяя их, подойти к кромке купола и проверить деление купола пополам на верхнюю и нижнюю части. Стропы № 1А, 1Б и 24 находятся сверху (рис. 2.43): слева – № 24 и 1А, справа – № 1Б. Пучок внутренних дополнительных строп выходит из середины кромки купола.
2. Контроль положения камеры основного парашюта:
- усилительная лента, нашитая по периметру основы камеры, находится на одном уровне с кромкой уложенного купола;
- соты находятся сверху;
- эластичное кольцо нижнего основания камеры находится внутри камеры на расстоянии 150 – 200 мм от кромки купола;
- часть купола от изгиба до вершины и стабилизирующая система расположены справа от нижней части купола;
- купол проходит в горловину верхней части камеры основного парашюта, а не пропущен между лентами уздечки камеры.


Положение для контроля
Укладывающий – опустившись на одно колено у кромки купола лицом к проверяющему, рукой удерживает в обхват все стропы.
Помогающий – опустившись на одно колено у ранца лицом к проверяющему, одной рукой приподнимает ранец, на предплечье второй руки держит верхние свободные концы (№№ 1 и 4) и стропы управления (рис. 2.44).







