Блок частоты и защиты (БЧЗ) состоит из блока частоты и блока защиты Блок частоты осуществляет формирование сигналов, пропорциональных отклонению частоты Δƒ и ее производной ƒ', используемых для регулирования возбуждения генератора с целью повышения устойчивости при качаниях и переходных режимах в энергосистеме Блок защиты предназначен для отключения каналов Δƒ и ƒ' при увеличении либо напряжения, либо частоты выше предельно допустимых значений, а также при одновременном их повышении выше заданного значения, например при сбросе нагрузки.
Блок форсировки (БФ) обеспечивает форсировку возбуждения генератора при коротких замыканиях. На вход БФ подается напряжение ΔUг. Оно сравнивается с напряжением уставки Uу4 которое принимается таким, что в нормальном режиме сигнал на выходе БФ отсутствует. Он появляется при коротких замыканиях в сети, поступает на вход блока усиления (БУ) и приводит к форсировке возбуждения. После отключения к. з. и восстановления напряжения генератора до 1,02 Uу4 форсировка возбуждения снимается с задержкой около 0,2 с. Уставку срабатывания можно изменять в пределах от 0,8 до 0,9 номинального напряжения генератора ступенями, равными 0,01 Uг ном. Коэффициент возврата БФ 1,02.
Блок обратной связи (БОС) обеспечивает в системе регулирования возбуждения жесткую отрицательную обратную связь по напряжению ротора. В состав БОС входят делитель напряжения ДН, преобразователь напряжения и измерительный элемент. Делитель напряжения предназначен для согласования напряжения ротора с входными параметрами устройства. Напряжение с выхода БОС поступает на вход БУ и используется как сигнал отрицательной обратной связи.
Блок усиления (БУ) предназначен для суммирования всех сигналов регулирования, усиления результирующего сигнала и воздействия на схему управления СУф форсированным VST1 и схему управления СУР рабочим VST2 выпрямителями тиристорного возбудителя.
Блок контроля (БК) осуществляет контроль исправности устройства АРВ. Если ΔUr на входе УАРВ не равно нулю, а напряжение выхода Uвых отсутствует, то УАРВ неисправен. Информация о неисправности формируется в виде сигнала.
Блок промежуточных реле (БПР) используется для гальванической развязки выходных цепей сигнализации УАРВ от цепей оперативного напряжения электростанции.
§ 12.11. РЕГУЛИРОВАНИЕ НАПРЯЖЕНИЯ И РЕАКТИВНОЙ МОЩНОСТИ В СИСТЕМАХ ЭЛЕКТРОСНАБЖЕНИЯ УСТРОЙСТВАМИ АВТОМАТИЧЕСКОГО РЕГУЛИРОВАНИЯ ВОЗБУЖДЕНИЯ
Выше рассмотрены принципы действия устройств АРВ на примере генератора, работающего изолированно на собственную нагрузку. В действительности на электростанциях имеется несколько параллельно работающих генераторов. При наличии на генераторах устройств АРВ они при соответствующей настройке регуляторов все участвуют в регулировании напряжения на общих шинах. В систему электроснабжения может входить несколько электростанций, связанных между собой линиями электропередачи. Поддержание напряжения в контрольных пунктах системы обеспечивается совместной работой всех электростанций. При этом уровни напряжений отдельных узлов системы должны быть такими, чтобы перетоки реактивной мощности создавали минимальные потери. С некоторым допущением считают, что регулирование напряжения связано только с изменением реактивной нагрузки генераторов. Устройства АРВ должны действовать так, чтобы в процессе совместного регулирования напряжения параллельно работающие генераторы загружались наиболее экономично.
Устройства АРВ могут осуществлять регулирование напряжения по астатической и статической характеристикам, представляющим собой зависимость напряжения в заданной точке от реактивной составляющей тока статора генератора. В рассматриваемом случае параллельной работы генераторов автоматически регулируется напряжение Uш на шинах генераторного напряжения. При астатическом регулировании напряжение в заданной точке поддерживается постоянным независимо от реактивной составляющей тока статора Irsinφ (рис. 12.26, а, характеристика 2). При этом распределение реактивной мощности между генераторами оказывается неопределенным. Генератор, снабженный устройством АРВ с меньшей зоной нечувствительности (отклонение напряжения в обе стороны от заданного уровня, при котором устройство не действует), окажется перегруженным, а генератор с менее чувствительным устройством АРВ не будет участвовать в восстановлении напряжения и окажется недогруженным.

Заданного распределения реактивной мощности между генераторами можно достичь, если регулировать напряжение по статической характеристике (рис. 12.26, а, характеристика 3). Наклон характеристики определяется коэффициентом статизма kCT≈tga. Изменяя коэффициент kCT, можно достичь желаемого распределения реактивной мощности между генераторами в процессе автоматического регулирования напряжения. Мощность распределяется обратно пропорционально коэффициентам статизма kcт1 и kст2 (рис. 12.26, б). Это справедливо для устройства АРВ без зоны нечувствительности. С появлением зоны нечувствительности точность распределения реактивной нагрузки нарушается. Погрешность увеличивается с ростом зоны нечувствительности и уменьшением коэффициента kст. При статическом регулировании напряжение с изменением реактивной нагрузки не остается постоянным. Пределы его изменения определяются коэффициентом kст и не превышают ΔUг=(0,02...0,03)Uг. ном.
Если требуется автоматически регулировать напряжение в какой-либо точке системы, то устройства АРВ должны изменять напряжение на шинах в соответствии со статической характеристикой 1 (рис. 12.26, а). Крутизна характеристики определяется падением напряжения на участке от шин до заданной точки системы.
Рассмотренные выше устройства АРВ пропорционального действия являются статическими, обеспечивающими характеристику типа 3 (рис. 12.26, а). Для возможности изменять наклон характеристики 3 и обеспечивать характеристику типа 1 они снабжаются специальным устройством установки статизма. В процессе эксплуатации возникает необходимость изменять уровень регулируемого напряжения. Это достигается с помощью задающего элемента (элемента изменения уставки), позволяющего изменять напряжение, подводимое к корректору напряжения. Преднамеренное снижение напряжения на входе корректора устройство АРВ воспринимает как понижение регулируемого напряжения и увеличивает ток Iper. Тем самым устанавливается новый, более высокий уровень напряжения. Для уменьшения уровня напряжения необходимо с помощью задающего элемента повысить напряжение на входе корректора. Изменение уровня напряжения сопровождается параллельным перемещением характеристики регулирования вдоль оси Uш (рис. 12.26, б).
В системах электроснабжения при наличии нескольких электростанций целесообразно работу каждой станции организовать по определенному режиму. При этом возникает необходимость в групповом управлении возбуждением генераторов станции. Процесс регулирования напряжения усложняется. Принципы выполнения устройств группового регулирования возбуждения рассмотрены в [77, 102, 103].
§ 13.1. ВИДЫ ПОВРЕЖЕДНИЙ И НЕНОРМАЛЬНЫХ РЕЖИМОВ РАБОТЫ ТРАНСФОРМАТОРОВ
В процессе эксплуатации возможны повреждения в трансформаторах и на их соединениях с коммутационными аппаратами. Могут быть также опасные ненормальные режимы работы, не связанные с повреждением трансформатора или его соединений. Возможность повреждений и ненормальных режимов обусловливает необходимость установки на трансформаторах защитных устройств.
Основными видами повреждений являются многофазные и однофазные короткие замыкания в обмотках и на выводах трансформатора, а также «пожар стали» магнитопровода. Однофазные повреждения бывают двух видов: на землю и между витками обмотки (витковые замыкания). Наиболее вероятны многофазные и однофазные короткие замыкания на выводах трансформаторов и однофазные витковые замыкания в обмотках. Значительно реже возникают многофазные короткие замыкания в обмотках. Для групп однофазных трансформаторов они вообще исключены. Защита от коротких замыканий выполняется с действием на отключение поврежденного трансформатора. Для ограничения размеров разрушений ее выполняют быстродействующей.
Замыкание одной фазы на землю опасно для обмоток, присоединенных к сетям с глухозаземленными нейтралями. В этом случае защита должна отключать трансформатор и при однофазных коротких замыканиях в его обмотках на землю. В сетях с нейтралями, изолированными или заземленными через дугогасящие реакторы, защита от однофазных замыканий на землю с действием на отключение устанавливается на трансформаторе в том случае, если такая защита имеется в сети. При витковых замыканиях в замкнувшихся витках возникает значительный ток, разрушающий изоляцию и магнитопровод трансформатора, потому такие повреждения должны отключаться быстродействующей защитой. Но использовать для этого токовые, дифференциальные или дистанционные защиты не представляется возможным. В самом деле, при малом числе замкнувшихся витков ток в поврежденной фазе со стороны питания может оказаться даже меньше значения номинального тока, а напряжение на выводах трансформатора практически не изменится.
Опасным внутренним повреждением является также «пожар стали» магнитопровода, который возникает при нарушении изоляции между листами магнитопровода, что ведет к увеличению потерь на перемагничивание и вихревые токи. Потери вызывают местный нагрев стали, ведущий к дальнейшему разрушению изоляции. Защиты, основанные на использовании электрических величин, на этот вид повреждения тоже не реагируют, поэтому возникает необходимость в применении специальной защиты от витковых замыканий и от «пожара стали». Для маслонаполненных трансформаторов такой защитой является газовая, основанная на использовании явлений газообразования. Образование газа является следствием разложения масла и других изолирующих материалов под действием электрической дуги при витковых замыканиях или недопустимого нагрева при «пожаре стали». Электрическая дуга возникает и при многофазных коротких замыканиях в обмотках. Поэтому газовая защита является универсальной защитой от всех внутренних повреждений трансформатора.
Ненормальные режимы работы трансформаторов обусловлены внешними короткими замыканиями и перегрузками. В этих случаях в обмотках трансформатора появляются большие токи (сверхтоки). Особенно опасны токи, проходящие при внешних коротких замыканиях; эти токи могут значительно превышать номинальный ток трансформатора. В случае длительного прохождения тока (что может быть при коротких замыканиях на шинах или при неотключившемся повреждении на отходящем от шин присоединении) возможны интенсивный нагрев изоляции обмоток и ее повреждение. Вместе с этим при коротком замыкании понижается напряжение в сети. Поэтому на трансформаторе должна предусматриваться защита, отключающая его при появлении сверхтоков, обусловленных неотключившимся внешним коротким замыканием.
Перегрузка трансформаторов не влияет на работу системы электроснабжения в целом, так как она обычно не сопровождается снижением напряжения. Кроме того, сверхтоки перегрузки относительно невелики и их прохождение допустимо в течение некоторого времени, достаточного для того, чтобы персонал принял меры к разгрузке. Так, согласно нормам, перегрузку током Iпер==1,6Iит. ном можно допускать в течение t=45 мин. В связи с этим защита трансформатора от перегрузки при наличии дежурного персонала должна выполняться с действием на сигнал. На подстанциях без дежурного персонала защита от перегрузки должна действовать на разгрузку или отключение.
К ненормальным режимам работы трансформаторов относится также недопустимое понижение уровня масла, которое может произойти, например, вследствие повреждения бака.
§ 13.2. ГАЗОВАЯ ЗАЩИТА
Газовая защита, как указывалось выше (см. § 13.1), основана на использовании явления газообразования в баке поврежденного трансформатора. Интенсивность газообразования зависит от характера и размеров повреждения. Это дает возможность выполнить газовую защиту, способную различать степень повреждения,

Рис. 13.1. Газовое реле защиты трансформатора
и в зависимости от этого действовать на сигнал или отключение. Основным элементом газовой защиты является газовое реле KSG, устанавливаемое в маслопроводе между баком и расширителем (рис. 13.1, а). Ранее выпускалось поплавковое газовое реле ПГ-22. Более совершенно реле РГЧЗ-66 с чашкообразными элементами 1 и 2 (рис. 13.1, б).
Элементы выполнены в виде плоскодонных алюминиевых чашек, вращающихся вместе с подвижными контактами 4 вокруг осей 3. Эти контакты замыкаются с неподвижными контактами 5 при опускании чашек. В нормальном режиме при наличии масла в кожухе реле чашки удерживаются пружинами 6 в положении, указанном на рисунке. Система отрегулирована так, что масса чашки с маслом является достаточной для преодоления силы пружины при отсутствии масла в кожухе реле. Поэтому понижение уровня масла сопровождается опусканием чашек и замыканием соответствующих контактов Сначала опускается верхняя чашка и реле действует на сигнал. При интенсивном газообразовании возникает сильный поток масла и газов из бака в расширитель через газовое реле. На пути потока находится лопасть 7, действующая вместе с нижней чашкой на общий контакт. Лопасть поворачивается и замыкает контакт в цепи отключения трансформатора, если скорость движения масла и газов достигает определенного значения, установленного на реле. Предусмотрены три уставки срабатывания отключающего элементы по скорости потока масла: 0,6; 0,9; 1,2 м/с. При этом время срабатывания реле составляет tс. р=0,05...0,5 с. Уставка по скорости потока масла определяется мощностью и характером охлаждения трансформатора.

В нашей стране широко используется газовое реле с двумя рообразными пластмассовыми поплавками типа BF80/Q. Реле имеет некоторые конструктивные особенности. Однако принцип действия его такой же, как и других газовых реле.
Монтаж газовой защиты связан с выполнением некоторых специфиче требований: для беспрепятственного прохода газов в расширитель должен небольшой подъем (1,0—1,5% у крышки трансформатора и 2—4% у маслопровода) от крышки к расширителю (рис. 13.1, а); нижним конец маслопровода, входящий внутрь трансформатора, должен заделываться с внутренней поверхности крышки, а нижний конец выхлопной трубы — вдаваться внутрь транформатора; контрольный кабель, используемый для соединения газового реле с панелью защиты или промежуточной сборкой зажимов, должен иметь бумажную, а не резиновую изоляцию, так как резина разрушается под действием масла; действие газовой защиты на отключение необходимо выполнить с самоудерживанием, чтобы обеспечить отключение трансформатора в случае кратковременного замыкания или вибрации нижнего контакта газового реле, обусловленных толчками потока масла при бурном газообразовании.
В схеме защиты на переменном оперативном токе (рис. 132) самоудерживание достигается путем шунтирования нижнего контакта газового реле KSG верхним замыкающим контактом реле KL Самоудерживание автоматически снимается после разрыва цепи отключения вспомогательным контактом Q1.2 выключателя Q1.
Достоинства газовой защиты: высокая чувствительность и реагирование практически на все виды повреждения внутри бака сравнительно небольшое время срабатывания; простота выполнения, а также способность защищать трансформатор при недопустимом понижении уровня масла по любым причинам. Наряд этим защита имеет ряд существенных недостатков, основной которых — нереагирование ее на повреждения, расположенные бака, в зоне между трансформатором и выключателями. Защита может подействовать ложно при попадании воздуха в бак трансформатора, что может быть, например, при доливке масла, по ремонта системы охлаждения и др. Возможны также ложные с батывания защиты на трансформаторах, установленных в районах, подверженных землетрясениям. В таких случаях допускав возможность перевода действия отключающего элемента на сигнал. В связи с этим газовую защиту нельзя использовать в качестве единственной защиты трансформатора от внутренних повреждений.
Необходимо также отметить, что начальная стадия витков замыкания может и не сопровождаться появлением дуги и газообразованием. В таком случае газовая защита не действует и витковые замыкания в трансформаторе могут длительно оставаться незамеченными. Можно создать защиту, позволяющую обнаружить витковые замыкания в начальной стадии и при отсутствии газообразования. Одна из таких защит основана на изменении пространственного распределения поля рассеяния обмоток [106].
Газовая защита обязательна для трансформаторов мощностью Рт≥6300 кВ∙А. Допускается устанавливать газовую защиту и на трансформаторах меньшей мощности. Для внутрицеховых подстанций газовую защиту следует устанавливать на понижающих трансформаторах практически любой мощности, допускающих это по конструкции, независимо от наличия другой быстродействующей защиты.
§ 13.3. ТОКОВЫЕ И ТОКОВЫЕ НАПРАВЛЕННЫЕ ЗАЩИТЫ ТРАНСФОРМАТОРА ОТ КОРОТКИХ ЗАМЫКАНИЙ
Газовая защита не действует при к. з. на выводах трансформатора и в его соединениях с выключателями, поэтому для отключения трансформатора при этих повреждениях на трансформаторах небольшой и средней мощности (менее 6,3 MB∙А) предусматривается токовая защита от многофазных к. з. Она содержит обычно две ступени: первую — токовую отсечку без выдержки времени, третью — максимальную токовую защиту. В ряде случаев она дополняется защитой от однофазных к. з. на выводах низшего напряжения трансформатора, питающего четырехпроводную сеть напряжением 0,4—0,23 кВ. В городских замкнутых сетях напряжением до 1 кВ для селективного отключения поврежденного трансформатора должна предусматриваться токовая направленная защита.
Токовая защита со ступенчатой характеристикой выдержки времени от многофазных к. з. Защита устанавливается со стороны источника питания непосредственно у выключателя, при этом в зону действия защиты входят трансформатор и его соединения с выключателями. Срабатывая, защита действует на отключение выключателей. Она может быть выполнена посредством вторичных реле прямого и косвенного действия на переменном и постоянном оперативном токе. Схема соединения трансформаторов тока и реле выбирается в соответствии с указаниями, приведенными выше (см. § 5.2), с учетом действия защиты при всех возможных видах коротких замыканий.
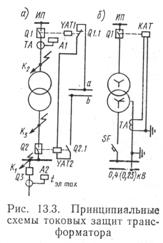
Селективность отсечки обеспечивается выбором ее тока срабатывания по выражению IIс. з=kIотсI(3)к. внmах. Максимальный ток внешнего короткого замыкания I(3)к. внmах определяется при повреждении на шинах низшего напряжения в точке К1 (рис. 13.3,а). Коэффициент отстройки kIотс в зависимости от типа реле, как и для отсечки линии (см. § 5.3), принимается kIотс=1,2...2,0, при этом отсечка без выдержки времени оказывается отстроенной от бросков тока намагничивания.

Сопротивление трансформатора обычно достаточно велико, поэтому при к. з. со стороны питания (точка K2) ток повреждения значительно превышает I(3)к. внmах. Указанное соотношение токов дает возможность использовать токовую отсечку без выдержки времени в качестве защиты трансформаторов, причем она обычно обладает достаточной чувствительностью к коротким замыканиям со стороны питания (kч≥2,0). Недостаток отсечки без выдержки времени состоит в неполной защите трансформаторов. В ее зону действия входит только часть обмотки. Защита не реагирует на короткие замыкания на выводах и в соединениях с выключателем со стороны низшего напряжения (точка K3).
Для отключения коротких замыканий на выводах и в соединениях с выключателем со стороны низшего напряжения (точка К3) токовая отсечка без выдержки времени дополняется максимальной токовой защитой, полностью защищающей трансформатор и являющейся вместе с тем его защитой от сверхтоков внешних коротких замыканий. Получается защита со ступенчатой характеристикой выдержки времени без второй ступени. Схема такой защиты на оперативном переменном токе рассмотрена выше (см. § 5.7, рис. 5.19).
При установке на трансформаторе защита действует на отключение выключателя со стороны высшего напряжения. Его вспомогательный контакт Q1.1 управляет цепью электромагнита YAT2 отключения выключателя Q2, установленного со стороны низшего напряжения (как показано на рис. 13.3, а). Параметры максимальной токовой защиты выбирают в соответствии с изложенным выше: выдержка времени — на ступень Δt больше максимальной выдержки времени tэл max защит предыдущих элементов, а ток срабатывания — из условия предотвращения срабатывания защиты при перегрузках по выражению (5.7). При этом коэффициент чувствительности должен быть kч≥1,5 при коротких замыканиях на низшей стороне трансформатора и kч≥1,2 при коротких замыканиях в конце линий, отходящих от шин низшего напряжения.
На параллельно работающих трансформаторах защита со ступенчатой характеристикой выдержки времени сохраняет селективность только при коротких замыканиях в зоне первой ступени; селективное действие третьей ступени обеспечивается лишь при наличии на шинах низшего напряжения параллельно работающих трансформаторов секционного выключателя с защитой, имеющей меньшую выдержку времени.

Рис. 13.4. Токи однофазного короткого замыкания на стороне низшего напряжения трансфор матора с соединением обмоток Y/Y0-12
Защита имеет недостаточную чувствительность к витковым замыканиям и не обеспечивает требуемого быстродействия при многофазных повреждениях в обмотке. Для повышения чувствительности к повреждениям внутри бака защита со ступенчатой характеристикой дополняется газовой защитой.
Защита от коротких замыканий на землю. В распределительных сетях широко применяются понижающие трансформаторы с соединением обмоток Y/Y0 (звезда — звезда с заземленной нейтралью) и четырехпроводной системой со стороны низшего напряжения 0,4—0,23 кВ. В такой системе однофазные к. з. на землю и замыкание фазы на нейтральный провод (рис. 13.3, б и 13.4, а) сопровождаются значительными токами повреждения и представляют опасность для трансформатора. Поэтому на понижающих трансформаторах с высшим напряжением до 35 кВ предусматривают действие защиты на отключение при указанных повреждениях на стороне низшего напряжения трансформатора в пределах до шин 0,4 (0,23) кВ. При этом короткие замыкания на отходящих от шин присоединениях должны отключаться защитой этих присоединений.
При коротком замыкании, например фазы В, на нейтральный провод ток Iк(1), как и любой ток однофазного к. з., содержит составляющие прямой I1к(1), обратной I2к(1) и нулевой Iок(1) последовательностей, причем Iк(1)=I2к(1)=Iок(1) (рис. 134, в).
Мощность рассматриваемых трансформаторов обычно во много раз меньше мощности питающей энергосистемы, поэтому ток Iк(1) можно определить без учета сопротивлений системы:
Iк(1)=3U/(Xlт+Х2т+Х0т), (13.1)
где Xlт, X2т, X0т—соответственно сопротивления прямой, обратной и нулевой последовательности трансформатора, Ом.
Для трансформатора при любой группе соединения обмоток Xlт=X2т. сопротивление X0т для двухобмоточного трансформатора с указанной схемой соединения обмоток определяется сопротивлением намагничивания Х0нам, которое значительно больше сопротивления Xlт[14]. Например, для трансформатора мощностью 1000 кВ∙А, напряжением 10,5/0,4 кВ сопротивление X0т≈9Xlт, поэтому ток Iк(1) оказывается в несколько раз меньшим токов трехфазного Iк(3) и двухфазного Iк(2) коротких замыканий:
Iк(3)=Uф/Х1т и Iк(2)=
Uф/(Х1т+Х2т).
|
Из за большого объема этот материал размещен на нескольких страницах:
1 2 3 4 5 6 |



