7. Многоэтажные каркасные здания следует рассчитывать на воздействие крена, вызванного подработкой, по деформированной схеме, если продольные силы в стойках каркаса от расчетных нагрузок составляют свыше 10 % значения критической силы.
8. Расчетные схемы соответственно поперечных и продольных рам одноэтажных каркасных зданий (черт. 3, 4 настоящего приложения) следует выбирать в соответствии с табл. 1 настоящего приложения.

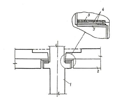
Черт. 2. Конструкция узла сопряжения ригелей с колонной
1 - колонна; 2 - шарнирно-опертый ригель; 3 - закладная деталь ригеля; 4 - нижняя и верхняя связевые пластины; 5 - закладная деталь колонны

Черт. 3. Схемы поперечных рам одноэтажных каркасных зданий
а-е - типы соединений элементов каркаса

Черт. 4. Схемы продольных рам одноэтажных каркасных зданий (с применением и без применения кранов)
а-в - типы соединений элементов каркаса
Таблица 1
Группы подрабатываемых территорий | Группы условий строительства на просадочных грунтах | Номер чертежа | Соединения | Дополнительные мероприятия по обеспечению устойчивости здания | |
колонн и ригелей | колонн и фундаментов | ||||
А. Поперечные рамы | |||||
IV; IVк; III | 0; I; II; III, IV; | 3, а | Шарнирно-неподвижное | Жесткое | - |
II; I; IVк | II¢; III¢ | 3, б | То же | Для колонн средних рядов - жесткое, крайних - шарнирно-неподвижное | - |
II; I; IVк | 0; I; I¢; II¢; III¢ | 3, в | Для группы колонн - шарнирно-неподвижное, для группы колонн шарнирно-подвижное | Жесткое | - |
I; IV; IIIк | 0; I; I¢; II¢; III¢ | 3, г | Шарнирно-неподвижное | Для колонн средних рядов - жесткое, крайних - шарнирно-неподвижное | Установка связей-распорок в одном уровне |
IIк; Iк; | 0 | 3, д | То же | Для колонн средних рядов - жесткое, крайних - шарнирно-неподвижное | То же, в двух уровнях |
II; I; IVк | I¢; II¢ | 3, е | Шарнирно-неподвижное | Шарнирно-неподвижное | Установка в средней части здания вертикальных связей между колоннами и связей-распорок между фундаментами |
Б. Продольные рамы | |||||
IV; IVк; III | 0; I; II; III, IV; I¢ | 4, а | Шарнирно-неподвижное | Жесткое | То же |
II; I; IVк | 0; I; I¢ | 4, б | То же | « | « |
I; IIк; IIIк | 0; I¢ | 4, в | « | « | Установка в средней части здания вертикальных связей с применением линейно-подвижных соединений, а между фундаментами - связей-распорок в двух уровнях |
Примечание. В зданиях с мостовыми кранами на подрабатываемых территориях групп Iк и частично IIк, а также на просадочных грунтах групп 0, I и II целесообразно предусматривать выравнивание каркаса. |
9. При проектировании одноэтажных каркасных производственных зданий следует, как правило, применять колонны с шагом 6 и 12 м.
Каркасы с колоннами шагом крайних рядов 6 м и средних 12-18 м с применением подстропильных конструкций допускается предусматривать на подрабатываемых территориях групп IV, III и IVк и на просадочных грунтах групп I-IV, II¢, III¢.
10. При проектировании одноэтажных каркасных зданий не следует учитывать перемещения оснований фундаментов:
вертикальные, если разность осадок фундаментов колонн при расчете на особое сочетание нагрузок не превышает значений, приведенных в СНиП 2.02.01-83 «Основания зданий и сооружений»;
горизонтальные, если их значения не превышают значений предельных горизонтальных перемещений, приведенных в табл. 2 настоящего приложения.
11. В случаях, когда несущая способность колонн, опирающихся на отдельно стоящие фундаменты, недостаточна для восприятия усилий от деформаций земной поверхности, в дальнейшее усиление колонн или уменьшение длины отсеков нецелесообразно, следует предусматривать устройство между фундаментами связей-распорок в одном или двух уровнях.
Связи-распорки в двух уровнях целесообразно применять на подрабатываемых территориях групп I, Iк-IIIк и на просадочных грунтах групп I-0, а также на площадках со сложными горногеологическими условиями, рассмотренными в пп. 4.26 и 4.27.
Для уменьшения в связях-распорках усилий от воздействия сдвижения грунта следует устраивать шов скольжения по площади контакта подошвы фундамента с бетонной подготовкой.
Таблица 2
Вид каркаса | Предельные горизонтальные перемещения оснований фундаментов | |
в плоскости рамы | в направлении связей | |
Из железобетонных колонн сечением площадью 0,15 м2 | 0,002h | 0,004h |
То же, сечением площадью от 0,1 до 0,15 м2 включ. | 0,004h | 0,006h |
Из стальных колонн | 0,010h | 0,020h |
Примечание. За величину Н принимается высота колонн первого яруса рамы. |
Если перечисленные мероприятия не обеспечивают требуемой несущей способности колонн, следует изменить конструктивную схему здания или предусмотреть устройство фундаментов в виде перекрестных балочных систем, сплошных железобетонных плит и т. д.
12. Устойчивость одноэтажных каркасных зданий (отсеков) в поперечном направлении следует обеспечивать защемлением колонн в фундаментах (см. черт. 3 настоящего приложения). В продольном направлении по всем средним рядам колонн необходимо устраивать блоки жесткости с вертикальными связями между колоннами (см. черт. 4 настоящего приложения). В пределах блока жесткости фундаменты колонн необходимо связывать связями-распорками.
Допускается обеспечивать устойчивость каркасов одноэтажных зданий установкой специальных элементов жесткости (диафрагм, колонн увеличенного сечения, многоэтажных пристроек) по продольным и поперечным рядам колонн.
Для снижения усилий в вертикальных связях при неравномерных деформациях основания их следует выполнять с применением линейно-подвижных соединений, допускающих возможность перемещения колонн связевого блока при неравномерных осадках относительно связей (см. черт. 4, в настоящего приложения).
Устойчивость многоэтажных зданий в поперечном и продольном направлениях следует обеспечивать защемлением колонн в фундаментах, устройством между колоннами вертикальных связей или выполнением жестких узлов соединений ригелей с колоннами.
Вертикальные связи, обеспечивающие пространственную устойчивость здания или его отсеков, следует группировать в пространственные блоки в средней части здания (отсека). Для обеспечения совместной работы каркаса и пространственных блоков необходимо, чтобы перекрытия имели достаточную жесткость в горизонтальной плоскости.
13. Предельные длину и ширину отсека каркасного здания следует определять в зависимости от расчетных величин деформаций земной поверхности.
Деформационные швы между отсеками следует проектировать в виде парных рам или шарнирно-подвижного опирания пролетных конструкций и перекрывать их компенсаторами с заделкой эластичным заполнителем (пороизолом, поролоном, макропористой резиной и т. п.).
14. Для покрытий одноэтажных каркасных зданий следует, как правило, применять наиболее простые статически определимые конструкции.
15. Целесообразность применения неразрезных систем покрытий следует в каждом случае обосновывать статическим расчетом на неравномерные деформации основания.
16. Применение в качестве покрытий складчатых, тонкостенных пространственных конструкций (сводов-оболочек) и т. п. должно быть обосновано статическим расчетом с учетом воздействия неравномерных деформаций основания, динамических воздействий технологического оборудования, подвесных или мостовых кранов, необходимости (в отдельных случаях) выравнивания здания и других факторов.
17. Для защиты покрытий каркасных зданий от попадания воды при повреждениях кровли вследствие неравномерных деформаций основания в местах примыкания перекрытия к торцовым и продольным (при внутреннем водостоке) стенам следует устраивать в местах примыкания покрытий соседних пролетов компенсаторы (с теплоизоляцией на деформационных швах), а также проклеивать места установки компенсаторов и швы между плитами покрытия внутри гидроизоляционного ковра дополнительными полосами рубероида шириной 1 м.
18. В качестве ограждающих конструкций для каркасных зданий следует применять унифицированные крупноразмерные стеновые панели, обеспечивая их податливое крепление к элементам каркаса здания таким образом, чтобы нагрузки на ограждающие конструкции от деформирования каркаса были минимальными или совсем исключались.
Стеновые ограждающие конструкции следует закреплять в двух углах по горизонтали шарнирно-подвижно, а в двух других - шарнирно-неподвижно. Допускаемую разность осадок смежных колонн здания Dh следует определять по формуле

где Dn - величина зазора между стеновыми панелями;
l - расстояние между осями смежных колонн;
Нn - высота стеновой панели.
19. При применении самонесущих каменных стен следует предусматривать их разрезку у колонн каркаса здания с опиранием на рандбалки и креплением к элементам каркаса. Внутренние стены, проходящие по осям каркаса здания, следует крепить к колоннам гибкими анкерами и предусматривать зазоры не менее 50 мм в местах примыкания к наружным стенам, плитам и ригелям и в местах пересечения их технологическими и санитарно-техническими трубопроводами.
20. Жесткие полы по грунту (бетонные, ксилолитовые и др.) необходимо проектировать с разрезкой их на карты со сторонами не более 6 м. Ширину шва между картами следует определять по формуле (4) п. 4.31 и формуле (1) рекомендуемого приложения 1, в которых за величину L и L0 следует принимать расстояние между центрами смежных карт в рассматриваемом направлении. Швы между картами следует заделывать эластичным заполнителем (битумной мастикой, пороизоловым жгутом и др.). Допускается использовать бетонный армированный пол в качестве связей-распорок. В этом случае его не следует разрезать на карты.
21. Стены лестничных клеток допускается использовать в качестве блоков жесткости, обеспечивающих пространственную устойчивость здания (отсека).
Размеры проемов в перекрытиях под оборудование и коммуникации следует назначать с учетом их возможных взаимных смещений в горизонтальной плоскости. Необходимо предусматривать возможность рихтовки оборудования в процессе подработки.
22. В производственных зданиях в качестве подъемно-транспортных средств следует отдавать предпочтение подвесному и напольному подъемно-транспортному оборудованию.
Для обеспечения нормальной работы кранов следует предусматривать возможность рихтовки подкрановых конструкций, регулировки подвесок.
23. В зданиях с мостовыми кранами следует применять разрезные подкрановые балки.
В местах разделения здания на отсеки следует предусматривать консольное опирание подкрановых балок или устройство специальных балок-компенсаторов, деформационную способность которых следует определять в зависимости от ожидаемой величины деформационного шва.
24. Габариты приближения кранов к элементам здания необходимо назначать с учетом возможных рихтовок крановых путей. Допускается увеличение высоты надкрановой части колонны или применение металлических подкрановых балок с пониженной опорной частью.
25. Величина наклона подкранового пути мостовых кранов, вызванного деформациями земной поверхности, не должна превышать следующие предельные значения:
в поперечном направлении i = 410-3;
« продольном « i = 610-3.
Необходимую степень рихтовки путей и габариты приближения кранов следует определять исходя из расчетных деформаций земной поверхности и предельных значений наклонов подкрановых путей.
После окончания активной стадии сдвижения земной поверхности подкрановые пути должны быть отрихтованы в соответствии с Правилами устройства и безопасной эксплуатации грузоподъемных кранов.
ПРИЛОЖЕНИЕ 6
Обязательное
БЕСКАРКАСНЫЕ ЗДАНИЯ
1. Бескаркасные здания на подрабатываемых территориях и просадочных грунтах следует проектировать по жестким или комбинированным конструктивным схемам, не допускающим прогрессирующего обрушения частей зданий при повреждении отдельных несущих конструкций:
с продольными несущими стенами и поперечными диафрагмами жесткости (стены лестничных клеток, лифтовых шахт и др.);
с поперечными и продольными несущими стенами.
Примечание. Надземную часть бескаркасных жилых и общественных зданий следует, как правило, проектировать по жесткой конструктивной схеме.
2. Несущие стены зданий следует располагать, как правило, симметрично относительно продольной и поперечной осей зданий и обеспечивать равномерное распределение жесткостей по длине и ширине здания.
Поперечные стены следует проектировать сквозными на всю ширину здания. В случае, если по планировочным требованиям нарушается сквозное расположение поперечных стен, необходимо предусматривать устройство их связи с внутренней продольной стеной, которое должно обеспечивать совместную работу продольных и поперечных стен как единой перекрестной системы. При этом смещение поперечных стен допускается на величину (в осях) не более 0,6 м.
Величина смещения продольных стен допускается не более 1,8 м, при этом место излома продольных стен должно быть связано с поперечными несущими стенами.
3. Конструкции бескаркасных зданий, в том числе зданий со встроенными помещениями, следует проектировать как элементы единой пространственной системы для восприятия усилий от приходящихся на них нагрузок и воздействий неравномерных деформаций основания. С этой целью необходимо предусматривать:
устройство замкнутых фундаментного и цокольного поясов по всем наружным и внутренним стенам;
устройство в крупноблочных и кирпичных зданиях поэтажных железобетонных поясов, располагаемых в уровне перемычек или перекрытий по всем наружным и внутренним стенам, а в панельных зданиях - поэтажных поясов, совмещенных с конструкциями наружных и внутренних стеновых панелей;
соединение конструкций фундаментов с надфундаментными конструкциями с вертикальными связями;
соединение панелей перекрытий между собой и с несущими стенами, а также заливку швов между панелями цементным раствором марки 100.
В панельных зданиях допускается совмещение фундаментного и цокольного поясов с конструкциями цокольных железобетонных панелей.
4. Типовые проекты зданий должны предусматривать общие объемно-планировочные и конструктивные решения надземной части. Конструктивные решения подземной части следует разрабатывать в нескольких вариантах применительно к различным условиям строительства.
5. Деформационные швы в бескаркасных зданиях следует предусматривать в виде парных поперечных стен. Толщина стен должна отвечать теплотехническим требованиям, предъявляемым к зданиям в зависимости от расчетной температуры наружного воздуха.
|
Из за большого объема этот материал размещен на нескольких страницах:
1 2 3 4 5 6 7 8 |



