ЛЕКЦИЯ № 4
Механизация профилактической обработки скота и птицы
1. ВИДЫ ПРОФИЛАКТИЧЕСКОЙ ОБРАБОТКИ
2. ТЕХНИЧЕСКИЕ СРЕДСТВА ПРОФИЛАКТИЧЕСКОЙ ОБРАБОТКИ
1
Среди ветеринарных мероприятий, направленных на предупреждение заболеваний с.-х. животных важное значение занимает дезинфекция.
Дезинфекция – уничтожение возбудителей заразных болезней во внешней среде или устранение их из элементов этой среды.
Дезинсекция – уничтожение насекомых, приносящих вред человеку.
Дератизация – уничтожение грызунов, носителей возбудителей некоторых болезней, опасных для человека и животных.
Дезинфекцию разделяют на профилактическую, текущую и заключительную.
Профилактическая – 2 раза в год (уничтожение микроорганизмов, выделяемых животными - бактерионосителями).
Текущая – не допустить заражения здоровых животных.
Заключительная – после снятия карантина.
Перед дезинфекцией помещение тщательно моется водой под давлением (очистить от навоза). Через 2…3 часа мойку повторяют.
Используемые для дезинфекционных мероприятий машины и агрегаты должны отвечать определенным ветеринарно-техническим требованиям, которые позволяют повысить эффективность дезинфекции за счет повышения:
- температуры дезинфицирующего раствора (горячая вода лучше взаимодействует с агентом);
- давления жидкости и степени ее распыления (сократится расход жидкости).
Дезинфекцию производят методами орошения и аэрозолей. Для орошения используют 2 % горячий раствор (80 оС) едкого натра, осветленный раствор хлорной извести и 1 % раствор формальдегида. Распыление жидкости необходимо производить при достаточно высоком давлении в 3…5 атм. При низком давлении нельзя получить хорошую дисперсность.
2
Все технологическое оборудование ветеринарно-санитарного и лечебно-профилактического назначения можно подразделить по назначению, мобильности и особенностям применения:
1. Универсальные мобильные машины: ветеринарная дезинфекционная машина ВДМ-2; дезинфекционный автомобильный агрегат АД-Ф-1, машина МДВ-Ф-1;
2. Мобильные агрегаты для гидроочистки, дезинфекции и дезинсекции растворами: дезинфекционный ветеринарный агрегат АДВ; дезинфекционные установки ДУК-1, ЛСД-ЗМ; опрыскиватели на мотороллере - MP5-2, на мотоцикле-КДУ-1;
3. Машины и оборудование для комплексов: передвижные - дезинфекционная самоходная установка на электрокаре УДС, дезинфекционная передвижная установка УДН-М, моечно-дезинфекционные установки ОМ-22613, OМ-22614 стационарное оборудование - блок дезинфекционного оборудования БДО, растворный блок РБ;
4. Портативные дезинфекционные аппараты с ручным приводом: ОРД-1, АО-2, ОРПГ-А, «Север-У», Д-39, «Дезинфаль», «КЗ»; моторные: с бензодвигателем ОМП-2 «Олень», «ПБДУ-2», с приводом от электродвигателя ДУБ-1;
5. Опыливатели: ручной вентиляторный РВД-1, портативный генератор порошковых аэрозолей, распылитель электрозаряженных порошков;
6. Аэрозольная техника: для дезинфекции и дезинсекции помещений - генераторы аэрозольные ГА-2, АГ-УД-2, ААС, PAI'-1, PAA-1, ЦАГ, MAI-З, АПП, АГП, ПАК; для аэрозольной иммунизации, вакцинации, ингаляционной терапии - САГ-1, САГ-1РН, РСС5К-3, ДАГ-2, ЦАГ, МАГ-3, ДГЧ; распылители электрозаряженных аэрозолей;
7. Установки для обработки кожного покрова животных: купочные - проплывные ванны, осевая купочная ванна ОКВ, передвижная установка для профилактической обработки овец; душевые для овец — с двухсторонним загоном, дезинфекционно-душевая установка ДДП-2 (на автоприцепе), стационарная душевая установка для обработки крупного рогатого скота от эктопаразитов; для дезакаризации основных видов животных.;
8. Дезинфекционные камеры: автомобильные - ДА-2, ДА-З, огневая паровоздушная пароформалиновая ОППК, дезинфекционная паровая КС-З, пароформалиновая стационарная ВФС-2/1,3, стационарные - ВФС-3/1,8, ВФА-2/1,3 и другие; оборудование дезинфекционной камеры ОДК для обработки яиц перед инкубацией;
9. Огневые установки: для сжигания трупов и боенских отходов, для огневой дезинфекции в пчеловодстве, для oгневого обеззараживания поверхностей;
10. Установки для производства дезинфицирующих растворов: автоматизированная электролизная ЭРД-01; электролизные ЭН-1,2, ЭН-5, ЭН-25;
11. Установки для обеззараживания кормов и сырья, пораженных микрофлорой: для обеззараживания зерновых кормов и сырья, для электротермической обработки кормов и др.;
12. Оборудование для обеззараживания и улучшения свойств воды: «Поток», УВ-0,5М и др.;
13. Оборудование для обеззараживания воздуха в помещениях и дезодорации дурно пахнущих газов: ультрафиолетовые бактерицидные облучатели ОБУ, ОБП, ОБН, электростерилизатор для очистки воздуха, аэроионовентиляционная установка;
14. Оборудование для обеззараживания навоза и стоков тепловым методом, озоном: обеззараживатель стоков ОСП-20; для обеззараживания формальдегидом и др.;
15. Оборудование для обеззараживания продуктов животноводства (пастеризаторы молока, для мойки и обеззараживания товарных яиц);
16. Оборудование для приготовления кормолекарственных смесей: стационарное, передвижная установка УКС-1;
17. Оборудование для мойки и дезинфекции фляг, молочных резервуаров, пастеризаторов: установка для безразборной мойки пластинчатых пастеризаторов
Д7-ОМГ, мойка механическая для промывки и дезинфекции молочных цистерн ММТ-1, пропариватель фляг ПФ-М и др.;
18. Светильники специальные (СМ-35, СМ-28, СН-62 и др.), установки для освещения помещений (ПРУС), светотехнические средства для борьбы с летающими насекомыми;
19. Установки для ультрафиолетового облучения животных: УО-4, ОМУ-74
(УГД-3), УОК-1, УГД-2, Э0-1, ОРКИ-1, ОРК-2 и др.;
20. Установки для инфракрасного и комбинированного обогрева молодняка животных и птицы: для поросят - ЭИС-11-И1 «Комби»; для ягнят — ЭИС-0,37-И1 «Руно»; для цыплят - брудер БП-1А; облучатели инфракрасные ОРИ-1,
ЭИС-0,25-И1, ОВИ-1, ОВИ-2 и др.;
21. Автоматизированные комбинированные установки для ультрафиолетового облучения, местного обогрева, освещения и ионизации воздуха: ИКУФ-1М, «Луч», «Эрико», «Комфорт», «Кулон», «Кубок»;
22. Установки для активного моциона животных: УМС-80, электропогонялка ЭПУ-5;
23. Станки специальные: аппарат для подвешивания крупных животных, станки СФС-1, СОВ-2, СВ-ЗО, ФОМ0-2, ФСВ-1, дезинфекционно-обмывочный станок и др.;
24. Оборудование для приготовления и разбрасывания отравленных приманок: смеситель СЗП-100, разбрасыватель РПГ-100, ранцевый разбрасыватель дератизационной приманки РП-1 и др.;
25. Специальные автомобили: автоветамбулатория АВА, передвижная ветеринарная поликлиника на шасси автомобиля УАЗ-452, скорая ветеринарная помощь СВП, для перевозки туш павших животных модели 3610 (на шасси ГАЗ-53Б) и 3748 (на ГАЗ-66);
26. Машины для химической защиты растений, имеющие длинные напорные рукава (до 100 м) с брандспойтами и широкозахватные распылительные штанги (до 25 м);
27. Оборудование для диагностики: вектор-электрокар - диоскоп ВЭКС-0,2, электрокардиографы «Фотон», «Малыш» и другие, электрокардиоскоп ЭКСП-0,2, электротермометры РТ - 01 и др.;
28. Безыгольные инъекторы: БИ-7, ИП-1, БИ-12, «Струя-1» и др.
29. Оборудование для физиотерапии и рентгенологии: аппараты - рентгеновский переносной «Арман-1», аппарат ультразвуковой ветеринарный терапевтический ВУТ-1, микроволновой терапии ЛУЧ-58-1, ультравысокочастотной
терапии УВЧ-66 и др.;
30. Кипятильник дезинфекционный Э-67 с автоматическим управлением, устройство для электроотделения последа у коров ЭП-2 и т. п.
Дезинфекционная установка ДУК-1 предназначена для обслуживания зоны хозяйств, расположенных на большой территории, и для укомплектования ветеринарно-санитарных отрядов. При помощи установки проводят дезинфекцию
животноводческих помещений холодными или горячими дезрастворами, побелку их взвесью свежегашеной извести или мела, опрыскивание или мытье животных подогретыми растворами. ДУК-1 используют для дезинфекции складов, скотоперегонных пунктов, вагонов и других хозяйственных объектов.
Установка смонтирована на шасси автомобиля ГАЗ-52-04. Она состоит из цистерны для рабочего раствора вместимостью 1020 л, котла для нагрева раствора, четырех баков для концентрированных дезрастворов и топливного бака для работы топки котла, ящиков для принадлежностей и рукавов, компрессорной установки. В комплект установки входят приспособление для заполнения химикатами, приспособление для обработки местности и вертикальных объектов, два раздаточных рукава длиной 20 и 10 м, заборный рукав длиной 8 м, брандспойты со сменными распылителями и душевой насадкой, контрольно-измерительные приборы: манометр, мановакуумметр, термометр.
Цистерна имеет горловину; герметически закрываемую крышкой на болтах. На крышке смонтированы предохранительный клапан пружинного типа, ограничивающий давление в цистерне до 0,25 МПа, и лючок, герметически закрываемый фланцем, для заливки воды в цистерну шлангом из водопровода.
В нижней части цистерны имеется отверстие с фланцем для присоединения приемно-раздаточного трубопровода. На днище смонтированы водомерные смотровые стекла.
В обечайку горловины цистерны вварен патрубок трубопровода давления и вакуума. Трубопровод давления предназначен для создания в цистерне давления. Нижний конец его соединен с клапанной коробкой, что обеспечивает соединение выбросной трубы двигателя с полостью цистерны. Управление клапаном коробки выведено в кабину водителя. При наклоне рычага в переднее положение клапан под действием пружины закрыт и перекрывает трубопровод к цистерне. При наклоне рычага в крайнее заднее положение клапан открыт. При этом выбросной коллектор через напорный трубопровод соединен с цистерной, а заслонка перекрывает выбросную трубу. В среднем положении клапан и заслонка находятся в полуоткрытом положении. Трубопровод вакуума соединяет всасывающий коллектор двигателя автомобиля с полостью цистерны. Во всасывающий коллектор двигателя автомобиля ввернут штуцер, к которому присоединен один конец трубопровода. Другой конец соединен с патрубком напорной трубы. Трубопровод вакуума имеет вентиль, управление которым выведено в кабину водителя. По трубопроводу из цистерны высасывают воздух для создания вакуума. Котел вместимостью 25 л имеет водяную рубашку, змеевик, топку с форсункой и дымовую трубу. С цистерной котел соединен гибким рукавом так, что жидкость из нее поступает в змеевик, в рубашку и выходит через патрубок в верхнюю часть. На котле установлен предохранительный клапан и термометр. Компрессорное устройство состоит из компрессора, установленного на головке блока двигателя автомобиля с приводом от вентилятора через ременную передачу, двух ресиверов вместимостью по 21 л каждый, рассчитанных на максимальное давление 0,8 МПа. Устройство позволяет при подъезде к объекту создать резервное давление в ресиверах, обеспечивающее длительную работу установки. Приспособление для обработки местности и вертикальных объектов включает изогнутую трубу с отверстиями, с резьбовой крышкой и двумя стойками и рукав резинотканевый с накидной гайкой для подсоединения трубы к штуцеру цистерны.
Перед выездом на объект баки заполняют концентрированными дезрастворами, топливом при помощи специального приспособления (рис. 1). Снимают пробку с горловины соответствующего бачка 21 и навертывают на нее накидную гайку приспособления. Конец длинного рукава 22 опускают в емкость с дезраствором, а конец рукава 23 присоединяют накидной гайкой к вентилю 24 цистерны 15. В цистерне создают разрежение работающим двигателем, а вентиль 24 открывают. При этом разрежение по рукаву 23 распространяется в бачок 21 и происходит его заполнение по рукаву 22. Уровень раствора в бачке контролируют через, смотровое стекло. После заполнения бачка закрывают вентили 24 и 11, выравнивают давление в цистерне с атмосферным путем полуоткрытия клапана коробки 7, снимают приспособление и укладывают шланги в ящик, а горловину бачка закрывают пробкой.
Разрежение в цистерне 15 создают посредством всасывания воздуха по трубопроводу и работающим двигателем 9 автомобиля через всасывающий коллектор 10 при открытом вентиле 11. При этом клапан коробки 7 закрыт (рычаг поставлен в переднее положение). Разрежение в цистерне может достичь 0,08 МПа.
Давление в цистерне, необходимое для распыления раствора, создают компрессией выбросных газов двигателя автомобиля или компрессорным устройством.
Для обеспечения давления компрессией выбросных газов пускают двигатель автомобиля, открывают клапан коробки 7 (рычаг переводят в заднее положение) при закрытых вентилях 12 и 24. При этом выбросные газы из коллектора 8 не выходят в глушитель 5, а по трубопроводу 13 направляются в цистерну 15.

Рисунок 1 - Конструктивно-технологическая схема ДУК-1:
1 - заборный рукав; 2 - ресиверы; 3 - клапан; 4 - компрессор; 5 глушитель; 6 - манометр; 7 - клапанная коробка; 8 - выбросной коллектор; 9- двигатель автомобиля; 10 - всасывающий коллектор; 11, 12, 14, 20, 24, 29, 35, 35,36 - вентили; 13 - напорный трубопровод; 15 - цистерна; 16 - мановакуумметр; 17 - предохранительный клапан; 18 - люк; 19 - топливный бак; 21- бак концентрированных дезсредств; 22 - заборный рукав; 23 - соединительный рукав; 25 - смотровые стекла; 26 - топливопровод; 27 - котермометр; 30, 33 - брандспойты; 31, 34 - напорные рукава; 32 - форсунка.
При давлении в цистерне 0,12...0,18 МПа закрывают клапан коробки 7 и останавливают двигатель. При создании давления в цистерне 15 компрессорным устройством в ресиверах 2 обеспечивают давление до 0,6...0,8 МПа работающим компрессором 4 при закрытом вентиле 12. При открытии этого вентиля сжатый воздух из ресиверов 26 поступает по трубопроводу 13 в цистерну 15. При показании мановакуумметром 16 давления 0,20...0,25 МПа вентиль 12 закрывают. Давление в ресиверах контролируют по манометру 6. Предохранительный клапан 17 регулируют на давление в цистерне не более 0,25 МПа. При подготовке установки к работе развертывают и присоединяют к ней рабочие рукава, заполняют ее водой из водопровода или из вспомогательного источника. В отдельной емкости готовят необходимое количество дезраствора в соответствии с предстоящим объемом работ.
Цистерну 15 заполняют водой или дезраствором (если он приготовлен) посредством засасывания жидкости. К штуцеру клапана 3 присоединяют заборный рукав 1, конец с сетчатым фильтром которого опускают в водоем или в емкость с дезраствором. Клапан приемно-раздаточного трубопровода открывают из кабины водителя. При этом вентили 12, 24, 35 и 36 закрыты. Под действием разрежения жидкость засасывается в цистерну. За уровнем жидкости в цистерне следят по смотровым стеклам 25. После необходимого наполнения цистерны клапан 3 и вентиль 11 закрывают, заборный рукав отсоединяют, промывают фильтр, закрывают конец рукава крышкой и укладывают в ящик. Для снятия разрежения в цистерне полуоткрывают клапан коробки 7 или открывают вентиль 24. Цистерну можно также заполнить из водопровода шлангом через открытый лючок 18 или через патрубок при открытом вентиле 24.
Рабочий дезраствор в цистерне 15 приготавливают путем перемешивания воды с маточным дезраствором, подаваемым из бачка 21. Для этого конец рукава 23 опускают в горловину бака 21. Под действием разрежения в цистерне маточный дезраствор поступает из бачка в цистерну. Количество поданного в цистерну дезраствора контролируют по смотровому стеклу бачка 21. Переливание маточного дезраствора из бачка может осуществляться одновременно с заполнением цистерны водой. Для перемешивания раствора в цистерне создают разрежение и, открыв клапан 3, пропускают через жидкость воздух (осуществляют барботаж). После окончания приготовления рабочего дезраствора вентили 11 и 24 закрывают, рукав 23 снимают. Установку устанавливают непосредственно у объекта.
Обработку объекта холодным дезраствором проводят при помощи напорного рукава 34, присоединенного к вентилю 35. К брандспойту 33 присоединяют нужный распылитель или щетку. В цистерне 15 создают давление до 0,25 МПа. При открытом вентиле 35 рабочий раствор из цистерны поступает в рукав 34, брандспойт 83 и распыливается на объект обработки. При необходимости работы в два рукава второй рукав 81 присоединяют к патрубку вентиля 29 водогрейного котла 27. При неработающей топке дезраствор из цистерны через открытый вентиль 36 подается в змеевик, водяную рубашку котла, через открытый вентиль 29 в рукав 81 и через распылитель брандспойта 30 на объект обработки.
Обработку объекта горячим дезраствором осуществляют при работающей топке котла 27. При давлении в заполненной цистерне 15 0,2...0,25 МПа открывают вентили 36 и 29, заполняют котел водой или раствором. При заполнении котла кран брандспойта 80 на присоединенном рукава 31 должен быть открыт. После появления в брандспойте жидкости вентиль 29 закрывают. Разжигают топку котла.
Для этого в форсунку 32, установленную в топке, из бачка с топливом 19 подают топливо под давлением 0,1...0,15 МПа, открыв вентили 14 и 20. В испарителе форсунки 32 топливо испаряется и при выходе сгорает в топке. Дымовые газы
отводятся через дымовую трубу. Выделяемая теплота передается через стенки водяной рубашки и стенки змеевика теплообменника жидкости. В процессе нагрева жидкости в котле вентиль 29 периодически открывают, чтобы обеспечить циркуляцию раствора и проверить наличие его в котле. Если не обеспечить циркуляцию раствора, то в котле образуется пар, давление которого может выдавить раствор обратно в цистерну, что приведет к быстрому прогоранию котла. Температуру раствора в котле контролируют по термометру 28. Через 10...20 мин после растопки котла при достижении жидкостью нужной температуры вентиль 29 открывают и приступают к обработке объекта. Во время обработки следят за температурой жидкости, поступающей в раздаточный рукав, и за давлением в цистерне. Обычно для дезинфекции животноводческих помещений и оборудования поддерживают температуру жидкости в пределах 343...353 К, а для мытья животных 311...313 К, При снижении давления в цистерне до 0,05 МПа вновь создают давление пуском двигателя или используют запас сжатого воздуха в ресиверах. Для повышения температуры дезраствора до нужного предела необходимо временно приостановить распыление жидкости, или уменьшить ее расход, или усилить огонь в топке увеличением подачи топлива в форсунку. Для снижения температуры дезраствора в случае ее перегрева необходимо увеличить расход жидкости через раздаточный рукав, подняв давление в цистерне до 0,2...0,25 МПа, или уменьшить подачу топлива в форсунку. При обработке помещений или животных установку перемещают. Цистерну и бачки перезаряжают растворами. При передвижении внутри одного двора прекращают подачу жидкости и гасят форсунку, распылители прочищают. Когда жидкость в цистерне достигнет нижнего смотрового стекла, огонь в форсунке уменьшают. После полного использования раствора форсунку гасят и перезаряжают цистерну жидкостью. Побелку помещений проводят тщательно профильтрованным 10...20 %-ным раствором гашеной извести или мела. Раствор засасывают в цистерну 15 при помощи рукава 1 и создают давление до 0,2...0,25 МПа. Жидкость нагнетается через открытый вентиль 35 в раздаточный рукав 34 и через распылитель брандспойта 33 наносится на поверхность. При этом вентиль 36 и клапан 3 закрыты. При снижении давления в цистерне до 0,05 МПа вновь создают давление. Для предотвращения оседания частиц взвеси в цистерне через 20...30 мин работы раствор взбалтывают путем движением дезустановки на 10...15 м и резкого торможения. После окончания побелки цистерну, приемно-раздаточный трубопровод и раздаточный рукав тщательно промывают. Дезинфекцию местности или вертикальных объектов (стен), а также полив территории водой осуществляют при помощи специального приспособления, которое устанавливают на изогнутую трубу с отверстиями соответственно под ящиком для принадлежностей или на ящике для рукавов, закрепив стойку прижимной гайкой. В цистерну 15 засасывают воду и готовят в ней рабочий дезраствор. Присоединяют накидную гайку приспособления к штуцеру клапана 3.
В цистерне создают давление, открывают клапан 3 и приступают к обработке. При движении автомобиля дезраствор или вода из цистерны нагнетается по рукаву в трубу и через отверстия распыливается на территорию или вертикальный объект.
После окончания работы установку переводят в походное положение. При этом гасят форсунку, сливают остаток дезраствора в какую-либо емкость, тщательно промывают цистерну, котел и рукава водой. После этого создают в цистерне давление и продувают соединительные рукава, змеевик и котел, открыв все спускные вентили. Спускные вентили оставляют открытыми. Свертывают и убирают рабочие рукава. После окончания работы компрессорного устройства открывают вентили 12 и 24 для снятия давления в ресиверах. В зимних условиях можно использовать установку только при наличии теплого гаража. При выездах необходимо иметь паяльную лампу на случай необходимости прогрева трубопроводов, утеплять котел и бачки теплоизоляционными материалами. Особое внимание необходимо уделять удалению жидкости из бачков, трубопроводов и рукавов, которые после работы необходимо просушить в теплом помещении. При выездах на большие расстояния заполнять бачки жидкостями не рекомендуется. При наличии на объектах водогрейных устройств (водонагревателей, котлов-парообразователей) для приготовления рабочего дезраствора следует использовать горячую воду и поддерживать температуру раствора работающей топкой котла.
Производительность установки при обработке холодными растворами и горячими 2,5 тыс. м2 в смену. Установку обслуживают два человека.
Установки для купания овец
Зооветеринарные требования. Среди ветеринарно-санитарных мероприятий наиболее трудоемкой является профилактическая противочесоточная обработка овец. Чесоточный клещ, передающийся от одних овец к другим при их контакте на пастбищах, в местах стоянок при перегоне животных, способен быстро поразить всю отару. На одном животном одновременно могут паразитировать до 1000 клещей. Для профилактики заболевания и уничтожения эктопаразитов овец обязательно обрабатывают дезинфицирующими эмульсиями два раза в год: весной — после стрижки и осенью — перед постановкой на зимовку. Обработку ведут раствором креолина с добавлением гексахлорана установленной инструкциями концентрации двумя способами: окунанием овец в раствор до полного насыщения шерсти инсектицидами и поверхностным опрыскиванием шерстного покрова дезраствором. По ветеринарному законодательству время купания составляет 30…60 с. Этого достаточно для полного насыщения эмульсией шерсти как стриженых, так и нестриженых овец, при условии, что они плавают в ванне, а не стоят неподвижно. Этот метод признан в нашей стране основным.
Для купания применяют погружные ванны различных конструкций, а для опрыскивания - душевые установки. В зависимости от применяемого метода обработки установки делятся на ванные, опрыскивающие (струйные) и комбинированные, а по способу подачи овец в жидкость первые делятся на погружные и сбрасывающие. Наибольшее распространение сбрасывающие устройства следующих типов: наклоняющие, жалюзийные, толкающие, транспортные и конвейерно-кольцевые.
Следует иметь в виду, что в процессе купания в ванне концентрация активно действующего химиката в растворе уменьшается, поэтому для поддержания высокой эффективности обработки необходимо периодически добавлять в эмульсию чистый креолин. При выходе из ванны каждая овца на своем шерстном покрове выносит 1—2 л жидкости, в которой доля активных изомеров гексахлорана выше, чем в ванне. В результате рабочий раствор обедняется. Однако фактический суточный расход превышает 10 л, так как эмульсия используется только один день. Ухудшение ее качества в течение смены обусловлено загрязнением и наличием в шерсти жиропота.

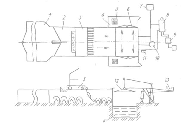
Рисунок 2 - Схема осевой ванны ОКВ для купания овец:
1-приемный загон; 2-предкупочный загон; 3-толкающая тележка; 4-отстойный загон; 5-отстойник; 6-ванна; 7-насосная станция; 8-котел-парообразователь; 9-отопительная система; 10-смеситель; 11-место оператора; 12-окунатель; 13-противовес
Зооветеринарные требования к технологии купания овец сводятся к следующим:
1) приготовить 0,25…0,35%-ный раствор гексахлорана в креолине с водой;
2) сбрасывать овец в ванну с высоты не более 0,5 м;
3) погружать их в раствор с головой на 1…2 с, не допуская попадания на животных нерастворенного осадка;
4) сменять рабочий раствор ежедневно и поддерживать его концентрацию постоянной;
5) обеспечивать 100%-ную смачиваемость шерсти овец любой породы и размеров.
Технологический процесс купания овец в общем случае включает следующие операции: приготовление дезинфицирующего раствора (эмульсии); отбивку группы овец в 25…30 голов в предкупочном загоне и перемещение ее на приемную площадку (платформу); подачу овец с приемной площадки в ванну; обработку животных в ванне; выход овец на площадку для отстоя и стекания эмульсии; сбор и фильтрацию отработанной эмульсии. Следует отметить, что наиболее сложной и трудоемкой операцией является подача овец в ванну.
Установки для купания овец. Установка для купания овец ОКВ с механизмом подачи толкающего типа, показанная на рис. 1, состоит из загона 1 для некупаных овец, предкупочного рабочего загона 2, толкающей тележки 3, купочной ванны 6 с окунателем 12 и двух площадок 4 для отстоя выкупанных овец. Технологическое оборудование размещается на площадке за купочной ванной. В его состав входят насосная станция 7, котел-парообразователь КВ-300М, отопительная система 9, смеситель 10, отстойник 5 и окунас противовесом 13. Над бетонными стенами вдоль рабочего загона 2 проложены рельсы, по которым на роликах движется толкающая тележка с шарнирно подвешенными пальцами-толкателями. Скорость ее перемещения 0,2 м/с при рабочем и 0,5 м/с при холостом ходе. Движением управляет оператор, находящийся на мостике тележки. Бетонная ванна с внутренними размерами 5,0 х 2,5 х 1,5 м имеет вместимость 18,75 м3. С обоих торцов ее имеются ступенчатые выходы в отстойные загоны, перекрытые дверками. Поворот последних осуществляется оператором с помощью гидроцилиндров. Над ванной размещен окунатель, привод которого осуществляется двумя гидроцилиндрами. Ход платформы окунателя составляет 1,2 м, скорость опускания равна 0,1 м/с, а подъема — 0,2 м/с. Мощность электродвигателя гидронасоса 2,2 кВт. Окунатель оборудован противовесом (ящик с песком), который должен обеспечить подъем платформы в аварийных ситуациях: в случаях отказа гидросистемы или при отключении электроэнергии.
Установка работает следующим образом. Отару до 1000 овец запускают в загон 1/ и закрывают ворота. Тележка находится в крайнем правом положении — у ванны. Оператор на тележке включает задний ход, и она движется вдоль рабочего загона 2. Повернувшись на своих шарнирах (подвесках), скользят по спинам животных пальцы-толкатели. Захватив ими группу в 30…35 овец, оператор переключает привод тележки на движение «вперед» и принудительно толкает овец по направлению к ванне, а затем сбрасывает их в купочную ванну. После этого цикл работы тележки повторяется каждые 3…5 мин.
Оператор у ванны опускает платформу окунателя и на 1…2 с окунает всех животных в эмульсию с головой. После этого открываются дверцы ванны, и овцы выходят на площадку для отстоя. Отработанный раствор через крышу отстойника стекает в ванну повторного использования. С площадок для отстоя овец выпускают примерно через 20 мин. Подача воды в ванну осуществляется насосной станцией из водоисточника. Средний расход ее составляет 50 м3 в смену. Подогрев воды в ванне осуществляется паром работающего по мере надобности котла-парообразователя. Горячая вода из него поступает в смеситель, используемый для приготовления рабочего дезраствора. Наряду с ОКВ в хозяйствах находят применение установки для купания овец МКУ-1 и КУП-1 более ранних конструкций, которые по принципу работы аналогичны ей. Механизированная купочная установка МКУ-1 погружного типа отличается от ОКВ главным образом тем, что вместо сбрасывания группы овец в ванну толкающей тележкой их загоняют в погружную клеть, которая затем опускается, и овцы погружаются в ванну. Над полом клети на высоте 1 м закреплена сетка для полного погружения овец в раствор. Купочная установка КУП-1 отличается от ОКВ наличием сбрасывающего механизма жалюзийного типа. В ней над ванной устроена площадка, состоящая из нескольких поворотных секций (жалюзи), при повороте которых все овцы одновременно сбрасываются в ванну.



