Министерство сельского хозяйства Российской Федерации
Департамент научно-технологической политики и образования
Федеральное государственное образовательное учреждение
Высшего профессионального образования
«Красноярский государственный аграрный университет»
Хакасский филиал
Кафедра Технологии производства и переработки
сельскохозяйственной продукции
Курс лекций
по дисциплине ОПД. Ф.07.01
«Механизация в животноводстве»
для специальности
110401.65 - «Зоотехния»
Абакан 2007
Лекция II. МЕХАНИЗАЦИЯ В ЖИВОТНОВОДСТВЕ
Механизация производственных процессов в животноводстве зависит от многих факторов и прежде всего от способов содержания животных.
На фермах крупного рогатого скота применяют в основном стойлово-пастбищную и стойловую систему содержания животных. При этом способе содержания животных может быть привязным, беспривязным и комбинированным. Известна также конвейерная система содержания коров.
При привязном содержании животные находятся на привязи в стойлах, расположенных вдоль кормушек в два или четыре ряда между кормушками устраивают кормовой проход, а между стойлами — навозные проходы. Каждое стойло оборудовано привязью, кормушкой, автопоилкой и приспособлениями для доения и удаления навоза. Норма площади пола для одной коровы 8...10 м2. В летний период коров переводят на пастбище, где для них устраивают летний лагерь с навесами, загонами, водопоем и установками для доения коров.
При беспривязном содержании в зимний период коровы и молодняк находятся в помещениях фермы группами по 50...100 голов, а в летний период — на пастбище, где оборудуются лагери с носами, загонами, водопоем. Там же проводят и доение коров. Разновидностью беспривязного содержания является боксовое, где коровы отдыхают в стойлах, имеющих боковые ограждения пол. Боксы позволяют экономить подстилочный материал. Конвейерно-поточное содержание в основном применяют при обслуживании дойных коров с их фиксацией к конвейеру. Известно три типа конвейеров: кольцевой; многотележный; самопередвижной. Преимущества этого содержания: животные в соответствии с распорядком дня в определенной последовательности принудительно поступают к месту обслуживания, что способствует выработке условного рефлекса. При этом сокращаются затраты труда на подгон и отгон животных, появляется возможность применять средства автоматики для учета продуктивности, программированного дозирования кормов, взвешивания животных и управление всеми технологическими процессами, конвейерное обслуживание позволяет значительно сократить затраты труда.
В свиноводстве существует три основные системы содержания свиней: свободно-выгульное — для откормочных свиней, ремонтно-молодняка, поросят-отъемышей и маток первых трех месяцев поросности; станково-выгульное (групповое и индивидуальное) — и хряков производителей, маток третьего-четвертого месяцев поросности, подсосных маток с поросятами; безвыгульное — для кормочного поголовья.
Свободно-выгульная система содержания свиней отличается от станково-выгульной тем, что животные в течение дня могут через лазы в стене свинарника свободно выходить на выгульные дворы для прогулки и кормления. При станково-выгульном содержании свиней периодически группами выпускают на прогулку или в специальное помещение для кормления (столовую). При безвыгульном содержании животные не выходят из помещения свинарника.
В овцеводстве различают пастбищную, стойлово-пастбищную и стойловую системы содержания овец.
Пастбищное содержание применяют в районах, характеризуются большими размерами пастбищ, на которых можно содержать животных круглый год. На зимних пастбищах для укрытия их от непогоды всегда сооружают полуоткрытые постройки с тремя стенами или загоны, а для проведения зимних или ранне-весенних родов (окотов) строят капитальные овчарни (кошары) с таким расчетом, чтобы в них поместилось 30...35 % овцематок. Для кормления овец в непогоду и во время окотов на зимних пастбищах заготовляют корма в необходимом количестве.
Стойлово-пастбшцное содержание овец применяют в районах где имеются естественные пастбища, а климат характеризуется суровой зимой. Зимой овец содержат в стационарных зданиях, давая корма всех видов, а летом — на пастбищах.
Стойловое содержание овец применяется в районах с высокой распаханностью земель и при ограниченных размерах пастбищ. Овец круглый год содержат в стационарных (закрытых или полуоткрытых) утепленных или неутепленных помещениях, давая им корма, которые получают от полевых севооборотов.
Для выращивания зверей и кроликов применяют клеточную систему содержания. Основное стадо норок, соболей, лисиц и песцов содержат в индивидуальных клетках, устанавливаемых в сараях (шедах), нутрий — в индивидуальных клетках с бассейнами или без них, кроликов— в индивидуальных клетках, а молодняк группами.
В птицеводстве применяют интенсивную, выгульную и комбинированную системы содержания. Способы содержания птицы: напольный и клеточный. При напольном содержании птицу выращивают в птичниках шириной 12 или 18 м на глубокой подстилке, планчатых или сетчатых полах. На крупных фабриках птицу содержат в клеточных батареях.
Система и способ содержания животных и птицы существенно влияют на выбор механизации производственных процессов.
ПОСТРОЙКИ ДЛЯ СОДЕРЖАНИЯ ЖИВОТНЫХ И ПТИЦЫ
Конструкция любого здания или сооружения зависит от его назначения.
На фермах крупного рогатого скота размещают коровники, телятники, здания для молодняка и откорма, родильные и ветеринарные помещения. Для содержания скота в летнее время используют летние лагерные постройки в виде легких помещений и навесов. Вспомогательные постройки, специфичные для этих ферм, — доильные или молочно-доильные блоки, молочные ( сбора, обработки и хранения молока), заводы для переработки молока.
Здания и сооружения свиноводческих ферм — это свинарники-маточники, свинарники-откормочники, помещения для поросят отъемышей и хряков. Специфичным зданием свиноводческой фермы может быть помещение столовой при соответствующе технологии содержания животных.
Постройки для овец включают в себя овчарни с тепляками и базы-навесы. В овчарнях содержат животных одного пола и возраста, поэтому можно выделить овчарни для маток, валухов, баранов-производителей, молодняка и нагульных овец. К специфичным сооружениям овцеферм относятся стригальные пункты, ванны для купания и дезинфекции, отделения забоя овец и др.
Постройки для птицы (птичники) подразделяют на курятники, индюшатники, гусятники и утятники. По назначению различают птичники для взрослой птицы, молодняка и цыплят, выращиваемых на мясо (бройлеров). К специфичным зданиям птицеферм относятся инкубатории, брудергаузы, акклиматизаторы.
На территории всех животноводческих ферм должны быть построены вспомогательные здания и сооружения в виде хранилищ, складов для кормов и продукции, навозохранилищ, кормоцехов, котельных и т. п.
САНИТАРНО-ТЕХНИЧЕСКОЕ ОБОРУДОВАНИЕ ФЕРМ
Для создания нормальных зоогигиенических условий в животноводческих помещениях применяют различное санитарно-техническое оборудование: внутреннюю водопроводную сеть, вентиляционные устройства, канализацию, освещение, отопительные устройства.
Канализация предназначена для самотечного удаления жидких экскрементов и грязной воды из животноводческих и производственных помещений. Канализация состоит из жижесточных канавок, труб, жижесборника. Конструкция и размещение элементов канализации зависят от типа здания, способа содержания животных и принятой технологии. Жижесборники необходимы для временного хранения жидкости. Объем их определяют в зависимости от числа животных, суточной нормы жидких выделений и принятого срока хранения.
Вентиляция предназначена для удаления загрязненного воздуха из помещений и замены его чистым. Загрязнение воздуха происходит в основном водяными парами, углекислым газом (С02) и аммиаком (NH3).
Отопление животноводческих помещений осуществляют теплогенераторами, в одном агрегате которых объединены вентилятор и источник теплоты.
Освещение бывает естественное и искусственное. Искусственное освещение достигается применением электрических светильников.
МЕХАНИЗАЦИЯ ВОДОСНАБЖЕНИЯ ЖИВОТНОВОДЧЕСКИХ ФЕРМ И ПАСТБИЩ
ТРЕБОВАНИЯ К ВОДОСНАБЖЕНИЮ ЖИВОТНОВОДЧЕСКИХ ФЕРМ И ПАСТБИЩ
Своевременное поение животных, так же как и рациональное и полноценное кормление является важным условием для сохранения их здоровья и повышения продуктивности. Несвоевременное и недостаточное поение животных, перебои в поении и использование недоброкачественной воды приводят к значительному снижению продуктивности, способствуют появлению заболеваний и увеличению расхода кормов.
Установлено, что недостаточное поение животных при содержании их на сухих кормах вызывает торможение пищеварительной деятельности, в результате чего снижается поедаемость кормов.
Молодняк сельскохозяйственных животных вследствие более интенсивного обмена веществ потребляет воды на I кг живой массы в среднем в 2 раза больше, чем взрослые животные. Недостаток воды отрицательно отражается на росте и развитии молодняка даже при достаточном уровне кормления.
При содержании животных на пастбище или при наличии в рационе большого количества сочных кормов потребление воды животными несколько уменьшается.
Питьевая вода плохого качества (мутная, необычного запаха и вкуса) не обладает способностью возбуждать деятельность секреторных желез желудочно-кишечного тракта и при сильной жажде вызывает негативную физиологическую реакцию.
Важное значение имеет температура воды. Холодная вода оказывает неблагоприятное влияние на здоровье и продуктивность животных.
Установлено, что без корма животные могут прожить около 30 дней, а без воды — 6...8 дней (не более).
СИСТЕМЫ ВОДОСНАБЖЕНИЯ ЖИВОТНОВОДЧЕСКИХ ФЕРМ И ПАСТБИЩ
Под системой водоснабжения понимают технологическую линию, которая связывает в определенной последовательности водопроводные сооружения, предназначенные для добывания, перекачки, улучшения качества, хранения и подачи воды от водоисточника к местам ее потребления.
Вода подается к животноводческим фермам по различным системам в зависимости от конкретных условий.
Различают групповые и локальные системы водоснабжения. На животноводческих фермах, как правило, применяют локальную систему, в состав которой входят собственный автономный счетчик воды, насосная станция и водопроводная сеть.
Если вода на ферму подается из открытого водоисточника, то система состоит из водозаборного сооружения, насосной станции, очистного оборудования, напорно-регулируюшего сооружения, водопроводной сети и объекта водопотребления.
Источники водоснабжения подразделяют на две основные группы:
1) поверхностные источники воды — реки, озера, искусственные водоемы;
2) подземные источники — грунтовые и межпластовые воды. На рисунке 2.1 показана схема водоснабжения из поверхностного источника. Вода из поверхностного водоисточника через водоприемник 1 и трубу 2 поступает самотеком в приемный колодец 3, откуда подается насосами насосной станции первого подъема 4 на очистные сооружения 5. После очистки и обеззараживания вода собирается в резервуаре чистой воды 6. Затем насосами насосной станции второго подъема 7 вода подается по трубопроводу в водонапорную башню 9. Далее по водопроводной сети 10 вода поступает потребителям. В зависимости от вида источника применяют различные типы водозаборных сооружений. Шахтные колодцы обычно устраивают для забора воды из маломощных водоносных пластов, залегающих на глубине не более 40 м.

Рис. 2.1. Схема системы водоснабжения из поверхностного источника:
1 - водоприемник; 2 — самотечная труба; 3— приемный колодец; 4, 7— насосные станции; 5 - очистное сооружение; 6 — резервуар; 8 — водопровод; 9 — водонапорная башня; 10— водопроводная сеть
Шахтный колодец представляет собой вертикальную выработку в грунте, врезающуюся в водоносный пласт. Колодец состоит из трех основных частей: шахты, водоприемной части и оголовка.
Скважины (трубчатые колодцы) рекомендуется применять для забора воды из водоносных пластов значительной мощности, залегающих на глубине более 10 м.
ОПРЕДЕЛЕНИЕ ПОТРЕБНОСТИ ФЕРМЫ В ВОДЕ
Количество воды, которое должно подаваться на ферму через водопроводную сеть, определяют по расчетным нормам для каждого потребителя с учетом их числа по формуле
![]()
где
— суточная норма расхода воды одним потребителем, м3;
— число потребителей, имеющих одинаковую норму расхода.
Принимают следующие нормы расхода воды (дм3, л) в расчете на одну голову для животных, птицы и зверей:
коровы молочные..........................
свиноматки с поросятами .................6
коровы мясные...................................70
свиноматки супоросные и
холостые.............................................60
быки и нетели.....................................25
молодняк крупного скота.................30
поросята-отъемыши.............................5
телята...................................................20
свиньи на откорме и молодняк........ 15
лошади племенные............................80
куры.......................................................1
жеребцы-производители...................70
индейки..............................................1,5
жеребята до 1,5 года...........................45
утки и гуси............................................2
овцы взрослые....................................10
норки, соболи, кролики......................3
молодняк овец......................................5
лисицы, песцы .....................................7
хряки-производи
В жарких и сухих районах нормы допускается увеличить на 25 %. В нормы потребления воды включены расходы на мойку помещения, клеток, молочной посуды, приготовление кормов, охлаждение молока. На удаление навоза предусматривают дополнительный расход воды в размере от 4 до 10 дм3 на одно животное. Для молодняка птицы указанные нормы уменьшают вдвое. Дл животноводческих и птицеводческих ферм специальный бытовой водопровод не проектируют.
Питьевая вода подается на ферму из общей водопроводной сети. Норма расхода воды на одного работающего 25 дм3 за смену. Для купания овец расходуется 10 дм3 в расчете на одну голову в год, на пункте искусственного осеменения овец —0,5 дм3 на одну осемененную овцу (число осемененных маток в сутки составляет 6 % общего поголовья на комплексе).
Максимальный суточный и часовой расход воды, м3, определяют по формулам:
;
,
где
— коэффициент суточной неравномерности водопотребления. Обычно принимают
= 1,3.
Часовые колебания расхода воды учитывают с помощью коэффициента часовой неравномерности
= 2,5.
НАСОСЫ И ВОДОПОДЪЕМНИКИ
По принципу действия насосы и водоподъемники подразделяются на следующие группы.
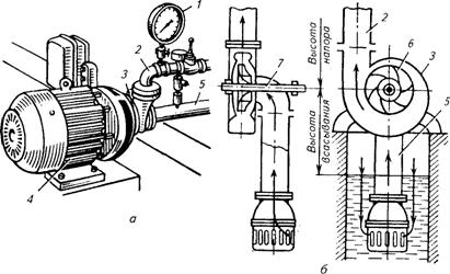
Лопастные насосы (центробежные, осевые, вихревые). В этих насосах жидкость перемещается (нагнетается) под действием вращающегося рабочего колеса, снабженного лопастями. На рисунке 2.2, а, б изображены общий вид и схема работы центробежного насоса.
Рабочий орган насоса представляет собой колесо 6 с изогнутыми лопастями, при вращении которого в нагнетательном трубопроводе 2 образуется напор.

Рис. 2.2. Центробежный насос:
а – общий вид; б — схема работы насоса; 1 — манометр; 2 — нагнетательный трубопровод; 3 — насос; 4 — электродвигатель: 5 — всасывающий патрубок; 6 — рабочее колесо; 7 — вал
Работа насоса характеризуется полным напором, подачей, мощностью, частотой вращения ротора и коэффициентом полезного действия.
АВТОПОИЛКИ И ВОДОРАЗДАТЧИКИ
Животные пьют воду непосредственно из поилок, которые подразделяют на индивидуальные и групповые, стационарные и передвижные. По принципу действия поилки бывают двух видов: клапанные и вакуумные. Первые, в свою очередь, делят на педальные и поплавковые.
На фермах крупного рогатого скота для поения животных при меняют автоматические одночашечные поилки АП-1А (пластмассовые), ПА-1А и КПГ-12.31.10 (чугунные). Их устанавливают из расчета одна на две коровы при привязном содержании и одну на клетку для молодняка. Групповая автопоилка АГК-4Б с электроподогревом воды до 4°С рассчитана на поение до 100 голов.
Групповая автопоилка АГК-12 рассчитана на 200 голов при беспривязном содержании на открытых площадках. В зимнее время для устранения замерзания воды обеспечивается ее проточность.
Передвижная поилка ПАП-10А предназначена для использования в летних лагерях и на пастбищах. Она представляет собой цистерну объемом 3 м3 из которой вода поступает в 12 одночашечных автопоилок, и рассчитана на обслуживание 10 голов.
Для поения взрослых свиней применяют самоочищающиеся одночашечные автопоилки ППС-1 и сосковые ПБС-1, а для поросят-сосунов и поросят-отъемышей — ПБ-2. Каждая из этих поилок рассчитана соответственно на 25....30 взрослых животных и 10голов молодняка. Поилки используют при индивидуальном и групповом содержании свиней.
Для овец применяют групповую автопоилку АПО-Ф-4 с электроподогревом, рассчитанную на обслуживание 200 голов на открытых площадках. Поилки ГАО-4А, АОУ-2/4, ПБО-1, ПКО-4, ВУО-3А устанавливают внутри овчарен.
При напольном содержании птиц используют желобковые поилки К-4А и автопоилки АП-2, АКП-1,5, при клеточном содержании — ниппельные автопоилки.
ОЦЕНКА КАЧЕСТВА ВОДЫ НА ФЕРМЕ
Воду, используемую для поения животных, чаще всего оценивают по ее физическим свойствам: температуре, прозрачности, цвету, запаху, вкусу и привкусу.
Для взрослых животных наиболее благоприятной является вода температурой 10...12 оС летом и 15...18 оС зимой.
Прозрачность воды определяют по ее способности пропускать видимый свет. Цвет воды зависит от наличия в ней примесей минерального и органического происхождения.
Запах воды зависит от живущих и отмирающих в ней организмов, состояния берегов и дна водоисточника, от стоков, питающих водоисточник. Питьевая вода не должна иметь постороннего запаха. Вкус воды должен быть приятным, освежающим, что обусловливает оптимальное количество растворенных в ней минеральных солеи и газов. Различают горький, соленый, кислый, сладкий вкус воды и различные привкусы. Запах и вкус воды, как правило, определяют органолептически.
МЕХАНИЗАЦИЯ ПРИГОТОВЛЕНИЯ И РАЗДАЧИ КОРМОВ
ТРЕБОВАНИЯ К МЕХАНИЗАЦИИ ПРИГОТОВЛЕНИЯ И РАЗДАЧИ КОРМОВ
Заготовка, приготовление и раздача кормов — важнейшая задача в животноводстве. На всех этапах решения этой задачи необходимо стремиться к уменьшению потерь корма и улучшению физико-механического состава его. Это достигается как за счет технологических, механических и термохимических приемов подготовки кормов к скармливанию, так и за счет зоотехнических — выведение пород животных с высокой усвояемостью корма, использование научно обоснованных сбалансированных рационов, биологически активных веществ, стимуляторов роста.
Требования к приготовлению кормов в основном касаются степени их измельчения, загрязненности, наличия вредных примесей. Зоотехническими условиями определены следующие размеры частиц корма: длина резки соломы и сена для коров 3...4 см, лошадей 1,5...2,5 см. Толщина резки корнеклубнеплодов для коров 1,5 см (молодняка 0,5... 1 см), свиней 0,5... 1 см, птицы 0,3...0,4 см. Жмых для коров дробят на частицы размером 10...15 мм. Измельченные концентрированные корма для коров должны состоять из частиц размером 1,8...1,4 мм, для свиней и птицы — до 1 мм (мелкий помол) и до 1,8 мм (средний помол). Размер частиц сенной (травяной) муки не должен превышать 1 мм для птиц и 2 мм для других животных. При закладке силоса с добавлением сырых корнеклубнеплодов толщина их резки не должна превышать 5...7 мм. Силосуемые стебли кукурузы измельчают до 1,5...8 см.
Загрязненность кормовых корнеплодов не должна превышать 0,3 %, а зерновых кормов— 1 % (песком), 0,004 % (горчаком, вязелем, спорыньей) или 0,25 % (куколем, головней, плевелом).
К кормораздающим устройствам предъявляют следующие зоотехнические требования: равномерность и точность раздачи корма; его дозировка индивидуально каждому животному (например, распределение концентратов по суточному надою) или группе животных (силос, сенаж и другие грубые корма или зеленая подкормка); предотвращение загрязнения корма и расслаивания его по фракциям; предупреждение травматизма животных; электробезопасность. Отклонение от предписанной нормы на одну голову животного для стебельных кормов допускается в диапазоне ± 15%, а для концентрированных кормов —±5%. Возвратимые потери корма не должны превышать ± 1 %, а невозвратимые — не допускаются. Продолжительность операции раздачи кормов в одном помещении должна быть не более 30 мин (при использовании мобильных средств) и 20 мин (при раздаче кормов стационарными средствами).
Кормораздатчики должны быть универсальными (обеспечивать возможность выдачи кормов всех видов); иметь высокую производительность и предусматривать регулирование нормы выдачи на голову от минимальной до максимальной; не создавать излишнего шума в помещении, легко очищаться от остатков корма и других загрязнений, быть надежными в работе.
СПОСОБЫ ПОДГОТОВКИ КОРМОВ К СКАРМЛИВАНИЮ
Корма подготавливают в целях повышения их поедаемости, переваримости и использования питательных веществ.
Основные способы подготовки кормов к скармливанию: механические, физические, химические и биологические.
Механические способы (измельчение, дробление, плющение, смешивание) применяют главным образом для повышения поедаемости кормов, улучшения их технологических свойств.
Физические способы (гидробаротермические) повышают поедаемость и частично питательность кормов.
Химические способы (щелочная или кислотная обработка кормов) позволяет повысить доступность для организма трудноперевариваемых питательных веществ, расщепляя их до более простых соединений.
Биологические способы — дрожжевание, силосование, заквашивание, ферментативная обработка и др.
Все указанные способы подготовки кормов применяют для улучшения их вкусовых качеств, повышения в них полноценного белка (за счет микробиального синтеза), ферментативного расщепления труднопереваримых углеводов до более простых, доступных для организма соединений.
Подготовка грубых кормов. К числу основных грубых кормов для сельскохозяйственных животных относятся сено и солома. В рационе животных в зимний период корма этих видов составляют 25...30 % по питательности. Подготовка сена состоит в основном в измельчении для повышения поедаемости и улучшения технологических свойств. Широко применяют также физико-механические приемы, повышающие поедаемость и частично перевариваемость соломы, — размол, запаривание, заваривание, сдабривание, гранулирование.
Измельчение — наиболее простой способ подготовки соломы к скармливанию. Он способствует повышению поедаемости ее и облегчает работу органов пищеварения животных. Наиболее приемлемая длина резки соломы средней степени измельчения для использования в составе рассыпных кормосмесей 2...5 см, для приготовления брикетов 0,8...3 см, гранул 0,5 см. Для измельчения скирдованную солому загружают фуражиром (ФН-12, ФН-1,4, ПСК-5, ПЗ-0,3) в транспортные средства. Кроме того, для измельчения соломы влажностью 17 % применяют дробилки ИГК-30Б, КДУ-2М, ИСК-3, ИРТ-165, а соломы повышенной влажности — измельчители безрешетного действия ДКВ-3А, ИРМА-15, ДИС-1 М.
Сдабривание, обогащение и запаривание соломы проводят в кормоцехах. Для химической обработки соломы рекомендованы различные виды щелочей (едкий натр, аммиачная вода, жидкий аммиак, кальцинированная сода, известь), которые применяют как в чистом виде, так и в сочетании с другими реагентами и физическими приемами (с паром, под давлением). Питательность соломы после такой обработки повышается в 1,5...2 раза.
Подготовка концентрированных кормов. Для повышения питательной ценности и более рационального использования фуражного зерна применяют различные способы его обработки — измельчение, поджаривание, варку и запаривание, осолаживание, экструзию, микронизацию, плющение, флакирование, восстановление, дрожжевание.
Измельчение — простой, общедоступный и обязательный способ подготовки зерна к скармливанию. Измельчают сухое зерно хорошего качества с нормальным цветом и запахом на молотковых дробилках и зерновых мельницах. От степени измельчения зависит поедаемость корма, скорость прохождения его через желудочно-кишечный тракт, объем пищеварительных соков и их ферментная активность.
Степень измельчения определяют взвешиванием остатков на сите после просеивания образца. Мелкий помол представляет собой остаток на сите с отверстиями диаметром 2 мм количеством не более 5 % при отсутствии остатка на сите с отверстиями диаметром 3 мм; средний помол — остаток на сите с отверстиями 3 мм количеством не более 12 % при отсутствии остатков на сите с отверстиями 5 мм; крупный помол — остаток на сите с отверстиями диаметром 3 мм количеством не более 35 % при остатке на сите с отверстиями 5 мм количеством не более 5 %, при этом наличие целых зерен не допускается.
Из зерновых наибольшую сложность при обработке представляют пшеница и овес.
Поджаривание зерна проводят в основном для поросят-сосунов с целью приучения их к поеданию корма в раннем возрасте, стимуляции секреторной деятельности пищеварения, лучшего развития жевательных мышц. Обычно поджаривают зерно, широко используемое в кормлении свиней: ячмень, пшеницу, кукурузу, горох.
Варка и запаривание применяются при кормлении свиней зернобобовыми: горохом, соей, люпином, чечевицей. Эти корма предварительно измельчают, а затем в течение 1 ч варят или пропаривают 30...40 мин в кормозапарнике.
Осолаживание необходимо для улучшения вкусовых качеств зерновых кормов (ячменя, кукурузы, пшеницы и др.) и повышения их поедаемости. Осолаживание проводят следующим образом: зерновую дерть засыпают в специальные емкости, заливают горячей (90 °С) водой и выдерживают в ней.
Экструзия — это один из наиболее эффективных способов обработки зерна. Подлежащее экструзии сырье доводят до влажности 12%, измельчают и подают в экструдер, где под действием высокого давления (280...390 кПа) и трения зерновая масса разогревается до температуры 120...150 °С. Затем вследствие быстрого перемещения ее из зоны высокого давления в зону атмосферного происходит так называемый взрыв, в результате чего гомогенная масса вспучивается и образует продукт микропористой структуры.
Микронизация заключается в обработке зерна инфракрасными лучами. В процессе микронизации зерна происходит желатинизация крахмала, при этом количество его в такой форме увеличивается.
КЛАССИФИКАЦИЯ МАШИН И ОБОРУДОВАНИЯ ДЛЯ ПОДГОТОВКИ И РАЗДАЧИ КОРМОВ
Для подготовки кормов к скармливанию применяют следующие машины и оборудование: измельчители, очистители, мойки, смесители, дозаторы, накопители, запарники, тракторное и насосное оборудование и др.
Технологическое оборудование для приготовления кормов классифицируют по технологическим признакам и способу обработки. Так, измельчение кормов осуществляется дроблением, резанием, ударом, растиранием за счет механического взаимодействия рабочих органов машины и материала. Каждому виду измельчения соответствует свой тип машины: удару — молотковые дробилки; резанию — соломо-силосорезки; растиранию — жерновые мельницы. В свою очередь дробилки классифицируют по принципу работы, конструктивным и аэродинамическим особенностям, месту загрузки, способу отвода готового материала. Такой подход применяется практически для всех машин, участвующих в подготовке корма.
Выбор технических средств для погрузки и раздачи кормов и рациональное их использование определяются в основном такими факторами, как физико-механические свойства кормов, способ кормления, тип животноводческих построек, способ содержания животных и птицы, размер ферм. Разнообразие кормораздающих устройств обусловлено различным сочетанием рабочих органов, сборочных единиц и разными способами их агрегатирования с энергетическими средствами.
Все кормораздатчики можно разделить на два типа: стационарные и мобильные (передвижные).
Стационарные кормораздатчики представляют собой различного рода транспортеры (цепные, цепочно-скребковые, штангово-скребковые, шнековые, ленточные, платформенные, спирально-винтовые, тросово-шайбовые, цепочно-шайбовые, колебательные, ковшовые).
Передвижные кормораздатчики бывают автомобильные, тракторные, самоходные. Преимущества передвижных кормораздатчиков перед стационарными — более высокая производительность труда.
Общий недостаток кормораздатчиков — низкая универсальность при раздаче различных кормов.
ОБОРУДОВАНИЕ КОРМОЦЕХОВ
Технологическое оборудование кормоприготовления размещают в специальных помещениях — кормоцехах, в которых ежедневно перерабатываются десятки тонн различных кормов. Комплексная механизация приготовления кормов позволяет улучшать их качество, получать полнорационные смеси в виде монокормов при одновременном снижении стоимости их обработки.
Различают специализированные и комбинированные кормоцехи. Специализированные кормоцехи предназначены для одного вида ферм (крупного рогатого скота, свиноводческих, птицеводческих), а комбинированные—для нескольких отраслей животноводства.
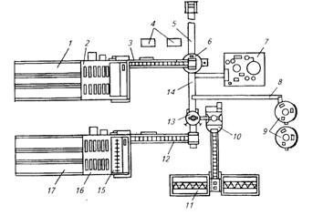
В кормоцехах животноводческих ферм различают три основные технологические линии, по которым группируют и классифицируют кормоприготовительные машины (рис. 2.3). Это технологические линии концентрированных, сочных и грубых (зеленых кормов). Все три сходятся вместе на заключительных операциях процесса приготовления кормов: дозировании, запаривании и смешивании.

Рис. 2.3. Оборудование технологических линий кормоцехов:
/, //, ///, IV, V— технологические линии соответственно концентрированных кормов, зеленой массы и сенной муки, корнеплодов, загрузки и выгрузки готовых кормов; 1—питатель концентрированных кормов; 2, 7, 12— транспортеры; 3 —измельчитель; 4 — питатель; 5 — дробилка; 6, 13— бункера; 8 — мойка-измельчитель; 9 — выгрузной шнек; 10— загрузочный шнек; 11 — запарники-смесители
Широко внедряют технологию кормления животных полнорационными кормовыми брикетами и гранулами в виде монокорма. Для ферм и комплексов крупного рогатого скота, а также для овцеводческих ферм применяют типовые проекты кормоцехов КОРК-15, КЦК-5, КЦО-5 и КПО-5 и др.
Комплект оборудования кормоцеха КОРК-15 предназначен для быстрого приготовления влажных кормосмесей, в состав которых входят солома (россыпью, в рулонах, тюках), сенаж или силос, корнеклубнеплоды, концентраты, меласса и раствор карбамида. Этот комплект можно использовать на молочно-товарных фермах и комплексах размером 800...2000 голов и откормочных фермах размером до 5000 голов крупного рогатого скота во всех сельскохозяйственных зонах страны.
На рисунке 2.4 представлена схема размещения оборудования кормоцеха КОРК-15.
Технологический процесс в кормоцехе протекает так: из транспортного самосвального средства солома выгружается в приемный бункер 17, откуда поступает на конвейер 16, который предварительно

Рис. 2.4. Схема размещения оборудования кормоцеха КОРК-15:
1, 17 - приемные бункера питателя-загрузчика; 2, 12, 16 - конвейеры; 3 — скребковый дозирующий транспортер; 4 — шкафы управления; 5- выгрузной транспортер; 6 — измельчитель-смеситель кормов ИСК-3; 7 —оборудование OMK-2; 8 — шнековый транспортер; 9 — бункера-дозаторы; 10 — измельчитель-камнеуловитель-мойка ИКМ-5; 11 — транспортер корнеклубнеплодов TK-5Б; 13 — бункер-дозатор корнеклубнеплодов; 14 — транспортер линии сбора;
15 — измельчитель соломы
разрыхляет рулоны, тюки и через дозирующие битеры подает их на конвейер 12 точной дозировки. Последний доставляет солому на транспортер 14 линии сбора, по которому она движется в сторону измельчителя-смесителя 6.
Аналогично силос из транспортного самосвального средства погружается в бункер 1, затем поступает на конвейер 2, через дозирующие битеры подается на транспортер 3 точного дозирования и далее поступает в измельчитель-смеситель кормов 6.
Корнеклубнеплоды доставляются в кормоцех самосвальными мобильными средствами или подаются стационарными транспортерами из корнеплодохранилища, сблокированного с кормоцехом, на транспортер 11 (ТК-5Б). Отсюда они направляются в измельчитель-камнеуловитель 10, где очищаются от загрязнений и умельчаются до нужных размеров. Далее корнеклубнеплоды покупают в бункер-дозатор 13, а затем на транспортер 14. Концентрированные корма доставляются в кормоцех с комбикормовых предприятий загрузчиком ЗСК-10 и разгружаются в бункера-дозаторы 9, откуда шнековым транспортером 8 подаются на транспортер 14.
МАШИННОЕ ДОЕНИЕ КОРОВ
ЗООТЕХНИЧЕСКИЕ ТРЕБОВАНИЯ К МАШИННОМУ ДОЕНИЮ КОРОВ
Выделение молока из вымени коровы — необходимый физиологический процесс, в котором задействован практически вес организм животного.
Вымя состоит из четырех самостоятельных долей. Из одной доли в другую молоко перейти не может. Каждая доля имеет молочную железу, соединительную ткань, молочные протоки и сосок. В молочной железе из крови животного вырабатывается молоко, которое по молочным протокам поступает в соски. Наиболее важной частью молочной железы является железистая ткань, состоящая из огромного количества очень мелких мешочков альвеол.
При правильном кормлении коровы в вымени непрерывно течение суток образуется молоко. По мере заполнения емкость вымени увеличивается внутривыменное давление и молокообразование замедляется. Большая часть молока находится в альвеолах и мелких молочных протоках вымени (рис. 2.5). Это молоко нельзя удалить без использования приемов, вызывающих полноценный рефлекс молокоотдачи.
Выделение молока из вымени коровы зависит от человека, животного и совершенства доильной техники. Эти три составляющих и определяют в целом процесс доения коровы.
К доильной технике предъявляют следующие требования:

Рис. 2.5. Строение вымени коровы:
1 — молочные железы; 2 — соединительная ткань; 3 — сфинктер;
4 — молочные цистерны; 5 — молочные протоки; 6 — нервы; 7—
сосок; 8 — вена; 9 — артерия
доильные стаканы должны подходить к соскам различных размеров;
во время доения соски не должны подвергаться чрезмерной деформации;
действие доильной машины должно быть безвредным при случайной передержке доильных стаканов на вымени коровы и не должно вызывать у коров венозного застоя крови, отечности, кроводоя, мастита:
работа доильной машины должна быть бесшумной; доильная машина должна быть простой в изготовлении и обслуживании, надежной в работе, без ручной регулировки в процессе доения;
должна быть обеспечена возможность удобного визуального контроля за истечением молока из вымени.
К машинному доению предъявляют ряд требований, основные которых следующие:
при машинном доении у коров формируются условные рефлексы молокоотдачи и вырабатывается устойчивый стереотип поведения, обусловленный временем и местом доения, последовательностью подготовительных операций, началом работы насоса, поэтому машинное доение должно вызывать у коровы готовность активному выделению молока; основные физиологические и механические воздействия, обеспечивающие выделение молока из вымени, должны быть в пределах естественных величин; доильный аппарат должен обеспечивать свободный отток молока от сосков в период наибольшего выделения его из вымени в первые минуты доения, когда у отдельных коров за одну минуту может быть выдоено до 5...6 л;
доильный аппарат должен обеспечивать выдаивание одной коровы в среднем за 4...6 мин со средней скоростью надоя 2 л/мин; доильный аппарат должен обеспечивать одновременное выдаивание молока как из передних, так и задних долей вымени коровы.
СПОСОБЫ МАШИННОГО ДОЕНИЯ КОРОВ
Известно три способа выделения молока: естественный, ручной и машинный. При естественном способе (сосание вымени теленком) выделение молока осуществляется за счет разрежения, создаваемого в полости рта теленка; при ручном — за счет выжимания молока из сосковой цистерны руками дояра; при машинном — за счет отсасывания или выжимания молока доильным аппаратом.
Процесс молокоотдачи протекает относительно быстро. При этом необходимо как можно полнее выдоить корову, довести количество остаточного молока до минимума. Для выполнения этих требований разработаны правила ручного и машинного доения, которые включают в себя подготовительные, основные и дополнительные операции.
К подготовительным операциям относятся: обмывание вымени чистой теплой водой (при температуре 40...45 °С); обтирание его и массаж; сдаивание нескольких струек молока в специальную кружку или на темную пластину; включение аппарата в работу; надевание доильных стаканов на соски. Подготовительные операции должны быть выполнены не более чем за 60 с.
Основная операция — доение коровы, т. е. процесс выделения молока из вымени. Время чистого доения должно быть завершено, за 4...6 мин с учетом машинного додоя.
К заключительным операциям относятся: отключение доильных аппаратов и снятие их с сосков вымени, обработка сосков антисептической эмульсией.
При ручном доении молоко из цистерны соска извлекается механически. Пальцы дояра ритмично и сильно сжимают сначала рецепторную зону основания соска, а затем весь сосок сверху вниз, выжимая молоко.
При машинном доении молоко извлекается из соска вымен доильным стаканом, который выполняет функции дояра или теленка при сосании вымени. Доильные стаканы бывают одно - : двухкамерные. В современных доильных установках чаще всего применяют двухкамерные стаканы.
Молоко из сосков вымени во всех случаях выделяется циклично, порциями. Это обусловлено физиологией животного. Период времени, в течение которого выделяется одна порция молока, называют циклом или пульсом рабочего процесса доения. Цикл, (пульс) состоит из отдельных операций (тактов). Такт — это время, в течение которого происходит физиологически однородное взаимодействие соска с доильным стаканом (животного с машиной).
Цикл может состоять из двух, трех тактов и более. В зависимости от числа тактов в цикле различают двух - и трехтактные доильные аппараты и доильные машины.
Однокамерный доильный стакан состоит из конусной стенки и соединенного с ней в верхней части гофрированного присоска.
Двухкамерный стакан состоит из наружной гильзы, внутри которой свободно размещается резиновая трубка (сосковая резина), образующая две камеры — межстенную и подсосковую. Период времени, в течение которого молоко выделяется в подсоскову камеру, называют тактом сосания, период времени, когда сосок, находится в сжатом состоянии, — тактом сжатия, а когда происходит восстановление кровообращения — тактом отдыха.
На рисунке 2.6 изображены схемы работы и устройство двухкамерных доильных стаканов.
Выделение молока при машинном доении в доильных стаканах осуществляется за счет разности давлений (внутри вымени и вне его).

Рис. 2.6. Схемы работы и устройство двухкамерных доильных стаканов:
а - двухтактное доение; б — трехтактное доение; 1 — резиновая манжета; 2 — корпус стакана; 3 - сосковая резина; 4— соединительное кольцо; 5—прозрачный смотровой патрубок (конус); 6 - молочный резиновый патрубок; 7—уплотнительное кольцо; М — межстенные пространства доильных стаканов; П — подсосковые камеры доильных стаканов
Эта разность давлений (вакуум) выдавливает молоко из цистерны соска через сфинктер за ее пределы, поэтому доильные станы иногда называют вакуумными.
В любой промежуток времени в камерах доильного стакана устанавливается определенное состояние: атмосферное давление и разрежение, в определенной последовательности происходит их смена (чередование).
Работа однокамерного доильного стакана (рис. 2.7) происходит следующим образом. Из стакана откачивается воздух, и под соском образуется вакуум (разрежение). При этом сосок вытягивается и упирается в конец стакана. Возникает разность давлений под соском и внутри вымени, сфинктер соска открывается и молоко начинает вытекать. Происходит такт сосания (рис. 2.7, а). Длительность такта сосания определяется временем действия разрежения под соском и наличием молока в молочной цистерне соска. Далее в подсосковую камеру впускается воздух и разность давлений уменьшается до минимума (до естественных значений), вытекание молока через сфинктер соска прекращается и начинается такт отдыха (рис. 2.7, б). При этом сосок укорачивается и в нем восстанавливается кровообращение. За тактом отдыха вновь начинается такт сосания. Полный цикл работы однокамерного стакана состоит из двух тактов: сосания и отдыха.

Рис. 2.7. Схема однокамерного доильного стакана с гофрированным присоском: а — такт сосания; б — такт отдыха
Работа двухтактного стакана может происходить по двух-трехтактным циклам (сосание сжатие) и (сосание — сжатие - отдых). При такте сосания в подсосковой и межстенной камерах должно быть разрежение. Происходит истечение молока из соска вымени через сфинктер в подсосковую камеру. При такте сжатия в подсосковой камере разрежение, в межстенной — атмосферное давление. За счет разности давлений в подсосковой и межстенной камерах сосковая резина сжимается и сжимает сосок и сфинктер, препятствуя тем самым вытеканию молока. При такте отдыха в подсосковой и межстенной камерах атмосферное давление, т. е. в данный период времени сосок максимально приближен к своему естественному состоянию — в нем восстанавливается кровообращение.
Двухтактный режим работы доильного стакана наиболее напряженный, так как сосок постоянно испытывает воздействие вакуума. Однако при этом обеспечивается высокая скорость доения.
Трехтактный режим работы максимально приближен к ее естественному способу выделения молока.
МАШИНЫ И АППАРАТЫ ДЛЯ ПЕРВИЧНОЙ ОБРАБОТКИ И ПЕРЕРАБОТКИ МОЛОКА
ТРЕБОВАНИЯ К ПЕРВИЧНОЙ ОБРАБОТКЕ И ПЕРЕРАБОТКЕ МОЛОКА
Молоко представляет собой биологическую жидкость, продуцируемую секрецией молочных желез млекопитающих. В нем находятся молочный сахар (4,7 %) и минеральные соли (0,7 %), коллоидной фазе содержится часть солей и белков (3,3 %) и в мелкодисперсной фазе — молочный жир (3,8%) в форме, близкой к шаровой, окруженный белково-липидной оболочкой. Молоко обладает иммунными и бактерицидными свойствами, так как содержит витамины, гормоны, ферменты и другие активные вещества.
Качество молока характеризуется жирностью, кислотностью, бактериальной обсемененностью, механической загрязненностью, цветом, запахом и вкусом.
Молочная кислота накапливается в молоке вследствие брожения молочного сахара под действием бактерий. Кислотность выражается в условных единицах — градусах Тернера (°Т) и определяется числом миллиметров децинормального раствора щелочи, израсходованной на нейтрализацию 100 мл молока. Свежее молоко имеет кислотность 16°Т.
Температура замерзания молока ниже, чем воды, и находится в пределах -0,53...-0,57 °С.
Температура кипения молока около 100,1 °С. При 70 °С в молоке начинаются изменения белка и лактозы. Молочный жир застывает при температурах от 23...21,5 °С, начинает плавиться при 18,5°С и прекращает плавиться при 41...43 °С. В теплом молоке жир находится в состоянии эмульсии, а при низких температурах (16...18°С) превращается в суспензию в молочной плазме. Средний размер жировых частиц 2...3 мкм.
Источниками бактериального обсеменения молока при машинном доении коров могут быть загрязненный кожный покров вымени, плохо промытые доильные стаканы, молочные шланги, молочные краны и детали молокопровода. Поэтому при первичной обработке и переработке молока следует строго соблюдать санитарно-ветеринарные правила. Очистку, мойку и дезинфекцию оборудования и молочной посуды надо проводить сразу же после окончания работ. Моечные и отделения для хранения чистой посуды желательно располагать в южной части помещения, а хранилище и холодильные отделения — в северной. Все работники молочной должны строго соблюдать правила личной гигиены и систематически проходить медицинское освидетельствование.
При неблагоприятных условиях в молоке быстро развиваются микроорганизмы, поэтому его необходимо своевременно обрабатывать и перерабатывать. Вся технологическая обработка молока, условия его хранения и транспортировки должны обеспечивать получение молока первого сорта в соответствии со стандартом.
СПОСОБЫ ПЕРВИЧНОЙ ОБРАБОТКИ И ПЕРЕРАБОТКИ МОЛОКА
Молоко охлаждают, нагревают, пастеризуют и стерилизуют; перерабатывают на сливки, сметану, сыр, творог, кисломолочные продукты; сгущают, нормализуют, гомогенизируют, сушат и т. д.
В хозяйствах, которые поставляют цельное молоко на молокообрабатывающие предприятия, применяют наиболее простую схему доение — очистка — охлаждение, осуществляемую в доильных установках. При поставках молока в торговую сеть возможна схема доение — очистка — пастеризация — охлаждение — расфасовка в мелкую тару. Для глубинных хозяйств, поставляющих свою продукцию на продажу, возможны линии по переработке молока на молочнокислые продукты, кефир, сыры или, например, по производству сливочного масла по схеме доение — очистка — пастеризация — сепарирование — маслоизготовление. Приготовление сгущенного молока — одна из перспективных технологий для многих хозяйств.
КЛАССИФИКАЦИЯ МАШИН И ОБОРУДОВАНИЯ ДЛЯ ПЕРВИЧНОЙ ОБРАБОТКИ И ПЕРЕРАБОТКИ МОЛОКА
Сохранение молока в свежем виде на длительный срок — важная задача, так как из молока с повышенной кислотностью и большим содержанием микроорганизмов нельзя получить качественные продукты.
Для очистки молока от механических примесей и видоизмененных составных частей применяют фильтры и центробежные очистители. В качестве рабочих элементов в фильтрах используют латные диски, марлю, фланель, бумагу, металлическую сетку, синтетические материалы.
Для охлаждения молока применяют фляжные, оросительные, резервуарные, трубчатые, спиральные и пластинчатые охладители. По конструктивному исполнению они бывают горизонтальные, вертикальные, герметичные и открытые, а по виду системы охлаждения — оросительные, змеевиковые, с промежуточным хладоносителем и непосредственного охлаждения, с испарителем холодильной машины, встроенным и погружаемым в ванну для молока.
Холодильная машина может быть встроенной в резервуар или автономной.
Для нагрева молока применяют пастеризаторы резервуарные, вытеснительным барабаном, трубчатые и пластинчатые. Широко распространены электропастеризаторы.
Для разделения молока на составные продукты применяют сепараторы. Различают сепараторы-сливкоотделители (для получения сливок и очистки молока), сепараторы-молокоочистители (для очистки молока), сепараторы-нормализаторы (для очистки и нормализации молока, т. е. получения очищенного молока определенной жирности), универсальные сепараторы (для отделения сливок, очистки и нормализации молока) и сепараторы специального назначения.
По конструктивному исполнению сепараторы бывают открытые, полузакрытые, герметические.
ОБОРУДОВАНИЕ ДЛЯ ОЧИСТКИ, ОХЛАЖДЕНИЯ, ПАСТЕРИЗАЦИИ, СЕПАРИРОВАНИЯ И НОРМАЛИЗАЦИИ МОЛОКА
Молоко очищают от механических примесей с помощью фильтров или центробежных очистителей. Молочный жир в состоянии суспензии имеет тенденцию к агрегатированию, поэтому фильтрование и центробежную очистку предпочтительно проводить для теплого молока.
Фильтры задерживают механические примеси. Хорошими показателями качества фильтрации обладают ткани из лавсана : других полимерных материалов с числом ячеек не менее 225 на 1 см2. Молоко проходит через ткань под давлением до 100 кПа. При использовании фильтров тонкой очистки требуются большие напоры, фильтры забиваются. Время их использования ограничено свойствами фильтрующего материала и загрязненностью жидкости.
Сепаратор-молокоочиститель ОМ-1А служит для очистки молока от посторонних примесей, частиц свернувшегося белка и других включений, плотность которых выше плотности молока. Производительность сепаратора 1000 л/ч.
Сепаратор-молокоочиститель ОМА-ЗМ (Г9-ОМА) производительностью 5000 л/ч входит в комплект автоматизированных пластинчатых пастеризационно-охладительных установок ОПУ-ЗМ и 0112-45.
Центробежные очистители дают бол ее высокую степень очистки молока. Принцип работы их следующий. Молоко подается в барабан очистителя через поплавковую регулирующую камеру по центральной трубке. В барабане оно движется по кольцевому пространству, распределяясь тонкими слоями между разделительными тарелками, и перемещается к оси барабана. Механические примеси, имеющие большую плотность, чем молоко, выделяются в тонкослойном процессе прохождения между тарелками и откладываются на внутренних стенках барабана (в грязевом пространстве).
Охлаждение молока препятствует его порче и обеспечивает транспортабельность. Зимой молоко охлаждают до 8 °С, летом — до 2...4 °С. С целью экономии энергии используют природный холод, например холодный воздух зимой, но более эффективна аккумуляция холода. Наиболее простой способ охлаждения — погружение фляг и бидонов с молоком в проточную или ледяную воду, снег и т. п. Более совершенны способы с использованием молочных охладителей.
Открытые оросительные охладители (плоские и цилиндрические) имеют приемник молока в верхней части поверхности теплообмена и сборник в нижней части. В трубах теплообменника проходит охлаждающая жидкость. Из отверстий в дне приемника молоко попадает на орошаемую поверхность теплообмена. Стекая по ней тонким слоем, молоко охлаждается и освобождается от растворенных в нем газов.
Пластинчатые аппараты для охлаждения молока входят в состав пастеризационных установок и молокоочистителей в комплекте доильных установок. Пластины аппаратов выполнены гофрированными из нержавеющей стали, применяемой в пищевой промышленности. Расход охлаждающей ледяной воды принимают трехкратным по отношению к расчетной производительности аппаратов, которая составляет 400кг/ч в зависимости от числа пластин теплообмена, собранных в рабочий пакет. Разность температур между охлаждающей водой и холодным молоком составляет 2...3°С.
Для охлаждения молока применяют резервуары-охладители с промежуточным хладоносителем РПО-1,6 и РПО-2,5, резервуар-охладитель молока МКА 200Л-2А с рекуператором теплоты, очиститель-охладитель молока ООМ-1000 «Холодок», резервуар для охлаждения молока РПО-Ф-0,8.
СИСТЕМЫ УДАЛЕНИЯ И УТИЛИЗАЦИИ НАВОЗА
Уровень механизации работ по уборке и удалению навоза достигает 70...75 %, а трудовые затраты составляют 20...30 % общих затрат.
Проблема рационального использования навоза как удобрения при одновременном соблюдении требований защиты окружающей природы от загрязнений имеет важное народнохозяйственное значение. Эффективное решение данной проблемы предусматривает системный подход, включающий рассмотрение во взаимосвязи всех производственных операций: удаление навоза из помещений, транспортирование его, переработку, хранение и использование. Технологию и наиболее эффективные средства механизации для удаления и утилизации навоза следует выбирать на основ технико-экономического расчета с учетом вида и системы (способа) содержания животных, размеров ферм, производственных условий и почвенно-климатических факторов.
В зависимости от влажности различают твердый, подстилочный (влажность 75...80%), полужидкий (85...90 %) и жидкий (90...94 %) навоз, а также навозные стоки (94...99 %). Выход экскрементов от различных животных за сутки колеблется приблизительно от 55 кг (у коров) до 5,1 кг (у откормочных свиней) и зависит в первую очередь от кормления. Состав и свойства навоза влияют на процесс его удаления, обработки, хранения, использования, а также на микроклимат помещений и окружающую природную среду.
К технологическим линиям уборки, транспортирования и утилизации навоза любого вида предъявляют следующие требования:
своевременное и качественное удаление навоза из животноводческих помещений при минимальном расходе чистой воды;
обработка его с целью выявления инфекций и последующего обеззараживания;
транспортировка навоза к местам переработки и хранения;
дегельминтизация;
максимальное сохранение питательных веществ в исходном навозе и продуктах его переработки;
исключение загрязнения окружающей природной среды, а так же распространения инфекций и инвазий;
обеспечение оптимального микроклимата, максимальной чистоты животноводческих помещений.
Сооружения по обработке навоза следует размещать с подветренной стороны и ниже водозаборных объектов, а прифермские навозохранилища — за пределами фермы. Необходимо предусматривать санитарные зоны между животноводческими помещениями и жилыми поселками. Участок под очистные сооружения не должен затапливаться паводковыми и ливневыми водами. Все сооружения системы удаления, обработки и утилизации навоза должны быть выполнены с надежной гидроизоляцией.
Многообразие технологий содержания животных вызывает необходимость использования различных систем уборки навоза в помещениях. Наиболее широко применяют три системы удаления навоза: механическую, гидравлическую и комбинированную (щелевые полы в сочетании с подпольным навозохранилищем или каналами, в которых размещены механические средства уборки).
Механическая система предопределяет удаление навоза из помещений всевозможными механическими средствами: навозными транспортерами, бульдозерными лопатами, скреперными установками, подвесными или наземными вагонетками.
Гидравлическая система уборки навоза бывает смывная, рециркуляционная, самотечная и отстойно-лотковая (шиберная).
Смывная система уборки предусматривает ежедневную промывку каналов водой из смывных насадков. При прямом смыве навоз удаляют струей воды, создаваемой напором водопроводной сети или подкачивающим насосом. Смесь воды, навоза и навозной жижи стекает в коллектор и для повторного смыва уже не используется.
Рециркуляционная система предусматривает использование для удаления навоза из каналов осветленной и обеззараженной жидкой фракции навоза, подаваемой по напорному трубопроводу из резервуара-накопителя.
Самотечная система непрерывного действия обеспечивает удаление навоза за счет сползания его по естественному уклону, образующемуся в каналах. Ее применяют на фермах крупного рогатого скота при содержании животных без подстилки и кормлении их силосом, корнеклубнеплодами, бардой, жомом и зеленой массой и в свинарниках при кормлении жидкими и сухими комбикормами без использования силоса и зеленой массы.
Самотечная система периодического действия обеспечивает удаление навоза, который накапливается в продольных каналах, обустроенных шиберами за счет сброса его при открытии шиберов. Объем продольных каналов должен обеспечивать накопление навоза в течение 7...14 дней. Обычно размеры канала следующие: длина З...50м, ширина 0,8 м (и более), минимальная глубина 0,6 м. При этом чем гуще навоз, тем короче и шире должен быть канал.
Все самотечные способы удаления навоза из помещений особенно эффективны при привязном и боксовом содержании животных без подстилки на теплых керамзитобетонных полах или на резиновых ковриках.
Основной способ утилизации навоза — использование его в качестве органического удобрения. Наиболее эффективным способом удаления и использования жидкого навоза является утилизация его на полях орошения. Известны также способы переработки навоза в кормовые добавки, для получения газа и битоплива.
КЛАССИФИКАЦИЯ ТЕХНИЧЕСКИХ СРЕДСТВ ДЛЯ УДАЛЕНИЯ И УТИЛИЗАЦИИ НАВОЗА
Все технические средства для удаления и утилизации навоза делят на две группы: периодического и непрерывного действия.
Транспортные устройства безрельсовые и рельсовые, наземные и надземные, мобильные погрузки, скреперные установки и другие средства относятся к оборудованию периодического действия.
Транспортирующие устройства непрерывного действия бывают с тяговым органом и без него (самотечный, пневматический и гидравлический транспорт).
По назначению различают технические средства для ежедневной уборки и периодической, для удаления глубокой подстилки, для очистки выгульных площадок.
В зависимости от конструктивного исполнения различают:
наземные и подвесные рельсовые вагонетки и безрельсовые ручные тележки:
скребковые транспортеры кругового и возвратно-поступательного движения;
канатные скреперы и тросовые лопаты;
навесные устройства на тракторах и самоходных шасси;
устройства для гидравлического удаления навоза (гидротранспорт);
устройства с применением пневматики.
Технологический процесс уборки навоза из животноводческих помещений и транспортировки его на поле можно разделить на следующие последовательно выполняемые операции:
сбор навоза из стойл и сбрасывание его в канавки или погрузка в вагонетки (тележки);
транспортировка навоза от стойл по животноводческому помещению к месту сбора или погрузки;
погрузка на транспортные средства;
транспортировка по территории фермы к навозохранилищу или месту компостирования и разгрузки:
погрузка из хранилища на транспортные средства;
транспортировка на поле и выгрузка из транспортного средства.
Для выполнения этих операций применяют много различных вариантов машин и механизмов. Наиболее рациональным следует, считать тот вариант, в котором один механизм выполняет две операции и более, а стоимость уборки 1 т навоза и перемещения его на удобряемые поля наименьшая.
ТЕХНИЧЕСКИЕ СРЕДСТВА ДЛЯ УДАЛЕНИЯ НАВОЗА ИЗ ЖИВОТНОВОДЧЕСКИХ ПОМЕЩЕНИЙ
Механические средства для удаления навоза подразделяют на мобильные и стационарные. Мобильные средства применяют в основном при беспривязном содержании скота с использованием подстилки. В качестве подстилки обычно используют солому, торф, мякину, опилки, стружку, опавшие листья и хвою деревьев. Примерные суточные нормы внесения подстилки на одну корову 4...5 кг, овцу — 0,5... 1 кг.
Навоз из помещений, где содержатся животные, удаляют один-два раза в год с помощью различных навешиваемых на транспортное средство устройств для перемещения и погрузки различных грузов, в том числе и навоза.
В животноводстве широко применяют навозоуборочные транспортеры ТСН-160А, ТСН-160Б, ТСН-ЗБ, ТР-5, ТСН-2Б, продольные скреперные установки УС-Ф-170А или УС-Ф250А в комплекте с поперечными УС-10, УС-12 и УСП-12, скреперные продольные транспортеры ТС-1ПР в комплекте с поперечным ТС-1ПП, скреперные установки УС-12 в комплекте с поперечной УСП-12, шнековые транспортеры ТШН-10.
Скребковые транспортеры ТСН-ЗБ и ТСН-160А (рис. 2.8) кругового действия предназначены для удаления навоза из животноводческих помещений с одновременной погрузкой его в транспортные средства.
Горизонтальный транспортер 6, устанавливаемый в навозном канале, состоит из шарнирной разборной цепи с закрепленными на ней скребками 4, приводной станции 2, натяжного 3 и поворотных 5 устройств. Привод цепи осуществляется от электродвигателя через клиноременную передачу и редуктор.

Рис. 2.8. Навозоуборочный транспортер ТСН-160А:
1 - шкаф управления; 2 — приводная станция; 3 — натяжное устройство; 4— цепь со скребками; 5— поворотные устройства; 6, 7— горизонтальный и наклонный транспортеры
Наклонный транспортер 7 состоит из приводного устройства, опор, несущих блоков с корытами и нижним сектором 5 в которых движется замкнутая цепь со скребками. Нижний конец наклонного транспортера находится внутри животноводческого помещения и расположен ниже уровня пола с таким расчетом, чтобы навоз, перемещаемый горизонтальным транспортером, падал в нижнюю часть желоба наклонного транспортера. Верхний конец наклонного транспортера располагают обычно в тамбуре животноводческого помещения.
Шнековый транспортер ТШН-10 используют для удаления навоза и коровников на 200 голов. Комплект включает в себя четыре продольных и один поперечный транспортеры, вращающиеся с частотой 15...60 мин-1. Шнековые транспортеры производительны, надежны и долговечны.
Скреперная установка УС-Ф-170 (рис. 2.9) состоит из приводной 1 и натяжной 2 станций, цепи 5, направляющих роликов 7, скребков 4 и 6. совершающих возвратно-поступательное движение по навозоприемной плоскости желоба, ширина которой равна ширине навозного прохода коровника. При рабочем ходе скребки за счет сил трения их о желоб раскрываются в рабочее положение и перемещают массу на размер хода скребка. При холостом ходе скребки складываются, оставляя порции навозной массы неподвижными на полу желоба. Во время следующего рабочего хода скребков этот навоз будет удален.
Скреперная установка УС-250 аналогична по назначению, устройству и рабочему процессу УС-Ф-170. В привод входят: электродвигатель мощностью 2.2 кВт и редуктор с ведущей звездочкой. Скребок состоит из ползуна, шарнирного устройства, правого и левого скребков и натяжного устройства.
Длину скребков можно регулировать по ширине навозного прохода от 1,8 до 3 м при глубине 0,8 м. Для очистки стенок прохода на концах скребков установлены резиновые шишки. Установка работает 18...20 ч в сутки (кроме периода сна животных). Уборка навоза происходит в присутствии животных, выгонять которых из навозных проходов не требуется. Они свободно переступают через скребки.
Скреперные установки УС-15, УС-250, УС-Ф-170 имеют автоматически действующий механизм реверса движения скребков.
Установка УВН-800 (рис. 2.10) производительностью 90...95 т/ч предназначена для удаления навоза из открытых и подпольных 4 навозохранилищ. Она состоит из насосной установки 2 для жидкого навоза и скрепера 3, перемещающегося по рельсовому пути вдоль торца навозохранилища. Насос и скрепер могут работать раздельно. Насос служит для выгрузки жидкой фракции навоза, которую не может выбрать скрепер. Скрепер разрушает верхнюю корку навоза в хранилище, перемешивает его, а затем выгружает и транспортное средство.

Рис. 2.9. Скреперная установка УС-Ф-170:
1, 2 - приводная и натяжная станции; 3- ползун; 4, 6-скребки; 5-цепь; 7-направляющие ролики; 8 — штанга

Рис. 2.10. Установка для выгрузки навоза УВН-800:
1 – цистерна; 2- насосная установка; 3- скрепер; 4 - траншея (подпольное навозохранилище); 5 - грузовая лебедка; 6- натяжная (ручная) лебедка; 7- блок; 8 - поперечная траншея

Рис. 2.11. Технологическая схема установки УТН-10А:
1 - скреперная итаповкаУС-Ф-170(УС-250); 2- гидроприводная станция; 3 – навозохранилище; 4 – навозопровод; 5 —загрузочная воронка; 6 — насос; 7 — навозоуборочный конвейер КНП-10
Шнековые и центробежные насосы типа НШ, НЦИ, НВЦ используют для выгрузки и перекачки жидкого навоза по трубопроводам. Производительность их находится в пределах от 70 до 350 т/ч.
Скреперная установка ТС-1 предназначена для свиноводческих ферм. Ее устанавливают в навозном канале, который перекрывают решетчатыми полами. Установка состоит из поперечного и продольного транспортеров. Основные сборочные единицы транспортеров: скреперы, цепи, привод. На установке ТС-1 применяют скрепер типа «Каретка». Привод, состоящий из редуктора и электродвигателя, сообщает скреперам возвратно-поступательное движение и предохраняет их от перегрузок.
Навоз от животноводческих помещений к местам обработки и хранения транспортируют мобильными и стационарными средствами.
С точки зрения охраны окружающей среды от загрязнения навоз целесообразно транспортировать по трубопроводам. Для этих целей применяют поршневую установку УТН-10А(рис. 2.11). Дальность транспортировки до 150м. Для перекачивания жидкого навоза устраивают стационарные насосные станции, оборудованные фекальными насосами типа ФГ, НЖН-200, НШ и др.
НАВОЗОХРАНИЛИЩА
Навоз загрязняет территорию ферм, ухудшает условия работы обслуживающего персонала, а при большой концентрации становится опасным источником загрязнения окружающей среды. Свежеубранный навоз до момента внесения в почву должен в течение 2...12мес выдерживаться в прифермских или полевых навозохранилищах.
Различают навозохранилища, примыкающие к помещениям и удаленные от помещения.
Помимо постоянных хранилищ навоза на фермах необходимо предусматривать карантинные хранилища, которые выполняют секционными. Поступившую однодневную порцию навоза выдерживают в секции в течение 6 дней. Если за это время на ферме не будет зарегистрировано инфекционных заболеваний, то навоз транспортируют к месту постоянного хранения. Расстояние от ферм до навозохранилищ должно быть не менее 60 м.
Подстилочный навоз хранят в полузаглубленных или наземных навозохранилищах, где навоз укладывают в бурты. Полужидкий навоз можно укладывать в бурты, добавляя солому или другой влагоемкий материал. Применяют также компостирование навоза с торфом. Жидкий навоз после карантирования перекачивают в основные хранилища-гомогенизаторы, где его хранят 6...12мес при периодическом перемешивании.
Жидкий навоз разделяют на фракции с последующим отдельным хранением и внесением фракций в почву. Для естественного разделения жидкого навоза на фракции применяют отстойники-накопители глубиной 2...2,5 м. Для искусственного разделения используют механические средства: центрифуги, виброгрохоты, шнековые прессы, сита и др. Известны также механизированные навозохранилища, которые позволяют получать органические удобрения высокого качества и внедрять единую технологическую линию, включающую в себя очистку помещений от навоза, транспортирование его в хранилища, приготовление органо-минеральных компостов. Весь технологический процесс выполняется системой машин, обеспечивающей комплексную механизацию.
СРЕДСТВА ДЛЯ ВЫГРУЗКИ, ПОГРУЗКИ И ТРАНСПОРТИРОВАНИЯ НАВОЗА К МЕСТАМ ИСПОЛЬЗОВАНИЯ
Для очистки проходов и выгульных площадок от навоза и остатков корма применяют бульдозерные навески БН-Ф-2,5 производительностью 18...20 т/ч.
Погрузку твердого (подстилочного) навоза чаще всего выполняю! бульдозерами-погрузчиками фронтального типа ПБ-35, ПКУ-08, ПФБ-Ф-0,6, а перевозят его в основном тракторными прицепами 2ПТС-4, 2ПТС-6 и 1ПТС-9.
Технологическая линия транспортировки жидкого навоза состоит из навозоприемника (жижесборника), мобильного или гидротранспорта и навозохранилища. Жидкий навоз самотеком поступает из помещения в навозоприемник, откуда с помощью мобильных или насосного агрегатов транспортируется к месту хранения, использования или обработки.
Для перекачивания жидкого навоза на крупных фермах и комплексах применяют насосные станции, оборудованные фекальными насосами ФГ-144/46, 1ЦМ160-10У, а также используют специальные насосы для жидкого навоза НЖН-200, НШ-50-1, НШ-50-2, НЦВ-2 и др.
Для транспортировки навоза в навозохранилища применяют пневматические установки, в которых навоз перемешается по стальным трубопроводам диаметром 125мм. Для этой цели выпускают установку УПН-15, состоящую из компрессора, ресивера, продувочного котла, в который навоз поступает из помещений, воздухопровода и навозопровода. Расстояние транспортирования до 300 м. Для транспортирования жидкого навоза используют также тракторные цистерны-разбрасыватели РЖТ-4, РЖТ-8, жижеразбрасыватели ЗЖВ-3.2, мобильный погрузчик жидких органических удобрений ПЖН-250.
Из подпольных траншей навоз удаляется стационарной скреперной установкой УВН-800 в сочетании с насосом НЖН-200. При этом влажность навоза должна быть не менее 85 %. Насосом откачивается жидкая фракция, а твердая удаляется скрепером установки УВН-800 и перегружается в транспортные средства. При выгрузке навоза влажностью менее 85 % из подпольных траншей используют погрузчик-бульдозер ПБ-35.
ПОДГОТОВКА ТЕХНИЧЕСКИХ СРЕДСТВ К РАБОТЕ И КОНТРОЛЬ КАЧЕСТВА УДАЛЕНИЯ И УТИЛИЗАЦИИ НАВОЗА
Современные технологические схемы по удалению, обработке, обеззараживанию, транспортировке, хранению навоза и подготовке его к использованию включают разнообразное технологическое оборудование различной степени сложности.
При подготовке к работе оборудования проверяют состояние рабочих органов, надежность крепления рам к фундаменту и рабочих органов и узлов к раме, состояние цепных и клиноременных передач, зубчатых передач, соединительных муфт, подшипниковых узлов, смазку в редукторах и трущихся деталях.
При подготовке к работе механических средств удаления навоза—транспортеров ТСН-ЗБ, ТСН-160 проверяют правильность монтажа редуктора с натяжной и поворотной звездочками, сборку цепи и ее натяжение, прямолинейность дна и боковых стенок канала. В зимнее время следят за примерзанием скребков наклонного транспортера к дну желоба.
В скреперных установках УС-10, УС-15, УС-250 перед началом работы проверяют направление вращения электродвигателя в зависимости от установки концевых выключателей. Одновременно проверяют правильность реверсирования движения скребков. Следят за состоянием чистиков скребков. Скрепер должен двигаться плавно, без рывков.
Гидравлические системы удаления навоза, состоящие из различных гидротранспортных каналов, просты по устройству и надежды в работе. При работе в первую очередь обращают внимание на состояние внутренней поверхности этих каналов и их гидроизоляцию.
Пневматические системы удаления навоза работают под давлением 600 кПа. Поэтому обслуживающий персонал должен периодически следить за давлением, состоянием предохранительных клапанов, температурой компрессора.
Контроль качества удаления навоза за пределы фермы оценивают в целом по санитарному состоянию фермы.
Поскольку навоз опасен как источник грязи, возбудителей инфекции и инвазии не только в животноводческих помещениях, но и за их пределами, то при транспортировке навоза с фермы необходимо предусмотреть наличие отдельных дорог, проездов, которые используются только для этих целей.
При использовании жидкого навоза на поливе долголетних культурных пастбищ устанавливают карантинный срок—21 день между последним поливом и началом стравливания травы в загоне.
Ветеринарные специалисты должны осуществлять санитарно-бактериологическую и гельминтологическую оценку пастбищ, выгульных площадок, получаемой продукции.
МЕХАНИЗАЦИЯ СТРИЖКИ ОВЕЦ
ТРЕБОВАНИЯ К СТРИЖКЕ ОВЕЦ
Основная цель овцеводства — получение шерсти. Наиболее трудоемким процессом является стрижка овец и первичная обработка шерсти.
Шерстью называют роговидные образования кожи, которые составляют волосяной покров овец, а также других животных. Она обладает низкой теплопроводностью, большой влагоемкостью, высокой износостойкостью и валкоспособностью, что делает ее пенным сырьем для производства различных тканей. Чем волокно тоньше, длиннее и крепче, тем более тонкую, длинную и прочную нить можно из него получить.
Тонкорунных и полутонкорунных овец стригут один раз в год, грубошерстных и полугрубошерстных овец — два раза в год: весной и осенью. Перед стрижкой овец выдерживают без корма и воды 10ч. Всех овец после стрижки обрабатывают раствором креолина с гексахлораном в купочных установках с целью профилактики заболевания чесоткой. Для получения шерсти высокого качества стригаль должен выполнять основные зоотехнические требования: остригать шерсть одним проходом машинки как можно ближе к коже животного; отводить остриженную шерсть стригальной машинкой; не допускать порезов животного. Машинная стрижка овец значительно облегчает труд и повышает в 3...5 раз производительность стригаля. Стригаль, работая ручными ножницами, срезает шерсть на высоте 10...15 мм от поверхности кожи. При машинной стрижке настриг шерсти повышается в среднем на 10 % с каждой овцы. Увеличение настрига шерсти и улучшение ее качества приводят к повышению доходности фермы, применяющей машинную стрижку, на 18...20 %.
СПОСОБЫ СТРИЖКИ ОВЕЦ
В практике овцеводства применяют ручной способ стрижки и машинный.
При ручном способе овец стригут обычно на столах в связанном виде специальными ножницами. В первую очередь стригаль остригает низкосортную шерсть (на ногах, брюхе, охвостье) и отдельно складывает ее. Далее — на боках и хребте. Получаемое при этом руно не засоряется низкосортной шерстью.
При стрижке овец на столах стригальной машинкой овцу обычно не связывают и располагают ее так, чтобы ее ноги были лишены опоры. Далее стригаль включает машинку и в определенной последовательности производит стрижку отдельных частей тела животного, начиная с охвостья, внутренних сторон ляшек и заканчивая на спине и шее. После этого стригаль отпускает овцу на землю, а руно передает относчику шерсти или на ленточный транспортер для доставки ее на классировку.
Получил распространение оренбургский (новозеландский, австралийский) способ стрижки. При этом способе овец стригут не связывая, в сидячем положении. Стригаль сам ловит овцу, подводит ее к рабочему месту и остригает, выполняя ряд приемов в определенной последовательности.
При такой стрижке опытный стригаль за один день остригает 60...80 овец и более вместо 30...40 при стрижке на стеллажах. Процесс стрижки этим способом включает одиннадцать приемов (операций). Качество стрижки зависит от мастерства стригаля и работы стригальной машинки.
УСТРОЙСТВО И ОБОРУДОВАНИЕ СТРИГАЛЬНЫХ ПУНКТОВ
Для стрижки овец применяют различные комплекты оборудования, включающие в себя машинки для стрижки, электродвигатели подвесного типа, гибкие валы и силовую сеть. Известны стригальные агрегаты ЭСА-1Д с одной машинкой МСО-77Б, ЭСА-12Г с 12 машинками, ЭСА-1/200, ЭСА6/200, ЭСА12/200А с высокочастотными машинками МСУ-200, а также специализированные комплексы КТО-24 и ВСЦ-24/200 на 20 тыс. овец.
Комплекты оборудования выбирают обычно, исходя из поголовья скота и оптимальной продолжительности стрижки (10...15суток). Агрегаты ЭСА-1Д, ЭСА-1/200 используют в хозяйствах с поголовьем овец до 500 голов.
Стригальное оборудование располагают в помещениях длиной 80 м и шириной 8м в один или два ряда. Они имеют отделения стрижки и упаковки рун, должны быть чистыми и светлыми, соответствовать зоогигиеническим требованиям. В отделении стрижки монтируют стригальные и точильные агрегаты, транспортеры для шерсти, в отделении упаковки устанавливают весы, столы для классировки шерсти и пресс.
Электростригальные агрегаты ЭСА-1Д и ЭСА-12Г предназначены для стрижки овец во всех климатических зонах страны в помещениях или под навесом в хозяйствах с небольшим поголовьем овец. Агрегат ЭСА-1Д состоит из одной машинки МСО-77Б, гибкого вала с броней и арматурой ВГ-10, электродвигателя привода машинки АОЛ-0,12-2-Ц, силовой и осветительной сети. Агрегат ЭСА-12Г включает двенадцать таких комплектов и дополнительно точильные аппараты типа ДАС-350. Высокочастотные электростригальные агрегаты ЭСА-6/200 и ЭСА-12/200А отличатся тем, что в их состав входят соответственно высокочастотные электростригальные машинки МСУ-200В, блоки преобразователя частоты тока ИЭ-9401, точильные аппараты и электропроводящая сеть.
Агрегат ЭСА-12/200А (рис. 2.12) предназначен для стрижки 10...12 тыс. овец в сезон. Его используют для оборудования стационарных, передвижных или временных стригальных пунктов на 12 рабочих мест.
Процесс стрижки и первичной обработки шерсти на примере комплекта КТО-24/200А организуют следующим образом: оборудование комплекта размещают внутри стригального пункта. Отару овец загоняют в загоны, примыкающие к помещению стригального пункта. Подавальщики ловят овец и подают их к рабочим местам стригалей. У каждого стригаля имеется набор жетонов с указанием номера рабочего места. После стрижки каждой овцы стригаль укладывает на транспортер руно вместе с жетоном. В конце транспортера подсобный рабочий укладывает руно на весы и по номеру жетона учетчик записывает в ведомость массу руна отдельно каждому стригалю. Затем на столе для классировки шерсти производится его разделение по классам. С классировочного стола шерсть попадает в бокс соответствующего класса, откуда направляется для прессования в кипы, после чего кипы взвешивают, маркируют и отправляют на склад готовой продукции.
Стригальный аппарат «Руно-2» предназначен для стрижки овец на отгонных пастбищах или фермерских хозяйствах, не имеющих централизованного снабжения электроэнергией. Состоит из стригальной машинки с приводом от высокочастотного асинхронного электродвигателя, преобразователя, питающегося от бортовой сети автомобиля или трактора, комплекта соединительных проводов и дипломата для переноски. Обеспечивает одновременную работу двух стригальных машинок.
Потребляемая мощность одной стригальной машинки 90 Вт, напряжение 36 В, частота тока 200 Гц.
Широкое распространение на стригальных пунктах получили стригальные машинки МСО-77Б и высокочастотные МСУ-200В. МСО-77Б предназначены для стрижки овец всех пород и состоит из корпуса, режущего аппарата, эксцентрикового, нажимного и шарнирного механизмов. Корпус служит для соединения всех механизмов машинки и обшит сукном для предохранения руки стригаля от перегрева. Режущий аппарат является рабочим органом машинки и служит для срезания шерсти. Работает по принципу ножниц, роль которых выполняют лезвия ножа и гребенки. Нож срезает шерсть, совершая поступательное движение по гребенке 2300 двойных ходов в минуту. Ширина захвата машинки 77 мм, масса 1,1 кг. Привод ножа осуществляется гибким валом от внешнего электродвигателя через эксцентриковый механизм.
Высокочастотная стригальная машинка МСУ-200В (рис. 2.13) состоит из электростригальной головки, электродвигателя и шнура питания. Принципиальным отличием ее от машинки МСО-77Б является то, что трехфазный асинхронный электродвигатель с короткозамкнутым ротором выполнен как единое целое со стригальной головкой. Мощность электродвигаВт, напряжение 36 В, частота тока 200 Гц, частота вращения ротора электродвигателямин-1. Преобразователь частоты тока ИЭ-9401 преобразует промышленный ток напряжением 220/380 В в ток повышенной частоты — 200 или 400 Гц напряжением 36 В, безопасный для работы обслуживающего персонала.
Для заточки режущей пары используют однодисковый точильный аппаратТА-1 и доводочный аппарат ДАС-350.

Рис. 2.12. Схема электростригального агрегата ЭСА-12/200А:
1— заземлитель; 2— заземляющий провод; 3— полуавтомат для заточки режущих пар ПЗН-60; 4 — отвод к точильному аппарату; 5—стригальная машинка МСУ-200; 6—крюк; 7- электрическая сеть; 8 — нажимной пускатель; 9 — отвод к преобразователю; 10 — преобразователь частоты тока ПЧСФ
Рис. 2.13. Стригальная машинка МСУ-200В:
1 — нажимная лапка; 2 — винт с гайкой; 3 — пружина; 4— упорный стержень; 5—нажимной патрон; 6 —нажимная гайка; 7- предохранительный винт; 8 — чехол; 9 — заглушка; 10, 11 — втулки; 12—шпонка; 13 — зубчатое колесо; 14— электродвигатель; 15, 22 — гайки; 16— винт с пружинной шайбой; 17— подшипник; 18— вал эксцентрика; 19— ролик; 20— корпус; 21 — центр качания; 23 — рычаг; 24— винт крепления гребенки; 25— нож; 26 — гребенка
ПОДГОТОВКА ОБОРУДОВАНИЯ К РАБОТЕ И КОНТРОЛЬ КАЧЕСТВА СТРИЖКИ ОВЕЦ
Стригальное оборудование используется сезонно, несколько недель в году — весной и осенью. В промежутке этого времени оборудование следует хранить в помещении или под навесом. При подготовке к работе оборудования после хранения прежде всего расконсервируют узлы, детали и поверхности, покрытые консервационной смазкой. Снятые ранее детали и узлы устанавливают на место, выполняя необходимые регулировки. Проверяют работоспособность и взаимодействие механизмов путем кратковременного пуска машины и работы ее в режиме холостого хода.
Обращают внимание на надежность заземлений корпусных металлических деталей. Помимо общих требований при подготовке к использованию конкретных машин учитывают особенности их конструкции и эксплуатации.
В агрегатах с гибким валом вначале присоединяют вал к электродвигателю, а затем к стригальной машинке. Обращают внимание на то, чтобы вал ротора легко проворачивался от руки и не имел осевого и радиального биения. Направление вращения вала должно соответствовать направлению закручивания вала, а не наоборот. Движение всех элементов стригальной машинки должно быть плавным. Электродвигатель должен быть закреплен.
Работоспособность агрегата проверяют кратковременным включением его при холостой работе.
При подготовке к работе транспортера шерсти обращают внимание на натяжение ленты. Натянутая лента не должна проскальзывать на приводном барабане транспортера. При подготовке к работе точильных агрегатов, весов, столов для классировки, пресса для шерсти обращают внимание на работоспособность отдельных узлов.
Качество стрижки овец оценивают по качеству получаемой шерсти. Это прежде всего исключение перестрига шерсти. Перестриг шерсти получается при неплотном прижатии гребенки стригальной машинки к телу овцы. В этом случае машинка срезает шерсть не около кожи животного, а выше и тем самым укорачивает длину волокна. Повторная стрижка ведет к получению сечки, которая засоряет руно.
МИКРОКЛИМАТ В ЖИВОТНОВОДЧЕСКИХ ПОМЕЩЕНИЯХ
ЗООТЕХНИЧЕСКИЕ И САНИТАРНО-ГИГИЕНИЧЕСКИЕ ТРЕБОВАНИЯ
Микроклимат животноводческих помещений — это совокупность физических, химических и биологических факторов внутри помещения, оказывающих определенное воздействие на организм животных. К ним относятся: температура, влажность, скорость движения и химический состав воздуха (содержание в нем вредных газов, наличие пыли и микроорганизмов), ионизация, излучение и др. Сочетание этих факторов может быть различным и влиять на организм животных и птиц как положительно, так и отрицательно.
Зоотехнические и санитарно-гигиенические требования по содержанию животных и птицы сводятся к поддержанию показателей микроклимата в пределах установленных норм. Нормативы микроклимата для различных видов помещений приведены в таблице 2.1.
Микроклимат животноводческих помещений табл. 2.1
Параметр | Помещения крупного рогатого скота | Свинарники – откормочники | Овчарни | Птичники |
Температура в помещении, оС Относительная влажность, % Скорость движения воздуха, м/с Освещенность, лк Содержание оксида углерода (углекислого газа), % Содержания аммиака, мг/л | 10 80 0,4…0,5 50…70 0,25 0,02 | 15 75 0,3 50 0,25 0,02 | 5 75 0,5 30 0,25 0,02 | 16 70 0,3 20 0,19 0,01 |
Создание оптимального микроклимата — это производственной процесс, заключающийся в регулировании техническими средствами параметров микроклимата до получения такого их сочетания, при котором условия среды наиболее благоприятствуют нормальному протеканию физиологических процессов в организме животного. Необходимо также учитывать, что неблагоприятные параметры микроклимата в помещениях отрицательно влияют и на здоровье людей, обслуживающих животных, вызывая у их снижение производительности труда и быстрое утомление, например, излишняя влажность воздуха в стойловых помещениях при резком снижении внешней температуры приводит к усилении конденсации водяных паров на элементах конструкций здании, вызывает загнивание деревянных конструкций и в то же время делает их малопроницаемыми для воздуха и более теплопроводными.
На изменение параметров микроклимата животноводческого помещения влияют: колебания температуры внешнего воздуха, зависящей от местного климата и времени года; приток или потери теплоты через материал постройки; накопление теплоты, выделяемой животными; количество выделяемого водяного пара, аммиака и углекислоты, зависящей от частоты удаления навоза и состояния канализации; состояние и степень освещения помещений; технология содержания животных и птицы. Большую роль играют конструкции дверей, ворот, наличие тамбуров.
Поддержание оптимального микроклимата снижает себестоимость продукции.
СПОСОБЫ СОЗДАНИЯ НОРМАТИВНЫХ ПАРАМЕТРОВ МИКРОКЛИМАТА
Для поддержания в помещениях с животными оптимального микроклимата их необходимо вентилировать, отапливать или охлаждать. Управлять вентиляцией, отоплением и охлаждением должна автоматика. Количество удаляемого из помещения воздуха всегда равно количеству поступающего. Если в помещении работает вытяжная установка, то приток свежего воздуха происходит неорганизованно.
Системы вентиляции делят на естественную, принудительную с механическим побудителем воздуха и комбинированную. Естественная вентиляция происходит за счет разности плотностей воздуха внутри и вне помещения, а также под влиянием ветра. Принудительную вентиляцию (с механическим побудителем) подразделяют на нагнетательную с подогревом подаваемого воздуха и без подогрева, вытяжную и нагнетательно-вытяжную.
Оптимальные параметры воздуха в животноводческих помещениях поддерживает, как правило, вентиляционная система, которая может быть вытяжной (вакуумной), приточной (нагнетательной) или приточно-вытяжной (сбалансированной). Вытяжная вентиляция, в свою очередь, может быть с естественной тягой воздуха и с механическим побудителем, а естественная вентиляция беструбной и трубной. Естественная вентиляция обычно удовлетворительно работает в весеннее и осеннее время года, а также при температуре наружного воздуха до 15 °С. Во всех остальных случаях воздух необходимо нагнетать в помещения, а в северных и центральных районах дополнительно подогревать.
Вентиляционная установка обычно состоит из вентилятора электрическим двигателем и вентиляционной сети, в которую входят система воздуховодов и приспособления для забора и выпуска воздуха. Вентилятор предназначен для перемещения воздуха. Возбудителем движения воздуха в нем служит рабочее колесо лопастями, заключенное в специальный кожух. По значению развиваемого полного давления вентиляторы делят на устройств низкого (до 980 Па), среднего (980...2940 Па) и высокого (294Па) давления; по принципу действия — на центробежные и осевые. В животноводческих помещениях применяют вентиляторы низкого и среднего давления, центробежные и осевые, общего назначения и крышные, правого и левого вращения. Вентилятор изготавливают различных размеров.
В животноводческих помещениях применяют следующие вид отопления: печное, центральное (водяное и паровое низкого давления) и воздушное. Наиболее широко используют системы воздушного отопления. Сущность воздушного отопления состоит том, что подогретый в калорифере воздух впускается в помещение непосредственно или через систему воздуховодов. Для воздушного отопления используют калориферы. Воздух в них может нагреваться водой, паром, электричеством или продуктами сгорающего топлива. Поэтому калориферы делят на водяные, паровые, электрические и огневые. Отопительные электрокалориферы серии СФО с трубчатыми оребренными нагревателями предназначены для нагрева воздуха до температуры 50 °С в системах воздушного отопления, вентиляции, искусственного климата и в сушильных установках. Заданная температура выходящего воздуха поддерживается автоматически.
ОБОРУДОВАНИЕ ДЛЯ ВЕНТИЛЯЦИИ, ОТОПЛЕНИЯ, ОСВЕЩЕНИЯ
Автоматизированные комплекты оборудования «Климат» предназначены для вентиляции, отопления и увлажнения воздуха в животноводческих помещениях.
Комплект оборудования «Климат—3» состоит из двух приточных вентиляционно-отопительных агрегатов 3 (рис. 2.14), системы увлажнения воздуха, приточных воздуховодов 6, комплекта вытяжных вентиляторов 7, станции управления 1 с панелью датчиков 8.
Вентиляционно-отопительный агрегат 3 нагревает и подает aтмосферный воздух, при необходимости увлажняет.
Система увлажнения воздуха включает напорный бак 5 и электромагнитный клапан, который автоматически регулирует степень и увлажнение воздуха. Подача горячей воды в калориферы регулируется клапаном 2.
Комплекты приточно-вытяжных установок ПВУ-4М, ПВУ-ЬМ предназначены для поддержания температуры воздуха и его циркуляции в заданных пределах в холодный и переходный периоды года.

Рис. 2.14. Оборудование «Климат—3»:
1—станция управления; 2—регулирующий клапан; 3 — вентиляционно-отопительные агрегаты; 4 — электромагнитный клапан; 5—напорный бак для воды; 6 — воздуховоды; 7—вытяжной вентилятор; 8 - датчик
Электрокалориферные установки серии СФОЦ мощностью 5— 100 кВт применяют для нагрева воздуха в системах приточной вентиляции животноводческих помещений.
Тепловентиляторы типа ТВ-6 состоят из центробежного вентилятора с двухскоростным электродвигателем, водяного калорифера, жалюзийного блока и исполнительного механизма.
Огневые теплогенераторы ТГГ-1А. ТГ-Ф-1.5А, ТГ-Ф-2,5Г, ТГ-Ф-350 и топочные агрегаты ТАУ-0,75, ТАУ-1,5 применяют для поддержания оптимального микроклимата в животноводческих и других помещениях. Нагрев воздуха осуществляется продуктами сгорания жидкого топлива.
Вентиляционная установка с утилизацией теплоты УТ-Ф-12 предназначена для вентиляции и обогрева животноводческих помещений с использованием теплоты удаляемого воздуха. Воздушно-тепловые (воздушные завесы) позволяют поддерживать параметры микроклимата в зимнее время в помещении при открытии ворот большого сечения для пропуска транспорта или животных.
ОБОРУДОВАНИЕ ДЛЯ ОБОГРЕВА И ОБЛУЧЕНИЯ ЖИВОТНЫХ
При выращивании высокопродуктивного поголовья животных необходимо рассматривать их организмы и окружающую среду как единое целое, важнейшей составляющей которой является лучистая энергия. Применение в животноводстве ультрафиолетового облучения для ликвидации солнечного голодания организма, инфракрасного локального обогрева молодняка, а также светорегуляторов, обеспечивающих фотопериодический цикл развития животных, показало, что использование лучистой энергии дает возможность без больших материальных затрат существенно повысить сохранность молодняка — основу воспроизводства поголовья скота. Ультрафиолетовое облучение положительно влияет на рост, развитие, обмен веществ и воспроизводительные функции сельскохозяйственных животных.
Благотворное влияние на животных оказывают инфракрасные лучи. Они проникают на 3...4 см в глубь тела и способствуют усилению тока крови в сосудах, благодаря чему улучшаются обменные процессы, активизируются защитные силы организма, значительно повышаются сохранность и прирост массы молодняка.
В качестве источников ультрафиолетового излучения в установках наибольшее практическое значение имеют эритемные люминесцентные ртутные дуговые лампы типа ЛЭ; бактерицидные, ртутные дуговые лампы типа ДБ; дуговые ртутные трубчатые лампы высокого давления типа ДРТ.
Источниками ультрафиолетовых излучений служат также ртутно-кварцевые лампы типа ПРК, эритемные люминесцентные лампы типа ЭУВ и бактерицидные лампы типа БУВ.
Ртутно-кварцевая лампа ПРК представляет собой трубку из кварцевого стекла, заполненную аргоном и небольшим количество ртути. Кварцевое стекло хорошо пропускает видимые и ультрафиолетовые лучи. Внутри кварцевой трубки у ее концов вмонтированы вольфрамовые электроды, на которые навита спираль, покрытая слоем оксида. Во время работы лампы между электродами возникает дуговой разряд, являющийся источником ультрафиолетового излучения.
Эритемные люминесцентные лампы типа ЭУВ имеют устройство, аналогичное люминесцентным лампам ЛД и ЛБ, но отличаются oт них составом люминофора и сортом стекла трубки.
Бактерицидные лампы типа БУВ устроены подобно люминесцентным. Применяют их для обеззараживания воздуха в родильных отделениях КРС, свинарниках, птичниках, а также для обеззараживания стен, пола, потолка и ветеринарного инструмента.
Для инфракрасного обогрева и ультрафиолетового облучения молодняка применяют установку ИКУФ-1М, состоящую из шкафа управления и сорока облучателей. Облучатель представляет собой жесткую коробчатую конструкцию, на обеих концах которой размещены инфракрасные лампы ИКЗК, а между ними — ультрафиолетовая эритемная лампа ЛЭ-15. Над лампой установлен отражатель. Пускорегулирующее устройство лампы смонтировано сверху на облучателе и закрыто защитным кожухом.



