Министерство транспорта Российской Федерации
Федеральное агентство железнодорожного транспорта
государственное образовательное учреждение
высшего профессионального образования
«Дальневосточный государственный
университет путей сообщения»
Кафедра «Строительные конструкции»
ПРОЕКТИРОВАНИЕ
СТАЛЬНОЙ БАЛОЧНОЙ КЛЕТКИ
2-е издание, дополненное
Рекомендовано
Методическим советом ДВГУПС
в качестве учебного пособия
Хабаровск
Издательство ДВГУПС
2010
УДК 624.014(083.9)(075.8)
ББК Н 543+Н72
Т 180
Рецензенты:
Кафедра «Строительные конструкции»
Тихоокеанского государственного университета
(заведующий кафедрой кандидат технических наук доцент
)
Главный инженер Хабаровского проектно-изыскательского
института «Дальжелдорпроект» – филиала
Танаев, В. А.
Т 180 | Проектирование стальной балочной клетки : учеб. пособие / . – 2-е изд., доп. – Хабаровск : Изд-во ДВГУПС, 2010. – 82 с.: ил. |
Учебное пособие соответствует ГОС ВПО направления подготовки дипломированных специалистов 270100 «Строительство» специальности 270102 «Промышленное и гражданское строительство» по дисциплине «Металлические конструкции».
На примере расчёта изложены основы проектирования конструкций стальной балочной клетки (вариантное проектирование, расчет настила, прокатной и составной балок, колонны с базой и оголовком) с контролем полученных результатов на ПЭВМ.
Предназначено студентам 4-го и 5-го курса всех форм обучения для курсового и дипломного проектирования.
УДК 624.014(083.9)(075.8)
ББК Н 543+Н72
© ДВГУПС, 2000, 2010
ВВЕДЕНИЕ
В настоящее время большое внимание уделяется состоянию и эффективности внедрения новых технологий и компьютерных средств в учебный процесс, отказу от устаревших методик, не стимулирующих творческую работу студентов, сковывающих их академическую свободу.
Учебное пособие составлено для выполнения курсового и дипломного проектов и включает:
· вариантное проектирование настила из прокатных балок;
· проектирование составной сварной главной балки;
· проектирование колонн сплошного и сквозного сечения с базой и оголовком.
Каждый раздел проектирования контролируется на ЭВМ программным комплексом «МК-1», разработанным на кафедре «Строительные конструкции» . Составлены два варианта программного комплекса. Первый – для работы в среде MS-DOS версии 3.3 и выше на компьютерах IBM-pc/xt и более современных (наличие арифметического сопроцессора обязательно) и второй (автор )
«МК-1 For Window’s» – для работы под управлением операционной системы Window’s 95 и более поздних версий Window’s систем.
К выполнению курсовой работы студент приступает после изучения начальных разделов курса «Металлические конструкции», включающих свойства строительных сталей, основы расчета конструкций, сварные и болтовые соединения, прокатные и составные балки, центрально загруженные колонны.
Эти разделы хорошо изложены в учебниках [3, 4]. При этом основными нормативными документами являются [1, 2]. Расчеты конструкций должны выполняться с соблюдением Международной системы единиц (СИ), в соответствии с нормами СН 528-80 «Перечень единиц физических величин, подлежащих применению в строительстве».
При выполнении проектной работы студент приобретает навыки расчета и конструирования стальных конструкций и средств их соединения.
Общие требования
и методические рекомендации
Исходными данными для проектирования являются основные размеры рабочей площадки в плане и по высоте, толщина листов настила, временная нагрузка и сталь конструкций.
В конструкции стальной балочной клетки листы настила укладываются по прокатным балкам и привариваются к ним. Расстояние между балками определяется жесткостью и прочностью настила. Приварка настила к балкам делает невозможным сближение опор настила при его изгибе, что вызывает в нем растягивающие усилия, уменьшающие момент в пролете.
При известной толщине настила определяют его пролет из условия предельного прогиба, а затем проверяют прочность. Так же, из условия минимального расхода стали, подбираются сечения прокатных балок. Получение единственного оптимального решения контролируется на ЭВМ.
К дальнейшему расчету принимается вариант с наименьшим расходом стали.
Далее выполняется расчет составной сварной главной балки, свободно опертой на колонны и загруженной сосредоточенной нагрузкой от вспомогательных балок. Главные балки могут опираться на колонны сверху (через оголовок) или сбоку (через опорный лист).
Производится компоновка сечения составной главной балки с определением ее оптимальной высоты из условия минимального расхода стали при соблюдении прочности и предельной величины прогиба. С целью экономии расхода стали у опор уменьшаются размеры сечения за счет ширины поясных листов или высоты балки. Проверяется местная устойчивость стенки и полок, а также общая устойчивость главной балки. Общую устойчивость можно не проверять, если нагрузка на балку передается через жесткий железобетонный или стальной настил, приваренный к сжатому поясу балки. Колонны принимаются сплошного или сквозного сечения. Выполняется расчет и конструирование стержня колонны, базы и оголовка.
Конструкции должны иметь минимальные сечения, удовлетворяющие требованиям норм проектирования, с учетом сортамента на прокат, а в составных сечениях недонапряжение не должно превышать пяти процентов.
Расчеты оформляются в виде пояснительной записки, которая должна содержать краткие пояснения, ссылки на источники (СНиП, ГОСТ и др.), выводы по результатам расчетов и поясняющие расчетные схемы узлов и соединений.
После проверки расчетов на ЭВМ выполняются чертежи конструкций.
Графически курсовая работа оформляется на листе формата А1, где приводится план, боковой вид балочной клетки со связями жесткости и спецификация конструктивных элементов.
Выполняются чертежи главной и вспомогательной балок и балки настила, чертежи колонны с базой и оголовком. Составляется спецификация стали.
Оформление пояснительной записки. Пояснительная записка (ПЗ) является текстовым документом проекта. Содержание и оформление ПЗ должно отвечать требованиям Единой системы конструкторской документации, которые регламентируются [6].
1. Конструкции стальной балочной клетки
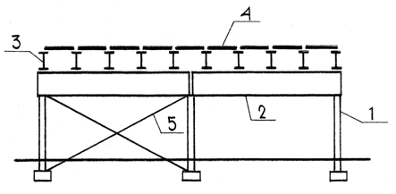
Балочные перекрытия в зданиях различного назначения, а также покрытия рабочих площадок могут выполняться из стальных конструкций. Рабочие площадки служат для размещения производственного оборудования на определенной высоте в помещении цеха промздания. В конструкцию площадки входят колонны, балки, настил и связи (рис. 1). Система несущих балок стального покрытия называется балочной клеткой.

Рис. 1. Конструкция площадки: 1 – колонны; 2 – главные
балки; 3 – балки настила; 4 – настил; 5 – связи
В качестве покрытия балочной клетки (несущего настила) обычно применяются плоские стальные листы, которые в виде полос укладываются на балки настила и крепятся к ним при помощи электросварки.
Балочные клетки могут быть упрощенного, нормального или усложненного типа (рис. 2).
В упрощенном типе клетки расстояние между стенами или колоннами сравнительно невелико и ограничивается по экономическим соображениям, так как при частом расположении длинных балок (что обусловлено малой величиной пролета настила) возникает противоречие между получаемой несущей способностью и требуемой жесткостью балок.
|
|
|
Рис. 2. Типы балочных клеток: а – упрощенный; б – нормальный; в – усложненный; 1 – балки настила; 2 – стены; 3 – главные балки; 4 – колонны; 5 – вспомогательные балки
В нормальном типе клетки расстояние между колоннами может быть больше, чем в упрощенном типе, так как шаг главных балок не зависит от пролета настила.
В усложненном типе клетки имеются еще и вспомогательные балки, на которые опираются балки настила. При этом возрастает трудоемкость монтажа конструкций. Однако расход стали на площадку часто оказывается меньше, чем в предыдущем типе.
Тип балочной клетки выбирается на основании сравнения технико-экономических показателей при вариантном проектировании.
Сопряжение балок по высоте может быть поэтажным или в одном уровне (для нормального типа клетки), а также пониженным (для усложненного типа клетки, рис. 3).
|
|
|

Рис. 3. Сопряжения балок: а – поэтажное; б – в одном уровне; в – пониженное; Нс – строительная высота перекрытия; 1 – главная балка;
2 – балка настила; 3 – настил; 4 – вспомогательная балка
Поэтажное сопряжение является наиболее простым при монтаже конструкций, но соответствует наибольшей строительной высоте перекрытия. Сопряжения в одном уровне и пониженное позволяют сохранить оптимальную высоту главной балки при заданной строительной высоте перекрытия, но усложняют конструкцию примыкания балок.
Известно, что при нагрузках, не превышающих 50 кН/м2, и предельном прогибе не более 1/150 прочность стального настила будет всегда обеспечена, и его рассчитывают только на прогиб [3, 4, 7].
Однако в последнее время в целях экономии металла величина предельного прогиба была увеличена до 1/120 [2], поэтому в учебном пособии предусматриваются обе проверки: как из условия прогиба, так и из условия прочности.
При компоновке балочной клетки пролёт настила увязывается с пролётом главной (или вспомогательной) балки, на которую опирается балка настила и делит её на равные части, равные пролёту настила.
2. Пример расчета стальной балочной клетки
Требуется составить два варианта балочного перекрытия рабочей площадки (нормального и усложненного типов).
В каждом варианте по заданной толщине настила расчетом определяется его пролет и подбираются сечения прокатных балок (вспомогательной и балки настила). После выбора варианта к дальнейшему проектированию рассчитывают составную сварную главную балку площадки, а также колонну с базой и оголовком.
Исходные данные:
– временная нагрузка 18 кН/м2;
– толщина настила площадки нормального типа 10 мм;
– толщина настила площадки усложненного типа 6 мм;
– пролет главной балки 16,5 м;
– шаг главных балок 6 м;
– габарит помещения под перекрытием 6,7 м;
– отметка верха настила (ОВН) 8,4 м;
– тип сечения колонны сплошная (сквозная);
– сталь настила и прокатных балок С235;
– сталь главной балки и колонны С255.
2.1. Разработка вариантов стальной балочной клетки
2.2.1. Вариант 1. Балочная клетка нормального типа
Расчет настила
Сбор нагрузки на 1 м2 настила приведен в табл. 1.
Таблица 1
Сбор нагрузки на 1 м2 настила
№ п/п | Наименование нагрузки | Нормативная, кН/м2 | gf | Расчетная, кН/м2 |
1 | Временная нагрузка – р | 18 | 1,2 | 21,6 |
2 | Собственный вес настила
где удельный вес стали –
| 0,77 | 1,05 | 0,81 |
Итого |
|
|
Средний коэффициент надёжности по нагрузке
.
Принимаем расчетную схему настила (рис. 4).

Рис. 4. Расчетная схема настила:
1 – настил; 2 – балка настила; 3 – сварные швы
При расчёте настила учитываются следующие особенности его конструкции и работы:
1) сварные швы крепления настила к балкам не дают возможности его опорам сближаться при изгибе. Поэтому в настиле возникают растягивающие цепные усилия Н;
2) защемление настила сварными швами на опорах в запас не учитывают, считая опоры шарнирно неподвижными;
3) изгиб настила происходит по цилиндрической поверхности.
Цилиндрический модуль упругости стали определяется по формуле
МПа.
В расчете определяется наибольший пролет полосы настила единичной ширины при заданной толщине листа
и предельном прогибе
. (1)
В данном примере после подстановки величин
и
в формулу (1), получаем

(2)
В целях экономии стали пролет
следует принимать как можно ближе к
так чтобы длина главной балки была кратна пролету
. Так как величина
зависит от пролета настила
, задачу решают попытками, принимая пролет настила в интервале от 0,5 до 2,5 м. Принимаем
м. В этом случае пролет
укладывается одиннадцать раз по длине главной балки:
По табл. 1П приложения интерполяцией находим предельный прогиб
для пролета
м 
Далее, по формуле (2) вычисляется наибольший пролет:
м.
Так как принятый пролет настила превышает предельный
увеличиваем число пролетов настила на один и получаем:
м. Интерполяцией по табл. 1П приложения вновь определяем
и повторно находим наибольший прогиб
м.
Так как
м, на этом расчет заканчиваем.
В целях упрощения крепления балки настила к главной у ее опоры смещаем на половину шага в пролет первую и последнюю балки настила. Тогда разбивка главной балки на панели имеет вид:
(рис. 5).

Рис. 5. Схема балочной клетки нормального типа (1-й вариант):
1 – колонна; 2 – главные балки; 3 – балки настила
Проверка прогиба настила. Вначале вычисляется балочный прогиб, т. е. прогиб от поперечной нагрузки в середине полосы шириной
м, имеющей цилиндрическую жесткость
, без учета растягивающей силы Н:

м.
Прогиб настила с учетом растягивающей силы Н определяется по формуле
Коэффициент
находится из решения кубического уравнения
(3)
Для решения примем
, тогда
,
где 
В данном случае
;
;
;
прогиб настила
;
относительный прогиб
;
предельный прогиб 
Так как
проверка прогиба удовлетворяется.
Проверка прочности настила. Изгибающий момент с учетом приварки настила на опорах составляет

кНм.
Растягивающая сила

кН.
Проверка прочности полосы настила шириной
м:

Здесь площадь сечения настила
м2;
момент сопротивления настила
м3.
Расчет сварного шва крепления настила к балке
1. Расчет по металлу шва.
Коэффициент глубины провара шва
[1, табл. 34].
Коэффициент условия работы шва
[1, п. 11.2*].
В соответствии с [1, табл. 55] принимаем электроды типа Э42. Расчетное сопротивление металла шва при ручной сварке электродами Э42
МПа [1, табл. 56].
МПа.
2. Расчет по металлу границы сплавления.
Коэффициент глубины провара шва
[1, табл. 34].
Коэффициент условия работы шва
[1, п. 11.2*].
Расчетное сопротивление по металлу границы сплавления
МПа [1, табл. 3].
Здесь
МПа – нормативное сопротивление проката, тогда
МПа.
Сравнивая полученные величины при расчете по металлу шва и по металлу границы сплавления, находим минимальную из них:
МПа.
Требуемый катет шва
м.
Принимаем
мм [1, табл. 38].
Расчет балки настила
Балка рассчитывается как свободно опертая, загруженная равномерно распределенной нагрузкой (табл. 1). Пролет равен шагу главных балок
м.
Погонная нагрузка собирается с полосы шириной, равной пролету настила
м:
а) нормативная нагрузка

Здесь в первом приближении вес балки настила принят равным 2 % от нормативной нагрузки на настил (табл. 1):
кН/м;
б) расчетная нагрузка
кН/м.
Изгибающий момент от расчетной нагрузки
кН/м.
Требуемый момент сопротивления
см3.
Коэффициент, учитывающий развитие пластических деформаций
в первом приближении.
Требуемый момент инерции по предельному прогибу (при пролете
м по табл. 1П приложения находим n0 = 200):
см4.
Принимаем двутавр № 35Б1 ГОСТ (
см4,

масса
кг/м).
Уточняем коэффициент, учитывающий развитие пластических деформаций
в зависимости от отношения площадей сечения полки и стенки
площадь сечения стенки
см2;
площадь сечения полки
см2;
. По [1, табл. 66] интерполяцией определяем коэффициент
В данном примере
[1, п. 5.18].
Уточняем собственный вес балки и всю нагрузку:
а) нормативная
кН/м;
б) расчетная
кН/м.
Максимальный изгибающий момент
кН/м.
Проверка нормальных напряжений:
МПа.
Условие прочности удовлетворяется с недонапряжением:
![]()
Расчетная перерезывающая сила на опоре:
кН.
Проверка касательных напряжений на опоре [1, формула (41)]
МПа,
где
см;
МПа.
Условие прочности выполняется с большим запасом.
Примечание. Проверку напряжений t в прокатных балках при отсутствии ослаблений опорных сечений, как правило, не производят, так как условие прочности удовлетворяется из-за достаточной толщины стенки.
Проверка прогиба балки:

Проверка выполняется.
Проверка общей устойчивости балки
В соответствии с [1 , п. 5.16(а)] при наличии стального настила, непрерывно опирающегося на сжатый пояс балки и надежно с ним связанного электросваркой, проверять общую устойчивость балки не требуется.
Высота покрытия по главным балкам и расход стали по первому варианту. Высота балки настила, плюс толщина настила:
мм.
Расход стали на настил и балки настила:
кг/м2.
2.1.2. Вариант 2. Балочная клетка усложненного типа
Расчет настила
Сбор нагрузки на 1 м2 настила приведен в табл. 2.
Таблица 2
Сбор нагрузки на 1 м2 настила
№ п/п | Наименование нагрузки | Нормативная, кН/м2 | gf | Расчетная, кН/м2 |
1 | Временна | 18 | 1,2 | 21,600 |
2 | Собственный вес настила
| 0,462 | 1,05 | 0,485 |
Итого |
|
|
Средний коэффициент надёжности по нагрузке
|
Из за большого объема этот материал размещен на нескольких страницах:
1 2 3 4 5 6 7 8 |



