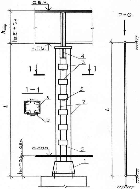
Рис. 20. Конструкция и расчетная схема колонны:
1 – база; 2 – стержень; 3 – оголовок
Расход стали на перекрытие (масса настила и балок, включая главную):

где
– расход стали на настил, балки настила и вспомогательные балки (по данным вариантного проектирования);
– вес погонного метра главной балки;
м – пролет вспомогательной балки.
2.3. Проектирование колонны сплошного сечения
2.3.1. Расчетная длина колонны и сбор нагрузки
Отметка низа главной балки
(рис. 20). Заглубление фундамента принимается в интервале
Принимаем ![]()
Геометрическая длина колонны
![]()
При опирании балок на колонну сверху колонна рассматривается как шарнирно закрепленная в верхнем конце. Соединение с фундаментом легких колонн в расчете также принимается шарнирным. Поэтому расчетная длина колонны определяется при ![]()
.
Грузовая площадь 
Сбор нагрузки на колонну представлен в табл. 7.
Таблица 7
Сбор нагрузки на колонну, кН
№ | Наименование нагрузки | Нормативная |
| Расчетная |
1 | Временная | 1782 | 1,2 | 2138,4 |
2 | Вес настила и балок
| 134,72 | 1,05 | 141,46 |
Итого | 1916,7 | – | 2280 |
2.3.2. Подбор сечения колонны
Выполняется расчет относительно оси Y, пересекающей полки
(рис. 21).
Гибкостью колонны предварительно задаются при нагрузке 1500...2500 кН в интервале
; при нагрузке 2500.....4000 кН гибкость принимаем
Для расчета при нагрузке 2280 кН принимаем
и по [1, табл. 72] находим ![]()
Требуемая площадь сечения колонны

Требуемые радиус инерции и ширина полки:
используя соотношение
находим ширину полки
Ширину полки назначаем в соответствии с сортаментом универсальной стали 340 мм. Высоту стенки
назначаем так, чтобы выполнялось условие
Назначив толщину
получаем площадь сечения стенки
. Свес полки ![]()
Далее необходимо определить предельное значение
из условия возможности применения автоматической или полуавтоматической сварки. Проверку выполняем по графику (см. рисунок приложения). При высоте стенки
по графику находим предельную величину свеса ![]()
Так как
условие технологичности сварки выполняется.
Требуемые площадь сечения полки и ее толщина:

Принимаем
(рис. 21).
Геометрические характеристики сечения. Площадь сечения
![]()
Момент инерции

Радиус инерции 
Гибкость
приведенная гибкость

По [1, п. 5.3] вычисляем коэффициент продольного изгиба при ![]()

Включаем в нагрузку вес колонны
![]()
где
– удельный вес стали;
– конструктивный коэффициент, учитывающий вес ребер и сварных швов.
Полная расчетная нагрузка
![]()
Проверка колонны на устойчивость

Недонапряжение составляет 3,2 %, что менее 5 %, следовательно требования [1, п. 1.9] соблюдены.
Проверка предельной гибкости:
![]()
где 
При
проверка гибкости выполняется. Так как для двутаврового сечения при
радиус инерции
и коэффициент
, проверку устойчивости относительно оси
не выполняем.
2.3.3. Проверки местной устойчивости полки и стенки колонны
Отношение свеса полки к ее толщине 
Наибольшее отношение
при условии выполнения устойчивости полки определяется по формуле [1, табл. 29].
Так как 
устойчивость полок обеспечивается.
Проверяем местную устойчивость стенки по условию 
Вычисляем:

Здесь
, но не более 2,3 в соответствии с [1, табл. 27];
![]()
Так как
устойчивость стенки колонны обеспечена.
В соответствии с [1, п. 7.21] при
поперечные ребра жесткости по расчету устанавливать не требуется. Принимаем по конструктивным соображениям на отправочном элементе два парных ребра. Назначаем размеры парных ребер: ширина ![]()
принимаем
толщина
принимаем ![]()
В центрально-сжатых колоннах сплошного сечения сдвигающие усилия между стенкой и полкой незначительны. Поэтому сварные швы, соединяющие полки со стенкой, назначают конструктивно толщиной
Принимаем катет сварного шва ![]()
2.3.4. Расчет базы колонны
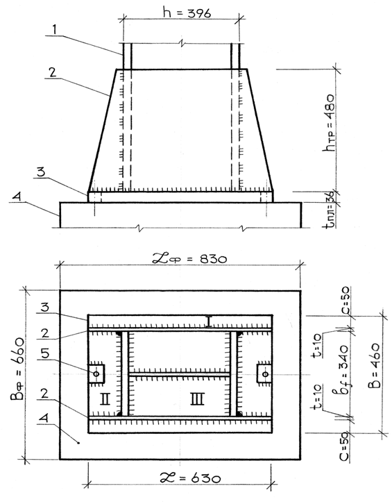
База колонны, состоящая из опорной плиты и двух траверс, крепится к фундаменту анкерными болтами (рис. 22).

Рис. 22. База колонны сплошного сечения: 1 – стержень;
2 – траверса; 3 – плита; 4 – фундамент; 5 – анкерный болт
Размеры плиты базы. Ширина плиты в назначается по конструктивным соображениям:
(принимать кратно 10 мм). Здесь
толщина траверсы,
– свесы плиты. Один из размеров (
или
) должен соответствовать ширине листа универсальной стали. Рекомендуется ширину
принимать кратную 10 мм, а длину
– по стандартным размерам листов. Принимаем
![]()
Длина плиты, минимальная по конструктивным соображениям
Учитывая стандартные размеры листов, назначаем 
Проверяем достаточность размеров плиты в плане расчетом из условия смятия бетона под плитой. Назначаем класс бетона фундамента
.
Расчетное сопротивление бетона смятию при коэффициенте условия работы![]()
![]()
Требуемая длина плиты по расчету:

Принимаем по сортаменту универсальной стали
так как
Получаем размеры плиты базы в плане
с площадью 
Далее, в зависимости от размеров в плане верхнего обреза фундамента уточняется сопротивление бетона смятию и проверяются напряжения под плитой. Назначаем размеры верхнего обреза фундамента:
![]()
![]()
Площадь 
Уточняется коэффициент 
Уточняется сопротивление бетона смятию:
![]()
Проверяем бетон на смятие под плитой базы:

Проверка выполняется.
Расчет толщины плиты базы. Толщина плиты назначается в пределах
Расчет толщины плиты базы производится из условия прочности плиты при изгибе на действие реактивного давления фундамента.
|
|
![]()
1)
|
2) для участка II коэффициент
определяется по табл. 6П приложения в зависимости от отношения стороны
к свободной стороне
;
3) для участка III
определяется по табл. 7П приложения в зависимости от отношения большей стороны к меньшей, где
– длина меньшей стороны.
Изгибающие моменты в плите на участках:
· на первом участке
![]()
· на втором участке вычисляем отношение сторон
где
Так как
расчет выполняем как консоли:
![]()
· на третьем участке ![]()
где
при
По наибольшему моменту на участках
из условия прочности плиты на изгиб
определяется требуемая толщина плиты:
(34 мм), где
согласно [6, табл. 6]. По сортаменту принимается плита толщиной 36 мм,
согласно [1, табл. 6].
Расчет траверсы. Нагрузка со стержня колонны передается на траверсы через сварные швы, длина которых и определяет высоту траверсы. При четырех швах с высотой катета ![]()

Здесь прочность по металлу шва ![]()
по металлу границы сплавления ![]()
где
. Нормативное сопротивление
определено по [1, табл. 51]. В соответствии с требованием [1, п. 12.8] расчетная длина флангового шва должна быть не более
в расчете . По сортаменту универсальной стали принимается высота листа траверсы ![]()
Расчет катета сварного шва крепления траверсы к плите. При вычислении суммарной длины швов не учитывается по 1 см на непровар:
![]()
Требуемый катет шва по расчету:

В соответствии с [1, табл. 38] при толщине плиты 36 мм минимальный катет шва равен
Принимаем 
Приварку торца стержня колонны к опорной плите базы выполняем конструктивными швами ![]()
Крепление базы к фундаменту. При шарнирном сопряжении колонны с фундаментом необходимы анкерные болты диаметром
для фиксации проектного положения колонны и закрепления ее в процессе монтажа. Принимаем два анкерных болта диаметром
Болты устанавливаются в плоскости главных балок с креплением к плите базы, что обеспечивает за счет гибкости плиты шарнирное сопряжение колонны с фундаментом (см. рис. 22).
2.3.5. Расчет оголовка колонны
Оголовок колонны состоит из опорной плиты и подкрепляющих ребер (рис. 24). Опорная плита передает давление от двух главных балок на ребра оголовка и фиксирует проектное положение балок при помощи монтажных болтов. Определяем размеры ребер, задавшись толщиной плиты
Требуемая толщина парных ребер из условия работы на смятие:

где N – удвоенная опорная реакция главной балки;
– расчетное сопротивление смятию торцевой поверхности [1, табл. 1, 2, 51];
– ширина опорного ребра балки. Принимаем толщину ребра
Ширина ребра должна быть не менее ![]()
Принимаем ширину парных ребер
вверху и 120 мм внизу.
Высота вертикальных ребер определяется из условия размещения четырех фланговых швов длиной не менее

Здесь катет шва не может быть более
где
– толщина стенки колонны. Длина сварного шва не должна быть более
Принимаем катет
и высоту ребра ![]()


Так как стенка колонны тоньше примыкающих ребер (
), стенку проверяем на срез:

Вывод: проверка стенки колонны толщиной 8 мм на срез не выполняется. Поэтому в пределах высоты оголовка на сварных швах встык устанавливается вставка большей толщины. Требуемая толщина стенки из условия среза:

Принимаем вставку толщиной ![]()
Торец колонны фрезеруется, поэтому толщина швов, соединяющих опорную плиту со стержнем колонны и ребрами, назначается конструктивно
мм [1, табл. 38]. С целью укрепления стенки колонны и вертикальных ребер от возможной потери устойчивости снизу вертикальные ребра обрамляются горизонтальными ребрами толщиной
мм.
Для проверки результатов расчета колонны с базой на ЭВМ составляются исходные данные (табл. 8).
Таблица 8
Исходные данные для проверки расчета колонны
сплошного сечения на ЭВМ
№ | Вводимые параметры | Величина |
Шифр задания | 768 | |
1 | Заглубление обреза фундамента | 600 мм |
2 | Высота стенки сечения колонны | 360 мм |
3 | Толщина стенки сечения колонны | 8 мм |
4 | Ширина полки сечения колонны | 340 мм |
5 | Толщина полки сечения колонны | 18 мм |
6 | Строительная высота перекрытия | 1540 мм |
7 | Расход стали на перекрытие | 138,72 кг/м2 |
2.4. Проектирование колонны сквозного сечения
2.4.1. Расчетная длина колонны и сбор нагрузки
Отметка низа главной балки (рис. 25).
![]()

Рис. 25. Конструкция и расчетная схема колонны:
1 – база; 2 – ветви; 3 – планки; 4 – оголовок; 5 – диафрагма
Заглубление фундамента принимается в интервале ![]()
Принимаем 
Геометрическая высота колонны
![]()
Расчетная длина колонны 
Грузовая площадь 
Сбор нагрузки приведен в табл. 9.
Таблица 9
Сбор нагрузки на колонну
№ п/п | Наименование нагрузки | Нормативная, кН |
| Расчетная, кН |
1 | Временная | 1782 | 1,2 | 2138,4 |
2 | Вес настила и балок
| 134,72 | 1,05 | 141,46 |
Итого | 1916,7 | 2280 |
2.4.2. Подбор сечения колонны относительно материальной оси X
|
Из за большого объема этот материал размещен на нескольких страницах:
1 2 3 4 5 6 7 8 |



