В этом разделе приводятся указания по подготовке объекта и правила техники безопасности при производстве работ. Мероприятия по технике безопасности разрабатывают в соответствии с требованиями СНиП и излагают в виде конкретных указаний.
3.1.9. Технико-экономические показатели проекта.
Технико-экономические показатели в составе технологической карты рассчитываются на основании калькуляции затрат труда и машинного времени, выполненной в разделе 3.1.5.
Определяются следующие показатели:
* затраты труда на монтаж 1 т сборного железобетона (Т р. е. );
* затраты машинного времени на монтаж 1 т сборного железобетона (tм. е.);
* выработка на одного рабочего в смену (Вр.).
T i
Т р. е. = , где
Р i
Тi – трудоемкость монтажа, чел.-дн.;
P i – общий вес смонтированных элементов, т.
t i
t м. е. = , где
P i
t i - затраты машинного времени на монтаж элементов конструкции, маш.-час.
P i
В р. =
T i
3.1.10. Оформление расчетно-пояснительной записки.
Расчетно-пояснительная записка оформляется от руки (или распечатывается на компьютере) четким почерком, чернилами или шариковой ручкой, но не карандашом, на стандартных листах писчей бумаги, с полями слева - 25 мм, справа - 10 мм. Записка брошюруется, в ее состав включают и выполненные на миллиметровой бумаге чертежи и эскизы (брошюровка скрепками не допускается).
На титульном листе расчетно-пояснительной записки указывают название высшего учебного заведения, кафедры, наименование работы, тему проекта, факультет, курс, группу, фамилию и инициалы студента, фамилию и инициалы преподавателя, руководившего проектом, а также год разработки.
Страницы записки необходимо пронумеровать. В конце записки ставится подпись студента и дата окончания работы над проектом.
3.2. Графическая часть курсового проекта.
Эта часть проекта содержит графическую часть технологической карты, предназначенную для пояснения разработанной технологии строительно-монтажного процесса с помощью чертежей, схем и графиков, а также почасовой график выполнения работ на захватке. Графические материалы должны быть четкими в исполнении, предельно ясными для понимания и содержать всю необходимую информацию (нумерация осей, основные размеры здания и отдельных конструктивных элементов, высотные отметки и привязки).
На чертежах необходимо показать:
* разбивку сооружения на захватки и ярусы;
* раскладку и способы складирования конструктивных элементов здания перед их монтажом (если монтаж производится с предварительной раскладкой или складированием элементов);
* схемы передвижения и места стоянок строительно-монтажных машин в процессе монтажа сборных конструкций;
* способы установки элементов конструкции в проектное положение;
* схемы строповки, выверки и временного закрепления элементов конструкции в процессе их монтажа;
* такелажное оборудование и монтажные приспособления в процессе подъема, установки и закрепления конструкций.
Почасовой график выполнения монтажных работ на захватке разрабатывается на основе принятого метода производства монтажных работ и калькуляции затрат труда и машинного времени на монтаж (табл. 5).
Форма почасового графика приводится в таблице 8.
Табл. 8
Почасовой график
производства работ на захватке
№ пп | Номер захватки, яруса, | Наименрваие процесса | Ед. изм. | Количество | По норме | По проекту | Продолжительность работы | Количество смен в день | Число рабочих в смену | Рабочие дни и смены | ||||||
по | Затраты | Пр | 1 | 2 |
| |||||||||||
тока | чел. дн. | маш. см. | Чел. дн. | маш. см. | оц. выполнен. норм | 1 | 2 | 1 |
| |||||||
1 | 2 | 3 | 4 | 5 | 6 | 7 | 8 | 9 | 10 | 11 | 12 | 13 | 14 | 15 | 16 |
|
Непременным условием при составлении графика является бесперебойная двухсменная работа всех монтажных кранов. Продолжительность рабочей смены следует принимать равной 8 час.
В почасовом графике увязываются работы по установке конструкций в отдельных монтажных потоках с процессами по электросварке и замоноличиванию стыков и швов.
Продолжительность выполнения работ определяют путем деления проектируемых трудозатрат на количество рабочих в звене, выполняющем эту работу. Для увязки работ по замоноличиванию стыков и швов с монтажными процессами можно допустить их выполнение в одну смену, желательно первую.
Для облегчения организации работ целесообразно срок производства работ по всем процессам принимать кратным 0,5 и 1 сменам, что достигается путем изменения состава звеньев или проектируемого выполнения норм выработки.
Лист, на котором выполняется графическая часть проекта, должен иметь угловой штамп следующего образца.
| Ф. И. О. | Подпись | Шифр | Стадия | Лист | Всег лист |
| Ф. И. О. | Подпись | Наименование проекта | РЭА Кафедра Группа |
![]()
![]()
![]()
![]()
![]()
![]()
![]()
![]()
![]()
17 17
4. Рекомендуемая литература
1. Технология строительных процессов (под ред. ). М., “Высшая школа”, 1997 г.
2. Технология строительного производства (под ред. -
лова). М., Стройиздат, 1991 г.
3. Швиденко строительных конструкций. М.,"Высшая
школа", 1987 г.
4.Косоруков организации производства строительно-монтажных работ в гражданском строительстве. М., "Высшая школа", 1980 г.
5. , Карасев строительного производства. Курсовое и дипломное проектирование. М., "Высшая школа", 1989г.
6. Марионков проектирования производства строительных работ. М., Стройиздат, 1968 г.
7. Технология строительного производства. Справочник. Под ред. , М., "Высшая школа",1991 г.
8. ЕНиР Сб.4. Единые нормы и расценки на строительные, монтажные и ремонтно-строительные работы. М., Стройиздат, гг.
9. СНиП IY-2-82. Сметные нормы и правила. М., Стройиздат, гг.
10. Строительные краны. Справочник. Под ред. Станевского , "Будивельник", 1989 г.
11. Серова средств механизации для монтажа жилых крупнопанельных зданий, 1992. Стройиздат.
12. Справочное пособие по строительным машинам. Машины грузоподъемные для строительно-монтажных работ. М. 1994 г.
13. Строительное производство. Справочник строителя, т.2. Организация и технология работ. М., Стройиздат, 1989г.
14. Возведение многоэтажных промышленных зданий унифицированных габаритных схем, ЦНИИОМТП, М., Стройиздат, 1969г.
15. Возведение одноэтажных промышленных зданий унифицированных габаритных схем. ЦНИИОМТП. М., Стройиздат, 1976г.
.
5. Приложения
Приложение 1
5.1.Варианты индивидуальных заданий
Варианты объемно-планировочных параметров одноэтажного здания с каркасом из железобетонных конструкций*
№ Варианта | 1 | 2 | 3 | 4 | 5 | 6 | 7 | 8 | 9 | 10 | 11 | 12 |
Длина здания, м | 72 | 144 | ||||||||||
Число пролетов | 2 | 3 | 4 | 2 | 3 | 4 | 2 | 3 | 4 | 2 | 3 | 4 |
Ширина пролета**, м | 18 | 24 | 18 | 24 | 18 | 24 | 18 | 24 | 18 | 24 | 18 | 24 |
Высота до низа стропильной конструкции, м | 12,6 | 14,4 | 16,2 | 18 | ||||||||
Сечение стойки фахверка, м×м | 0,4×0,4 | 0,4×0,5 | 0,5×0,5 | |||||||||
* Для всех зданий принят шаг крайних колонн – 6 м; шаг средних колонн – 12 м
** Пролет шириной 18 м перекрывается стропильной балкой СБ-1;
24 м – стропильной фермой СФ-1
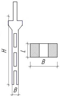
Монтажные характеристики конструкций
Наиме-нование | ЭСКИЗ | № ва-рианта | Марка | Размеры, м | Объем, м3 | Масса, тонны | ||
L | H | B | ||||||
1 | 2 | 3 | 4 | 5 | 6 | 7 | 8 | 9 |
Стропильная ферма |
| Четные | СФ-1 | 23,95 | 2,97 | 0,24 | 6,5 | 16,25 |
Стропильная балка |
| Нечетные | СБ-1 | 17,95 | 2,47 | 0,24 | 5,8 | 14,5 |
Подстропильная ферма |
| Все варианты | ПСФ-1 | 11,96 | 2,5 | 0,5 | 3,8 | 9,5 |
Подкрановая балка |
| ПБ-1 | 6,0 | 0,8 | 0,6 | 1,5 | 3,76 | |
| 12,0 | 1,2 | 0,6 | 2,25 | 6,30 | |||
Колонны крайние |
| 1 | кк-1 | 0,38 | 0,9 | 13,95 | 3,38 | 8,5 |
2 | кк-2 | 0,6 | 3,83 | 9,8 | ||||
3 | кк-3 | 1,0 | 4,69 | 11,7 | ||||
4 | кк-4 | 0,38 | 0,9 | 15,75 | 3,86 | 9,7 | ||
5 | кк-5 | 0,6 | 4,31 | 10,8 | ||||
6 | кк-6 | 1,0 | 5,87 | 14,7 | ||||
7 | кк-7 | 1,1 | 17,55 | 5,98 | 18,8 | |||
8 | кк-8 | 6,26 | 15,5 | |||||
9 | кк-9 | 7,44 | 18,4 | |||||
10 | кк-10 | 1,2 | 7,95 | 19,9 | ||||
11 | кк-11 | 1,1 | 6,86 | 17,0 | ||||
12 | кк-12 | 1,2 | 8,80 | 21,8 | ||||
Колонны средние |
| 1 | кс-1 | 0,6 | 0,9 | 13,35 | 2,24 | 10,5 |
2 | кс-2 | 1,2 | 5,21 | 13,0 | ||||
3 | кс-3 | |||||||
4 | кс-4 | 0,9 | 15,15 | 5,73 | 14,3 | |||
5 | кс-5 | 1,2 | 7,09 | 17,7 | ||||
6 | кс-6 | 1,3 | 7,55 | 18,9 | ||||
7 | кс-7 | 1,2 | 16,95 | 8,48 | 18,8 | |||
8 | кс-8 | 1,3 | 9,17 | 22,7 | ||||
9 | кс-9 | |||||||
10 | кс-10 | 7,95 | 19,9 | |||||
11 | кс-11 | 0,7 | 18,75 | 9,66 | 24,1 | |||
12 | кс-12 | 10,4 | 25,6 | |||||
Плита покрытия |
| Четные | ПП-1 | 6,0 | 1,5 | 0,3 | 0,8 | 0,2 |
Нечетные | ПП-2 | 6,0 | 3,0 | 0,3 | 1,44 | 3,6 | ||
Стеновая панель |
| Все варианты | СП-1 | 6,0 | 1,2 | 0,3 | 1,44 | 3,0 |
СП-2 | 6,0 | 1,8 | 0,3 | 2,16 | 4,4 | |||
ВАРИАНТ 13
|
Из за большого объема этот материал размещен на нескольких страницах:
1 2 3 4 5 6 7 |













