Если нет вара, можно просмолить швы составом из двух третей смолы и одной трети дегтя; варка производится в котле (см. выше) не менее одного-двух часов; остывшая смола не должна прилипать к пальцу. Смолу заливают на пазы ковшом, сделанным из консервной банки, и быстро размазывают помазком. Необходимо также осмолить всю нижнюю поверхность лодки этим же составом, чтобы дерево не так быстро гнило. На широкие пазы, из которых может вывалиться конопатка, набивают узкие рейки, сделанные из ветвей (луца); они должны быть шире паза и прикрепляются железными скобками. После осмолки лодку надо спустить в воду, чтобы закрепить смолу.
9. Оборудование лодки. Банки (скамейки) для сидения делаются из досок не толще 4 — 5 см, шириной 20 — 25 см; их кладут на рейки, прибитые к бортам на высоте, которая зависит от величины лодки. Форма кормовой банки зависит от формы кормы; ее делают обычно значительно шире, чем остальные.
В лодке среднего размера банку для гребца ставит не более, чем в одной трети расстояния от носа; число и положение остальных банок зависит от длины лодки. Удобнее делать съемные банки, так как это позволяет легче располагать груз при разных способах плавания.
Рыбины: на дно лодки поверх шпангоутов кладут тонкие доски — продольные отдельные или соединенные с поперечными в виде решетки; в речных лодках их называют «подтоварник» или «слани».
Уключины. На шлюпках, у которых есть прочный привальный брус на него набиваются подуключники — колодки с дырой. В обычных речных лодках к верхней доске прибивают изнутри короткие колодки — подушки для уключин. В них делается одно или два отверстия, в которые вставляются один или два нагеля (рис. 153а). В первом типе весло имеет дужку, которая надевается на нагель, во втором весло кладется между нагелями. Настоящие уключины морских шлюпок - металлические в виде ухвата, вставляются в отверстия подключника и привального бруса; снизу они должны иметь цепочку или ремешок, прикрепленные к борту, чтобы уключина не выпадала за борт при вынимании весла. Можно заменить уключину и подушку обрезком дерева с суком, торчащим кверху. Весло без дужки можно применить и с одним нагелем - весло при этом удерживается кольцом из веревки или даже вицы (скрученная ветка), одетым на нагель или пропущенным в борт (рис. 158б). Моряки считают, что веслом с дужкой нельзя пользоваться, при нем невозможна правильная гребля, применяющаяся к обстоятельствам, и гребец может делать только однообразные примитивные удары. Но это устройство весел широко распространено на реках нашей родины, и в спокойных условиях речного плавания, а особенно для малоопытного гребца, такие весла проще и и удобнее. Для морских шлюпок безусловно необходимы настоящие металлические уключины.

Рис. 158. Уключины: а — подушка с двумя нагелями, б — сук с веревочным кольцом
Рис. 159. Весла: а — распашное, б — вальковое, в — безвальковое
Рис. 160. Кормовое весло и деталь насадки ручки
Рис. 161. Байдарочное весло; тип, близкий к веслам сибирских долбленых лодок и берестянок
Рис. 162. Устройство фальшборта из брезента
Весла. Гребные (парные) весла на речных лодках в разных районах различны; не следует брать слишком широких и коротких, лопатообразных, слишком толстых и тяжелых. Для распашной гребли, когда каждый гребец сидит на банке один и гребет одним веслом, применяются очень длинные и узкие весла; при ширине лодки в миделе 1,20 м, длина такого весла 3,5 м.
Весла для парной гребли делаются вальковые — с утолщением у рукоятки, котороеe уравновешивает вес лопасти в длинном рычаге, и безвальковые; длина этих весел при лодке шириной 1.20 м равна 2,5 ы; обычно на речных лодках несла короче. Длина лопасти может достигать в речном весле одной трети; в нормальном морском весле длина лопасти, внешней части весла от шейки лопасти до уключины и внутренней части в распашных беавальковых и вальковых парных веслах относятся как 1:2:1; в безвальковом парном все три части равны (рис. 159).
Слишком грубые и тяжелые весла, полученные вместе с лодкой, можно несколько улучшить, стесав и подогнав под сказанные размеры. Рукоятка весла должна быть такой толщины, чтобы ладонь гребца свободно ее охватывала; большой палец снизу должен касаться конца среднего пальца; диаметр рукоятки обычно 4-5 см. Участок весла, соприкасающийся с уключиной, обшивают кожей или обивают жестью, чтобы предохранить его от истирания.
Речные и озерные лодки среднего размера обычно управляются или теми же гребными веслами, или сверх того коротким кормовым веслом; реже употребляется длинное рулевое весло, как на морских шлюпках. На речных лодках очень редко ставится настоящий вертикальный руль. Длинное рулевое весло дает возможность резко менять направление на малых скоростях при сильном боковом ветре, на большой волне и на порогах. Кормовое весло обычно короче, чем гребное, не более 1,5 м и редко до 2 м. Очень часто на конец рукоятки, заструганной на квадрат, вставляется перекладина — ручка в 10 — 15 см длины (рис. 160). На северном Урале и в Коми АССР, где кормовое весло служит одновременно и шестом, оно делается длиной до 2,5 м и на конце лопасти насаживается железная оковка, заканчивающаяся двурогим развилком.
Короткое весло с широкой лопастью употребляется при гребле в каноэ и у чукчей на байдарах.
Управление большими лодками производится при помощи длинного рулевого весла, вытесанного из легкого бревна и насаженного на штырь, вбитый в корме лодки.
В некоторых районах Союза кормовым веслом на речных лодках служит двухлопастное весло; им же гребут на долбленых лодках, байдарках и берестянках.
Длина двухлопастного весла зависит от ширины лодки; минимальная его длина равна четырем пятым ширины лодки плюс 2 м, т. е. для байдарки — около 2 1/2 м. Для лодки с высокими бортами весла делают длиннее. Лопасти различны: они могут быть несколько длиннее половины средней части весла (отношение 5:9:5) и значительно короче ее: 7:24:7. Ширина лопасти может относиться к длине её как 1:5 или 1:3, или 2:3. Форма лопасти — вытянутая с параллельными краями или овальная или с широким концом и дугообразными очертаниями. Лопасти весел спортивных байдарок бывают сильно изогнуты; эвенки и сибиряки-таежники делают прямые узкие весла (ширина лопасти 1:5), с параллельными краями, с одной плоской стороной и другой слабо выпуклой. Толщина веретена в средней части около 3 — 3,2 см (рис. 161).
Чтобы с весла на руки не стекала пода, возле лопастей на веретено весла надевают резиновые, ременные или веревочные кольца. Концы лопастей оковываются жестью, чтобы предохранить их от повреждения.
Фальшборт. Для пересечения больших водных пространств при сильной волне а также и в порогах бывает необходимо поднять высоту борта. Чтобы не отягчать лодку и не портить её набойными досками, можно сделать легко убирающийся фальшборт из брезента или парусины. Полосу брезента, шириной в 0,3-0,4 м, а на носу иногда и выше, и длиной равную периметру лодки сшивают по концам и прикрепляют на шестах, вставленных в скобы через каждые 1-1,5 м. Палки входят верхним концом в специальные кармашки в брезенте; снаружи брезент пристегивается петлями на гвоздики или крючки, прибитые на 10-15 см ниже верхнего края борта. Весла и руль пропускаются через отверстия с муфтами, которые завязываются тонкой бечевкой (рис. 162).

Рис. 163. Самодельные якоря из дерева и камня
Якорь всегда необходим на больших лодках, а на маленьких - в тех случаях, когда надо вести работу, требующую неподвижного стояния среди реки или озера; минимальный вес якоря определяется для лодок из расчета от 1,5 до 2,0 кг на один метр длины лодки, а для судов более 15 м длины — до 3 кг на 1 м. При отсутствии металлического якоря можно сделать самодельный якорь из коряги или рогулек с привязанным камнем, как это показано на рис. 163, или даже просто обвязать крест на крест камень якорным канатом («кегля»); но кегля в свежую погоду может сдать или камень выпадет из петли. Для прикрепления якоря надо иметь достаточно толстую веревку, стальной трос или цепь; для морских шлюпок длина этого «якорного каната» должна быть до 55 — 60 м; на реках длина зависит от силы волнения и глубины. Канат привязывают к якорю узлом, который называется рыбацкий штык (см. гл. VI, § 29).
Кранцы — приспособление, предохраняющее судно от трения о рядом стоящие суда и о пристани; делаются они из кожи, или парусины, или их сплетают из веревок в виде толстого продолговато-яйцевидного или цилиндрического тела и набивают пробкой. Кранцы вывешиваются на веревке за борт; необходимы главным образом на больших лодках.
Фонари — один с белым стеклом, другой с зеленым и красным, Для вывешивания во время стоянок, сигнализации и ночных работ.
Трос (веревка) разного диаметра для швартовки (причаливания), буксировки и т. п.
Багры и шесты. На больших лодках необходимы багры с железными крюками на концах; на всех лодках для подъема по рекам нужны два-три шеста с железными наконечниками; длина шестов, в зависимости от величины лодки и характера берега, от 3 до 4,5 м, толщина 3 — 4 см Одни из шестов полезно превратить в футшток, нанеся на нем деления (дециметры или футы) для измерения глубин.
Водоотлив. Всякая лодка, кроме берестянки, байдарки и долбленки, пропускает воду - и поэтому необходимо иметь ковшик, старый котелок или консервную банку для отливания воды. Можно сделать черпак из дерева в виде короткого совка. На больших лодках ставится насос, который очень легки сделать, связав два жолоба; поршень делается из куска кожи, которой обвязывают конец палки. Поршень поднимают простым рычагом; вода выливается из трубы в желобок, приделанный у ее бокового отверстия. Из байдарок и берестянок удобно удалять воду губкой.
10. Выбор и починка лодки. Требования, которые предъявляются к речной лодке, не так строги, как к морской. Надо, чтобы она была крепкой, достаточно остойчивой (не валкой — см. § 1), поднимала необходимое количество груза и людей. Нельзя требовать от речной лодки большой скорости хода и поворотливости, но с другой стороны, неуклюжая, тяжелая или кособокая лодка доставит много неприятностей. При плавании по порогам на больших реках, где ветер разводит сильную волну, необходима достаточная высота борта, носа и кормы. Борт открытой лодки длиной 5 м и шириной 1 м при полной нагрузке должен возвышаться над водой:
Мидель | Нос | Корма | |
Без волны | 25 — 39 см | 43 — 50 см | 35 — 40 см |
при большой волне | 35 — 40 см | 65 — 70 см | 40 — 45 см |
При большей длине лодки эти цифры надо пропорционально увеличить; при ширине лодки больше 1 м высота борта, особенно в миделе, должна быть сильно увеличена — например, при ширине в 1,20 — 1,30 м высота борта в спокойных водах должна быть 40 см. Грузоподъемность лодки (ее водоизмещение) определяется по формуле: V=K*L*B*H, где К — коэфицент водоизмещения, L — длина по намеченной грузовой ватерлинии (учитывая указанные выше цифры минимальной высоты борта над водой), В — полная ширина по ватерлинии у миделя, H — углубление судна, т. е. высота от кильсона или киля до ватерлинии. Коэфициент принимается равным:
а) 0,5 — 0,6 — для лодок с полными плавными обводами,
б) 0.65 — 0,75 — для дощаников с прямоугольным миделем,
в) 0,4 — 0,5 — для лодок с угловатым, но сравнительно острым миделем.
Если цифры выражены в дециметрах, то результат получится в кубических дециметрах, т. е. мы узнаем число килограммов допустимой загрузки (включая все лодочное оборудование); если измерения производились по внешним размерам лодки, то из полученного результата надо вычесть собственный ее вес.
Для плавания в морской воде надо результат помножить на удельный вес последней, т. е. увеличить на 1-2%.
Старую лодку перед работой надо осмотреть и починить: прибить обшивку там, где она ослабела, на гнилые места наложить заплаты - вырезать гнилую доску, и заменить новой или покрыть ее куском жести; под жесть кладут кусок войлока или материи, пропитанный смолой. Пробоины и насквозь прогнившие места нужно забить изнутри доской, вырезанной по форме отверстия, проконопатить и просмолить, а заем прибить доску или жесть снаружи.
Всякую лодку перед длительной работой надо осмолить с нижней стороны; при работе на речках с перекатами и порогами, где лодка сильно обтирается, — просмаливать раз в месяц.
Весла перед поездкой надо подогнать к лодке, по возможности облегчить и укрепить треснувшие части. Для временного ремонта веретена накладывают на сломанное место шину из двух палок, прибивают их и плотно обматывают бечевкой. Трещину в лопасти скрепляют жестью или тонкой деревянной планкой. Если валек весла плохо уравновешивает лопасть, в него можно заделать кусок свинца.
Для починки лодки надо иметь с собой гвозди и шурупы разных размеров, топор, пилу-ножовку, молоток, несколько небольших кусков фанеры или доски, куски жести или латуни, мягкую отожженную проволоку; напильник трехгранный, отвертку и плоскогубцы; хорошо иметь также немного конопати, смолы и варя. В лесных местах, имея только топор и гвозди, можно починить почти все повреждения корпуса лодки и сделать новое весло.
Для ремонта складных байдарок надо, кроме того, иметь резиновый клей, куски прорезиненной ткани, наждачную или стеклянную бумагу (заменители ее см. гл. XVII), бензин, шило, толстую иглу и суровые нитки.
Разрыв оболочки байдарки надо сначала зашить, а если он велик, — наложить заплатку. При отсутствии резинового клея заплату на любую байдарку наклеивают смолой. Несколько столовых ложек смолы разогревают в консервной банке или ковшике до кипения, прибавляют половину чайной ложки сала или жира. Проба остывшего состава должна иметь густоту сапожного вара; если состав слишком мягкий, прибавляют еще сала. Кусок ткани кладут в этот состав, нагревают на огне до полного пропитывания и в горячем виде накладывают на совершенно сухую поверхность. При починке прорезиненной оболочки байдарки, перед приклейкой заплаты резиновым клеем, надо обе склеиваемые поверхности протереть шкуркой и затем смазать клеем и ту и другую. Заплату надо класть, когда клей начнет подсыхать, прижать ее и прогладить края.
Смоленые лодки красить нельзя. Старые окрашенные лодки перед работой следует прошпаклевать и покрасить. Для этого надо сначала снять старую краску, проолифить лодку чистой олифой, затем промазать щели замазкой из олифы и мела; если нет настоящей льняной олифы, ее можно заменить асфальтовым или промазочным масляными лаками. Одновременно шпаклюют всю поверхность лодки тем же, но более жидким составом. Когда шпаклевка просохнет, лодку красят масляной краской с добавкой 25% эмалевой, которая придает краске водоупорность. Для темных тонов добавляют масляный асфальтовый лак. Краску нельзя сушить на солнце и надо предохранять от пыли; на воду лодку спускают только после того, как краска хорошо просохнет. Для длительной работы следует красить лодку не менее двух раз.
11. Паруса. В условиях речного плавания на больших реках применение парусов может сэкономить много времени и труда. Паруса ставят на лодки всех размеров - даже на байдарки и долбленки. Простейшие такелажные работы описаны и гл. VI, § 29.
| Рис. 164. Крепление шпора мачты в степсе и при помощи наметки к банке Рис. 169. Строп для нижнего конца шпринтова |
Для определения площади парусности пользуются следующей формулой: S=K*L*B, где К — коэфициент, равный для речных лодок от 0,50 до 1,00, для морских шлюпок до 2,20, L — длина, В — ширина лодки по грузовой ватерлинии.
Чем высокобортнее лодка и чем больше она загружена (груз должен лежать на дне), тем коэфициент может быть больше.
На байдарках для обычных условий: вполне достаточна парусность около 2 кв. м, но при длительных плаваниях под парусами опытные байдарочники доводят парусность на двух мачтах двухместной байдарки до 51/2 кв. м.
Для безопасного плавания под парусами на таких неостойчивых лодках, как долбленки, полезно устроить аутригер: толстая жердь, равная по длине лодке, ставится и воде рядом с лодкой на расстоянии 2 — 3 м; жердь эта привязана к двум перпендикулярным тонким шестам, длиной до 4 м, которые другими концами лежат на бортах лодки и привязаны к банкам или к уключинам. Аутригер придает лодке большую остойчивость.
Длина мачт зависит от формы и площади парусов. При работе на реках удобно, чтобы мачты не превышали длину лодки. Мачта для одного паруса примерно равна 3/4 этой длины; ставят ее в 1/3 расстояния от носа. Проще всего укрепить мачту в передней банке; в ее середине прорезают отверстие (пяртнерс), в которое вставляется мачта. Если есть железная накладка от двери, то делают полукруглое углубление на задней стороне банки и прикрепляют против него изогнутую накладку (наметку), которую можно откидывать для быстрой установки мачты; закрепляется она гвоздем или прочным деревянным нагелем. Установка мачты на ходу легче с наметкой, чем в пяртнерс (рис. 164).
Нижний конец мачты (шпор) вставляется в колодку (степс) с квадратным отверстием, которая прибивается к килю лодки возле шпангоута. Чтобы мачта не шаталась, ее укрепляют тремя оттяжками. Вперед от верхушки мачты к носу идет штаг, несколько назад, к бортам — две ванты, а при парусах площадью более 10 — 12 кв. м — четыре. Все эти снасти привязываются (крепятся) узлом, носящим название штык; ванты делаются из одной веревки, середина которой обвязывается вокруг мачты выбленочным узлом (см. гл. VI, § 29). Мачта должна быть чуть наклонена назад.
Для определения положения мачты или мачт необходимо определить центр парусности. Для этого вычерчивают в масштабе предполагаемые паруса и определяют сначала центр каждого паруса; в треугольных парусах центр определяют пересечением медиан, в прямоугольных — диагоналей; паруса сложной формы разбивают сначала на треугольники, и, соединяя центры последних, делят расстояние пропорционально площадям. Затем, расположив паруса отдельных мачт так, как они будут стоять на лодке, соединяют центры парусов и делят эту линию также пропорционально площадям. Центр сложного по форме паруса можно определить еще проще при помощи ножа, как это указано выше для определения центра бокового сопротивления (§ 1).
Центр парусности должен быть расположен несколько впереди центра бокового сопротивления (приблизительно на 4 — 10% от длины судна). Если центр парусности вынесен вперед, судно будет разворачиваться по ветру (уваливаться); в обратном случае оно становится против ветра (приводится); при правильном расчете оно должно слегка приводиться. Для того, чтобы лодка не слишком кренилась, высота центра парусности над ватерлинией не должна превышать 1,3 ширины лодки; у больших тяжелых лодок можно поднимать центр до 1,5 ширины лодки.
Шитье парусов. Паруса шьют из льняной или хлопчатобумажной ткани; можно использовать для них также тент, плащ-палатку и т. п. Шить следует суровыми нитками, навощенными или пропитанными в смеси смолы с растительным маслом; паруса из шелка, перкаля или очень тонкой парусины можно шить и обыкновенными катушечными нитками (от № 000 до № 20), натерев их воском. Парусину следует предварительно намочить и высушить.
Паруса лучше всего кроить на гладком полу, причем сначала гвоздиками намечают контур паруса и соединяют гвозди бечевкой. При кройке косых парусов полотнища располагаются перпендикулярно заднему краю (шкаторине), но можно класть их и параллельно задней шкаторине. Для швов прибавляют от 1,5 до 3 см, и кругом всего паруса оставляют от 3,5 до 6,5 см на загиб кромки. Если большому парусу надо придать выгиб («пузо»), то или выкраивают полотнища к передней шкаторине несколько более узкими, или швы делают к переду более широкими, загибая на них на 5 — 10 мм больше материи. Сшивают полотнища сначала попарно, затем шьют весь парус, начиная снизу. На швах загибают каждое полотнище вдвойне и прошивают двойным швом, беря нитку вдвойне. Проверив, не морщит ли парус, загибают шкаторины в три слоя и прошивают тройным швом. Маленькие треугольные парyсa по шкаторинам загибают в виде рубца (трубы), в который вдвигается мачта или гик (нижняя рея). Большие паруса обшивают по всем шкаторинам, кроме задней, мягкой веревкой, толщиной не менее 12 мм; на углы и на те места, где будут сделаны рады люверсов для рифовых бечевок – риф-штертов, нашивают угольники из той же материи (подробнее см «Водный туризм»).
Простейший парус, который можно быстро сделать из любого тента, плащ-палатки, мешковины и т. п. – прямой. Парус может иметь форму прямоугольника или крутобокой трапеции (рис. 166).
К тонкому шесту – рейке прямой парус прикрепляется узкой стороной прочными завязками; к середине рейки привязывают конец веревки – фала, при помощи которого поднимают парус; длина фала в 2 Ѕ раза больше длины мачты. Фал пропускают через кольцо ли блок, прикрепленной к мачте спереди, несколько ниже верхнего конца. Парус кладут перед мачтой или сбоку и выбирают (тянут) фал, пока рейка не остановится у кольца; фал крепится у мачты к банке или борту. Если нет кольца и блока, можно выдолбить в верхнем конце мачты отверстие для фала, но этот способ опасен, так как фал будет иногда заедать, а подъемное устройство должно действовать безотказно. К нижним углам паруса прикрепляются оттяжку – шкоты; если у паруса нет на углах люверсов, легко привязать шкоты, завернув в углы паруса небольшие камни и обвязав веревкой шейку этого пакета. Шкоты служат для регулировки положения паруса; в открытых лодках их нельзя привязывать: концы шкотов держит рулевой, обернув в крайнем случае, один раз за уключину, или утку. Парус, спущенный в лодку, наматывают на рею и кладут вдоль борта. С прямым парусом обычно идут при попутных ветрах.
Для уменьшения площади парусности «берут рифы» — скатывают нижний край паруса и обвязывают его специальными шнурками — риф-штертами, которые продеты в дырочки (люверсы), прорезанные в парусе. Риф-штерты расположены по одной линии (рис. 168) или в несколько рядов для последовательного уменьшения площади паруса; парус при этом опускают так, чтобы нижний край оставался на прежней высоте.
Если надо использовать попутный ветер, не имея мачты и паруса, можно натянуть тент или другое полотнище на двух связанных в виде ножниц шестах; нижние их концы опираются на шпангоут за передней банков, к верхним надо привязать ванты и закрепить их у бортов.
Подобная ножницеобразная мачта из двух жердей может быть установлена и для постоянного плавания, если в крытой лодке обычная мачта будет мешать проходу или если дно лотки занято большим грузом. Верхние концы двух шестов связываются вместе, к ним прикрепляется кольцо для фала и ванты, отнесенные подальше к корме; нижние концы шестов укрепляются в колодках у шпангоута за передней банкой; прямой парус прикрепляется к рейке и поднимается обычным способом (рис. 165).
Из более совершенных парусов на речных лодках наиболее применимы шпринтовый и рейковый. Первый из них имеет прямоугольную форму с отношением сторон 3:2. Вдоль одной из его длинных сторон прикрепляется ряд проволочных колец, которые свободно ходят по мачте; к верхнему из этих колец привязан фал, пропущенный через блок на верхушке мачты. Парус расправляется шпринтовом — длинной тонкой рейкой, идущей от нижнего конца мачты по диагонали к верхнему внешнему углу паруса - верхний конец шпринтова входит в люверс или в петлю на этом углу, а нижний конец опирается на ветлю (стрен), прикрепленную к мачте выбленочным узлом (рис. 169 на стр. 518). Длинный шкот только один — в виде вожжей, один конец которых привязан к верхнему концу шпринтова, другой — к нижнему свободному концу паруса (рис. 167).

Рис. 165. Мачта для прямого паруса, сделанная из двух шестов (ножницы): а — шкоты, б — груз
Рис. 166. Прямой парус
Рис. 167. Шпринтовый парус
Рис 168. Рейковый парус и управление кормовым веслом
При парусе большого размера верхний его конец поднимается особым фалом, пропущенным через блок на конце шпринова, и шпринтов удерживается на определенном расстоянии от мачты особой снастью. Парус этот спускают на палубу, нижний конец шпринтова вынимается из стропа, и парус навертывается на шпринтов. При небольшим парусе кольца делают веревочные (или тонкой веревкой прихватывают край паруса к мачте), верхнее кольцо паруса плотно охватывает мачту, парус нельзя спускать — и чтобы убрать парус, шпринтов приближают к мачте и вместе с нею обертывают парусом и обвязывают их вместе шкотом. Шпринтовый парус позволяет итти при косом ветре.
Еще лучше работает рейковый парус, имеющий форму косого разностороннего четыреугольника. На лодке, длиной 7 м, его стороны могут иметь длину: нижняя — 3 м, внутренняя боковая, идущая под прямым углом к нижней — 2 м, внешняя боковая (под косым углом к нижней) — 4 1/2 м и верхняя — 3 м. Это соотношение сохраняется (при изменении абсолютных величин) и для лодок другого размера. Верхняя и нижняя стороны паруса прикреплены к рейкам; фал привязывают к верхней рейке в 1/3 ее длины от короткой внутренней боковой стороны. Парус должен быть хорошо растянут, что достигается при помощи галса, короткой снасти, прикрепленной к нижнему внутреннему (галсовому) углу паруса; галс крепится рядом с фалом к банке (рис. 168). Фалы на больших лодках крепятся за утки (см. гл. VI, § 29).
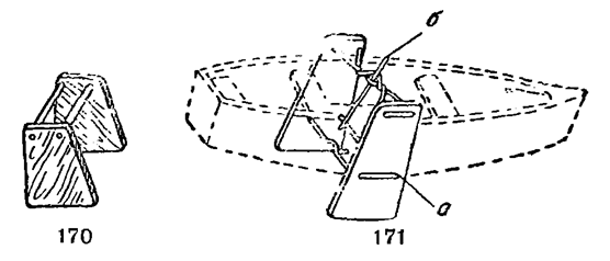
Плоскодонки и лодки с овальным сечением плохо используют боковой ветер (галфвинд) и даже ветры, дующие сзади не вдоль оси лодки, так как они сильно дрейфуют в сторону. Если приходится часто итти на таких лодках под парусами, следует поставить один из типов onycкного киля. Простейший из них — шверты или шверцы; это — две доски в виде высоких трапеций, или продолговатых прямоугольников, опущенные с обоих бортов. В наиболее быстро устанавливаемом типе доски скреплены одним или двумя поперечными шестами, которые кладут поперек лодки и привязывают к банкам (рис. 170). В другом типе — доски связываются веревками — одной под дном лодки и другой над бортами; верхняя веревка закруткой закручивается до тех пор, пока шверты не прижмутся к бортам; шверты должны быть строго параллельны диаметральной плоскости лодки, и если борта выпуклы, то между швертом и бортом надо забить клинья (рис. 171). Плоскодонка с швертами может итти даже круче к ветру, чем килевая лодка. Шверты могут быть сделаны так, чтобы их можно было опускать отдельно — при боковом ветре опускается одни шверт с подветренного борта; при попутном можно не опускать швертов.
Опускные кили позволяют хорошо использовать паруса и вместе с тем сохраняют основное преимущество плоскодонных лодок — возможность проходить в неглубоких водоемах, недоступных для килевых лодок и подходить близко к плоским берегам. Шверт с нижней веревкой поэтому неудобен, так как она может задеть за камень или корягу.

Рис. 170. Шверты с жестким креплением
Рис. 171. Шверты с веревочным креплением (по А. Пронину): а — доска. б — закрутка
12. Способы передвижения. Гребля — наиболее распространенный способ передвижения в водоемах со стоячей водой и вниз по течению реки, а при тихом течении также и вверх. Способов гребли несколько: академическая гребля, применяющаяся на гоночных лодках: распашными веслами — на вельботах и гичках, — причем каждый гребец гребет одним длинным веслом и сидит у борта, противоположного уключине; более обычна парная гребля — когда гребец работает одновременно двумя веслами; на достаточно широких лодках, где на банке свободно помещаются два человека, каждый из них гребет одним парным веслом; наконец, различные способы гребли двухлопастными и однолопастными веслами на долбленках, байдарках, берестянках, байдарах, каноэ и пр. Мы не описываем академической и распашной гребли, так как они не нужны при исследовательских работах.
При парной гребле ноги согнуты и плотно упираются в подножку — специально прибитую к рыбинам перекладину. Ладони плотно охватывают рукоятку весла сверху, большие пальцы или охватывают рукоятку снизу, или лежат на торце весла. Обе руки работают совершенно одинаково, оба весла при проводке движутся на одной и той же глубине и поэтому лодка не должна быть накренена на одну сторону. Так как рукоятки весел заходят одна за другую на 10 — 15 см (что сделано для удлинения внутреннего плеча рычага), то нужно вести рукоятки осторожно, одна за другой, иначе можно разбить кисти рук. Чтобы не натереть при гребле пузыри, надо сохранять ладони сухими и натирать их вазелином или несоленым салом; хорошо предохраняют также рукавицы — кожаные или брезентовые.
При гребле корпус из исходного положения — когда гребец сидит вертикально с вытянутыми вперед руками — быстро наклоняется вперед, сгибаясь в пояснице, пока концы вытянутых рук не очутятся на одной вертикали с упором для ног; при этом руки несколько поднимаются так, что к концу заноса лопасть уже касается воды. Затем быстрым движением рук вверх лопасть погружается на 3/4 в воду, а корпус медленно откидывается назад, и руки, продолжая оставаться вытянутыми, тянут за собой весло. Корпус при распашной гребле откидывается назад на 30 — 40є, при парной — значительно меньше.
Как только корпус переходит от вертикали к наклону назад, обе руки с одинаковой силой сгибаются и подтягивают рукоятки на равной высоте к бедрам (а не к груди как в распашной гребле). Затем следует быстрый толчок обеих рук вниз и одновременно — быстрое выбрасывание вперед с выпрямлением корпуса. Занос производится быстро, проводка (в воде) — медленно.
Занос весла с поворотом его лопасти параллельно воде делается для уменьшения парусности весел. Этот способ, обязательный при спортивной и морской гребле, не всегда применим при экспедиционных работах, так как требует специально обученных гребцов; он невозможен при веслах с дужками. При волне, занося лопасть, надо поднимать се выше, чтобы не задеть за воду.
Гребля однолопастным кормовым веслом без помощи парных весел требует большой тренировки рулевого. Весло держат правой рукой за веретено, левой — за поперечною рукоятку (при гребле с правой стороны). Гребец заносит лопасть весла вперед и делает им короткий гребок, почти скользя веретеном по краю борта. Чтобы от этого удара лодка не ушла влево, конец гребка должен придать ей движение вправо. Для этого, не вынимая весла из воды, поворачивают лопасть вкось к оси лодки и, опирая веретено о борт, делают короткий удар, при котором лопасть идет немного назад, затем вправо и вверх. Такой толчок делают в конце каждого гребка или реже, смотря по ходу лодки. Этот способ особенно необходим во время подъема по быстрой реке, когда даже при парных веслах лодка сильно рыскает (отклоняется) и нужно быстро выправлять её ход. При подъеме такая гребля сочетается с пиханием — лодку двигают корневым веслом, упираясь им в дно. Этот способ представляет переход к проводке лодки шестами. Описание способа гребли однолопастным веслом в лодках типа каноэ — см. у С. Благодарева («Водный туризм», 1939).
Гребля двухлопастным веслом гораздо приятнее, чем парная, так как гребец сидит лицом вперед; исследователь может во время гребли не прерывать визуальных наблюдений, которые становятся невозможными, если он сам гребет парными веслами. Весло при этой гребле держат перед собой в согнутых руках, обхватив его веретено ладонями сверху; лопасти заносят поочередно далеко вперед и погружают в воду не дальше основания лопасти. Во время проводки лопасть погружена все время одинаково; назад лопасть не следует заносить далеко. Для полного овладения этой, на первый взгляд простой, греблей нужна большая практика. Что касается частоты ударов, то есть два способа: или длинные, отчетливые гребки, или частые, короткие удары, с почти кругообразным движением весла. В байдарке или долбленке с двумя гребцами надо следить за согласованностью и одновременностью работы.
Медленное поворачивание байдарки производится усилением гребков с одной стороны. Для более быстрого поворота загребают только с одной стороны; для крутого поворота гребут вперед с одной стороны и тормозят или гребут назад с другой. Байдарка допускает и обратный ход — нормой вперед
Подробное описание гребли на байдарке — см. у С. Благодарева (1938, l939).
Управление речной лодкой редко производится рулем, но большей частью на большой лодке длинным рулевым веслом, на маленьких — коротким однолопастным кормовым веслом, или двухлопастным. Поворот лодки достигается или усиленной греблей кормовым веслом с противоположной стороны, или ставят кормовое весло лопастью перпендикулярно движению со стороны поворота, или гребут им в обратную сторону со стороны поворота. При крутом повороте гребец помогает, тормозя или табаня (гребя в обратную сторону) со стороны поворота. Когда лодка идет ровно на парных веслах или парусах, кормовой может не подгребать, а держит весло опущенным в воду, время от времени изменяя угол поворота лопасти для исправления курса лодки. Одна рука кормового держит весло за веретено у борта, причем большой палец охватывает борт изнутри, а остальные пальцы охватывают весло; другая рука лежит на рукоятке весла. Для отдыха держат весло попеременно то у правого, то у левого борта.
Бечева. Скорость передвижения груженой лодки средней величины на веслах обычно не более 5 км в час, поэтому при подъеме по реке, имеющей скорость течения более 3 км в час, необходимо применять более эффективные способы передвижения — бечеву и шесты.
Наиболее равномерно и быстро передвижение при помощи бечевы, но оно возможно только тогда, когда берег имеет полосу галечника или непокрытого кустами склона, доступную для пешехода. Бечева должна быть прочна и тонка; тяжелая бечева провисает в воду и отягчает тянущего; для лодки грузоподъемностью в полтонны, достаточна бечева — если она очень прочна — в 0,5 см в диаметре. Длина бечевы не меньше 30 — 50 м, а в случае если река на большом протяжении от берега мелка и имеет длинные косы и отмели, — может доходить до 100 и даже до 200 м. У маленьких лодок бечева прикрепляется к передней уключине — прочно, чтобы она не сорвалась где-нибудь в пороге, но вместе с тем так, чтобы она могла быть легко сброшена в случае опасности. Для того, чтобы бечева не провисала, в некоторых районах употребляют «лучок» («порыск», «пружину») — гибкую ветку в 2,5 — 4 см толщиной и 2 — 3 м длиной. Она втыкается на носу под носовую перекладину (бурундучник), задним концом упирается в передний шпангоут и высовывается вперед на 1 — 1,5 м. Лучок сгибают на 40 — 60° на тот бок, где прикреплена бечева; последняя завязана не за уключину, а в особое отверстие в борту в одной трети от носа и затем привязана выбленочным узлом или простой петлей на конец лучка. Бечева таким образом висит более высоко над водой, не так «зарачивает» (задевает), а прикрепление ее более упруго. Длина лучка и место прикрепления бечевы должны быть выбраны так, чтобы лодка сама шла почти параллельно берегу, чуть отклоняясь в реку. На больших лодках бечева прикрепляется на корме или у основания мачты, пропускается через блок на вершине мачты, затем через петлю или кольцо («бурундук») на веревке в два — четыре метра длиной, прикрепленной к носовой перекладине(«6урундучник»). Длина бечевы регулируется рулевым, который по мере надобности, отпускает ее.
|
Из за большого объема этот материал размещен на нескольких страницах:
1 2 3 4 |




