ВСН 39-1.
ПРАВИЛА ПРОИЗВОДСТВА РАБОТ
ПО ВЫБОРОЧНОМУ КАПИТАЛЬНОМУ РЕМОНТУ МАГИСТРАЛЬНЫХ ГАЗОПРОВОДОВ В РАЗЛИЧНЫХ
ПРИРОДНО-КЛИМАТИЧЕСКИХ УСЛОВИЯХ
АННОТАЦИЯ
Настоящие Правила выполнены в соответствии с Межгосударственной научно-технической программой "Высоконадежный трубопроводный транспорт" (п. 3.4.).
Содержание
1. Общие положения
2. Организация проведения выборочного ремонта
3. Подготовительные работы
4. Земляные работы
5. Выборочный ремонт под давлением газа
5.1. Ремонт сквозных повреждений с применением специальных устройств
5.2. Ремонт с применением пайки
5.3. Ремонт с использованием полимерно-композиционных материалов
5.4. Ремонт с применением сварных муфт
5.5. Ремонт изоляции газопровода
6. Выборочный ремонт на освобождение от газа участке газопровода
7. Особенности производства работ на болотах
8. Ремонт переходов под автомобильными и железными дорогами
9. Техника безопасности
10. Список литературы
1. ОБЩИЕ ПОЛОЖЕНИЯ
1.1. Действие настоящих Правил распространяется на выборочный ремонт линейной части магистральных газопроводов до Æ1420 мм включительно, всех классов и категорий, транспортирующих природный газ, газоконденсат и другие продукты, не содержащие коррозионно-активные компоненты, и уложенных подземно в нормальных условиях и на болотах.
1.2. Под выборочным ремонтом следует понимать такой способ ремонта, при котором на участке магистрального газопровода, ограниченном двумя последовательно расположенными линейными кранами, выполняются локальные ремонтно-восстановительные работы на местах выявленных дефектов.
1.3. Выборочный ремонт магистральных газопроводов подразделяется на следующие виды:
а) выполняемый под давлением газа;
б) выполняемый на отключенном и освобожденном от газа участке.
Выборочный ремонт под давлением газа применяется при замене изоляционного покрытия газопровода на локальном участке и ликвидации повреждений металла труб, не требующей остановки перекачки (см. гл. 5). При этом величина снижения рабочего давления для производства ремонтно-восстановительных работ на действующем газопроводе принимается газотранспортным предприятием по согласованию с ЦПДУ .
1.4. Решение о назначении вида выборочного ремонта должно быть обосновано газотранспортным предприятием на базе соответствующих технико-экономических расчетов для каждого конкретного участка газопровода, на котором планируется выполнение ремонтно-восстановительных работ. Технико-экономические расчеты должны входить в состав проекта на выборочный ремонт участка газопровода и согласовываться с Упртрансгазом и НТЦ «Ремонт газопроводов» ВНИИГАЗа.
1.5. Выборочный ремонт производится на основе предремонтной диагностики технического состояния участка газопровода, выполняемой путем:
- пропуска внутритрубных снарядов-дефектоскопов;
- бесконтактного магнитометрического метода контроля;
- проведения электрометрических измерений;
- обследования труб в шурфах.
1.6. Дефекты и повреждения газопроводов подразделяются на:
а) дефекты изоляционного покрытия;
б) нарушение геометрических параметров трубы (овализация, гофры, вмятины);
в) дефекты металла трубы;
г) искривления оси газопровода с образованием арок выпучивания;
д) нарушения условий заглубления и балластировки.
В свою очередь, дефекты металла трубы включают:
а) поверхностные повреждения трубы механического происхождения (царапины, риски, задиры) и коррозионные повреждения (каверны, стресс-коррозионные повреждения);
б) эрозионные утонения стенки.
1.7. Необходимость ремонта повреждений металла трубы определяется согласно «Рекомендациям по оценке работоспособности дефектных участков газопроводов» [15].
Необходимость ремонта арок выпучивания определяется согласно «Инструкции по оценке прочности и контролю участков газопроводов в слабонесущих грунтах» [12].
1.8. Испытание отремонтированных участков газопроводов, контроль качества ремонтно-восстановительных работ, а также техника безопасности и охрана окружающей среды выполняются в соответствии с требованиями «Правил производства работ при капитальном ремонте магистральных газопроводов» ВСН 51-1-97.
2. ОРГАНИЗАЦИЯ ПРОВЕДЕНИЯ ВЫБОРОЧНОГО РЕМОНТА
2.1. Вопросы организации выборочного ремонта, проводимого с отключением газопровода и освобождением его от газа, прорабатываются при проектировании с составлением графика производства работ.
2.2. Выборочный ремонт в районах умеренной климатической зоны планируется, как правило, на летний период. Только в местах труднопроходимых болот ремонт с выполнением земляных работ планируют на зимний период, когда глубина промерзания болотного грунта достигает величины 0,2 м и более.
2.3. Порядок выполнения работ на местах ремонта определяют расчетом технико-экономических показателей. При этом местом ремонта считается локальный участок газопровода, непосредственно на котором выполняются ремонтно-восстановительные работы.
На отключенном от газа и ремонтируемом участке газопровода, в зависимости от количества и расположения выявленных дефектов, может быть несколько мест ремонта.
Несколько близко расположенных дефектов объединяются одним местом ремонта и ремонтируются с разработкой одной непрерывной траншеи.
2.4. При наличии одного места ремонта на участке газопровода последовательность работ и сроки их проведения определяются из условий максимального использования поточного метода производства.
2.5. При наличии на участке газопровода нескольких мест ремонта наиболее рациональная последовательность производства работ определяется с учетом технического оснащения ремонтных подразделений. Для организации работ используют последовательный, параллельный или комбинированный порядок ремонта.
2.6. Последовательный порядок выборочного ремонта подразумевает введение ремонтно-восстановительных работ на всех местах ремонта одной бригадой. Последовательный порядок применяют в том случае, когда имеющиеся в наличии технические средства для ремонта ограничены и нет возможности для формирования нескольких ремонтных бригад.
2.7. Параллельный порядок ремонта отличается тем, что количество ремонтных бригад соответствует количеству мест ремонта на участке газопровода. Работы начинаются после освобождения участка газопровода от газа одновременно всеми бригадами на всех местах ремонта. Состав и оснащение ремонтных бригад зависят от объемов работ и определяются конкретно для каждого ремонтного места.
2.8. Если на участке газопровода количество ремонтных мест превышает число возможно сформированных ремонтных бригад, то используется комбинированный порядок выборочного ремонта. В этом случае бригады работают одновременно на разных местах ремонта, и по мере завершения работ переходят на следующие.
3. ПОДГОТОВИТЕЛЬНЫЕ РАБОТЫ
3.1. Подготовительные работы при выборочном ремонте газопроводов выполняют согласно проектам организации строительства и производства работ в соответствии с требованиями «Правил производства работ при капитальном ремонте магистральных газопроводов» ВСН 51-1-97 и настоящего документа.
3.2. В состав подготовительных работ входит:
- предремонтное обследование мест ремонта и окружающей территории, включая параллельные нитки газопроводов;
- определение оси трассы, глубины заложения газопровода и других коммуникаций, а также осей параллельных ниток газопроводов в местах ремонта;
- сооружение временных дорог, обустройство переездов через действующие нитки газопроводов;
- подсыпка привозным грунтом в местах провалов и промоин на параллельных действующих нитках газопроводов в зоне мест ремонта;
- обустройство временных площадок складирования строительных материалов, мест временного базирования персонала и ремонта строительной техники;
- доставка и хранение необходимых строительных материалов, конструкций и оборудования;
- ремонтно-профилактическая подготовка строительной техники и транспортных средств;
- подготовка средств защиты и пожаротушения.
3.3. Предремонтное обследование выполняют визуальным осмотром в натуре и инструментальными замерами для уточнения характера местности, фактического состояния существующих подъездных дорог и вдольтрассовых проездов, выявления опасной загазованности и ее источников, определения мест подсыпки привозного грунта для надежной защиты параллельных ниток газопроводов.
3.4. Результаты измерений глубины заложения ремонтируемого газопровода наносят на вешки и колышки, забиваемые по оси газопровода. Оси параллельных ниток газопровода и других коммуникаций также отмечаются на местности вешками.
Для обеспечения нормальной и безопасной работы ремонтно-строительной техники определяют фактическое расстояние от ремонтных мест до параллельных ниток газопроводов, которое должно быть не менее 2,0 м.
3.5. Подготовительные работы в условиях обводненной и заболоченной местности включают в себя восстановление старых и устройство новых вдольтрассовых дорог, проездов и технологических площадок.
Предварительным обследованием определяют фактическое состояние дорог, необходимых для подвоза материалов и оборудования к местам ремонта. По результатам обследования определяют состав и объем выполняемых работ.
3.6. На болотах, обводненных и переувлажненных участках трассы используют конструкции строительных дорог с применением рулонных нетканных синтетических материалов (НСМ).
Прослойку из НСМ укладывают в пределах проезжей части непосредственно на грунт под слой основания из минеральных грунтов. В зависимости от грунтовых условий, состояния и вида подстилающего слоя, планируемых объемов транспортировки грузов дорожные конструкции усиливают путем устройства дополнительного слоя лежневого настила, хворостяной выстилки или выравнивающего слоя.
Технологические параметры временных дорог с прослойкой в основании из нетканного синтетического материала приведены в табл. 1.
Таблица 1.
Технологические параметры временных дорог с прослойкой в основании
из нетканного синтетического материала
|
№№ |
Тип болота |
Составляющие конструкции временной дороги |
Высота слоя насыпи (м) |
Ширина проезжей части (м) |
|
1 |
I тип. Торф устойчивой консистенции |
Прослойка из НСМ |
- |
8,0 |
|
Песчаное основание |
0,5 | |||
|
Грунтовое покрытие |
0,2 | |||
|
2 |
I тип. Глубина торфяной залежи до 4 м |
Прослойка из НСМ |
- |
8,0 |
|
Песчаное основание |
0,5 | |||
|
Прослойка из НСМ |
- | |||
|
Грунтовое покрытие |
0,2 | |||
|
3 |
II тип. Глубина торфяной залежи до 4 м |
Прослойка из НСМ |
- |
8,0 |
|
Песчаное основание |
0,5 | |||
|
Прослойка из НСМ |
- | |||
|
Армирующий слой из лежней или деревянных щитов |
0,2 | |||
|
Песчаное основание |
0,5 | |||
|
Грунтовое покрытие |
0,2 | |||
|
4 |
II тип. Глубина торфяной залежи до 4 м |
Поперечный деревянный настил или хворостяная выстилка |
0,2 |
8,0 |
|
Прослойка из НСМ |
- | |||
|
Песчаное основание |
0,5 | |||
|
Прослойка из НСМ |
- | |||
|
Песчаное основание |
0,5 | |||
|
Грунтовое покрытие |
0,2 |
Отсыпку песчаного основания производят слоями толщиной 0,25 м с тщательным ее уплотнением продольными проездами груженных автосамосвалов.
Прослойку НСМ собирают из отдельных полотен с нахлестом в 10-20 см.
Крупные заготовки из нескольких скрепленных с помощью пламени паяльной лампы полотен НСМ должны предварительно готовиться в базовых условиях. Такие заготовки сворачивают в рулоны и доставляют к месту производства работ.
3.7. Технологические площадки для разгрузки и сварки труб, разгрузки балластирующих пригрузов, установки водоотливных устройств представляют собой местные уширения вдольтрассового проезда. Размеры и место расположения технологических площадок определяются проектом.
4. ЗЕМЛЯНЫЕ РАБОТЫ
4.1. К земляным работам при выборочном ремонте газопроводов относятся:
- снятие плодородного слоя грунта;
- вскрытие газопровода;
- ручная доработка грунта непосредственно у трубы и подкапывание под трубопроводом;
- обратная засыпка траншеи и восстановление плодородного слоя;
- обвалование участков газопровода, вышедших на поверхность земли.
4.2. Проектировать и выполнять земляные работы при выборочном ремонте газопроводов следует в соответствии с ВСН 51-1-97 [10] и требованиями настоящего документа.
4.3. Характер и технология производства земляных работ зависят от принятого способа ремонта, объемов работ, грунтовых и климатических условий.
4.4. Способы ремонта разделяются на:
а) ремонт с демонтажем трубы и подъемом ее на поверхность земли;
б) ремонт в траншее без демонтажа трубы.
4.5. При ремонте с демонтажем трубы и подъемом ее на поверхность земли газопровод вскрывают, снимая грунт либо сверху и с обеих боковых сторон, либо сверху и с одной боковой стороны газопровода до нижней образующей.
Эти работы производят одноковшовым или специальным многоковшовым вскрышным экскаватором.
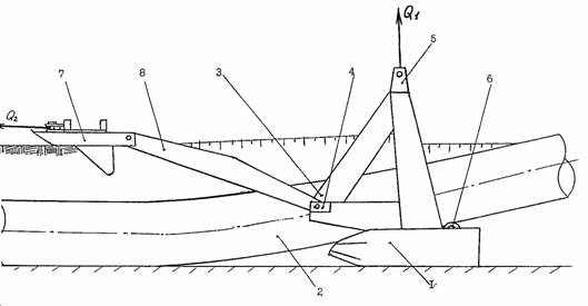
4.6. Для сокращения объемов земляных работ и увеличения темпов вскрытия и подъема трубопровода на поверхность земли при демонтаже протяженных (более 100 м) участков газопроводов применяют разработанный во ВНИИГАЗе специальный извлекатель, представляющий собой роликоопору, которую подводят под газопровод с помощью трубоукладчика. Рабочий ход извлекателя, поддерживаемого на стреле трубоукладчика, обеспечивается тракторным тягачом на канатной сцепке (рис. 1).
Использование извлекателя дает возможность сохранения трубы для ее повторного использования при высоком темпе производства работ. При этом не требуется предварительного полного вскрытия газопровода. В плотных грунтах достаточно провести рыхление или снятие только верхнего слоя грунта.
4.7. При ремонте трубы в траншее возникает необходимость, кроме вскрытия трубопровода сверху и с боковых сторон, производить также подкапывание под газопроводом для освобождения его от грунта по всему периметру.
В этом случае боковые траншеи заглубляют ниже нижней образующей трубы (рис. 2), а грунт, извлеченный из под трубы, укладывают на дно боковых траншей.
4.8. Для механизации подкапывания под газопроводом применяют специальный подкапывающий ковш одноковшового экскаватора, или используют специальные подкапывающие машины виброударного действия, разработанные ВНИИГАЗом.

Рис. 1. Извлекатель трубопроводов. Схема работы.
1 - корпус извлекателя; 2 - трубопровод; 3 - боковые ножи; 4 - узел крепления тяговых связей; 5 - верхняя серьга; 6 - роликоопора; 7 - лидерный рассекатель; 8 - тяговые связи.
Q1 - вертикальное усилие (обеспечивается с помощью крана-трубоукладчика);
Q2 - тяговое усилие (обеспечивается с помощью тракторного тягача).

Рис. 2. Параметры траншеи при вскрытии газопровода с подкапыванием
1. Газопровод; 2. грунт, извлекаемый под трубопроводом; 3. боковые траншеи;
А - ширина боковой траншеи, определяемая шириной ковша экскаватора;
В = 0,5-0,6 м - глубина подкапывания под трубопроводом; S = 0,15-0,20 м - толщина слоя грунта, оставляемого для исключения повреждений газопровода.
5. ВЫБОРОЧНЫЙ РЕМОНТ ПОД ДАВЛЕНИЕМ ГАЗА
5.1 Ремонт сквозных повреждений с применением специальных устройств
5.1.1. Выборочный ремонт сквозных отверстий диаметром до 14 мм, расположенных на верхней половине сечения трубы, может быть произведен при помощи устройства для заделки свищей УЗС-01, состоящего из опорной плиты, упорной и нажимной планок, установленных на опорной плите при помощи направляющих (рис. 3). В упорной и нажимной планках установлена шпилька с упорной втулкой и уплотнителем.
5.1.2. Для перекрытия сквозного отверстия собранное устройство устанавливается на поверхность трубы с таким расчетом, чтобы шпилька (7) с надетым на нее уплотнителем (8) расположилась по центру свища. Далее, завинчиванием нажимных болтов (5) упорная и нажимная планки раздвигаются. При этом втягивается шпилька (7), корпус которой разжимает уплотнение, тем самым перекрывая сквозное отверстие. После перекрытия свища гайка (9) отвинчивается, и устройство снимается.
а

б

Рис. 3. Ремонт при помощи устройства УЭС-01
а - установка устройства на свищ; б - заделка свища; 1 - опорная плита; 2 - упорная планка;
3 - нажимная планка; 4 - направляющие; 5 - нажимные болты; 6 - упорная втулка;
7 - шпилька; 8 – уплотнитель; 9 – гайка
5.1.3. Поверхность трубы, прилегающая к перекрытому сквозному повреждению на участке не менее 200х200 мм, зачищается от грязи, следов коррозии, остатков изоляции и упрочняется полимерным композиционным материалом. Нанесение полимерного материала на поверхность трубы производится в соответствии с инструкцией по применению выбранного материала.
5.1.4. После отвердения упрочняющего полимерного материала свободный конец шпильки срезается и производится восстановление изоляционного покрытия газопровода.
5.1.5. Для выборочного ремонта труб газопроводов при ликвидации свищевых повреждений и единичных сквозных коррозионных каверн диаметром до 25 мм независимо от места их расположения на поверхности трубопровода может быть использован ремонтный хомут ВГ-101, состоящий из стакана с отводным шлангом и винтовым затвором и собственно крепежного хомута, соединенного со стаканом натяжными болтами (рис. 4).
а

б

Рис. 4. Ремонт при помощи хомута ВГ-101
а - установка устройства на свищ; б - заделка свища; 1 - стакан; 2 - отводной шланг;
3 - винтовой затвор; 4 - хомут; 5 - натяжной болт
5.1.6. При производстве работ хомут устанавливается на трубу в непосредственной близости от дефекта. На нем монтируется при помощи стяжных болтов полностью собранный (с винтовым затвором и отводным шлангом) стакан, который перемещением хомута по трубе надвигается на дефект. Правильность установки стакана определяется по началу интенсивного выхода газа из отводного шланга. После фиксации стакана и хомута натяжными шпильками, а также завинчивания до упора затвора (5) выход газа должен полностью прекратиться. Затем производится восстановление изоляции трубопровода.
5.1.7. Для перекрытия свищевых и коррозионных повреждений труб газопроводов, размеры которых не позволяют использовать для их ремонта устройство УЗС-01 и хомут ВГ-101 применяют сборно-разборную муфту, состоящую из двух полумуфт: опорной и герметизирующей (рис. 5).

Рис. 5. Ремонтная муфта
1 - опорная полумуфта; 2 - герметизирующая полумуфта;
3 - болты; 4 - задвижка (кран); 5 - уплотняющее кольцо; 6 - шнур.
5.1.8. Полумуфты устанавливаются на трубу и соединяются вдоль продольной образующей при помощи болтов (3). Герметизирующая полумуфта снабжена краном для свободного выхода газа во время установки муфты и уплотняющего кольца (5). Кроме того, на обоих полумуфтах вдоль радиальных и продольных образующих в специальном пазе установлен специальный шнур (6), который позволяет исключить возможность повреждения стенки трубопровода при установке муфты и герметизирует поверхность трубы под муфтой.
5.1.9. При монтаже полумуфты располагаются таким образом, чтобы дефект оказался внутри уплотняющего кольца (5) герметизирующей полумуфты (2). При этом кран (4) должен быть полностью открыт. После равномерной затяжки болтов (3), расположенных на продольных образующих, кран закрывается, нейтрализуя дефект.
5.1.10. В случае, если после затяжки болтов и перекрытия крана из-под радиальных и продольных образующих полумуфт продолжается утечка газа, затяжные болты (3) должны быть ослаблены, кран открыт, и положение уплотняющего кольца (5) муфты уточняется. После чего процесс повторяется. После окончания работ восстанавливается изоляционное покрытие газопровода.
5.1.11. Работы по ликвидации повреждений труб газопроводов при помощи специальных устройств ведутся согласно требованиям «Временной инструкции по проведению ремонтных работ на магистральных газопроводах под давлением газа». М, ВНИИГАЗ, 1995 [4].
5.2 Ремонт с применением пайки
5.2.1. Технологический процесс ремонта дефектов основан на герметизации сквозных повреждений методом запайки их специальными низкотемпературными припоями с применением безогневого индукционного нагревателя. При этом используемые низкотемпературные припои обладают улучшенными физико-механическими характеристиками, высокой коррозионной стойкостью и специальными технологическими свойствами.
5.2.2. Максимально допустимые размеры сквозных трещин и свищей, подлежащих герметизации безогневым методом, указаны в табл. 2.
Таблица 2.
Допустимые размеры сквозных трещин и свищей,
подлежащих герметизации безогневым методом
|
Ремонтируемый объект |
Геометрические размеры сквозных дефектов, мм | ||
|
свищ |
трещина | ||
|
диаметр |
длина |
раскрытие кромок | |
|
Магистральный газопровод |
3,0-4,0 |
100 |
1,0 |
|
80 |
1,5 | ||
|
50 |
2,0 | ||
|
Магистральный конденсатопровод |
5,0-6,0 |
120 |
1,0 |
|
100 |
1,5 | ||
|
80 |
2,0 | ||
|
50 |
3,0 |
5.2.3. Низкая температура плавления припоя (60-150°С), применение безогневого индукционного нагрева дефектного участка, взрывозащищенного оборудования (нагревателя) обеспечивают пожаровзрывобезопасность всего технологического процесса.
5.2.4. Предварительная герметизация сквозных трещин с раскрытием кромок от 0,1 до 2,0 мм, а также свищей диаметром 3,0-4,0 мм достигается за счет сближения кромок трещин и свищей путем пластической деформации их краев при помощи безыскрового инструмента. Сближение кромок трещин и свищей необходимо начинать с расстояния 2,0-3,0 мм от края трещины или свища, воздействуя на этот участок слесарным ручным инструментом, например, бородком.
5.2.5. В процессе герметизации микротрещин рекомендуется предварительный прогрев дефектного участка с помощью безогневого индукционного нагревателя.
5.2.6. Предварительная герметизация сквозных трещин с раскрытием кромок до 2,0-3,0 мм и длиной до 50-80 мм (см. табл. 6) достигается путем запрессовки в их полости специальной заглушки, состоящей из специального сплава с металлическим самофлюсующим покрытием, образующим в контакте с применяемым припоем эвтектический сплав с более низкой температурой плавления, чем сам припой. Такой технологический процесс позволит производить пропайку полости трещины или свища на глубину от 60 до 90% от толщины стенки ремонтируемого газопровода.
5.2.7. После предварительной герметизации сквозного дефекта перед пайкой производится подготовка поверхности дефектного участка механической обработкой (напильником, шабером, шлифовальной шкуркой).
5.2.8. Подготовленную поверхность обезжиривают и на нее наносят низкотемпературный флюс, после чего производят пайку специальными низкотемпературными припоями с применением индукционного нагревателя.
5.2.9. Специальные низкотемпературные припои представляют собой легкоплавкие многокомпонентные сплавы на основе свинца, индия, олова, кадмия, лигириванные германием, иттрием и др. элементами. Определенные сочетания основных компонентов и лигирующих элементов в сплаве, а также специальные технологические процессы плавки, позволяют создавать низкотемпературные припои с заданными физико-механическими, коррозионными и технологическими свойствами для каждого конкретного случая их применения в процессах безогневой ремонтной технологии.
|
Из за большого объема этот материал размещен на нескольких страницах:
1 2 3 4 |



