5.3.5. В процессе установки композиционных спиральных муфт (КСМ) на дефектный участок трубы производится намотка различного количества слоев полимерной ленты (в зависимости от расчета). Допускается взаимозаменяемость муфты при ремонте труб различного диаметра (табл. 6).
Таблица 6.
Взаимозаменяемость композитных спиральных муфт
при ремонте труб различного диаметра
|
Номенклатура муфт по диаметру ремонтируемой трубы, мм |
Допустимый минимальный диаметр трубы, мм |
|
219 |
219 |
|
273 |
219 |
|
325 |
273 |
|
426 |
325 |
|
530 |
426 |
|
720 |
530 |
|
1020 |
720 |
|
1220 |
1020 |
|
1420 |
Примечание: Рулонированный композиционный материал:
ГАРС - ТУ
УОЛ - ТУ
5.3.6. До начала производства собственно ремонтных работ с использованием ПКМ выполняются следующие технологические операции:
- вскрытие газопровода;
- снятие изоляционного покрытия;
- визуальный осмотр дефектной зоны трубы с измерением ее толщины стенки и глубины наиболее крупных каверн;
- расчет допустимости ремонта фактических дефектов по специальной компьютерной программе и проверка соответствия давления в газопроводе безопасному уровню;
- пескоструйная очистка поверхности трубы на дефектном участке с использованием портативных установок Сопло-160, Стык-325 и т. п. Допускается механическая зачистка дефектного участка металлической щеткой с помощью шлифмашинки или вручную с качеством поверхности не ниже 3-ей степени по ВСН 008-88, ГОСТ 9402-80, а также химическая зачистка;
- разметка участка трубы, подлежащего ремонту с уточнением размеров дефектов и привязкой их к сварным швам ремонтируемой трубы;
- разработка технологической карты комбинированного ремонта дефектной трубы ПКМ в соответствии с РД на применение полимерных композитных материалов.
5.3.7. Работы по комбинированному ремонту дефектных труб ПКМ производятся в следующей технологической последовательности:
- обезжиривание зоны ремонта;
- осушка ремонтируемой поверхности безогневым методом (при необходимости);
- послойное нанесение клеевых композиций «Монолит», РЭМ-Сталь, ПГР-4, «Диамант» с выдержкой в соответствии с регламентом времени отверждения;
- обезжиривание поверхности трубы по всему периметру в местах установки упрочняющих муфт, накладок или манжет;
- монтаж и установка упрочняющих муфт, накладок или манжет с выдержкой в соответствии с регламентом времени отверждения и набора прочности.
5.3.8. Технологические условия проведения ремонта с применением ПКМ:
- температура стенки трубы - не ниже +5°С;
- температура окружающего воздуха - не ниже +15°С;
- время отверждения клеевой композиции - не менее 3 часов;
- время отверждения клеящего материала упрочняющей муфты, накладки или манжеты не менее 24 час; при активации процесса отверждения с помощью электрических нагревателей при
t° = 40¸60°C - не менее 4 часов.
5.3.9. В местах нанесения клеевых композиций и установки упрочняющих муфт, накладок или манжет поверхность трубы должна быть протерта ветошью и обезжирена хлопчатобумажной бязью, смоченной в ацетоне, ГОСТ 2768-84 или другими аналогичными химическими очистителями. Применение бензина для обезжиривания поверхности трубы не допускается.
5.3.10. При наличии влаги (конденсата) поверхность трубы перед нанесением ПКМ и установкой упрочняющих муфт или манжет должна быть просушена при t° = 40-60°C электрическими подогревателями гибкой формы. При температуре окружающего воздуха ниже +5°С предварительная просушка поверхности трубы в месте ремонта обязательна.
5.3.11. Перед началом выполнения ремонтных работ необходимо провести визуальный осмотр упрочняющего СПМ. При наличии на них трещин, расслоений, вздутий, посторонних включений и заусениц муфты или манжеты бракуются и установке на газопровод не подлежат.
5.3.12. Границы установки муфты, накладки или манжеты должны быть размечены маркером или мелом по периметру трубы. Разметка выполняется при нанесении одного-двух витков ленты муфты или шаблона. Ширина шаблона должна быть равной ширине ленты.
5.3.13. При ремонте дефектов труб попадание влаги, масел и загрязнений на ремонтируемый участок трубы, клеевую композицию и на упрочняющую муфту, накладку или манжету до окончания ремонта не допускается.
5.3.14. При ремонте труб диаметром более 720 мм намотка ленты на трубу может производиться с кронштейна, на оси которого располагается рулон ленты. Кронштейн устанавливается на расстоянии мм от места установки муфты и закрепляется в верхней части трубы с помощью двух натяжных ремней.
5.3.15. При установке упрочняющих спиральных муфт проверяется правильность намотки ленты на трубу. Каждый последующий виток ленты должен располагаться строго по предыдущему витку.
5.3.16. Выступающие края ленты после намотки должны быть выровнены по торцам муфт. Выравнивание выполняется с помощью деревянных брусков, по которым производится постукивание молотком.
5.3.17. Сразу после намотки для плотного прилегания муфты к ремонтируемой трубе производится натяжение ленты, выполняемое вручную с помощью постоянного приспособления после его закрепления на самой муфте. При натяжении витки ленты упрочняющей муфты должны прокручиваться относительно друг друга.
5.3.18. Видимые локальные зазоры между муфтой и поверхностью трубы и между слоями ленты должны заполняться клеящим материалом.
5.3.19. После натяжения ленты вытесненные через ее торцы излишки клеящего материала должны формироваться с помощью шпателя под углом 45° по обеим сторонам муфты. В случае, если не удается обеспечить натяжение ленты (преждевременное отвердение клеящего материала, отсутствие надежного закрепления начала ленты на поверхности трубы), муфту следует снять, разрезав ее пополам по ширине с помощью шлифмашинки, и установить новую. При разрезе муфты касание абразивным диском поверхности трубы не допускается.
5.3.20. После натяжения лента муфты закрепляется с помощью двух натяжных ремней шириной 20-30 мм, которые располагаются по краям муфты на расстоянии 20-30 мм от торца, или липких лент (скотч) шириной 40 мм. Натяжное приспособление после натяжения ленты муфты снимается. Конечный участок последнего витка ленты муфты дополнительно закрепляется к предыдущему витку липкой лентой прямоугольной формы размером 100x220 мм.
5.3.21. Размеры ремонтного соединения (местоположение, площадь и толщина заливной клеевой композиции) и расположение установленных упрочняющих муфт должны полностью соответствовать технологической карте ремонта.
5.3.22. После окончания работ по установке упрочняющей муфты на газопровод проводится визуальный контроль и оценка качества ремонта с проверкой: ровности намотки слоев ленты муфты на трубе, отсутствия зазоров между слоями ленты и зазоров между первым слоем ленты и поверхностью трубы.
При наличии локальных зазоров последние должны заполняться клеящим материалом с помощью шпателя.
5.3.23. Контроль отвердения клеящего материала определяется нажатием металлического стержня диаметром 2-3 мм с нагрузкой 5 кг на слой клея по краям муфты, при этом клеящий материал следует считать отвердевшим при отсутствии визуально наблюдаемых вмятин.
Отвердение клеящего материала проверяется не менее, чем в 8-ми точках периметра трубы.
5.3.24. После окончания ремонтных работ производится изоляция ремонтируемого участка трубы в месте установки муфты, накладки или манжеты в соответствии с ВСН 008-88, ГОСТ . Изоляция трубопровода в месте установки муфты, накладки или манжеты должна проводиться только после затвердения адгезива и проверки его отвердения.
5.3.25. Толщина муфты после установки замеряется с помощью шаблона сварщика или штангенциркуля в 8-ми точках по периметру трубы и должна быть не менее 12 мм.
5.3.26. К работам с ПКМ допускаются специалисты, обученные и аттестованные в организации, имеющей лицензию Госгортехнадзора РФ.
5.3.27. При производстве выборочного ремонта с использованием ПКМ помимо настоящего документа необходимо руководствоваться следующими нормативными документами:
«Временным руководящим документом по проведению ремонтных работ с применением клея «Монолит» на объектах газовой промышленности», М., ВНИИГАЗ, 1996 [2];
«Руководящий документ по применению композитных материалов фирмы «Диамант» для ремонтных работ на объектах нефтяной и газовой промышленности», Газнадзор, 1998 г.[3];
«Руководящий документ по применению композитных материалов фирмы «Порсил лтд» (Санкт-Петербург) для ремонтных работ на объектах нефтяной и газовой промышленности», Газнадзор, 1998 г.[11];
«Инструкция по ремонту дефектных труб магистральных газопроводов полимерными композиционными материалами», 1999. [14].
5.4 Ремонт с применением сварных муфт
5.4.1. Для выборочного ремонта несквозных поверхностных коррозионных и механических дефектов труб действующих газопроводов могут использоваться сварные муфты, состоящие из двух половин, которые после установки на трубопровод свариваются между собой продольными стыковыми швами (рис. 7).
5.4.2. Установка муфты на газопровод осуществляется в следующей технологической последовательности:
- сборка и сварка двух полуколец муфты на трубе продольными швами;
- зашлифовка продольных швов колец в местах установки муфты;
- сварка двух половин муфты после их сборки на кольцах с последующей приваркой к ним кольцевыми угловыми швами;
5.4.3. Зазор между муфтой и трубой заполняется упрочняющим наполнителем типа эпоксидной смолы, для чего на поверхности муфты имеются отверстия диаметром 12-14 мм (рис. 7). После заполнения кольцевого пространства между муфтой и трубой отверстия закрываются винтовыми пробками.
5.4.4. Количество наполнителя в литрах для заливки в муфту определяется по формуле:
V = 0,003 DLd
где: D - диаметр трубы, мм;
L - длина муфты, мм;
d - толщина стенки колец, мм.
5.4.5. Для заполнения муфты могут быть использованы смолы следующих марок: Sikadur 35, Talygrout 100, Diс Duralcrete LV, Celtite 42-06Bhi.
5.4.6. Для ускорения полимеризации наполнителя производится подогрев муфты с помощью электрических индукционных подогревателей до t° = 50-100°C. При этом необходимость подогрева определяется техническими условиями на наполнитель.
5.4.7. Для ремонта дефектных труб применяются муфты как заводского изготовления, так и изготовления из труб, предназначенных для сооружения газопроводов.
5.4.8. Толщина стенки муфты (и ее элементов) при одинаковой нормативной прочности металла трубы и муфты должна быть не меньше толщины стенки рекомендуемой трубы. При меньшей нормативной прочности металла муфты номинальная толщина ее стенки должна быть увеличена в соответствии со СНиП 2.05.06-85 (п. 8.3.). При этом толщина стенки муфты не должна превышать толщину стенки трубы более, чем на 20%.
5.4.9. При изготовлении муфт из прямошовных труб, предназначенных для сооружения газопроводов, диаметру муфты должен быть равен диаметру ремонтируемой трубы. Муфта должна быть изготовлена из стали аналогичного класса прочности, что и ремонтируемая труба. Изготовление муфт производится с использованием механической обработки или газовой резки.

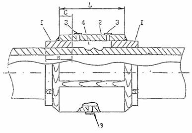
Рис. 7. Сварная муфта
1 - кольцо муфты; 2 - наружная муфта; 3 - резьбовое отверстие для заливки и контроля заполнения муфты эпоксидной смолой; 4 - эпоксидная смола.
5.4.10. Трубы, предназначенные для изготовления муфт должны иметь заводские сертификаты и соответствовать ТУ на трубы, для ремонта которых они будут использованы.
Трубы для изготовления ремонтных муфт не должны иметь внешних дефектов (трещин, вмятин, выбоин, коррозионных каверн и др.).
5.4.11. В целях экономии металла допускается изготовление ремонтных муфт (и ее элементов) из нескольких сегментов труб той же марки стали, что и ремонтируемая труба, с толщиной стенки не менее, чем толщина стенки ремонтируемой трубы.
5.4.12. При изготовлении ремонтных муфт и их элементов из отдельных сегментов труб расстояние между продольными сварными швами, а также от продольного сварного шва до продольной кромки полумуфты должно быть не менее 300 мм по внешней образующей трубы (рис. 8).
5.4.13. Выборочный ремонт дефектных труб газопроводов с применением сварных муфт осуществляется в соответствии с требованиями «Временной инструкции по ремонту нефтепроводов с применением сварных муфт», М, ВНИИСТ, 1997 [7].
5.5 Ремонт изоляции газопровода
5.5.1. Решение о ремонте и переизоляции участка газопровода принимается газотранспортным предприятием на основании данных электрометрических измерений и соответствующих технико-экономических расчетов. При этом допускается частичная замена изоляционного покрытия газопровода при условии усиления его электрохимической защиты, обеспечивающей необходимую коррозионную защищенность.
5.5.2. При выборочном ремонте газопроводов с амортизацией более 50% допускается применять покрытия, аналогичные используемым ранее, в том числе на основе липких полимерных лент.
5.5.3. При ремонте газопроводов с амортизацией менее 50% в соответствии с ГОСТ Р допускается применять следующие типы покрытий:
- на основе полиуретановых смол;
- на основе эпоксидных смол;
- полимерные;
- стеклоэмалевые;
- битумные.
5.5.4. Очистку газопровода от старой изоляции и продуктов коррозии производят термоабразивными устройствами, механическим способом спиральными резцами, металлическими щетками, тросом (по специальной технологии), а также гидроклинерами.

Рис. 8. Схема расположения продольных швов укрупнения
1, 2 - продольные швы; 3, 4, 5 - сегменты трубы.
5.5.5. Перед нанесением полиуретановых покрытий поверхность газопровода должна быть подготовлена с использованием дробеструйной очистки до уровня шероховатости не ниже 100-120 мкр.
5.5.6. При выборочном ремонте изоляции газопроводов, находящихся под давлением, используется метод подкопа, при котором производится удаление грунта в радиусе 0,5¸0,6 м вокруг дефектного участка. Удаление грунта выполняют вручную или с применением средств малой механизации.
5.5.7. Выборочный ремонт изоляции газопроводов, находящихся под давлением газа, выполняется в следующей технологической последовательности:
- удаление грунта;
- очистка от старой изоляции;
- восстановление поврежденных участков труб (при необходимости);
- нанесение нового изоляционного покрытия;
- засыпка трубопровода.
5.5.8. Протяженность участка газопровода при ремонте изоляции под давлением газа должна быть, в соответствии с размерами пролета между опорами (ВСН 51-1-97, приложение 3), не более следующих значений:
|
Диаметр трубопровода (мм) |
Протяженность участка (м) |
|
377-530 |
20 |
|
630-820 |
25 |
|
30 |
5.5.9. Ремонт изоляции более протяженных участков должен выполняться только на освобожденном от газа газопроводе, в соответствии с требованиями «Правил производства работ при капитальном ремонте магистральных газопроводов» ВСН 51-1-97, М, 1997, [10].
5.5.10. Контроль качества нанесения изоляционных материалов производится пооперационно.
6. ВЫБОРОЧНЫЙ РЕМОНТ НА ОСВОБОЖДЕННОМ
ОТ ГАЗА УЧАСТКЕ ГАЗОПРОВОДА
6.1. Выборочный капитальный ремонт (ВКР), выполняемый на отключенном и освобожденном от газа участке газопровода, подразделяется на:
- ремонт с заменой изоляционного покрытия;
- ремонт с заменой изоляционного покрытия и восстановлением несущей способности стенки трубы;
- ремонт с заменой труб.
6.2. ВКР магистральных газопроводов с заменой изоляционного покрытия производится:
- с подъемом участка трубопровода и укладкой его на берме траншеи;
- с подъемом участка трубопровода в траншее;
-с подъемом не вскрытого или частично вскрытого участка трубопровода и укладкой его на берме траншеи.
6.3. ВКР магистральных газопроводов с заменой изоляционного покрытия и восстановлением несущей способности стенки трубы выполняется:
- с подъемом участка трубопровода и укладкой его на лотки на берме траншеи;
- с подъемом участка трубопровода и усадкой его на лотки на дне траншеи;
- с подъемом не вскрытого или частично вскрытого участка трубопровода.
6.4. ВКР с заменой труб осуществляется путем:
- укладки в единую траншею вновь прокладываемого участка трубопровода рядом с заменяемым с последующим демонтажем последнего;
- укладки в отдельную траншею вновь прокладываемого участка трубопровода с последующим вскрытием и демонтажом заменяемого трубопровода;
- демонтажа заменяемого трубопровода и укладки вновь прокладываемого в существующую или вновь разрабатываемою траншею.
6.5. Организационно-технологические схемы производства ВКР принимаются в соответствии с «Правилами производства работ при капитальном ремонте магистральных газопроводов» ВСН 51-1-97, М, 1997 [10].
6.6. Работу по подъему и укладке ремонтируемого участка газопровода разрешается выполнять только после полного освобождения его от газа и получения разрешения эксплуатирующей организации.
6.7. Перед подъемом или извлечением газопровода должны быть выполнены все мероприятия, обеспечивающие безопасность их проведения и предотвращающие возникновение аварийных ситуаций.
6.8. Начало или конец поднимаемого участка газопровода должны находиться от линейных кранов или других мест защемления на расстоянии:
- для газопроводов диаметром до 700 мм - не менее 40 м;
- для газопроводов диаметром 700 мм и свыше - не менее 50 м.
6.9. При ремонте газопровода с заменой труб следует применять трубы с заводским или базовым изоляционным покрытием с выполнением в трассовых условиях только работ по очистке и изоляции сварных стыков.
6.10. Если по режимам эксплуатации газопровода отключение участка, требующего ремонта, невозможно, ВКР производят с укладкой новой нитки (лупинга), после подключения которой к основному газопроводу ремонтируемый участок газопровода отключают с последующим демонтажом труб.
6.11. При выборочном ремонте газопроводов участки труб с единичными дефектами в виде рисок, царапин и коррозионных каверн с линейными размерами, указанными в табл. 7, допускается ремонтировать шлифовкой. При этом единичными считаются дефекты, расстояние между которыми превышает длину наибольшего из дефектов. В противном случае дефекты будут рассматриваться как один дефект протяженностью, равной суммарной длине входящих в него дефектов.
Таблица 7.
Допустимые размеры дефектов, подлежащих ремонту шлифовкой
|
Наибольшая глубина дефекта (в % от толщины стенки) |
Наибольшая ширина дефекта, мм |
Допустимая длина дефекта, мм Категория участка газопровода, мм | |
|
I-II |
III-IV | ||
|
До 10% |
До 10S |
42S |
83S |
|
10-15S |
37S |
74S | |
|
15-20S |
36S |
67S | |
|
20-25S |
30S |
59S | |
|
25-30S |
26S |
57S | |
|
30-35S |
22S |
43S | |
|
До 15% |
До 10S |
27S |
55S |
|
10-15S |
23S |
47S | |
|
15-20S |
19S |
40S |
Примечание: S - толщина стенки трубы (номинальная по проекту или минимальная по ТУ, мм).
6.12. Заваркой ремонтируются дефекты (рис. 9, а), размеры которых по глубине и протяженности (условному диаметру каверны Dy деф., мм) не превышают значений, приведенных в табл. 8.
Таблица 8.
Допустимые размеры дефектов, ремонтируемых сваркой
|
Форма завариваемой каверны |
Нормативный предел прочности трубы, МПа (кгс/мм2) |
Наибольшая глубина дефекта (в % от толщины стенки) |
Условный диаметр каверны Dy деф., мм при толщине стенки трубы, мм | ||
|
7,0-9,0 |
9,5-14,0 |
14,5-20,0 | |||
|
круг |
до включительно |
40 |
30 |
50 |
70 |
|
60 |
- |
35 |
50 | ||
|
свыше |
40 |
30 |
35 |
60 | |
|
до включительно |
60 |
- |
- |
40 | |
|
эллипс |
До включительно |
40 |
- |
35/60* |
40/80 |
|
Свыше До включительно |
40 |
- |
35/60 |
40/70 |
Примечание: * - в числителе указана длина малой оси эллипса, в знаменателе - большой.
|
Из за большого объема этот материал размещен на нескольких страницах:
1 2 3 4 |



