Водоотводные канавы
2.200. Продольные водоотводные канавы необходимо предусматривать с нагорной стороны насыпей без устройства резервов.
На местности с поперечным уклоном менее 0,02 при высоте насыпей менее 1,5 м, на участках косогоров с изменяющимся поперечным уклоном, а также на болотах водоотводные канавы следует проектировать с двух сторон полотна.
2.201. При пересечении лугов, оврагов глубину канав можно принимать до 0,2 м с устройством банкета шириной поверху не менее 3 м, с возвышением его бровки над расчетным уровнем воды не менее 0,25 м и поперечным уклоном поверхности банкета от насыпи 0,02 - 0,04.
Расстояние между подошвой откосов насыпей и внутренней бровкой продольных водоотводных канав следует принимать не менее 3 м, а со стороны размещения будущего второго пути - не менее 7 м.
Поверхность бермы между насыпью и канавой должна иметь поперечный уклон 0,02 - 0,04.
2.202. Поперечные канавы следует проектировать в случаях, когда отвод воды от водопропускных сооружений затруднен или невозможен продольный отвод воды из местных понижений у земляного полотна.
Сопряжение водоотводных канав с руслом водотоков следует проектировать с выполнением следующих условий: в месте сопряжения канаву направлять по течению водотока; угол между осями канавы и водотока назначать не более 45°; изменение направления канавы проектировать плавным по кривой радиусом не менее 5 м, а на участках подходов к перепадам, быстротокам и искусственным сооружениям - не менее 10 м.
Отметка устья - выпуска воды из канавы или лотка должна быть ниже отметки бровки земляного полотна не менее чем на 1 м.
2.203. Оптимальный уклон дна канавы должен быть выбран так, чтобы скорости течения воды в канавах не превышали допускаемые (неразмывающие) скорости для данного грунта согласно прил. 10 настоящего Пособия.
Если при проектировании продольного профиля канав топографические условия местности не позволяют выдержать один и тот же продольный уклон, следует назначать крутые уклоны на коротких участках с соответствующим типом крепления или устраивать между ними вставки с уклонами, не требующими укреплений.
Минимальная допускаемая скорость течения воды по условиям недопущения заиливания канав 0,25 - 0,30 м/с (для канав, не имеющих укрепления и не покрытых растительностью).
Нагорные канавы
2.204. Нагорные канавы необходимо размещать с нагорной стороны выемок для перехвата воды, поступающей с косогора и прилегающего водосборного бассейна, с последующим отводом ее к ближайшему водопропускному сооружению или в сторону от земляного полотна.
На местности с большой крутизной склона, когда продольный уклон нагорной канавы будет больше допустимого значения для данных грунтов и применяемого типа укрепления, необходимо предусматривать устройства для гашения скорости течения воды - перепады, быстротоки и водобойные колодцы.
В таких случаях, в виде исключения, допускается также ступенчатое размещение отдельных участков нагорной канавы на косогоре. При этом начало участка канавы, расположенного ниже, следует размещать с некоторым перекрытием выхода вышерасполагаемого участка. Величину перекрытия и тип укрепления склона в местах выхода отдельных участков канавы необходимо назначать с учетом местных природных условий.
2.205. Минимальные расстояния между бровкой нагорной канавы и бровкой выемки, подошвой кавальера или насыпи следует назначать не менее величин, приведенных в табл. 22.
Таблица 22
|
Элементы земляного полотна |
Расстояние от бровки нагорной канавы до бровки выемки, м |
|
Бровки выемки при отсутствии банкета и кавальера |
5 |
|
То же, со стороны размещения будущего второго пути |
9 |
|
Подошва насыпи |
3 |
|
Подошва кавальера |
1 - 5 |
Расстояние между бровкой нагорной канавы и подошвой кавальера принимают в зависимости от условий снегонезаносимости. Глубина канавы принимается на 0,2 м больше расчетной.
2.206. Кюветы в выемках следует размещать с обеих сторон земляного полотна.
Кюветы, как правило, следует проектировать трапецеидальной формы с размерами не менее величин, указанных в табл. 20.
2.207. При отсутствии банкетов и забанкетных канав минимальное поперечное сечение кюветов необходимо проверять расчетом на пропуск расчетного расхода воды согласно прил. 9 настоящего Пособия, а при необходимости увеличивать сечение за счет углубления кюветов при сохранении минимальной ширины по дну.
Рис. 53. Железобетонный рамный лоток глубиной 1 м
1 - железобетонная рама; 2 - засыпка из песка крупного, средней крупности, гравелистого или гравия; 3 - закладная железобетонная плита; 4 - дренажные щели; 5 - щебеночная подготовка; 6 - асфальт; 7 - забивка пазух мятой глиной
Рис. 54. Железобетонный лоток под железнодорожными путями
1 - фундаментный блок; 2 - гидроизоляция; 3 - блок железобетонного лотка замкнутого сечения; 4 - шпала; 5 - рельс; 6 - балластный слой
Полевые откосы кюветов следует проектировать крутизной, равной крутизне откоса выемки, а откосы кюветов со стороны полотна - не превышающими величин, приведенных в табл. 20.
Продольный уклон кюветов следует принимать равным уклону земляного полотна. В пределах выемок с продольным уклоном менее 2 ‰ кюветы назначают с продольным уклоном 2 ‰. В точках водораздела глубину кюветов разрешается уменьшать до 0,2 м при сохранении ширины по дну.
2.208. Для отвода поверхностной воды при отсутствии ливневой канализации следует предусматривать закрытые лотки или дренажные устройства согласно указаниям СНиП 2.05.07-85, п. 2.67.
Лотки применяются в стесненных условиях, где затруднено устройство открытых нагорных канав, а также при неустойчивых откосах. Лотки устраивают в глубоких выемках, в пределах путевого развития раздельных пунктов и междупутий для пропуска воды с одной стороны пути на другую, перехвата уровня грунтовых вод и отвода их за пределы осушаемой территории.
Нецелесообразно применение лотков в случаях образования в них наледей и на пучинистых грунтах.
Рис. 55. Безраспорные секционные лотки
а - глубиной 0,2 м с глухими стенками; б - то же, глубиной 0,85 м с дренажными отверстиями в стенках; в - блок безраспорного лотка
2.209. Рамные лотки собираются из готовых рам, закладных плит и покрытий, а также безраспорных секций, изготавливаемых из железобетона (рис. 53).
Железобетонные рамные лотки рекомендуется применять: при затруднительном устройстве открытой канавы или кювета; при необходимости понижения уровня грунтовых вод или перехвата и отвода их в водоприемник; при углублении кюветов в существующих глубоких выемках; при нецелесообразности подрезки откосов выемки.
Минимальный продольный уклон дна лотка 0,002.
2.210. Междупутные лотки рассчитываются без учета влияния временной нагрузки от подвижного состава (рис. 54). При устройстве лотков большей глубины или расположении их в зоне нагрузок от поезда, а также на крутых косогорах конструкцию лотков следует проектировать индивидуально.
2.211. Лотки безраспорные, секционные (междушпальные) следует проектировать для отвода воды поперек пути и в случае продольного стока воды вблизи зданий и сооружений, платформ и открытых погрузочных площадок (рис. 55). Типы лотков приведены в серии 3.501-68 «Сборные железобетонные междушпальные лотки на железнодорожных путях промышленных предприятий», разработанной ПромтрансНИИпроектом и в Альбоме водоотводных устройств на станциях (инв. № 000), разработанном Мосгипротрансом.
2.212. Лотки под путями устраиваются в случаях, когда расходы воды превышают возможные для безраспорных лотков. Наибольшее применение получили железобетонные лотки сечением 0,75 ´ 1,25 м (рис. 54), устраиваемые на блочных железобетонных фундаментах, а при хороших инженерно-геологических условиях - на щебеночной подготовке. Лотки могут сооружаться под одним или несколькими путями.
Поглощающие колодцы и испарительные бассейны
2.213. При отсутствии возможности отвода воды из замкнутых понижений рельефа, пересекаемых земляным полотном, следует проектировать поглощающие колодцы или испарительные бассейны.
Поглощающие колодцы устраивают в местах залегания на небольшой глубине от поверхности земли хорошо дренирующих и некарстующихся грунтов, мощность слоя которых достаточна для поглощения расчетного количества поверхностной воды. Возможность применения поглощающих колодцев согласовывается с местной санэпидстанцией.
В качестве водопоглощающих можно использовать конструкцию фильтрующего колодца диаметром 1,5 и 2 м по типовому проекту Мосгипротранса ().
2.214. Испарительные бассейны разрешается предусматривать при проектировании земляного полотна в IV и V дорожно-климатических зонах. В качестве испарительного бассейна могут быть использованы местные понижения, впадины, выработанные карьеры и резервы глубиной не более 0,4 м. На участках, где под испарительные бассейны будут использованы резервы, насыпи без берм проектировать не допускается. Допускается устройство испарительных бассейнов с двух сторон земляного полотна на расстоянии не менее 10 м от подошвы откоса насыпи до уреза воды в бассейне. Объем бассейна должен быть до 300 м3, а глубина воды в нем - не более 1 м.
Гидравлические расчеты канав, кюветов и лотков
2.215. При проектировании нагорных и водоотводных канав, кюветов и лотков размеры их поперечного сечения устанавливаются по расчетному расходу воды при дождевом стоке, который определяется в соответствии с требованиями СНиП 2.01.14-83 и по программе автоматизированного гидравлического расчета, приведенной в прил. 9 настоящего Пособия. Для расчетов размеров канав методом подбора могут быть использованы таблицы, разработанные Главтранспроектом.
2.216. Расчетные сечения канав, кюветов и лотков назначаются в точках переломов продольного уклона дна канав, а на участках с однородным уклоном - в точках резкого изменения расчетного расхода воды, но не реже чем через 200 м.
При расчете канав и лотков на постоянный расход при одинаковом продольном уклоне достаточно рассчитать одно сечение.

Рис. 56. Конструкция поглощающего колодца из железобетонных колец диаметром 0,7 и 1 м
1 - верх поглощающего слоя; 2 - железобетонные кольца; 3 - отмостка из булыжного камня или из железобетонных плит; 4 - чугунный люк; 5 - регулировочные бетонные камни; 6 - деревянная крышка; 7 - опорное кольцо; 8 - плита перекрытия; 9 - песок крупный; 10 - щебень; 11 - камень; 12 - скобы ходовые
Укрепление канав
2.217. В зависимости от инженерно-геологических и гидрологических условий укрепление откосов и дна канав осуществляется следующими способами:
обсев откосов травами в клетках из бетонных брусков (рис. 57);
обсев откосов травами в жердевых полосах, в клетках из каменных плит (рис. 58).
Укрепление дна канав щебнем толщиной см и с одерновкой откосов (рис. 59).
Укрепление дна канав щебнем с песком толщиной см и обсев откосов семенами дикорастущих трав (рис. 60).
Укрепление откосов одерновкой плашмя неподтопляемой насыпи и выемки с помощью крепления дернин деревянными спицами (рис. 61).
Дерн нарезают на участках с суглинистыми почвами в условиях, близких к приживанию дернин в откосах насыпей или выемок. Толща дернин см, а размер в плане определяется проектом по данным исследований геоботаника.
Колья, жерди, хворост получают из ивовых пород; их длина, толщина в нижнем срубе определяются проектом.
Укрепление откосов и дна канав железобетонными плитами показано на рис. 62. При наличии агрессивных вод применяют бетон, стойкий от выщелачивания.
Укрепление подтопляемых откосов асфальтобетоном выполняется из плит и противоразмывных монолитных покрытий согласно ГОСТ 9128-84.
Укрепление неподтопляемых откосов насыпей и выемок механизированным посевом трав показано на рис. 63.


Рис. 57. Конструкции крепления откосов насыпей и выемок обсевом травами в клетках из бетонных брусьев
Рис. 58. Укрепление откосов насыпей и выемок обсевом дикорастущими травами
а - в клетках, образованных жердями; б - в клетках из каменных плит; 1 - деревянные колья; 2 - продольные жерди; 3 - растительный грунт с удобрениями; 4 - мощение откоса камнем; 5 - обсев дикорастущими семенами трав по слою толщиной 0,05 - 0,1 м

Рис. 59. Укрепление дна канав щебнем и одерновкой откосов
1 - щебень с песком толщиной слоя 0,08 - 0,1 м; 2 - деревянные колья для крепления дернины; b - ширина подошвы канавы по расчету; РГВ - расчетный горизонт воды

Рис. 60. Укрепление дна канав щебнем и обсевом откосов семенами дикорастущих трав
1 - щебень с песком слоем толщиной 0,08 - 0,1 м; 2 - откос, засеянный семенами дикорастущих трав; РГВ - расчетный горизонт воды



Рис. 61. Укрепление откосов одерновкой плашмя
а - неподтопляемой насыпи; б, в - схемы крепления дернин деревянными кольями

Рис. 62. Конструкция крепления канавы железобетонными плитами
1 - бетонная плита; 2 - подстилающий песчаный слой толщиной 0,2 м; РГВ - расчетный горизонт воды; b - ширина дна канавы по расчету


Рис. 63. Схема укрепления неподтопляемых откосов механизированным гидропосевом трав
а - насыпи; б - выемки; 1 - дерновая лента; 2 - кювет; 3 - растительный слой толщиной 0,15 м; 4 - закюветная полка

Рис. 64. Способы укрепления подтопляемых откосов одиночным мощением
а, б - камнем различных размеров в поперечнике; 1 - камень размером 0,15 - 0,2 м; 2 - то же, 0,18 - 0,2; 3 - то же, 0,12 - 0,18; 4 - слой песка или щебня; 5 - слой камня размером 0,25 м; 6 - щебень или гравий 0,1 - 0,15 м; а - высота набега волны и подпора около водопропускных сооружений; РГВ - расчетный горизонт воды

Рис. 65. Укрепление откосов берега плитами
1 - железобетонная плита; 2 - каменная отмостка; 3 - песок; РГВ - расчетный горизонт воды; ГМВ - горизонт меженных вод
Укрепления подтопляемых откосов производится одиночным мощением (рис. 64).
Укрепление берега производится железобетонными блоками на высоту набега волны с откосом 1 : 1 или 1 : 0,5, с засыпкой пазух песком и мощением из камня (рис. 65).
Укрепления подтопляемых откосов двойным мощением и железобетонным гибким покрытием, разработанные ЦНИИСом, приведены на рис. 66.
Укрепления подтопляемых откосов монолитными железобетонными плитами показаны на рис. 67 и асфальтобетонными - на рис. 68.

Рис. 66. Укрепление подтопляемых откосов
а - двойным мощением; б - железобетонным гибким покрытием конструкции ЦНИИСа; 1 - верхний слой камня; 2 - то же, нижний слой; 3 - щебень толщиной 0,1 м; 4 - железобетонное гибкое покрытие; 5 - конструктивные замоноличенные швы; 6 - упорная призма из камня; а - высота набега волны и подпора около сооружений; ГВВ - горизонт высоких вод

Рис. 67. Укрепление подтопляемых откосов монолитными железобетонными плитами
1 - упорная призма из камня; 2 - песок крупнозернистый; 3 - поверхность дна водоема; 4 - плиты железобетонные; 5 - отметка верха крепления откоса; 6 - подстилающий слой из щебня и гравия; 7 - плиты сборные железобетонные; 8 - температурно-усадочный шов; 9 - плиты железобетонные монолитные; 10 - конструктивные швы; РГВ - расчетный горизонт воды; b - ширина плиты

Рис. 68. Укрепление подтопляемых откосов асфальтобетонными плитами
1 - призма упорная каменная; 2 - облегченное крепление из гравия; 3 - щебеночная подготовка толщиной 0,15 м; 4 - асфальтобетонные плиты размером 3,9 ´ 2,9 ´ 0,1 м; РГВ - расчетный горизонт воды
Применение геотекстилей в конструкциях дорожных сооружений
2.218. Характеристики геотекстилей (нетканых синтетических материалов), применяющихся в дорожном строительстве, приведены в прил. 15.
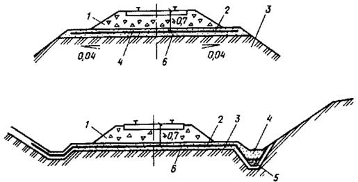
2.219. Геотекстиль следует укладывать на глинистые грунты основной площадки земляного полотна, спланированной в обе стороны от оси пути с уклоном не менее 0,04 ‰. Материал размещают по всей ширине основной площадки земляного полотна. Минимальная толщина балластного слоя (песчаная подушка, щебень или асбестовый балласт) поверх геотекстиля должна быть не менее 0,3 м (рис. 69, а).
При необходимости геотекстилем укрепляют откосы и дно кюветов или лотков. Кювет засыпают песчаным или другим дренирующим грунтом (рис. 69, б).
2.220. Геотекстиль применяют в конструкциях глубоких лотков при устройстве оснований водоотводных труб в качестве противосуффозионных материалов (рис. 70). В местах выноса мелких фракций грунта укладывают геотекстиль, который пригружают дренирующим грунтом толщиной 0,05 - 0,1 м, при опасности размыва грунта потоком воды, поступающей из водоотводной трубы; на участке выхода ее на поверхность устраивают каменную наброску.

Рис. 69. Конструкции насыпи и выемки на увлажненных грунтах основной площадки и кюветов с укладкой геотекстиля
1 - балластный слой; 2 - геотекстиль; 3 - грунт земляного полотна; 4 - песок; 5 - дренирующий грунт в канаве; 6 - выравнивающий слой песка толщиной 0,15 м
Рис. 70. Противосуффузионные мероприятия с применением геотекстиля
а - укрепление откоса выемки и кювета от выноса песка из напорного водоносного горизонта; б - укрепление дна водоотводной трубы от размыва и суффозии из песчаного водоносного слоя; 1 - геотекстиль; 2 - балластный слой; 3 - глинистый грунт; 4 - песчаный водоносный слой; 5 - каменная наброска; ГГВ - горизонт грунтовых вод
Рис. 71. Конструкции защиты откосов от размыва водой при периодическом их затоплении
а - из железобетонных плит с песчаным подстилающим слоем; б - с прослойкой из геотекстиля; 1 - железобетонные плиты; 2 - выравнивающий слой из щебня; 3 - подстилающий слой из щебня толщиной 0,2 - 0,3 м; 4 - геотекстиль; 5 - каменная наброска; УВВ - уровень высоких вод
Рис. 72. Схема конструкции откоса для защиты от размыва при постоянном затоплении
а - из каменной наброски и фашин; б - с применением геотекстиля, прикрытого гибким ковром из плит; 1 - железобетонные плиты толщиной 0,07 - 0,1 м; 2 - выравнивающий слой из щебня толщиной 0,1 - 0,15 м; 3 - подстилающий слой из песка 0,2 - 0,3 м; 4 - каменная наброска; 5 - фашины; 6 - геотекстиль; 7 - гибкий ковер из плит; 8 - выравнивающий песчаный слой; 9 - поверхность откоса после размыва; 10 - намывной слой песка; УВВ - уровень высоких вод; УМВ - уровень меженных вод
2.221. Геотекстиль следует применять в конструкциях земляного полотна, сооружаемого на слабых грунтах (торфяных, илах, заторфованных и водонасыщенных грунтах, а также на марях). Это позволяет обеспечить равномерную осадку основания насыпей, предупреждение их расползания и выпучивания грунтов в стороны.
Геотекстиль можно применять на болотах I типа без выторфовывания.
2.222. Геотекстиль следует применять в конструкциях земляного полотна, сооружаемого на вечномерзлых грунтах, в том числе марях. Это позволяет сохранять мохово-растительный покров, а главное - вести отсыпку насыпей в любое время года с использованием переувлажненных глинистых грунтов в основании насыпей высотой до 1 м. Геотекстиль также применяется на нулевых местах, сложенных высокотемпературными грунтами зоны вечной мерзлоты без замены их на дренирующий слой согласно прил. 15.
2.223. На участках курумов, осыпей и крупнообломочного материала, распространенных в зоне вечной мерзлоты, геотекстиль укладывают на основной площадке земляного полотна по выровненному слою песка толщиной 0,1 - 0,15 м, а затем отсыпают балластный слой. Геотекстиль позволяет сохранять под насыпями, на расчетной глубине, новообразованную мерзлоту.
2.224. Геотекстиль следует применять при укреплении откосов, насыпей, дамб, контрбанкетов с подъемом и спадом уровня воды вместо обратного фильтра, укладываемого выше уровня грунтовых вод (рис. 71).
2.225. Для защиты постоянно затопляемых откосов насыпей и естественных склонов следует проектировать каменные наброски, фашины, габионы (рис. 72, а), а при отсутствии в районе строительства указанных материалов можно использовать геотекстиль, прикрываемый сверху гибким ковром из плит (рис. 72, б).
Конструкции дренажей
2.226. Для понижения, перехвата и отвода грунтовых вод от земляного полотна следует проектировать дренажи. Их конструкция и расположение в плане принимаются на основе гидрогеологического обследования и технико-экономического сравнения вариантов в зависимости от размеров водопритока, глубины залегания грунтовых вод, сезонного промерзания грунтов, рельефа местности и размеров земляного полотна.
Наименование дренажей, их назначение (область применения) приведены в табл. 23, а конструкции - на рис. 73.
2.227. Дренаж проектируют на основе данных инженерно-геологического обследования при наличии сведений: о гранулометрическом составе водоносного горизонта; коэффициенте фильтрации; высоте капиллярного поднятия грунта и угла внутреннего трения; данных о глубине сезонного промерзания грунтов; сведений о режиме грунтовой воды и ее агрессивности по отношению к бетону и металлу.
2.228. Уклон дна дренажа должен быть постоянным или увеличивающимся к низовой его части. Переломы продольного профиля дренажа допускаются в смотровых колодцах. Продольные уклоны подкюветных и закюветных дренажей принимаются равными уклону пути, при этом оптимальный уклон ‰; в трудных рельефных условиях - 2 ‰ и в исключительных случаях - 1 ‰. Скорости течения воды в дренажных трубах должны быть менее 1 м/с.
2.229. При залегании горизонта грунтовых вод на глубинах до 2 м перехватывать и отводить их следует открытыми лотками и канавами, на участках с круглогодичным потоком грунтовых вод - закрытыми лотками. На участках с размываемыми грунтами необходимо предусматривать обратный фильтр за стенками лотков.
При залегании грунтовых вод на глубинах более 2 м следует проектировать дренажи, галереи и колодцы. При этом дренажи должны быть предназначены для защиты земляного полотна под несколькими путями и параллельно расположенными автодорогами с учетом единой дренажной сети, проектируемой для промышленной площадки в целом или ее части, а также с существующей сетью канализации, которая может быть использована для выпуска в нее воды из дренажей.



Рис. 73. Схемы конструкции дренажей
1 - депрессионная кривая; 2 - водоупорный слой из глины; 3 - суглинок; 4 - железобетонный лоток; 5 - дренаж; 6 - балластный мешок; 7 - прислоненный дренаж; 8 - контрфорсный дренаж; 9 - шпуровой дренаж в скальных грунтах; 10 - застенный дренаж с обратным фильтром; 11 - берма; 12 - канава; 13 - галерея; 14 - оползень; 15 - штольня; 16 - поглощающий колодец; ГГВ - горизонт грунтовых вод
Таблица 23
|
Вид дренажа |
Номер схемы |
Назначение и область применения дренажа |
|
Горизонтальный траншейный несовершенный дренаж |
III |
Предназначается для понижения уровня грунтовых вод на заданную глубину с целью осушения грунтов основания земляного полотна. Применяется в выемках в качестве подкюветных и закюветных дренажей |
|
То же, совершенный |
IV |
Служит для перехвата водоносного горизонта, залегающего на глубинах до 3 - 5 м. Устраивается на откосах выемок и косогорах |
|
Подкюветный совершенный дренаж |
V |
Применяется в грунтах с Кф > 0,5 м/сут, в том числе в сезонно-промерзающих пучинистых. Устраивают в выемках глубиной до 6 м и длиной до м |
|
Дренаж мелкого заложения |
VI |
Предназначен для обеспечения поверхностного водоотвода из выемок с кюветами, заполненными старыми балластными материалами. Служит для отвода воды от стрелочных переводов и станционных путей |
|
Бескюветный несовершенный дренаж |
VII |
Устраивают в водопроницаемых слабых грунтах, в районах с неглубоким сезонным промерзанием. Позволяет повысить несущую способность основной площадки |
|
Поперечная осушительная прорезь |
VIII |
Служит для выпуска воды из балластных мешков, гнезд и лож и устраивается в виде глубоких поперечных прорезей |
|
Присыпной (прислоненный) дренаж |
IX |
Проектируется с целью сбора и отвода воды из водоносного пласта или рассеянных источников |
|
Откосный контрфорсный дренаж |
X |
Служит для осушения грунтов (чаще насыпей) и закрепления неустойчивых земляных масс на откосе выемки |
|
Откосные скважинные (шпуровые) дренажи в выемке |
XI |
Предназначены для сбора и отвода рассеянных выходов воды на откосах выемки |
|
Застенный дренаж |
XII |
Служит для поддержания сооружения, применяется для закрепления неустойчивых откосов |
|
Галерея проходная |
XIII |
Применяется для перехвата подземных вод на больших глубинах, в случаях, когда устройство открытой траншеи нецелесообразно |
|
Штольня |
XIV |
Служит для перехвата грунтовых вод, залегающих на больших глубинах, когда проходка дренажных траншей затруднительна |
|
Поглощающий колодец |
XV |
Различают скважинные или шахтные поглощающие колодцы. Предназначены для сбора воды из одного или нескольких водоносных горизонтов и сбора ее в нижележащие пласты с хорошей поглощающей способностью |
|
Из за большого объема этот материал размещен на нескольких страницах:
1 2 3 4 |











