Крыши. Назначение конструкций. Нагрузки и воздействия. Типы и конструкции крыш. Водоотвод с покрытий.
В проектировании покрытий приняты следующие определения:
сборная железобетонная крыша — верхняя ограждающая конструкция здания для защиты помещений от атмосферных воздействий. Крыши могут быть чердачные и бесчердачные.
Чердачные крыши устраивают с холодным или теплым чердаком.
Чердак — объем, ограниченный покрытием, фризовыми стенами и чердачным перекрытием.
Покрытие — верхняя ограждающая конструкция, одновременно выполняющая несущие, гидроизолирующие, а при бесчердачных (совмещенных) крышах и при теплых чердаках также теплоизолирующие функции.
Кровля — верхний элемент покрытия, защищающий здание от атмосферных осадков.
Защитный слой — элемент кровли, предохраняющий гидроизоляционный ковер от механических повреждений, непосредственного воздействия атмосферных факторов и солнечной радиации.
Скат — наклонная поверхность кровли.
Конек — верхнее горизонтальное ребро крыши, образующее водораздел.
Водосборный лоток — элемент чердачном крыши для сбора и удаления дождевых и талых вод.
Ендова — место пересечения скатов крыши, по которому стекает вода.
Сборные железобетонные крыши классифицируют по следующим основным признакам:
по конструктивному решению — чердачные крыши (с холодным или теплым чердаком) и бесчердачные крыши (покрытия или совмещенные крыши);
по материалу кровли — из рулонных материалов и железобетонных кровельных панелей с гидроизоляцией мастичными или окрасочными составами (безрулонные кровли);
по способу изготовления — крыши из крупных панелей индустриального изготовления и крыши построечного выполнения.
Сборные железобетонные крыши следует устраивать следующих типов:
I. Чердачные крыши с кровлей из рулонных материалов.
II. Чердачные крыши с кровельными панелями и гидроизоляцией мастичными или окрасочными составами (безрулонная кровля).
III. Бесчердачные крыши (покрытия) из однослойных панелей, выполненных из легких или ячеистых бетонов.
IV. Бесчердачные крыши из многослойных комплексных панелей, состоящих из двух железобетонных панелей с применением эффективного теплоизоляционного материала между ними.
V. Бесчердачные крыши с несущими панелями из тяжелого бетона с укладкой по ним утепляющих панелей или плит из эффективных материалов.
VI. Бесчердачные крыши построечного выполнения многослойной конструкции с засыпным утеплителем и стяжкой под кровлю из рулонных материалов.
Уклоны крыш, ендов и водосборных лотков следует назначать в зависимости от их конструкции (табл. 1).
Таблица 1
|
Тип крыши |
Конструкция крыши |
Уклон, % |
|
I |
Чердачные крыши с кровлей из рулонных материалов |
2 |
|
II |
Чердачные крыши с кровельными панелями и гидроизоляцией мастичными или окрасочными составами (безрулонная кровля) |
5 |
|
Водосборные лотки |
3 | |
|
III, IV, V |
Бесчердачные крыши (покрытия) из однослойных и многослойных комплексных панелей, а также с несущими панелями из тяжелого железобетона с укладкой по ним утепляющих панелей из легких или ячеистых бетонов или плит из эффективных теплоизоляционных материалов |
1,5*; 2 |
|
IV |
Бесчердачные крыши (покрытия) построечного выполнения с засыпным или мелкоблочным теплоизоляционным материалом и стяжкой под кроплю из рулонных материалов |
2,5*; 3 |
Примечания: 1. В конструкциях крыш типа I допускается применять водосборные лотки без уклона.
2. В конструкциях крыш типов I, III, IV, V ендовы допускается выполнять без уклонов.
3. В конструкциях крыш типа VI уклон ендовы следует устраивать не менее 2 %.
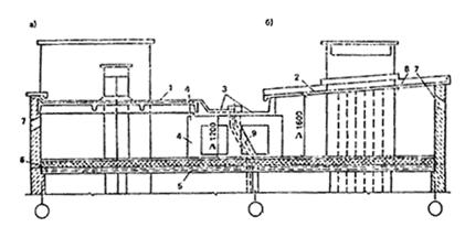
В крыше с холодным чердаком (рис. 1) внутреннее пространство вентилируется наружным воздухом через отверстия в стенах, площадь сечения которых при железобетонном покрытии должна быть не менее: в I и II климатических районах — 1/500, в III и IV — 1/50 площади перекрытия. В крыше с открытым чердаком площадь вентиляционных отверстий в стенах определяется теплотехническим расчетом по зимним и летним условиям эксплуатации.

Рис. 1. Схема крыши с холодным чердаком
а — покрытие с рулонной кровлей; б ¾ покрытие с безрулонной кровлей
1 — железобетонная кровельная панель под рулонную кровлю; 2 — железобетонная кровельная панель с безрулонной кровлей; 3 — железобетонный водосборный лоток; 4 — опорная панель; 5 — панели перекрытия; 6 — слой утеплителя с защитным слоем; 7 — приточно-вытяжные отверстия в стенах; 8 — блок вентиляционных каналов; 9 — утепленный патрубок внутреннего водостока
При скатной кровле из штучных материалов чердачное пространство вентилируется через зазоры между его листами, поэтому в I и II климатических районах вентиляционные отверстия допускается уменьшать до 0,01.
При крыше с холодным открытым чердаком (рис. 2) теплоизоляция укладывается по плитам чердачного перекрытия. Теплоизоляционный слой по периметру чердака на ширину не менее 1 м рекомендуется защищать от увлажнения. Вентиляционные шахты и вытяжки канализационных стояков при холодном чердаке должны быть утеплены выше чердачного перекрытия.

Рис. 2. Схема крыши с открытым чердаком
а — покрытие с рулонной кровлей; б — покрытие с безрулонной кровлей
1 — железобетонная кровельная панель под рулонную кровлю; 2 — железобетонная кровельная панель с безрулонной кровлей; 3 — железобетонный водосборный лоток; 4 — панели перекрытия; 5 ¾ опорная панель; 6 — оголовок вентиляционного блока; 7 — вытяжная вентиляционная шахта; 8 — вентилирующее отверстие в наружной стене; 9 — слой утеплителя с защитным слоем; 10 — утепленный патрубок внутреннего водостока
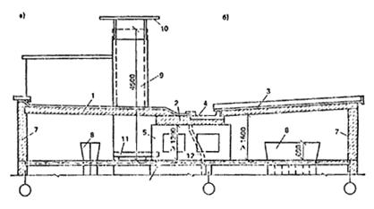
В крыше с теплым чердаком (рис. 3) чердачное пространство, имеющее утепленные фризовые наружные стены и утепленное кровельное покрытие, обогревается теплым воздухом, который поступает из вытяжной вентиляции дома. Для удаления воздуха из чердачного пространства следует предусматривать вытяжные шахты по одной на каждую секцию. Чердачное пространство следует по секционно разделять стенами на изолированные отсеки. Дверные проемы в стенах, обеспечивающие сквозной проход по чердаку, должны иметь уплотненные притворы. Для защиты вытяжных вентиляционных шахт от атмосферных осадков при холодном чердаке рекомендуется устанавливать над ними защитные зонты.

Рис. 3. Схема крыши с теплым чердаком
а — покрытие с рулонной кровлей; б — покрытие с безрулонной кровлей
1 — легкобетонная панель покрытия под рулонную кровлю; 2 — то же, лотка; 3 — двухслойная панель покрытия с безрулонной кровлей; 4 — то же, лотка; 5 — опорная панель; 6 — панели перекрытия; 7 — сплошные наружные стены; 8 — оголовок вентиляционного блока; 9 — вытяжная вентиляционная шахта; 10 — защитный зонт; 11 ¾ водосборный поддон; 12 — внутренний водосток
Крыши с холодным чердаком разрешается применяй в жилых зданиях любой этажности. Крыши с теплым чердаком рекомендуется применять в зданиях высотой 9 и более этажей.
Вентиляционные блоки с каналами, проходящими через чердак с выпуском воздуха наружу, должны быть выше уровня покрытия не менее чем на 0,7 м (при уклоне кровли до 10 %).
В крышах с выбросом вентилируемого воздуха в чердачное пространство, выполняющее функции вентиляционной камеры статического давления, вытяжка осуществляется через вытяжные шахты, а при крышах с открытым чердаком — также вентилирующие отверстия в фризовых стенах.
Железобетонное покрытие чердачной крыши состоит из скатных плит, образующих наклонные поверхности для стока атмосферных вод, и лотковых плит, служащих для сбора и отвода атмосферных вод в систему внутреннего водостока.
Ширину открытой части лотковых плит рекомендуется принимать не менее 0,9 м, а расстояние между ее низом и чердачным перекрытием не менее 1,2 м.
При крышах с внутренним водостоком водосточные воронки рекомендуется устанавливать в лотковых плитах покрытия не менее одной на каждую секцию. Водосточные стояки и патрубки в пределах холодного чердака следует утеплять. В малоэтажных зданиях при наружном неорганизованном водостоке (в зданиях высотой 1 — 2 этажа) необходимо здание размещать с отступом от красной линии на 2 м, с установкой козырьков над входами и балконами.
Железобетонные элементы чердачного покрытия (кровельные плиты и плиты лотков) рекомендуется проектировать с опиранием по двум сторонам. Применение неразрезных конструкций не рекомендуется.
Кровельные плиты рекомендуется опирать на наружные стены и лотковые плиты, располагаемые вдоль средней оси здания. При наружных не несущих стенах в плоскости наружных стен рекомендуется предусматривать установку железобетонных балок, опертых на несущие поперечные стены жилых этажей.
Принятая схема опирания сборных элементов покрытия должна обеспечивать свободу температурных деформаций покрытия или его частей. При этом следует обеспечивать устойчивость конструкций кровли.
Конструктивные элементы покрытия:
Места пропуска через кровлю труб должны быть выполнены с применением стальных патрубков с фланцами (или железобетонных стаканов) и герметизацией кровли в этом месте. Места пропуска анкеров также должны быть загерметизированы, для чего устанавливается рамка из уголков, которая ограничивает растекание мастики, а пространство между рамкой и патрубком или анкером заполняется герметизирующей мастикой (рис. 4).
Рис. 4. Пропуск анкера через водоизоляционный ковер
1 - сборная железобетонная плита покрытия; 2 - пароизоляция (по расчету); 3 - теплоизоляция; 4 - выравнивающая стяжка; 5 - основной водоизоляционный ковер; 6 - защитный слой; 7 - рамка из уголка; 8 - герметизирующая мастика; 9 - анкер
3.4.5. В местах пропуска через кровлю воронок внутреннего водостока слои водоизоляционного ковра должны на 150 мм перекрывать водоприемную чашу, которая закрепляется к плитам покрытия хомутом с резиновым уплотнителем; водоприемную чашу рекомендуется опирать на утеплитель из легкого бетона (рис. 5).
Рис. 5. Воронка внутреннего водостока
1 - сборная железобетонная плита покрытия: 2 - пароизоляция (по расчету); 3 - теплоизоляция; 4 - выравнивающая стяжка; 5 - основной водоизоляционный ковер; 6 - дополнительный водоизоляционный ковер; 7 - защитный слой; 8 - колпак водоприемной воронки; 9 - легкий бетон выравнивающего слоя ендовы; 10 - водоприемная чаша; 11 - уплотнитель
3.4.6. В деформационном шве с металлическим компенсатором перед устройством водоизоляционного ковра на компенсатор должен быть наклеен сжимаемый утеплитель, например, из минеральной ваты и на него уложена выкружка из оцинкованной кровельной стали, кромки которой опираются на бетонные бортики, а на выкружку насухо укладывается стеклоткань и заводится водоизоляционный ковер (рис. 6).
Рис. 6. Деформационный шов в покрытии
1 - сборная железобетонная плита покрытия; 2 - пароизоляция; 3 - теплоизоляция; 4 - выравнивающая стяжка; 5 - основной водоизоляционный ковер; 6 - рулонный водоизоляционный материал, уложенный насухо; 7 - стеклоткань: 8 - оцинкованная кровельная сталь; 9 - компенсатор; 10 - утеплитель (минеральная вата); 11 - бортик из легкого бетона;
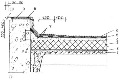
3.4.7. В местах примыкания кровли к парапетам высотой до 450 мм слои дополнительного водоизоляционного ковра должны быть заведены на верхнюю грань парапета с обделкой мест примыкания оцинкованной кровельной сталью и закреплением ее при помощи костылей (рис. 7).
При высоте парапета до 200 мм переходной наклонный бортик рекомендуется выполнять из бетона до верха парапета.
Рис. 7. Примыкание кровли к парапету высотой до 450 мм
1 - сборная железобетонная плита покрытия; 2 - пароизоляция (по расчету); 3 - теплоизоляция; 4 - выравнивающая стяжка; 5 - основной водоизоляционный ковер; 6 - защитный слой; 7 - дополнительный водоизоляционный ковер; 8 - дюбели; 9 - костыли 40´4 через 600 мм; 10 - оцинкованная кровельная сталь; 11 - стена
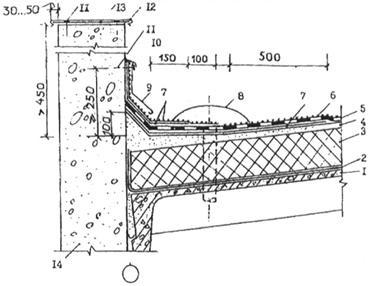
3.4.8. При устройстве кровли в покрытиях с высоким (более 450 мм) парапетом защитный фартук должен быть закреплен пристрелкой дюбелями, а верхняя часть парапета отделана кровельной сталью, закрепляемой костылями (рис. 8) или покрыта парапетными плитками с герметизацией швов между ними.
Рис. 8. Примыкание кровли к парапету высотой более 450 мм
1 - сборная железобетонная плита покрытия; 2 - пароизоляция (по расчету); 3 - теплоизоляция; 4 - выравнивающая стяжка; 5 - основной водоизоляционный ковер; 6 - защитный слой; 7 - дополнительный водоизоляционный ковер; 8 - воронка внутреннего водостока; 9 - фартук; 10 - герметизирующая мастика; 11 - дюбели; 12 - оцинкованная кровельная сталь; 13 - костыли 40´4 через 600 мм, 14 - стена
3.4.9. Конек кровли при уклонах 3 % и более должен быть усилен на ширину мм с каждой стороны, а ендова - на ширину мм (от линии перегиба) одним слоем дополнительного водоизоляционного ковра, который может быть выполнен из рулонного материала (при рулонных кровлях), приклеенного к основанию по продольным кромкам или из мастики с одной армирующей прокладкой в мастичных кровлях (рис. 9и10).
Рис. 9. Конек кровли
1 - железобетонная плита покрытия; 2 - пароизоляция; 3 - теплоизоляция; 4 - цементно-песчаная стяжка; 5 - основной водоизоляционный ковер; 6 - защитный слой; 7 - дополнительный водоизоляционный ковер;
Рис. 10. Ендова кровли
1 - железобетонная плита покрытия; 2 - пароизоляция; 3 - теплоизоляция; 4 - цементно-песчаная стяжка; 5 - дополнительный водоизоляционный ковер; 6 - основной водоизоляционный ковер; 7 - защитный слой; 8 - воронка внутреннего водостока
План раскладки плит и лотков в покрытии и план кровли: (см. Auto….)










