ГОСУДАРСТВЕННЫЙ КОМИТЕТ РОССИЙСКОЙ ФЕДЕРАЦИИ ПО СТРОИТЕЛЬСТВУ И ЖИЛИЩНО-КОММУНАЛЬНОМУ КОМПЛЕКСУ
СИСТЕМА НОРМАТИВНЫХ ДОКУМЕНТОВ В СТРОИТЕЛЬСТВЕ
СВОД ПРАВИЛ ПО ПРОЕКТИРОВАНИЮ И СТРОИТЕЛЬСТВУ
СПРАВОЧНОЕ ПОСОБИЕ К СП 12-136-2002
РЕШЕНИЯ ПО ОХРАНЕ ТРУДА И ПРОМЫШЛЕННОЙ БЕЗОПАСНОСТИ В ПРОЕКТАХ ОРГАНИЗАЦИИ СТРОИТЕЛЬСТВА И ПРОЕКТАХ ПРОИЗВОДСТВА РАБОТ
Веден: 01.01.03
Изменения: 22.06.03
Содержание:
1 Решения по обеспечению безопасности работников и сторонних лиц, находящихся вблизи мест опасных зон, связанных с перемещением грузов кранами
2. Решения по обеспечению безопасности работников, находящихся вблизи перепада по высоте 1,3 М и более
3.Защитные ограждения, лестницы-стремянки, средства подмащивания и другое оборудование, обеспечивающее безопасность работ на высоте
1 Решения по обеспечению безопасности работников и сторонних лиц, находящихся вблизи мест опасных зон, связанных с перемещением грузов кранами
Согласно 4.8 СНиП 12-03 перед началом работ в условиях производственного риска необходимо выделить опасные для людей зоны, в которых действуют опасные производственные факторы. При организации стройплощадки и организации рабочих мест необходимо, чтобы места временного или постоянного нахождения работников располагались за пределами опасных зон (4.10 СНиП 12-03).
В соответствии с 4.9 СНиП 12-03 «места, над которыми происходит перемещение грузов кранами» относятся к потенциально опасным зонам.
Для определения границ указанных опасных зон необходимо в первую очередь определить границы возможной зоны обслуживания крана, которая определяется проекцией крюка крана на землю в крайних положениях стрелы крана при максимальном вылете груза, свободном повороте стрелы на 360° и перемещении крана на путях в пределах тупиковых упоров (рисунок 1).
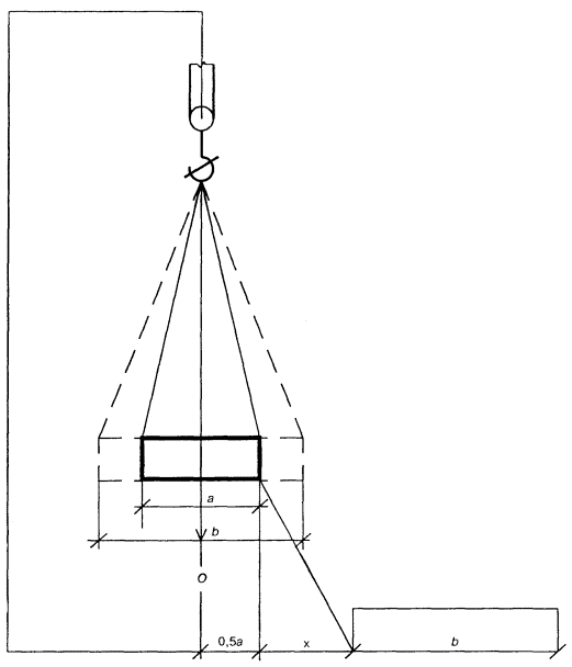
Границы опасной зоны находятся за пределами границы зоны обслуживания крана и определяются с учетом габаритов перемещаемого груза и высоты его подъема. Согласно приложению Г СНиП 12-03 границы опасной зоны определяются путем проекции наружного наименьшего габарита перемещаемого груза с прибавлением минимального расстояния отлета груза и максимального габарита перемещаемого груза (рисунок 2).
Как показывает практика, в местах работы грузоподъемных кранов значительная часть территории стройплощадки попадает в опасную зону, что вызывает затруднения размещения производственных и санитарно-бытовых зданий, мест отдыха и прохода людей за пределами опасных зон (6.1.4 СНиП 12-03).
В случаях, когда в опасные зоны вблизи мест перемещения грузов кранами попадают транспортные и пешеходные пути, санитарно-бытовые или производственные здания и сооружения, другие места постоянного или временного нахождения людей на территории строительной площадки или вблизи, согласно требованиям 6.1.5 СНиП 12-03 необходимо применять следующие решения:
применение средств для искусственного (принудительного) ограничения зоны работы башенных кранов;
применение защитных сооружений-укрытий и защитных экранов.
Принудительное ограничение зоны обслуживания башенным краном в простых ситуациях может осуществляться с помощью регулировки установленных на кране концевых выключателей, а также установки на крановых путях выключающих линеек.
При работе в сложных условиях рекомендуется применение «Системы ограничения зон работы башенного крана» (система СОЗР башенного крана), разработанной ЦНИИОМТП. Данные приводятся в Инструкции по применению СОЗР башенного крана в стесненных условиях (АОЗТ ЦНИИОМТП, 1998).
Система ограничивает возможную зону обслуживания крана, автоматически блокируя (отключая) соответствующие приводы крана (поворота стрелы, перемещения крана по пути, вылета и подъема груза) при приближении опасной зоны к зоне нахождения людей - запретной зоне.
С помощью сигналов датчиков в блоке управления Системы постоянно фиксируется поступающая информация о месторасположении крана, угле поворота стрелы, вылете груза и высоте подъема крюка, которая сопоставляется с заложенными в блок параметров стройплощадки ограничениями. При приближении груза к запретной зоне блок управления выдает сигнал для блокировки соответствующего привода крана.
Применение средств для принудительного ограничения зоны работы башенного крана позволяет значительно сократить размеры зоны обслуживания крана и соответственно связанных с зоной обслуживания опасных зон. Однако в отдельных случаях возникает необходимость в дополнение к этому сокращения размеров опасных зон.
Примером этому может служить пристройка здания к существующему, когда строящееся здание имеет высоту большую, чем существующее. В этом случае нельзя допустить, чтобы груз перемещался над перекрытием эксплуатируемого здания. Для этого на перекрытии эксплуатируемого здания собирается защитный экран в виде стоечных лесов, высота которого должна превышать высоту монтажного горизонта и препятствовать выходу груза за контуры строящегося здания.
На рисунках 3 и 4 приводится пример применения рассмотренных выше решений при возведении девятиэтажного здания административного назначения, расположенного между двумя жилыми зданиями разной высоты.

1 - ограждение строительной площадки; 2 - санитарно-бытовые помещения; 3 - граница зоны, опасной для нахождения людей во время перемещения грузов; 4 - граница зоны обслуживания краном; 5 - башенный кран
Рисунок 1 - Определение границ зон при работе башенных кранов

О - граница зоны обслуживания краном;
a - наименьший габарит перемещаемого груза;
b - наибольший габарит перемещаемого груза;
х - минимальное расстояние отлета груза согласно таблице Г.1 приложения Г СНиП 12-03
Рисунок 2 - Определение границы опасной зоны перемещаемого краном груза

1 - граница зоны обслуживания краном; 2 - граница опасной зоны от действия крана; 3 - зона складирования грузов; 4 - площадка приема раствора и бетонной смеси; 5 - стоянка транспорта под разгрузкой; 6 - место хранения грузозахватных приспособлений и тары; 7 - линия ограничения зоны обслуживания; 8 - линия предупреждения об ограничении зоны обслуживания; 9 - стенд схем строповок; 10 - шкаф электропитания крана; 11 - контрольный груз; 12 - ограждение крановых путей; 13 - временный забор; 14 - навес над входом в здание; 15 - пешеходная дорожка; 16 - граница опасной зоны от строящегося здания; 17 - знак, предупреждающий о работе с пояснительной табличкой; 18 - пункт мойки колес автотранспорта
* - стоянка крана в нерабочее время;
a - угол принудительного ограничения поворота стрелы;
a1 - угол привязки ограничения к оси пути
Рисунок 3 - Возведение девятиэтажного здания административного назначения, расположенного между двумя жилыми зданиями разной высоты
Примечания
1 Главным условием строительства примыкающих зданий без отселения людей или остановки производства в существующих зданиях является исключение возможности образования опасных зон в местах нахождения людей (в том числе при максимальных высоте или вылете стрелы) за счет разработки соответствующих технологических мероприятий (принудительное ограничение поворота стрелы, вылета или высоты подъема, устройство защитных ограждений, а также других мероприятий).
2 Над зданием
груз не может перемещаться, так как максимальная высота перемещения груза ниже высоты стен этого здания.
3 Оконные проемы зданий
и
, попадающие в опасную зону, должны быть закрыты защитными ограждениями.
4 Монтаж и перемещение конструкций в 7-метровой зоне у прилегающих зданий производится под руководством лица, ответственного за безопасное производство работ кранами, все работы в зоне примыкания выполняются по наряду-допуску на производство работ повышенной опасности.
За семь метров (размер от габарита груза) от примыкающих зданий груз должен быть опущен на высоту 0,5 м от встречающихся на пути препятствий при последующем перемещении и успокоен от раскачивания, а дальнейшее горизонтальное перемещение должно производиться на минимальной скорости с удерживанием его от разворота оттяжками.
5 Перемещение стрелы в сторону здания
должно быть принудительно ограничено. Стрела не должна доводиться до примыкающего здания на 2 м.
6 Со стороны здания
должно быть установлено защитное ограждение из элементов трубчатых лесов на высоту не менее 3 м выше монтажного горизонта, а перемещение груза должно быть принудительно ограничено на высоте не менее чем на 0,5 м ниже верха защитного ограждения.
7 При необходимости, когда стрела не доводится на 2 м до примыкающего здания и может образовываться участок мертвой зоны у здания, работы на этом участке должны выполняться вручную.
8 Разрез I - I смотри на рисунке 4.

Рисунок 4 - Разрез I - I
2 Решения по обеспечению безопасности работников, находящихся вблизи перепада по высоте 1,3 М и более
Специфика работ в строительстве такова, что значительная часть рабочих мест располагается вблизи перепада по высоте 1,3 м и более. Как показывает практика, производственная опасность напрямую связана с отсутствием средств защиты, которые предназначены «для предотвращения или уменьшения воздействия на работников вредных и (или) опасных производственных факторов» (Трудовой кодекс Российской Федерации), без применения которых в отдельных случаях стараются обойтись.
|
Из за большого объема этот материал размещен на нескольких страницах:
1 2 3 |



