В процессе освоения пласта ПК1-7 была проведена запись КВД. Затем осуществлялось последующее освоение скважины на четырёх режимах при рабочих давлениях от 1,5 до 5 МПа. В результате был получен промышленный приток нефти.
В Западно-Сибирской нефтегазоносной провинции на многих месторождениях присутствуют продуктивные пласты с АВПД в нижнемеловых и юрских отложениях. Следует отметить, что традиционные способы вызова притока и исследования из низкопроницаемых коллекторов, как правило, были малоэффективны. Поэтому потребовались новые технологии, позволяющие проводить более качественное освоение и исследование объектов с АВПД.
Первые опытные работы по испытанию пластов с АВПД с помощью струйных насосов были проведены на скважине № 000 Уренгойского месторождения в 1990 г. В процессе освоения скважины с помощью струйного аппарата при депрессии на пласт 40,0 МПа был получен дебит нефти 9,0 м3/сут (при начальном дебите 0,123 м3/сут). В результате работ была доказана промышленная нефтеносность отложений тюменской свиты.
Автором в Уренгойском и Пуровском нефтегазоносных районах осваивались и исследовались скважины Р-72 и Р-90 Пальниковской площади, а также скважины Д-1 и Р-2 Центрально-Таркосалинского лицензионного участка, где с применением разработанной технологии освоения скважин, получено повышение достоверности определения фильтрационных характеристик продуктивных пластов.
В третьем разделе представлены разработанные автором технологии и новые технические устройства для освоения скважин типа УЭИП-1 (патент РФ № 000), УЭИП-3М (патент РФ № 000) и НУ-74 (патент РФ № 000), которые являются устройствами принципиально новых конструкций. Основной отличительной особенностью таких устройств является их универсальность.
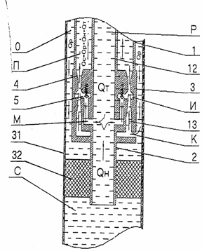
Например, с помощью устройства НУ-74 (рис.1) возможно проведение процесса освоения скважин при вскрытии пластов перфорацией без подъема инструмента, проведение физико-химических методов воздействия на ПЗП и водоизоляционных работ, а также выполнение качественных гидродинамических и геофизических исследований многопластовых залежей с целью вовлечения их в совместную или раздельную разработку. Данное устройство содержит: корпус 3, струйные насосы обратной схемы циркуляции рабочей жидкости 4, обратные клапаны 5, включают рабочие сопла 13, камеры смешения и диффузоры 14. Обратные клапаны 5 устанавливаются в каналы Ж корпуса устройства 3. Коаксиальный кольцевой канал И корпуса устройства 3 является общей приемной камерой, в которой последовательно эксцентрично расположены струйные насосы 4 и обратные клапаны 5.
|
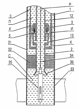
Устройство спускают в эксплуатационную колонну 31 (рис. 2) на насосно-компрессорных трубах 1 совместно с пакером 32 и устанавливают на расчетной глубине. Проверяется герметичность спущенных в скважину НКТ 1 и пакера 32.
|
|
а) | б) |
Рисунок 2 – Схема работы насоса НУ-74 при освоении и исследовании скважин
а) при нагнетании жидкости; б) при остановке насосного агрегата
Затем в скважину спускается центральный ряд насосно-компрессорных труб 12. Проверку герметичности центрального ряда насосно-компрессорных труб 12 осуществляют плавным созданием давления в кольцевом пространстве П между насосно-компрессорными трубами 1 и 12. Затем насосным агрегатом с поверхности создается расчетное давление в трубном Р и кольцевом пространстве П, соответствующее величине срывного усилия тарированной опрессовочной заглушки 25.
Для проведения геофизических и гидродинамических исследований скважины через устьевой лубрикатор в трубное пространство центрального ряда насосно-компрессорных труб 12 в интервал перфорации продуктивного пласта 33 на геофизическом кабеле 34 спускают глубинную регистрирующую аппаратуру 35.
С помощью наземного агрегата рабочая жидкость c расходом Qp подается в затрубное пространство О между эксплуатационной колонной 31 и насосно-компрессорными трубами 1 к струйным насосам 4 устройства 3 (рис.2).
Рабочая жидкость с расходом Qp прокачивается через затрубное пространство О, рабочую камеру К струйных насосов 4, сопла 13, приемную камеру И, камеру смешения и диффузоры 14 в кольцевое пространство П между насосно-компрессорными трубами 1 и 12, и затем поступает на поверхность.
При работе струйных насосов 4 обратные клапаны 5 из-за разности давлений в приемных каналах М и И находятся открытыми в верхнем положении. В это время через трубное пространство П насосно-компрессорных труб 12 за счет откачивания жидкости струйными насосами создаётся депрессия на пласт, в результате которой в подпакерное пространство С, трубное пространство Р через внутренние радиальные каналы М и приемную камеру И начинает поступать и откачиваться на поверхность струйными насосами пластовый флюид с расходом Qн.
В процессе освоения с помощью геофизической регистрирующей аппаратуры осуществляется оперативный контроль, определяются работающие и неработающие толщины продуктивного пласта, состав флюида, термометрия, дебитометрия и т. д. При этом можно оперативно влиять на процесс освоения скважины, изменяя величины депрессий на пласт, время их воздействия, темпов снижения забойного давления, уровня жидкости, достигая тем самым подключения в работу дополнительных пропластков и нефтенасыщенных зон продуктивного горизонта.
При прекращении работы наземного агрегата клапаны 5 закрываются, герметизируя подпакерную зону С, трубное пространство Р от затрубного О и межтрубного П пространств. Одновременно перемещая глубинные приборы, осуществляют регистрацию температуры в интервале пласта, фазовые составляющие притока, границы раздела «газ-нефть-вода» по высоте, запись КВД, величины и скорости изменения уровня жидкости в скважине, а также осуществляют отбор герметизированной пробы пластового флюида и т. д. С целью определения фильтрационно-емкостных свойств (ФЕС) продуктивного пласта возможно применение различных комплексов геофизических и гидродинамических методов исследования скважин.
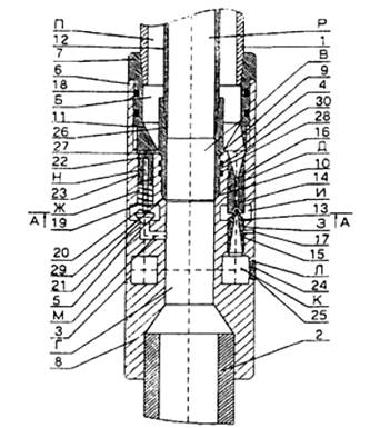
Геофизические и гидродинамические исследования скважин в процессе циклического воздействия скважинной эжектирующей жидкости через межтрубное П пространство с помощью струйных насосов 4 устройства 3 могут повторяться многократно до получения необходимой геологопромысловой информации о строении объекта и его коллекторских свойствах.
Устройство позволяет совмещать повторную перфорацию и обработку пласта химическими методами.
Для повышения эффективности очистки прискважинной зоны пласта от загрязняющих материалов с помощью устройства возможно использование вибрационных, акустических, тепловых, электромагнитных и других методов. Обработка интервалов пласта генератором совмещается с процессом освоения и эжектирования скважинной жидкости (Qт+Qн). В данном случае забойное давление снижается, а при остановках наземного насосного агрегата – увеличивается. В случае, если продуктивный пласт обводнён, то с помощью разработанного устройства можно осуществлять водоизоляционные работы.
При этом в каждом конкретном случае анализируется объем геологопромысловой информации, полученной при исследовании скважины в процессе освоения. По результатам исследований скважины определяются границы источника обводнения и его фильтрационные характеристики.
Разработанная технология освоения и исследования двух и более пластов прошла промышленные испытания в 2007 г. на скважине № 000 Вань-Еганского месторождения. Были исследованы дебиты жидкости на трех режимах. Проведены геофизические исследования профиля притока с регистрацией механическим расходомером как в точечном, так и при непрерывном режимах. Комплексная интерпретация данных расходометрии, влагометрии и резистиметрии позволила распределить добычу нефти и воды по разрабатываемым объектам. В результате было установлено, что на пласт БВ6 приходится лишь 22 % добычи, а характер притока – вода с дебитом 13,2 м3/сут без признаков нефти. При этом пласт БВ5 обеспечивал 78 % добычи, c общим дебитом водонефтяной смеси (41,8 м3/сут), с дебитом по добываемой нефти 4,4 м3/сут. В результате были построены индикаторные диаграммы и определены коэффициенты продуктивности как по скважине в целом, так и по пластам и виду флюида. При этом были уточнены текущие значения пластовых давлений по пластам, которые составили: для объекта БВ5 – 19,08 МПа, а для БВ6 – 18,0 МПа.
В результате было доказано, что разработанные технологии имеют следующие преимущества и позволяют:
- сократить в 2-3 раза сроки освоения скважин и исследования продуктивных пластов за счет уменьшения количества спуско-подъемных операций с НКТ;
- значительно повысить качество получаемой геолого-промысловой информации за счет совместного использования одного комплекса геофизических приборов и сократить время исследования скважины в 2 раза;
- осуществлять отбор глубинных «герметизированных» проб пластового флюида в скважине;
- проводить необходимый комплекс мероприятий по вторичному вскрытию пластов гидропескоструйной перфорацией, а также перфораторами, спускаемыми на кабеле через разработанные устройства УВОИС - 1, УЭИП - 3;
- осуществлять интенсификацию притоков нефти физико-химическими методами.
При этом на практике было доказано, что устройство НУ-74 позволяет производить освоение и исследование двух пластов и более.
В четвёртом разделе приведены результаты освоения и гидродинамических исследований скважин с помощью разработанных струйных аппаратов, вскрывших слабосцементированные коллектора и низкопроницаемые продуктивные пласты с АВПД.
|
Из за большого объема этот материал размещен на нескольких страницах:
1 2 3 4 |



Рисунок 1-Схема устройства НУ-74

