Штангенциркуль по ГОСТ 166.
Формы для изготовления контрольных образцов бетона типа ФП по ГОСТ 22685 размерами, указанными на рисунке 12, и реперами, изготовленными в соответствии с рисунком 13 из коррозионно-стойкой нержавеющей стали по ГОСТ 5632.
Стержень контрольный для измерения деформаций длиной, равной длине образца, из коррозионно-стойкой нержавеющей стали по ГОСТ 5632.
Устройство для измерения деформаций образцов, состоящее из штатива по ГОСТ 10197 и индикатора, обеспечивающего измерение линейных размеров с точностью ±0,01 мм, по ГОСТ 577.
Емкость с крышкой размером 300х200х70 мм и два стержня размером 10х10х200 мм, изготовленные из коррозионно-стойкой нержавеющей стали по ГОСТ 5632 или винипласта по ГОСТ 9639.
Вода дистиллированная по ГОСТ 6709.
Натрия гидроокись (гидроксид натрия) по ГОСТ 4328.

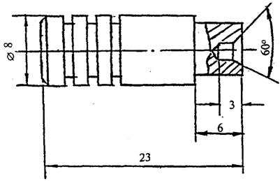
1 — форма; 2 — боковые стенки формы; 3 — торцевая стенка формы; 4 — репер;
5 — стопорный винт для крепления репера; 6 — держатель репера
Рисунок 12 — Форма для изготовления образцов-балочек

Рисунок 13 — Репер для испытаний
4.22.3.2 Порядок подготовки к испытанию
Пробу портландцемента марки не ниже 400 с содержанием минеральных добавок не более 5 % по массе (ПЦД0, ПЦД5) отбирают по ГОСТ 30515 и подготавливают к испытанию по ГОСТ 310.1. Портландцемент должен выдерживать испытание на равномерность изменения объема по ГОСТ 310.3.
Пробу горной породы, щебня (гравия) массой не менее 5 кг отбирают в соответствии с требованиями действующих нормативных документов или раздела 4.2 настоящего стандарта. Отобранную пробу породы промывают и высушивают. Из щебня (гравия) высевают фракцию 5—10 мм, крупные фракции измельчают до фракции 5—10 мм. Методом квартования полученную пробу сокращают до 3 кг и вторично измельчают, просеивают через набор стандартных сит по ГОСТ 8735 и отбирают пробу массой 1000 г, при этом соотношение фракций, % по массе, должно быть:
10 — от 5 до 2,5 мм;
25 — от 2,5 до 1,25 мм;
25 — от 1,25 до 0,63 мм;
25 — от 0,63 до 0,315 мм;
15 — от 0,315 до 0,16 мм.
Испытания проводят на образцах-балочках размером 25х25х254 мм, изготовленных из мелкозернистых бетонных смесей состава — цемент: измельченный заполнитель в соотношении 1:2,25 по массе. Расплыв конуса при испытании на встряхивающем столике по ГОСТ 310.4 должен составить 106—115 мм. Количество воды затворения определяют предварительным подбором.
Взвешивают 440 г цемента и 900 г измельченного заполнителя. В сферическую чашу заливают всю воду затворения, высыпают взвешенный цемент, перемешивают лопаткой цемент с водой в течение 30 с, добавляют взвешенный измельченный заполнитель и перемешивают смесь в течение 60 с.
Смесь оставляют на 90 с в чаше, накрыв чашу стеклом, затем еще раз перемешивают в течение 15 с. Определяют расплыв конуса. Если он меньше указанного, допускается однократное добавление воды.
Внутреннюю поверхность форм для образцов (рисунок 12) смазывают тонким слоем минерального масла, устанавливают реперы (рисунок 13) и закрепляют их стопорными винтами.
По окончании перемешивания заполняют форму с реперами бетонной смесью в два приема и отформовывают три образца. Смесь тщательно штыкуют вокруг реперов деревянной штыковкой, а затем уплотняют на встряхивающем столике 30 ударами и снимают излишки смеси металлической линейкой или ножом.
Форму с образцами закрывают стеклом на резиновых прокладках и помещают над водой в ванну с гидравлическим затвором.
Температура хранения образцов в ванне (20±5) °С. Через (24±1) ч форму извлекают из ванны и расформовывают образцы.
4.22.3.3 Порядок проведения испытания
В емкость для испытаний на расстоянии 200 мм по ширине устанавливают стержни, на которые на расстоянии не менее 15 мм друг от друга укладывают расформованные образцы. В емкость с образцами наливают дистиллированную воду так, чтобы уровень воды в емкости был не менее чем на 20 мм выше верха образцов.
Емкость с образцами и водой закрывают крышкой и на (24±1) ч помещают в электропечь с регулятором поддержания температуры (80±1) °С. Через указанное время емкость с образцами извлекают из электропечи. Образцы вынимают из емкости, помещают каждый образец в полиэтиленовый пакет для охлаждения до температуры (20±5) °С, но не менее чем на 4 ч.
Перед проведением испытания устройство для измерения деформаций необходимо отрегулировать по длине контрольного стержня. Неизменность первоначального отсчета по индикатору проверяют установкой и измерением длины контрольного стержня перед началом, в процессе испытания и после его окончания. Отклонение в отсчете по индикатору не должно превышать ±0,01 мм. При большем отклонении следует отрегулировать устройство.
Образец, установленный в устройство для измерения деформации, поворачивают вокруг оси на один оборот и снимают начальный отсчет по индикатору. Измерение повторяют три раза. Записывают среднеарифметическое трех измерений.
Из емкости для испытаний после извлечения из нее образцов сливают дистиллированную воду и емкость заливают 1М раствором гидроксида натрия. Для приготовления раствора берут 40 г гидроксида натрия, растворяют в 900 мл дистиллированной воды и доводят объем раствора до 1 л.
Образцы укладывают в емкость для испытаний, уровень раствора гидроксида натрия над образцами должен быть на 20 мм выше верха образцов.
Емкость с образцами закрывают крышкой и на (24±1) ч помещают в электропечь с регулятором поддержания температуры (80±1) °С. По истечении указанного времени образцы извлекают из электропечи и помещают каждый образец в полиэтиленовый пакет для охлаждения до температуры (20±5) °С, но не менее чем на 4 ч. При работе с горячей щелочью используют индивидуальные средства защиты.
Величину деформации образца определяют путем измерения длины контрольного стержня и образца до и после выдержки его в растворе гидроксида натрия.
Измерения проводят ежедневно в одно и то же время суток, при этом необходимо получить одиннадцать измерений деформаций.
4.22.3.4 Обработка результатов испытания
Относительную деформацию каждого образца e, %, определяют по формуле
, (47)
где lt — отсчет по индикатору после испытания в 1М растворе гидроксида натрия на момент испытания т, мм;
l0 — начальный отсчет по индикатору после испытания в дистиллированной воде, мм;
l — база измерения, равная 254 мм.
Среднее относительное удлинение образцов s определяют по формуле
, (48)
где
— относительная деформация первого, второго и третьего образцов.
Горная порода, щебень (гравий) считаются нереакционноспособными по отношению к щелочам, если в процессе испытаний величина деформации расширения образцов в растворе гидроксида натрия менее 0,1 %, при условии, что последний (одиннадцатый) результат испытания отличается от трех предшествующих результатов измерений не более чем на 15 %. Если деформации превышают указанные значения, то горная порода, щебень (гравий) считаются потенциально реакционноспособными со щелочами и возможность использования их в качестве заполнителей для бетона определяются испытанием образцов бетона.
4.22.4 Метод испытании образцов бетона
Метод основан на определении в установленные сроки (в течение одного года) относительных деформаций образцов бетона, изготовленных на заполнителях, полученных из горной породы или щебня (гравия), содержащих растворимый кремнезем более 50 ммоль/л, портландцементе с заданным составом и природном нереакционноспособном песке с модулем крупности Мк свыше 2,0 до 2,5.
4.22.4.1 Средства контроля и вспомогательное оборудование
Средства контроля и вспомогательное оборудование — по 4.22.3.1 со следующими дополнениями:
формы ФП размером 70х70х280 мм по ГОСТ 22685;
виброплощадка лабораторная с частотой колебаний (2900±100) колебаний/мин и амплитудой (0,5±0,05) мм;
контейнер герметичный с крышкой для испытания образцов бетона;
сита по 4.3.2;
стержень контрольный длиной (280±1) мм из коррозионно-стойкой стали по ГОСТ 5632.
4.22.4.2 Порядок подготовки к испытанию
Пробу портландцемента марки не ниже 400 с содержанием минеральных добавок не более 5 % по массе (ПЦД0, ПЦД5) отбирают по ГОСТ 30515. Содержание прочих добавок допускается в количестве не более 1 % по массе. Портландцемент должен выдерживать испытание на равномерность изменения объема по ГОСТ 310.3. Если содержание щелочей в цементе в пересчете на Na2O менее 1,5 %, то при изготовлении бетонной смеси в воду затворения следует добавлять NaOH в количестве, обеспечивающем общее содержание щелочей 1,5 % массы цемента.
Пробы песка и исследуемого крупного заполнителя промывают и высушивают до постоянной массы. Крупный заполнитель измельчают до крупности 20 мм и просеивают. В исследуемом крупном заполнителе содержание фракций, % по массе, должно быть:
40 — для фракции св. 5 до 10 мм;
60 — » » св. 10 до 20 мм.
Испытания проводят на образцах-балочках размером 70х70х280 мм. Состав бетонной смеси для изготовления образцов-балочек назначается по массе и должен составлять 1:1,4:2,6. Подвижность бетонной смеси, определяемая осадкой конуса, не должна превышать 2—4 см. Не допускается введение в воду затворения воздухововлекающих или газообразующих добавок.
Для каждого испытания готовят 3 образца-балочки. Перед укладкой бетонной смеси формы покрывают тонким слоем минерального масла. После смазки устанавливают реперы из нержавеющей стали так, чтобы предупредить попадание масла на поверхность репера, и закрепляют их стопорными винтами.
Для предупреждения вытекания раствора места сопряжения поддона и боковых стенок формы должны быть покрыты смесью парафина и канифоли, взятых в соотношении 3:5 по массе, предварительно подогретой до температуры 110—120 °С.
Бетонную смесь приготавливают путем перемешивания составляющих в порядке, принятом при изготовлении образцов для определения прочности бетона.
Сразу после окончания перемешивания формы заполняют бетонной смесью в два приема, тщательно укладывая ее в углах формы и вокруг реперов. Затем бетонную смесь уплотняют на виброплощадке, поверхность образца выравнивают со стенками формы, после чего формы немедленно помещают в ванну с гидравлическим затвором.
Через (48±2) ч образцы извлекают из форм и помещают над водой в герметически закрывающийся контейнер. В контейнере образцы устанавливают в вертикальном положении на 2—3 см над водой таким образом, чтобы давление образца не передавалось на репер.
Контейнер с образцами помещают на (32±2) ч в электропечь с регулятором поддержания температуры (38±1) °С.
Первые измерения производят через (96±2) ч после изготовления образцов.
За (16±2) ч до первого замера контейнер переносят из электропечи в помещение для остывания до комнатной температуры.
Последующие замеры проводят ежемесячно в один и тот же день в течение 12 мес. с момента изготовления образцов. Между замерами образцы хранят в контейнере в электропечи с температурой (38±1) °С.
За (16±2) ч до очередного замера контейнер переносят из электропечи в помещение для остывания до комнатной температуры.
4.22.4.3 Обработка результатов испытания
После каждого измерения определяют относительное удлинение ei, %, каждого образца по формуле
, (49)
где lобр — длина образца, мм;
lк — длина контрольного стержня (280±1), мм. Среднее относительное удлинение образцов каждого испытания определяют по формуле
, (50)
Если относительное удлинение eср образцов каждого испытания не превышает 0,04 %, испытание проводят в течение года, каждый раз сравнивая полученный результат с предыдущим.
Горная порода, щебень (гравий) относят к нереакционноспособным, если последнее (двенадцатое) значение относительного удлинения не превышает 0,04 %.
Если относительное удлинение превышает указанное значение, применение таких заполнителей в бетоне допускается после проведения специальных исследований с учетом условий эксплуатации сооружений и при условии проведения мероприятий, предупреждающих развитие коррозии бетона.
4.23 ОПРЕДЕЛЕНИЕ УСТОЙЧИВОСТИ СТРУКТУРЫ ЩЕБНЯ (ГРАВИЯ) ПРОТИВ РАСПАДОВ
Устойчивость структуры щебня (гравия) против всех видов распада определяют путем выдерживания щебня (гравия) в дистиллированной воде в течение 30 сут (сульфидный и железистый распады) и последующего испытания в автоклаве в среде насыщенного пара (силикатный и известковый распады).
(Измененная редакция, Изм. № 1)
4.23.1 Средства контроля и вспомогательное оборудование
Весы по ГОСТ 24104 с погрешностью взвешивания ±0,0002 г;
Шкаф сушильный;
Автоклав на 200 кПа (2 ати);
Набор сит с отверстиями диаметром 5, 10, 20 и 40 мм;
Емкость для погружения проб щебня в дистиллированную воду;
Щетка металлическая;
Мешочки из плотной ткани или формы из оцинкованной жести с круглыми отверстиями диаметром не более 3 мм.
4.23.2 Порядок подготовки к испытанию
Из лабораторных проб щебня (гравия) фракций от 5 до 10 мм, св. 10 до 20 мм и св. 20 до 40 мм отбирают аналитические пробы массой по 5 кг — для первых двух фракций, 7 кг — для третьей фракции. Пробы очищают щеткой от рыхлых частиц и пыли, промывают и высушивают до постоянной массы.
Для проведения испытания отбирают по 2 лабораторные пробы массой по 2 кг каждая для щебня (гравия) фракций от 5 до 10 мм и св. 10 до 20 мм и массой по 3 кг — для фракции св. 20 до 40 мм.
4.23.3 Порядок проведения испытания
Подготовленные пробы щебня (гравия) помещают в мешочки или формы и погружают в емкость с дистиллированной водой на 30 сут.
По истечении указанного срока пробы высушивают до постоянной массы.
Высушенные пробы помещают в формы (без мешочков) и ставят в автоклав. В течение 30 мин давление в автоклаве постепенно поднимают до 200 кПа (2 ати). При этом давлении щебень (гравий) выдерживают 6 ч, после чего давление в течение 20 мин постепенно снижают до атмосферного.
Пробы щебня (гравия) вынимают из автоклава, каждую в отдельности промывают, высушивают до постоянной массы, просеивают через сито с отверстиями диаметром, соответствующим нижнему размеру испытываемой фракции. Остаток на сите взвешивают.
Испытание в автоклаве может быть заменено пропариванием в сосуде с закрывающейся крышкой. Высушенную пробу помещают в сосуд над слоем воды высотой 20—30 мм. Сосуд закрывают крышкой и ставят на электроплитку. С момента закипания воды в сосуде щебень (гравий) пропаривают в течение 3 ч. Затем щебень (гравий) извлекают из сосуда, помещают на 3 ч в ванну с водой комнатной температуры. Попеременное пропаривание и охлаждение до комнатной температуры повторяют три раза. После окончания испытания пробы щебня (гравия) высушивают до постоянной массы и просеивают через сито с отверстиями диаметром, соответствующим нижнему размеру испытываемой фракции. Остаток на сите взвешивают.
4.23.4 Обработка результатов испытания
Потерю массы данной фракции Dm, %, определяют по формуле
(51)
где т1 — масса пробы до испытания, г;
m2 — масса пробы после испытания, г.
За результат принимают среднеарифметическое двух параллельных определений.
Потерю массы Dmсм, %, щебня (гравия), состоящего из смеси нескольких фракций, определяют по формуле
, (52)
где n — число фракций;
Dm — потеря массы данной фракции, определенная по формуле (51), % по массе;
х — содержание данной фракции, % по массе.
4.24 ОПРЕДЕЛЕНИЕ СОДЕРЖАНИЯ СВОБОДНОГО ВОЛОКНА АСБЕСТА В ЩЕБНЕ ИЗ ОТХОДОВ АСБЕСТОСОДЕРЖАЩИХ ПОРОД
Содержание свободного волокна асбеста в щебне из отходов асбестосодержащих пород определяют на фракции крупностью от 5(3) до 20 мм путем отбора из пробы щебня свободных волокон асбеста.
(Измененная редакция, Изм. № 1)
4.24.1 Средства контроля и вспомогательное оборудование
Весы настольные циферблатные по ГОСТ 29329.
Сита с размером отверстий 5, 3 и 0,5 мм.
Щетка волосяная.
Пинцет.
4.24.2 Порядок проведения испытания
Пробу щебня массой не менее 25 кг, высушенную до постоянной массы, просеивают через сито с размером отверстий 5(3) мм. Материал, прошедший через сито, взвешивают (m2) и отбирают из него две навески массой по 0,2 кг (m3).
Каждую навеску просеивают через сито с размером отверстий 0,5 мм и очищают зерна от гали и пыли волосяной щеткой, вручную с помощью пинцета отбирают волокна асбеста. Выделенное свободное волокно взвешивают с точностью до 0,1 (m1).
(Измененная редакция, Изм. № 1)
4.24.3 Обработка результатов испытания
Содержание в щебне, %, определяют по формуле
, (53)
где m1 — масса волокон асбеста, извлеченных из навески щебня, кг;
m2 — масса щебня, прошедшего через сито 5(3) мм, кг;
m3 — масса навески щебня, кг (0,2 кг);
т — масса навески щебня (не менее 25,0), кг.
За результат принимают среднеарифметическое значение содержания асбеста в щебне, полученное по двум навескам.
(Измененная редакция, Изм. № 1)
4.25 ОПРЕДЕЛЕНИЕ СОДЕРЖАНИЯ СЛАБЫХ ЗЕРЕН И ПРИМЕСЕЙ МЕТАЛЛА В ЩЕБНЕ ИЗ ШЛАКОВ ЧЕРНОЙ И ЦВЕТНОЙ МЕТАЛЛУРГИИ
Сущность метода заключается в выделении из щебня примесей металла и слабых зерен шлака.
4.25.1 Средства контроля и вспомогательное оборудование
Весы лабораторные общего назначения по ГОСТ 24104.
Шкаф сушильный.
Сита с отверстиями диаметром 5, 10, 20, 40 и 70 мм.
Магнит.
Молоток столярный типа МСТ-1 по ГОСТ 11042.
4.25.2 Порядок подготовки и проведения испытания
Щебень рассеивают на ситах на фракции. От каждой фракции отбирают навеску массой, указанной в таблице 9.
Таблица 9
Размер фракции, мм | 5-10 | 10-20 | 20-40 | 40-70 | св. 70 |
Масса навески, кг, не менее | 0,5 | 1,0 | 5,0 | 15,0 | 35,0 |
Проводят разборку навески каждой фракции, выделяя сначала с помощью магнита включения металла, затем слабые зерна шлакового щебня и примесей (бой огнеупорного кирпича, флюса и др.). К слабым относят зерна, легко разламывающиеся руками и разрушающиеся легким ударом молотка (предел прочности при сжатии в водонасыщенном состоянии менее 20 МПа).
4.25.3 Обработка результатов испытания
Выделенные из пробы слабые зерна и примеси (включения металла) взвешивают и определяют их содержание Xi %, по формуле
, (54)
где mi — масса слабых зерен и примесей (включений металла), кг;
т — общая масса навески, кг.
Содержание слабых зерен, примесей и включений металла вычисляют как среднеарифметическое результатов трех определений.
При испытании щебня, состоящего из смеси фракций, содержание слабых зерен и включений металла определяют в соответствии с 4.1.7.
4.26 ОПРЕДЕЛЕНИЕ АКТИВНОСТИ ШЛАКОВ
Сущность метода заключается в определении активности шлаков по значению предела прочности при сжатии образцов в водонасыщенном состоянии в возрасте 28 сут.
4.26.1 Средства контроля и вспомогательное оборудование
Мельница шаровая лабораторная, вибромельница или барабан с металлическими шарами.
Прибор для определения удельной поверхности типа ПСХ.
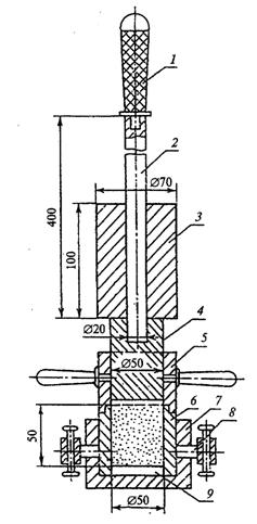
Прибор малый Союздорнии для стандартного уплотнения (рисунок 14).
Пресс гидравлический с усилием от 50 до 500 кН.
Шкаф сушильный.
Мешалка лабораторная для приготовления шлакового теста.
Весы лабораторные общего назначения по ГОСТ 24104 или настольные циферблатные по ГОСТ 29329.
Сито с отверстиями размером 0,071 мм по ГОСТ 6613.
Чаша сферическая фарфоровая или металлическая для затворения.
Ванна с гидравлическим затвором для хранения образцов по ГОСТ 310.3.
Мастерок или лопатка для перемешивания по ГОСТ 310.3.

1 — рукоятка; 2 — направляющий стержень; 3 — гиря; 4 — плунжер; 5 — направляющий насадный цилиндр; 6— разъемный цилиндр; 7— подстаканник; 8— закрепляющие винты;
9 — металлическая пластинка
Рисунок 14 — Малый прибор Союздорнии для стандартного уплотнения
4.26.2 Порядок подготовки и проведения испытания
Аналитическую пробу шлакового щебня массой 5 кг высушивают до постоянной массы и размалывают в шаровой мельнице, вибромельнице или барабане с металлическими шарами так, чтобы остаток на сите с размером отверстий 0,071 мм был не более 6—10 % или удельная поверхность была равна (3000±100) см2/г. Удельная поверхность определяется в приборе ПСХ в соответствии с ГОСТ 310.3. Размолотый шлак выдерживают в воздушно-сухих условиях в течение 1 сут.
Активность шлака определяют на образцах-цилиндрах, изготовленных из шлакового теста максимальной плотности при оптимальном количестве добавляемой воды. Максимальную плотность шлакового теста устанавливают путем подбора.
Навеску размолотого шлака массой 720—750 г помещают в чашу, предварительно протертую влажной тканью, добавляют воду в количестве 6—8 % массы шлака и тщательно перемешивают мастерком в течение 5 мин. Из приготовленной смеси отбирают контрольную навеску, взвешивают, высушивают до постоянной массы при температуре (110±5) °С, охлаждают и вновь взвешивают, затем по формуле (41) определяют фактическую влажность.
Из приготовленной смеси в малом приборе Союздорнии для стандартного уплотнения формуют 3 образца диаметром и высотой 50 мм. Образцы уплотняют 40 ударами гири массой 2,5 кг, падающей с высоты 30 см. После уплотнения плунжер и насадку осторожно снимают, тщательно срезают ножом излишки шлакового теста. Сразу после изготовления образцы освобождают от формы и взвешивают с погрешностью до 0,1 г. Подготовку шлакового теста, изготовление серии образцов и взвешивание повторяют несколько раз, каждый раз увеличивая количество воды на 2 %. Воду прекращают добавлять после получения средней плотности образцов, значение которой закономерно снижается с каждым последующим определением.
Для определения оптимальной влажности и максимальной плотности для каждой серии образцов (различной влажности) определяют среднюю плотность образца gоб, г/см3, по формуле
, (55)
где W — фактическая влажность смеси, % массы сухого молотого шлака;
gср — средняя плотность образцов, г/см3, определяемая по формуле
, (56)
где n — число образцов;
mi — масса образца данной серии при данной влажности, г;
V — объем образцов, см3.
По результатам определений строят график, откладывая по оси ординат значения средней плотности образцов gоб, а по оси абсцисс — фактическую влажность. Наивысшая точка полученной кривой соответствует оптимальной влажности и максимальной плотности образцов.
Для определения прочности образцы изготавливают из шлакового теста с оптимальной влажностью и максимальной плотностью. Для этого в молотый шлак вводят воду в количестве, соответствующем оптимальной влажности и максимальной плотности, перемешивают в течение 2,5 мин в лабораторной мешалке. При отсутствии мешалки шлак с водой перемешивают мастерком или лопаткой в сферической чаше в течение 10 мин.
Из шлаковой смеси (3 кг) изготавливают по указанной выше методике при помощи малого прибора Союздорнии для стандартного уплотнения 10 образцов-цилиндров высотой и диаметром 50 мм. Допускается уплотнять образцы на прессе при давлении 20 МПа (200 кгс/см2), обеспечивающем плотность образца, равную плотности, получаемой на приборе стандартного уплотнения с выдержкой в течение 3 мин. Отклонение фактической влажности смеси от оптимальной допускается до ±0,5 %.
Образцы хранят 7 сут на воздухе при температуре (18—20) °С, после чего измеряют размеры образцов штангенциркулем, помещают их на 18 сут в камеру с влажностью не менее 95 %, затем в течение 2 сут насыщают водой комнатной температуры, при этом уровень воды над образцами должен быть не менее 2 см.
Насыщенные водой образцы испытывают в возрасте 28 сут на гидравлическом прессе, повышая давление на 0,3—0,5 МПа (3—5 кгс/см2) в секунду до разрушения образцов.
4.26.3 Обработка результатов испытания
Предел прочности образца sсж, МПа, определяют с точностью до 0,1 МПа (1 кгс/см2) по формуле
, (57)
где Р — разрушающее усилие пресса, Н (кгс);
F — площадь поперечного сечения образца, см2. За показатель активности шлаков принимают предел прочности при сжатии, вычисленный как среднеарифметическое результатов испытания десяти образцов.
Примечание — Допускается определение активности производить на образцах, изготовленных из смеси с водошлаковыми отношениями 0,12; 0,14 и 0,16. Из каждой смеси готовят 10 образцов.
За показатель активности в этом случае принимают наибольшее значение из трех средних пределов прочности при сжатии 10 образцов.
4.27 ОПРЕДЕЛЕНИЕ ЭЛЕКТРОИЗОЛЯЦИОННЫХ СВОЙСТВ ЩЕБНЯ ДЛЯ БАЛЛАСТНОГО СЛОЯ ЖЕЛЕЗНОДОРОЖНОГО ПУТИ
Электроизоляционные свойства щебня определяют по удельной электрической проводимости насыщенного раствора, получаемого при перемешивании размельченного щебня с дистиллированной водой.
4.27.1 Средства контроля и вспомогательное оборудование
Амперметр переменного тока класса 1,0 со шкалой до 300 мА по ГОСТ 8711.
Вольтметр переменного тока класса 1,0 со шкалой до 50 В по ГОСТ 8711.
Трансформатор лабораторный регулировочный 250 В Х2А (ЛАТР).
Трансформатор разделительный 220/24 В.
Куб измерительный, изготовленный из изолирующего материала (органического стекла) с внутренними размерами сторон 50х50х50 мм.
Электроды размером 50х50х1 мм в количестве 2 шт.
Сито с отверстиями размером 3 мм.
Шкаф сушильный.
Весы настольные циферблатные по ГОСТ 29329 или лабораторные по ГОСТ 24104.
Сосуд цилиндрический оцинкованный или пластмассовый без меток объемом 10 л.
Сосуд цилиндрический с двумя метками (поясами) на внутренней стенке, соответствующими объему 3,5 и 4 л.
Сосуд для выпаривания раствора с двумя метками, соответствующими объему 0,2 и 2 л.
Воронка.
Штыковка деревянная.
(Измененная редакция, Изм. № 1)
4.27.2 Порядок подготовки к испытанию
Пробу щебня массой 6 кг измельчают в лабораторной дробилке и просеивают через сито с отверстиями размером 3 мм.
Прошедшую через сито измельченную пробу засыпают в цилиндрический сосуд до отметки 4 л равномерными слоями, уплотняя деревянной штыковкой каждый слой до постоянного объема.
Отмеренный объем измельченной пробы высыпают в цилиндрический оцинкованный сосуд объемом 10 л, заливают 3,5 л дистиллированной воды и тщательно перемешивают.
Перемешивание и определение электрической проводимости раствора производят в измерительном кубе до тех пор, пока его электрическая проводимость не стабилизируется. Постоянная электрическая проводимость раствора свидетельствует о том, что раствор стал насыщенным.
Насыщенный раствор объемом 2 л наливают в сосуд для выпаривания и выпаривают его до объема 0,2 л. Охлаждают раствор до комнатной температуры, выливают в измерительный куб и определяют электрическую проводимость.
4.27.3 Порядок проведения испытания
Электроды зачищают до блеска и устанавливают на двух противоположных боковых стенках измерительного куба. Куб промывают дистиллированной водой и наливают в него полученный насыщенный раствор, электрическую проводимость которого необходимо определить. Уровень раствора должен совпадать с верхними краями электродов. Выводы электродов подключают к измерительной схеме (рисунок 15).

1 — лабораторный регулировочный трансформатор (ЛАТР); 2 — электрод;
3 — измерительный куб
Рисунок 15 — Измерительная схема
Вращением рукоятки лабораторного регулировочного трансформатора устанавливают напряжение между электродами 5—10 В и измеряют ток, протекающий через измерительный куб при одном и том же напряжении между электродами.
4.27.4 Обработка результатов испытаний
Электрическую проводимость S, См, определяют по формуле
, (58)
где I — сила тока при фиксированном напряжении. А;
U — напряжение между электродами, В.
Для получения значений удельной электрической проводимости раствора необходимо вычисленные по формуле (58) значения электрической проводимости умножить на постоянный для измерительного куба коэффициент 20.
Щебень пригоден для балластного слоя железнодорожного пути, если удельная электрическая проводимость не превышает значений:
0,06 См/м в насыщенном растворе, образующемся от растворения щебня (водная вытяжка) в дистиллированной воде;
0,35 См/м в выпаренном до 0,2 л насыщенном растворе.
За результат принимают среднеарифметическое значение трех параллельных определений.
(Измененная редакция, Изм. № 1)
ПРИЛОЖЕНИЕ А
(справочное)
ОБЛАСТЬ ПРИМЕНЕНИЯ ФИЗИКО-МЕХАНИЧЕСКИХ ИСПЫТАНИЙ
1
Область применения | ||||
Наименование испытаний | Приемочный контроль на предприятии (карьере) изготовителе | Определение свойств горных пород и получаемых из них | Входной контроль на предприятии- | |
ежедневный | периодический | щебня и гравия при геологической разведке | потребителе | |
Определение зернового состава щебня (гравия) | + | — | + | + |
Определение содержания дробленых зерен в щебне из гравия | — | + | — | + |
Определение содержания в щебне (гравии) пылевидных и глинистых частиц | + | — | + | + |
Определение содержания в щебне (гравии) глины в комках | + | — | + | + |
Определение содержания в щебне (гравии) зерен пластинчатой (лещадной) и игловатой формы | — | + | + | + |
Определение дробимости щебня (гравия) при сжатии (раздавливании) в цилиндре | — | + | + | — |
Определение содержания в щебне (гравии) зерен слабых пород | — | + | + | — |
Определение истираемости щебня (гравия) в полочном барабане | — | + | + | — |
Определение сопротивления щебня (гравия) удару на копре ПМ | — | + | + | — |
Определение морозостойкости щебня (гравия) | — | + | + | — |
Определение минералого-петрографического состава щебня (гравия) | — | — | + | — |
Определение наличия органических примесей в щебне (гравии) | — | + | + | — |
Определение истинной плотности горной породы и зерен щебня (гравия) | — | — | + | — |
Определение средней плотности и пористости горной породы и зерен щебня (гравия) | — | — | + | + |
Определение насыпной плотности и пустотности щебня (гравия) | — | + | — | + |
Определение водопоглощения горной породы и щебня (гравия) | — | + | + | — |
Определение влажности щебня (гравия) | — | + | — | + |
Определение предела прочности при сжатии горной породы | — | — | + | + |
Определение показателя снижения прочности горной породы при насыщении водой | — | — | + | + |
Определение реакционной способности горной породы, щебня и гравия: | ||||
а) минералого-петрографический метод | — | — | + | — |
б) химический метод | — | По требованию потребителей | + | + |
в) ускоренный метод | — | То же | — | + |
г) метод непосредственных испытаний образцов бетона | + | + | ||
Определение устойчивости структуры против распада щебня (гравия) из попутно добываемых пород и отходов промышленного производства | — | + | + | — |
Определение содержания свободного волокна асбеста в щебне из отходов асбестосодержащих пород | — | + | + | — |
Определение содержания слабых зерен и примесей металла в щебне из шлаков черной и цветной металлургии | — | + | — | + |
Определение активности шлаков | — | + | — | |
Определение электроизоляционных свойств щебня для балластного слоя железнодорожного пути | — | + | + | — |
Примечания 1 «+» означает, что испытания проводят; «—» — не проводят. 2 Испытания при входном контроле проводят при наличии требований по этому показателю в технологической документации. |
ПРИЛОЖЕНИЕ Б
(информационное)
НОРМАТИВНЫЕ ССЫЛКИ
В настоящем стандарте использованы ссылки на следующие нормативные документы:
ГОСТ 8.326—89 ГСИ. Метрологическая аттестация средств измерений
ГОСТ 8.513—84 ГСИ. Поверка средств измерений. Организация и порядок проведения
ГОСТ 166—89 Штангенциркули. Технические условия
ГОСТ 195—77 Натрий сернистокислый. Технические условия
ГОСТ 310.1—76 Цементы. Методы испытаний. Общие положения
ГОСТ 310.3—76 Цементы. Методы определения нормальной густоты, сроков схватывания и равномерности изменения объема
ГОСТ 310.4—81 Цементы. Методы определения предела прочности при изгибе и сжатии
ГОСТ 450—77 Кальций хлористый технический. Технические условия
ГОСТ 577—68 Индикаторы часового типа с ценой деления 0,01 мм. Технические условия
ГОСТ 1277—75 Серебро азотнокислое. Технические условия
ГОСТ 1770—74 Посуда мерная лабораторная стеклянная. Цилиндры, мензурки, колбы, пробирки. Технические условия
ГОСТ 2184—77 Кислота серная техническая. Технические условия
ГОСТ 3118—77 Кислота соляная. Технические условия
ГОСТ 3749—77 Угольники поверочные 90 °С. Технические условия
ГОСТ 3765—78 Аммоний молибденовокислый. Технические условия
ГОСТ 4166—76 Натрий сернокислый. Технические условия
ГОСТ 4171—76 Натрия сульфат 10-водный. Технические условия
ГОСТ 4214—78 Кислота кремниевая водная. Технические условия
ГОСТ 4328—77 Натрия гидроокись. Технические условия
ГОСТ 4461—77 Кислота азотная. Технические условия
ГОСТ 5632—72 Стали высоколегированные и сплавы коррозионно-стойкие, жаростойкие и жаропрочные. Марки
ГОСТ 5817—77 Кислота винная. Технические условия
ГОСТ 6563—75 Изделия технические из благородных металлов и сплавов. Технические условия
ГОСТ 6613—86 Сетки проволочные тканые с квадратными ячейками. Технические условия
ГОСТ 6709—72 Вода дистиллированная. Технические условия
ГОСТ 7172—76 Калий пиросернокислый
ГОСТ 8030—80 Иглы для шитья вручную. Технические условия
ГОСТ 8267—93 Щебень и гравий из плотных горных пород для строительных работ. Технические условия
ГОСТ 8269.1—97 Щебень и гравий из плотных горных пород и отходов промышленного производства для строительных работ. Методы химического анализа
ГОСТ 8711—93 Приборы аналоговые показывающие электроизмерительные прямого действия и вспомогательные части к ним. Часть 2. Особые требования к амперметрам и вольтметрам
ГОСТ 8735—88 Песок для строительных работ. Методы испытаний
ГОСТ 9147—80 Посуда и оборудование лабораторные фарфоровые. Технические условия
ГОСТ 9639—71 Листы из непластифицированного поливинилхлорида (винипласт листовой). Технические условия
ГОСТ 10110—87 Круги алмазные отрезные формы 1A1R. Технические условия
ГОСТ 10197—70 Стойки и штативы для измерительных головок. Технические условия
ГОСТ 11042—90 Молотки стальные строительные. Технические условия
ГОСТ 12026—76 Бумага фильтровальная лабораторная. Технические условия
ГОСТ 14838—78 Проволока из алюминия и алюминиевых сплавов для холодной высадки. Технические условия.
ГОСТ 19904—90 Прокат листовой холоднокатаный. Сортамент
ГОСТ 22524—77 Пикнометры стеклянные. Технические условия
ГОСТ 22685—89 Формы для изготовления контрольных образцов бетона. Технические условия
ГОСТ 22698—77 Красители органические. Основной фиолетовый К. Технические условия
ГОСТ 23732—79 Вода для бетонов и растворов. Технические условия
ГОСТ 23932—90 Посуда и оборудование лабораторные стеклянные. Общие технические условия
ГОСТ 24104—88 Весы лабораторные общего назначения и образцовые. Общие технические условия
ГОСТ 24555—81* Система государственных испытаний продукции. Порядок аттестации испытательного оборудования. Основные положения
______________
* На территории РФ действует ГОСТ Р 8.568-97.
(Измененная редакция, Изм. № 1)
ГОСТ 24638—85 Сверла алмазные кольцевые для железобетонных конструкций. Технические условия
ГОСТ 25336—82 Посуда и оборудование лабораторные стеклянные. Типы, основные параметры и размеры
ГОСТ 25706—83 Лупы. Типы, основные параметры. Общие технические требования
ГОСТ 28840—90 Машины для испытания материалов на растяжение, сжатие и изгиб. Общие технические требования
ГОСТ 28923—91 Регуляторы температуры, работающие без постороннего источника энергии. Общие технические требования и методы испытаний
ГОСТ 29227—91 Посуда лабораторная стеклянная. Пипетки градуированные. Часть 1. Общие требования
ГОСТ 29228—91 Посуда лабораторная стеклянная. Пипетки градуированные. Часть 2. Пипетки градуированные без установленного времени ожидания
ГОСТ 29329—92 Весы для статического взвешивания. Общие технические требования
ГОСТ 30515—97 Цементы. Общие технические условия.
Ключевые слова: щебень, гравий, горные породы, отходы промышленного производства, физико-механические испытания
СОДЕРЖАНИЕ
1 Область применения
2 Нормативные ссылки
3 Термины и определения
4 Методы физико-механических испытаний
4.1 Общие положения
4.2 Отбор проб
4.3 Определение зернового состава
4.4 Определение содержания дробленых зерен в щебне из гравия
4.5 Определение содержания пылевидных и глинистых частиц
4.6 Определение содержания глины в комках
4.7 Определение содержания зерен пластинчатой (лещадной) и игловатой форм
4.8 Определение дробимости
4.9 Определение содержания зерен слабых пород в щебне (гравии) и слабых разностей в горной породе
4.10 Определение истираемости в полочном барабане
4.11 Определение сопротивления удару на копре ПМ
4.12 Определение морозостойкости
4.13 Определение минералого-петрографического состава
4.14 Определение наличия органических примесей в гравии (щебне из гравия)
4.15 Определение истинной плотности горной породы и зерен щебня (гравия)
4.16 Определение средней плотности и пористости горной породы и зерен щебня (гравия)
4.17 Определение насыпной плотности и пустотности
4.18 Определение водопоглощения горной породы и щебня (гравия)
4.19 Определение влажности
4.20 Определение предела прочности при сжатии горной породы
4.22 Определение реакционной способности горной породы и щебня (гравия
4.23 Определение устойчивости структуры щебня (гравия) против распадов
4.24 Определение содержания свободного волокна асбеста в щебне из отходов асбестосодержащих пород
4.25 Определение содержания слабых зерен и примесей металла в щебне из шлаков черной и цветной металлургии
4.26 Определение активности шлаков
4.27 Определение электроизоляционных свойств щебня для балластного слоя железнодорожного пути
Приложение А Область применения физико-механических испытаний
Приложение Б Нормативные ссылки
|
Из за большого объема этот материал размещен на нескольких страницах:
1 2 3 4 5 |



