4.5.4.1 Средства контроля и вспомогательное оборудование
Прибор фотоэлектрический типа КЗМ (КЗМ-4нм, КЗМ-7) с относительной погрешностью измерения не более 10 % (изготавливается опытным заводом института «Гипрожелдорстрой»).
Весы настольные циферблатные по ГОСТ 29329 и лабораторные по ГОСТ 24104.
Сосуд без меток.
Шкаф сушильный.
Чашка или стакан по ГОСТ 9147.
Секундомер.
4.5.4.2 Порядок подготовки и проведения испытания
До проведения измерений прибор типа КЗМ должен быть откалиброван по воде, используемой для испытания, в соответствии с инструкцией по его эксплуатации.
Суспензию приготавливают по 4.5.2.2 или по следующей ускоренной методике. От аналитической пробы щебня (гравия) массой не менее 5 кг, высушенной до постоянной массы, после ее усреднения отбирают две навески массой по 1 кг каждая. Навеску помещают в сосуд и заливают 5 л воды температурой (20±5) °С. Залитый водой щебень (гравий) непрерывно перемешивают деревянной мешалкой в течение 2 мин или оставляют для размокания пылевидных и глинистых частиц на 40 мин.
По истечении 40 мин крупные фракции щебня (гравия) извлекают с помощью совка с отверстиями, входящего в комплект КЗМ, дополнительно промывая материал в верхних слоях суспензии.
Полученную суспензию перемешивают в течение 1 мин и через 30 с после окончания перемешивания отбирают пробу суспензии пипеткой, входящей в комплект КЗМ. Для этого трубку пипетки закрывают пальцем, погружают пипетку до верхней поверхности ее крышки (глубина погружения 60 мм) в суспензию и открывают трубку пипетки. Через 5—6 с снова закрывают пальцем трубку пипетки и
выливают содержимое пипетки в измерительную кювету прибора. фотоэлектрическое измерение проводят согласно инструкции по эксплуатации прибора КЗМ.
Отбор пробы суспензии и фотоэлектрическое измерение повторяют еще раз, перемешивая суспензию в течение 10с перед отбором пробы.
4.5.4.3 Обработка результатов испытания
Содержание пылевидных и глинистых частиц в щебне (гравии) П, % по массе, определяют по формуле
П = К·Пср, (15)
где К — переводной коэффициент, определяемый по 4.5.4.4;
Пср — среднеарифметическое значение фотоэлектрических измерений для двух проб.
4.5.4.4 Определение переводного коэффициента К
Значение переводного коэффициента устанавливают экспериментально для щебня (гравия) каждого предприятия (карьера)-изготовителя и проверяют при изменении свойств горной породы, но не реже одного раза в год.
Для установления значения переводного коэффициента К испытывают две пробы щебня (гравия). Суспензию, полученную промывкой каждой пробы щебня (гравия), испытывают на приборе КЗМ, проведя 10 измерений по 4.5.4.2. После каждого измерения суспензию из кюветы прибора КЗМ сливают в лоток, входящий в комплект прибора КЗМ. Содержание пылевидных и глинистых частиц определяют выпариванием в лотке суспензии, полученной после десяти фотоэлектрических измерений.
Значение переводного коэффициента Кi для каждой испытываемой пробы щебня (гравия) определяют по формуле
, (16)
где т1 — масса лотка для выпаривания суспензии, г;
т2 — масса лотка с осадком после выпаривания суспензии, г;
V — вместимость пипетки, указанная в паспорте прибора КЗМ, мл;
Пср — среднеарифметическое значение десяти фотоэлектрических измерений содержания пылевидных и глинистых частиц.
Если для двух параллельных проб щебня (гравия) отношение значения большего переводного коэффициента к меньшему
, то значение переводного коэффициента определяют по формуле
, (17)
где
— сумма последних (десятых) показаний прибора КЗМ по каждой из двух испытываемых проб щебня (гравия),
;
— сумма первых показаний прибора КЗМ по каждой из двух испытываемых проб щебня (гравия),
;
К1, К2 — переводные коэффициенты для первой и второй проб, определенные по формуле (16).
Если отношение
— более 1,2 для двух проб щебня (гравия), определение содержания пылевидных и глинистых частиц фотоэлектрическим методом не допускается.
Если отношение
— находится в пределах от 1,10 до 1,15, то проводят испытание третьей пробы.
Если отношение
— находится в пределах св. 1,15 до 1,20 , то проводят испытание четвертой пробы. Значение переводного коэффициента К для каждой испытываемой пробы определяют по формуле
, (18)
4.5.5 Определение содержания глинистых частиц в щебне (гравии) по расходу красителя (факультативный метод)
Метод основан на определении расхода красителя, адсорбирующегося на поверхности глинистых частиц в суспензии, полученной от промывки щебня (гравия). Расход красителя является косвенным показателем содержания глинистых частиц.
4.5.5.1 Средства контроля и вспомогательное оборудование
Весы настольные циферблатные по ГОСТ 29329 или лабораторные по ГОСТ 24104.
Сосуд для отмучивания по 4.5.1.1 (рисунок 1).
Цилиндры стеклянные вместимостью 100 мл по ГОСТ 23932.
Мешалка для перемешивания растворов марки 022 СЗ (изготовитель — Усманский завод).
Секундомер.
Стеклянные палочки диаметром 8 мм, длиной 250—300 мм.
Фильтры бумажные средней зернистости по ГОСТ 12026.
Вода дистиллированная по ГОСТ 6709.
Краситель фиолетовый (основной) по ГОСТ 22698.
4.5.5.2 Порядок подготовки к испытанию
До проведения испытания приготавливают 1 %-ный раствор фиолетового красителя. Для этого порошок красителя массой 5 г вводят в 0,5 л дистиллированной воды в одну из стеклянных емкостей механической мешалки. Емкость закрывают резиновой пробкой и вставляют в зажимное устройство. Зажимные винты закручивают до упора, чтобы при вращении мешалки емкость не выпала и не было утечки жидкости. Раствор перемешивают 15 мин, что обеспечивает полное растворение порошка красителя в воде. Полученный раствор переливают в емкость из темного стекла с плотно притертой пробкой. Хранят раствор в темном месте, срок хранения не более 1 месяца.
Суспензию от промывки щебня (гравия), приготовленную по 4.5.2.2 и 4.5.2.3, тщательно перемешивают в ведре и немедленно наполняют ею две мерные колбы вместимостью 0,5 л каждая. Суспензию, не допуская потерь, переливают в стеклянную емкость механической мешалки.
4.5.5.3 Порядок проведения испытания
Мерной пипеткой отбирают 1, 2 и 3 мл раствора фиолетового красителя в зависимости от загрязненности щебня (гравия): при содержании пылевидных и глинистых частиц до 1 % — пипеткой вместимостью 1 мл, св. 1 до 3 % — 2 мл, св. 3 % — 3 мл. Раствор вводят в одну емкость с суспензией, а затем содержимое емкости перемешивают с помощью мешалки. Время перемешивания суспензии с раствором красителя в мешалке: при содержании пылевидных и глинистых частиц до 1 % — 5 мин, св. 1 до 3 % — 10 мин, св. 3 % — 15 мин.
По истечении указанного срока перемешивания емкости вынимают из мешалки, снимают пробку и устанавливают на столе. С помощью стеклянной палочки отбирают 5 контрольных капель — проб суспензии и наносят на фильтровальную бумагу. От каждой капли на фильтровальной бумаге образуется пятно, вид которого зависит от того, поглощается ли вводимый в суспензию краситель полностью глинистыми частицами или, при их насыщении, остается в свободном состоянии. До наступления полного насыщения глинистые частицы, окрашиваясь в фиолетовый цвет, образуют темное пятно с четким контуром: при насыщении глинистых частиц красителем вокруг пятна образуется фиолетовый ореол из свободного красителя. Если пятно имеет четкий контур, в емкость с опробованной суспензией вводят следующую дозу раствора красителя, соответствующую по объему первой, и перемешивают. Введение доз раствора красителя в суспензию, перемешивание в мешалке и отбор проб-капель производят до того момента, когда вокруг контрольных пятен на фильтровальной бумаге проявится контур — ореол фиолетового оттенка.
При опробовании суспензии из второй емкости первоначальный расход красителя рекомендуется назначать в пределах 0,5 от полученного общего расхода красителя по первой пробе, но не более 10 мл, а далее вводить минимальные дозы, зависящие от загрязненности щебня (гравия), до появления контура фиолетового цвета вокруг контрольного пятна.
4.5.5.4 Обработка результатов испытания
Количество 1 %-ного раствора красителя Кр, необходимое для полного покрытия молекулами красителя глинистых частиц (предельной адсорбции), в пересчете на 1000 г щебня (гравия) определяют по формуле
, (19)
где Кр — предельный расход красителя, мл/кг;
Vк1 , Vк2 — расход раствора красителя соответственно для первой и второй стеклянных емкостей мешалки, мл;
т — масса навески щебня (гравия), m =5 кг;
а — соотношение между полным объемом суспензии (10 л) и объемом, необходимым для испытания (0,5 л), a =20. Щебень (гравий) по содержанию глинистых частиц считается пригодным для строительных работ без проведения дополнительных исследований, если расход раствора красителей не превышает значений, приведенных в таблице 2.
Таблица 2
Щебень | Расход красителя, мл/кг |
Из изверженных и метаморфических горных пород | 180 |
Из осадочных горных пород марок: | |
от 600 до 1200 | 360 |
от 200 до 400 | 540 |
Из гравия и гравий марок: | |
от Др 8 до Др 16 | 180 |
Др 24 | 360 |
4.6 ОПРЕДЕЛЕНИЕ СОДЕРЖАНИЯ ГЛИНЫ В КОМКАХ
Содержание глины в комках в щебне (гравии) определяют путем отбора из проб каждой фракции частиц, отличающихся пластичностью.
4.6.1 Средства контроля и вспомогательное оборудование
Весы настольные циферблатные по ГОСТ 29329 и лабораторные по ГОСТ 24104.
Шкаф сушильный.
Сита с круглыми отверстиями диаметром 5 (3), 10, 20, 40 имм.
Лупа.
4.6.2 Порядок подготовки и проведения испытания
Аналитические пробы щебня (гравия) готовят путем рассева лабораторной пробы на ситах стандартного набора или берут из остатков на ситах, полученных рассевом пробы при определении зернового состава. Массу проб принимают по 4.4.2.
Каждую аналитическую пробу щебня (гравия), высушенную до постоянной массы, насыпают тонким слоем на металлический лист и увлажняют с помощью пипетки. Из пробы выделяют комки глины, отличающиеся пластичностью от зерен щебня (гравия), применяя в необходимых случаях лупу.
Выделенные комки глины высушивают до постоянной массы и взвешивают.
4.6.3 Обработка результатов испытания
Содержание комков глины в каждой пробе щебня (гравия) Пгл, %, определяют по формуле
, (20)
где т — масса аналитической пробы щебня (гравия), кг;
m1 — масса глины в комках, высушенной до постоянной массы, кг.
Содержание комков глины в смеси фракций вычисляют в соответствии с 4.1.7.
4.7 ОПРЕДЕЛЕНИЕ СОДЕРЖАНИЯ ЗЕРЕН ПЛАСТИНЧАТОЙ (ЛЕЩАДНОЙ) И ИГЛОВАТОЙ ФОРМ
4.7.1 Метод визуальной разборки
Содержание в щебне (гравии) зерен пластинчатой (лещадной) и игловатой форм оценивают количеством зерен, толщина которых менее длины в три раза и более.
4.7.1.1 Средства контроля и вспомогательное оборудование
Весы настольные циферблатные по ГОСТ 29329 или лабораторные по ГОСТ 24104.
Шаблон передвижной (рисунок 3) или штангенциркуль по ГОСТ 166.
Сита из стандартного набора по 4.1.6.

Рисунок 3 — Передвижной шаблон
4.7.1.2 Порядок подготовки и проведения испытания
Из лабораторной пробы от каждой фракции испытываемого щебня (гравия) берут аналитические пробы массой по 4.4.2.
Содержание зерен пластинчатой (лещадной) или игловатой формы определяют отдельно для каждой фракции щебня (гравия).
При наличии в испытываемом щебне (гравии) какой-либо фракции в количестве менее 5 % по массе содержание зерен пластинчатой (лещадной) и игловатой форм в этой фракции не определяют.
Аналитическую пробу взвешивают и из нее выбирают зерна, толщина которых меньше длины в три раза и более.
Соотношение размеров зерен определяют при помощи передвижного шаблона или штангенциркуля. При использовании шаблона измеряемое зерно вкладывают наибольшим размером между губками, положение шаблона фиксируют стопорным винтом и измеряют размер зерна, затем зерно пропускают наименьшим размером между губками шаблона, установленными на расстоянии в три раза меньшем. Если зерно пройдет между губками, то его относят к зернам пластинчатой или игловатой формы.
Зерна пластинчатой и игловатой форм взвешивают.
4.7.1.3 Обработка результатов испытания
Содержание в каждой фракции щебня (гравия) зерен пластинчатой (лещадной) и игловатой форм Пгл, %, определяют по формуле
, (21)
где т — масса аналитической пробы, г;
m1 — масса зерен пластинчатой (лещадной) и игловатой форм, г. Содержание зерен пластинчатой (лещадной) и игловатой форм в смеси фракций определяют в соответствии с 4.1.7.
4.7.2 Определение на щелевидных ситах
Метод основан на просеивании щебня (гравия) через щелевидные сита.
4.7.2.1 Средства контроля и вспомогательное оборудование
Весы настольные циферблатные по ГОСТ 29329 или лабораторные по ГОСТ 24104.
Набор щелевидных сит, изготовленных из листового проката по ГОСТ 19904, в соответствии с таблицей 3 на круглых или квадратных обечайках с диаметром или стороной не менее 300 мм.
4.7.2.2 Порядок подготовки и проведения испытания
От каждой фракции испытываемого щебня (гравия) берут аналитическую пробу массой по 4.4.2.
Пробу каждой фракции просеивают через щелевидные сита с отверстиями согласно таблице 3.
Таблица 3
В миллиметрах
Номинальные размеры зерен щебня (гравия) | Размеры отверстий щелевидных сит | ||
Наим. | Наиб. | Длина | Ширина |
5(3) 10 | 10 20 | 10 20 | 2,5 5,0 |
20 | 40 | 40 | 10,0 |
40 | 70 | 70 | 20,0 |
70(80) | 120 | 120 | 35,0 |
Зерна, прошедшие через щелевидное сито, относят к пластинчатым и игловатым.
4.7.2.3 Обработка результатов испытания
Содержание в каждой фракции щебня (гравия) пластинчатых и игловатых зерен Ппл, %, определяют по формуле (21).
Содержание зерен пластинчатой (лещадной) и игловатой форм в смеси фракций определяют в соответствии с 4.1.7.
4.8 ОПРЕДЕЛЕНИЕ ДРОБИМОСТИ
Дробимость щебня (гравия) определяют по степени разрушения зерен при сжатии (раздавливании) в цилиндре.
4.8.1 Средства контроля и вспомогательное оборудование
Пресс гидравлический с максимальным усилием до 500 кН по ГОСТ 28840.
Цилиндры стальные с внутренними диаметрами 75 и 150 мм и высотой соответственно 75 и 150 мм со съемным дном и плунжером (рисунок 4).
Дробилка щековая лабораторная марки ДЛЩ 60х100.
Весы настольные циферблатные по ГОСТ 29329 или лабораторные по ГОСТ 24104.
Сита из стандартного набора по 4.1.6.
Сито с сеткой № 2,25 по ГОСТ 6613.
Шкаф сушильный.
Сосуд для насыщения щебня (гравия) водой.
Цилиндр Съемное дно Плунжер

В миллиметрах
D | d | d1 | H | H1 |
87 | 75 | 73 | 75 | 70 |
170 | 150 | 148 | 150 | 120 |
Рисунок 4 — Цилиндры стальные
4.8.2 Порядок подготовки к испытанию
При испытании щебня (гравия), состоящего из смеси двух или более смежных фракций, исходный материал рассеивают на стандартные фракции и каждую фракцию испытывают отдельно. Щебень (гравий) фракции от 5 до 10, св. 10 до 20 или св. 20 до 40 мм просеивают через два сита с отверстиями, соответствующими наибольшей (D) и наименьшей (d) крупности испытываемой фракции. От остатков на сите с отверстиями размером, равным d, отбирают две аналитические пробы массой не менее 0,5 кг каждая при испытании в цилиндре диаметром 75 мм и не менее 4 кг — при испытании в цилиндре диаметром 150 мм. Щебень (гравий) крупнее 40 мм предварительно дробят и испытывают фракции св. 10 до 20 мм или св. 20 до 40 мм.
При одинаковом петрографическом составе щебня (гравия) фракции св. 20 до 40 мм и св. 40 до 70 мм прочность последней допускается характеризовать результатами испытаний фракции св. 20 до 40 мм. Щебень (гравий) допускается испытывать как в сухом, так и в насыщенном водой состоянии.
Аналитические пробы для испытания в сухом состоянии высушивают до постоянной массы, а для испытания в насыщенном водой состоянии погружают в воду на 2 ч.
После насыщения водой с поверхности зерен щебня (гравия) удаляют влагу мягкой влажной тканью.
4.8.3 Порядок проведения испытания
При определении марки щебня (гравия) применяют цилиндр диаметром 150 мм. Для приемочного контроля качества щебня (гравия) фракции от 5 до 10 мм и св. 10 до 20 мм допускается применять цилиндр диаметром 75 мм.
Пробу щебня (гравия) насыпают в цилиндр с высоты 50 мм так, чтобы после разравнивания верхний уровень материала примерно на 15 мм не доходил до верхнего края цилиндра. Затем в цилиндр вставляют плунжер так, чтобы плита плунжера была на уровне верхнего края цилиндра. Если верх плиты на плунжере не совпадает с краем цилиндра, то удаляют или добавляют несколько зерен щебня (гравия). После этого цилиндр помещают на нижнюю плиту пресса.
Увеличивая силу нажатия пресса на 1—2 кН (100—200 кгс) в секунду, доводят ее при испытании щебня (гравия) в цилиндре диаметром 75 мм до 50 кН (5000 кгс), при испытании в цилиндре диаметром 150 мм — до 200 кН (20000 кгс).
После сжатия испытываемую пробу высыпают из цилиндра и взвешивают. Затем ее просеивают в зависимости от размера испытываемой фракции через сито с отверстиями размером:
1,25 мм — для щебня (гравия) размером фракции от 5 до 10 мм;
2,5 мм — то же св. 10 до 20 мм;
5,0 мм — » св. 20 до 40 мм.
Остаток щебня (гравия) на сите после просеивания взвешивают.
При испытании щебня (гравия) в насыщенном водой состоянии навеску на сите тщательно промывают водой и удаляют поверхностную влагу с зерен щебня (гравия) мягкой влажной тканью.
4.8.4 Обработка результатов испытания
Дробимость Др, %, определяют с точностью до 1 % по формуле
, (22)
где т — масса аналитической пробы щебня (гравия), г;
m1 — масса остатка на контрольном сите после просеивания раздробленной в цилиндре пробы щебня (гравия), г.
За результат принимают среднеарифметическое значение двух параллельных испытаний.
При испытании щебня (гравия), состоящего из смеси фракций, Дробимость определяют в соответствии с 4.1.7.
4.9 ОПРЕДЕЛЕНИЕ СОДЕРЖАНИЯ ЗЕРЕН СЛАБЫХ ПОРОД В ЩЕБНЕ (ГРАВИИ) И СЛАБЫХ РАЗНОСТЕЙ В ГОРНОЙ ПОРОДЕ
4.9.1 Определение содержания зерен слабых пород
Содержание в щебне (гравии) зерен слабых пород определяют путем их выделения по характерным признакам.
4.9.1.1 Средства контроля и вспомогательное оборудование
Весы настольные циферблатные по ГОСТ 29329 или лабораторные по ГОСТ 24104.
Шкаф сушильный.
Сита из стандартного набора по 4.1.6.
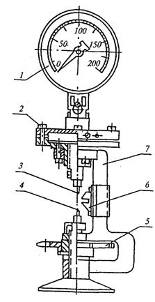
Индикатор прочности камня механический типа Т-3 (рисунок 5).
Лупа минералогическая по ГОСТ 25706.
Игла стальная по ГОСТ 8030 и игла алюминиевая из проволоки по ГОСТ 14838.
Молоток столярный типа МСТ-3 по ГОСТ 11042.

1 — манометр; 2— гидравлическая мессдоза; 3 — верхний зуб;
4 — нижний зуб; 5 — диск винтового механизма; 6 — щелевой упор; 7 — корпус прибора
Рисунок 5 — Механический индикатор прочности камня (Т-3)
4.9.1.2 Порядок подготовки к испытанию
От каждой фракции щебня (гравия) берут аналитическую пробу массой по 4.4.2.
Пробу высушивают до постоянной массы.
Содержание в щебне (гравии) зерен слабых пород определяют отдельно для каждой фракции щебня (гравия).
При наличии в испытываемом щебне (гравии) какой-либо фракции в количестве, меньшем 5 % по массе, содержание зерен слабых пород в этой фракции не определяют.
4.9.1.3 Порядок проведения испытания
Проводят разборку пробы каждой фракции щебня (гравия), выделяя зерна слабых пород с пределом прочности при сжатии в насыщенном водой состоянии менее 20 МПа (200 кгс/см2).
При выделении зерен слабых пород руководствуются следующими отличительными признаками: зерна слабых пород легко разламываются руками и разрушаются легкими ударами молотка. При царапании иглой по поверхности зерна остается след (на поверхности зерен изверженных и метаморфических пород оставляет след стальная игла, на поверхности зерен осадочных карбонатных пород — алюминиевая).
Кроме того, слабые зерна карбонатных пород обычно имеют окатанную форму.
В целях уточнения содержания зерен слабых пород в щебне допускается использование механического индикатора прочности камня типа Т-3.
В зависимости от размера испытываемой фракции щебня (гравия) на приборе устанавливают сменный щелевой упор с шириной щели 2,9 мм для зерен фракции св. 10 до 20 мм, 4,2 мм — для более крупных зерен. При этом расстояние между краем ребер щелевого упора и осью, проходящей через острие зубьев прибора, должно быть равно ширине щели.
Каждое выделенное при разборке пробы щебня сомнительное по прочности зерно вставляют клиновидным концом между зубьями прибора до щелевого упора. После этого вращением диска винтового механизма прибора сжимают зубья и «откусывают» кусочек камня. По контрольной стрелке манометра определяют предел прочности камня. Шкала манометра градуирована для случая применения упора со щелью шириной 4,2 мм; при применении упора со щелью 2,9 мм показания манометра удваивают.
Для перехода от показаний прибора к пределу прочности при сжатии предварительно устанавливают переходной коэффициент по данным испытания зерен щебня механическим индикатором Т-3 и определяют прочность образцов породы правильной формы сжатием на прессе.
4.9.1.4 Обработка результатов испытания
Выделенные из пробы зерна слабых пород взвешивают и определяют их содержание Хсл, %, по формуле
, (23)
где т — масса аналитической пробы, г;
т1 — масса зерен слабых пород, г.
При испытании щебня (гравия), состоящего из смеси фракций, содержание зерен слабых пород определяют в соответствии с 4.1.7.
4.10 ОПРЕДЕЛЕНИЕ ИСТИРАЕМОСТИ В ПОЛОЧНОМ БАРАБАНЕ
Истираемость (износ) щебня (гравия) определяют по потере массы зерен при испытании пробы в полочном барабане с шарами.
4.10.1 Средства контроля и вспомогательное оборудование
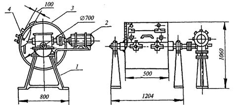
Барабан полочный диаметром 700, длиной 500 мм, снабженный на внутренней поверхности полкой шириной 100 мм (рисунок 6).
Шары стальные или чугунные диаметром 48 мм, массой (405± 10) г каждый — 12 шт.
Весы настольные циферблатные по ГОСТ 29329 или лабораторные по ГОСТ 24104.
Шкаф сушильный.
Сита из стандартного набора по 4.1.6.
Сито с сеткой № 1,25 по ГОСТ 6613.
4.10.2 Порядок подготовки к испытанию
Испытываемый щебень (гравий) не должен содержать пылевидных и глинистых частиц более 1% по массе. В противном случае щебень (гравий) предварительно промывают и высушивают.
Щебень (гравий) фракций от 5 до 10, св. 10 до 20 и св. 20 до 40 мм в состоянии естественной влажности просеивают через два сита с отверстиями размерами, соответствующими наибольшему D и наименьшему d номинальным размерам зерен данной фракции. Из остатка на сите с отверстиями размером d отбирают две аналитические пробы по 5 кг с предельной крупностью зерен до 20 мм и две пробы по 10 кг фракции св. 20 до 40 мм.
При испытании щебня (гравия), состоящего из смеси двух или более смежных фракций, аналитические пробы готовят рассеиванием исходного материала на стандартные фракции и каждую фракцию испытывают отдельно. Щебень (гравий) крупнее 40 мм дробят до получения зерен мельче 40 мм и испытывают щебень (гравий) фракции св. 20 до 40 мм.
В случае одинакового петрографического состава фракций щебня (гравия) св. 20 до 40 и св. 40 до 70 мм истираемость последней допускается характеризовать результатами испытаний фракции св. 20 до 40 мм.

1 — станина; 2 — двигатель; 3 — барабан; 4 — полка барабана
Рисунок 6 — Полочный барабан
4.10.3 Порядок проведения испытания
Подготовленную пробу загружают в полочный барабан вместе с чугунными или стальными шарами, закрепляют крышку барабана с приводят его во вращение со скоростью 30—33 об/мин.
Число чугунных или стальных шаров и общее число оборотов барабана в процессе одного испытания щебня (гравия) принимают по таблице 4.
По окончании испытания содержимое барабана просеивают через сито с отверстиями диаметром 5 мм и контрольное сито с ceткой № 1,25. Остатки на ситах соединяют и взвешивают.
Таблица 4
Размер фракции щебня (гравия), мм | Число чугунных или стальных шаров, необходимое для испытания пробы, шт. | Число оборотов полочного барабана, необходимое для испытания пробы |
От 5 до 10 Св. 5 до 15 Св. 10 до 20 Св. 20 до 40 | 8 9 11 12 | 500 500 500 1000 |
4.10.4 Обработка результатов испытания
|
Из за большого объема этот материал размещен на нескольких страницах:
1 2 3 4 5 |



