Г У П М О С К О В С К И Й М Е Т Р О П О Л И Т Е Н
У Ч Е Б Н О – П Р О И З В О Д С Т В Е Н Н Ы Й Ц Е Н ТР

Пневматическое оборудование вагонов метрополитена.
Учебное пособие для подготовки по профессии «Машинист электропоездов метрополитена»
Серии81-717.5м(714.5м)
Авторы: зам. начальника УПЦ К., преподаватель УПЦ
под редакцией начальника УПЦ
Москва 2010 г.
Введение
Пневматикой называется раздел техники, объединяющий устройства, работающие на сжатых газах.
Рабочим телом, которое используется в пневматическом оборудовании вагонов метрополитена, является сжатый воздух. Он является смесью газов: азота (около 78%), кислорода (около 21%), инертных газов, углекислого газа, метана. Также в воздухе присутствует водяной пар.
В основе работы всех пневматических систем лежат фундаментальные законы термодинамики и гидродинамики, описывающие поведение реального газа. Однако многие свойства реальных газов с большой точностью описываются моделью идеального газа, в которой предполагается, что все частицы (молекулы) бесконечно малы (то есть размер молекул много меньше расстояний между ними) и взаимодействием частиц друг с другом можно пренебречь (то есть силы притяжения между молекулами не учитываются, а силы отталкивания возникают только при соударениях). Модель очень хорошо описывает большинство задач по термодинамике газов, кроме экстремальных температур или давлений. Воздух при давлениях, близких к атмосферному, и температурах, близких к комнатной, с большой точностью является идеальным газом.
Ниже будут рассмотрены основные свойства воздуха, знание которых необходимо для понимания работы устройств и приборов, относящихся к пневматическому оборудованию вагонов Московского метрополитена.
Свойства воздуха
Основным свойством воздуха, которое используется при работе пневматического оборудования, является его способность к сжатию при увеличении давления и последующему расширению с совершением полезной работы. Жидкости, в отличие от газов, практически несжимаемы и принципы работы устройств гидравлики несколько иные. Именно энергия аккумулированного сжатого воздуха и выполняет ту или иную работу в пневматических устройствах, что обеспечивает функционирование различных узлов как на отдельно взятом вагоне, так и на составе в целом.
Принципом работы всех пневматических устройств является создание разности давлений воздуха в рабочих камерах или полостях определенного узла или устройства, которая вызывает механическое воздействие на другой узел или на все пневматическое устройство в целом.
Давление и единицы его измерения
Давление представляет собой физическую величину, измеряемую отношением силы, действующей на поверхности взаимодействия между телами, к площади этой поверхности (если по данной поверхности сила распределена равномерно), или в виде формулы: P=F/S.
Единицей измерения давления в системе СИ является Паскаль (Па). 1 Паскаль равен давлению, которое оказывает сила в 1 Ньютон (Н) на площадь в 1 м2, или 1 кг. м/(с2.м2) = 1 кг/(м. с2)
Для работы пневматических устройств важным свойством газа как рабочего тела является то, что газ передает производимое на него поверхностными силами внешнее давление по всем направлениям без изменения (закон Паскаля).
Единица давления Паскаль применяется, главным образом, в научной среде. В технике и быту принятыми единицами измерения являются физическая атмосфера (АТМ), техническая атмосфера (АТ) и миллиметры ртутного столба (мм рт. ст.)
Физическая атмосфера (АТМ) — единица измерения давления, равная нормальному атмосферному давлению на высоте уровня моря, т. е. давлению, уравновешиваемому столбом ртути высотой 760 мм при температуре 0°С, плотности ртути 13595,1 кг/м3 и нормальном ускорении свободного падения 9,80665 м/сек2. Иногда физическую атмосферу называют также нормальной атмосферой. Причиной атмосферного давления является гидростатическое давление воздуха на поверхность Земли и все находящиеся на ней предметы, создаваемое притяжением атмосферы к Земле. Численно атмосферное давление равно отношению веса столба воздуха над предметом к вертикальной проекции площади этого предмета. 1 АТМ=1,033 кгс/см2. Следует помнить, что 1 килограмм-сила (кгс) равен приблизительно 9,81 Н, таким образом нормальное атмосферное давление 101325 Па равно 1,0332 кгс/см2.
Техническая атмосфера (АТ) — физическая величина, относящаяся к системе единиц измерений МКГСС и равна давлению, производимому силой в 1 кгс, равномерно распределенной по плоской поверхности площадью в 1см2.
Для справки приведем соотношения между различными единицами давления:
1 атм = 1,033 кгс/см2 = 760 мм рт. ст. = 101325 Па
1 ат = 1 кгс/см2 = 735,66 мм рт. ст. = 98066 Па
В инженерной пневматике наиболее распространенной единицей измерения давления является именно техническая атмосфера.
Закон Бойля-Мариотта
Параметры вещества в любом состоянии связаны друг с другом уравнением состояния, вид которых в большинстве случаев неизвестен. Лишь для газов, частицы которых достаточно далеки друг от друга и почти не взаимодействуют, такое уравнение известно сравнительно точно.
Рассмотрим газ, находящийся в некотором замкнутом объеме, т. е. параметры которого (температура, давление, плотность) одинаковы по всему объему и неизменны. Такая система называется равновесной. Если медленно уменьшать объем системы, поддерживая при этом постоянной ее температуру, можно увидеть, что давление газа в системе растет, причем если обозначить первоначальные значения давления и объема как P0 и V0, а конечные — как P1 и V1, то можно сделать вывод, что произведение давления и объема газа есть постоянная величина для любой точки процесса. То есть P0V0 = P1V1 = const при T=const. Это соотношение носит название закона Бойля-Мариотта и формулируется так: произведение объема данной массы газа на его давление есть величина постоянная при постоянной температуре.
Процесс, протекающий при постоянной температуре, называется изотермическим. Реальный процесс сжатия газа, например, в компрессоре, не является изотермическим — уменьшение объема и увеличение давления сопровождается ростом температуры. Однако, если сжатый газ охладить до температуры, которую он имел до сжатия, можно будет увидеть, что для начальных и конечных значений объема и давления закона Бойля-Мариотта соблюдается.
Пневматики вагона и их назначение
Пневматикой называется совокупность пневматических устройств и приборов, объединенных в одну группу по назначению, типу выполняемой ими работы, а также по функциональной зависимости друг от друга. На каждом вагоне метро существует семь самостоятельных пневматик: напорная, тормозная, автостопная, дверная, управления и вспомогательная.
- Напорная пневматика предназначена для создания сжатого воздуха, его охлаждения, очистки от механических примесей, масла и влаги, его накопления и хранения с целью обеспечения работы всех пневматических устройств вагона. К напорной пневматике относится: мотор-компрессор с воздушным фильтром и маслоотделителями, воздушные резервуары, обратный и предохранительный клапаны, змеевик, регулятор давления и т. д. Тормозная пневматика выполняет все виды пневматического торможения и отпуска тормозов. В тормозную пневматику входят: кран машиниста (как командный орган), тормозной воздухораспределитель, АВУ-045 и т. д. Автостопная пневматика производит экстренное пневматическое торможение состава с одновременным отключением электрической тяги двигателей в случае проезда светофора с запрещающим показанием оборудованным путевой скобой автостопа, путевой инерционной скобы с повышенной скоростью или постоянной путевой скобы. В эту пневматику входят два взаимозависимых устройства — УАВА (универсальный автоматический выключатель автостопа) и срывной клапан. Дверная пневматика обеспечивает работу пневматических раздвижных дверей вагона. В нее входят следующие устройства: ДВР (дверной воздухораспределитель), пневмодроссели (регуляторы скорости движения створок дверных проемов), дверные цилиндры, редуктор ДМ и т. д. Пневматика управления предназначена для обеспечения сжатым воздухом силовых электрических аппаратов. К этой пневматике относятся пневматические приводы и электромагнитные вентили включающего типа, управляющие работой этих приводов (Электропневматический реверсор, линейные контакторы и переключатель положений). Вспомогательная пневматика предназначена для работы звукового сигнала, стеклоочистителей, контроля за величиной давления воздуха в магистралях (манометры), а также, на вагонах некоторых типов, для отжатия башмаков токоприемников (при необходимости) и смазки гребней колес с целью уменьшения их выработки.
Каждая из перечисленных выше пневматик работает совместно с одной или несколькими воздушными магистралями вагона.
Функциональная схема пневматики вагона:

Рис. 1.2. Функциональная схема пневматики
Воздушные магистрали вагона и их назначение
Воздушная магистраль представляет собой систему трубопроводов и приборов, имеющую фиксированный объем и определенное давление (не всегда постоянное). На каждом вагоне метро имеется пять самостоятельных воздушных магистралей: напорная, тормозная, дверная, управления и тормозных цилиндров.
· Напорная магистраль (НМ) предназначена для питания очищенным сжатым воздухом всех остальных воздушных магистралей, обеспечивая, таким образом, работу всех пневматических устройств вагона. Общий объем НМ около 420 л, рабочее давление воздуха 6,3 ÷ 8,2 АТ.
· Тормозная магистраль (ТМ) руководит работой пневматического тормоза — от интенсивности и глубины ее разрядки или зарядки зависит тот или иной вид пневматического торможения или отпуска тормозов. Рабочее давление воздуха в ТМ 5,0 ÷ 5,2 АТ (кран машиниста № 000) и 4,8 ÷ 5,2 АТ (кран машиниста № 000). Объем ТМ составляет 29 л (вагоны 81-...) или 38 л (вагон Е).
· Дверная магистраль (ДМ) обеспечивает работу дверных цилиндров, с помощью которых происходит открытие и закрытие дверных проемов. Рабочее давление воздуха в ДМ 3,4 ÷ 3,6 АТ, объем — 8 л.
· Магистраль управления (МУ) обеспечивает работу пневматических приводов силовой электрической цепи. К электрической аппаратуре, приводимой в действие этими устройствами, относятся: линейные контакторы (ЛК), реверсор (ПР) и переключатель кулачковый групповой (ПКГ). Рабочее давление воздуха в МУ 5,0 ÷ 5,2 АТ.
· Магистраль тормозных цилиндров (МТЦ) обеспечивает работу тормозных цилиндров, с участием которых создается тормозная сила при пневматическом торможении. В зависимости от типа вагона, его загрузки, а также режима работы тормозного воздухораспределителя, рабочее давление воздуха в МТЦ может быть различным — от 0 АТ при отпущенном тормозе до 4,0 АТ при полном служебном или экстренном торможении с полной загрузкой (вагон номерной, головной).

Рис. 1.4. Общая схема пневматики вагона серии 81-717
Напорная и общая пневматика
Под словами "общая пневматика" следует понимать пневматические устройства, относящиеся одновременно к нескольким пневматикам вагона (разобщительные краны, редукторы, электромагнитные вентили и т. д.)
Напорная пневматика, как уже отмечалось выше, предназначена для создания сжатого воздуха, его очистки от механических примесей, масла и влаги, его накопления и хранения с целью обеспечения работы всех пневматических устройств вагона.
Воздушные фильтры, змеевик, маслоотделитель
В данной главе будет рассмотрен фильтр мотор-компрессора, змеевик-охладитель, маслоотделитель и фильтр вторичной очистки.
Воздушный фильтр компрессора
Воздушный фильтр (инерционно-контактный воздухоочиститель) предназначен для очистки атмосферного воздуха, поступающего для сжатия в компрессор, от механических примесей (пыли, частиц грязи и пр.)

рисунок 2.1
1 - корпус
2 - патрубок выходной
3 - набивка
4 - патрубок входной
5 - поддон
6 - масло
Фильтр установлен на самом компрессоре и крепится к его картеру при помощи хомута. Также фильтр снабжен защитной цепочкой для предотвращения его падения на путь.
Работа фильтра. При включении компрессора в магистрали всасывания образуется разрежение и атмосферный воздух начинает всасываться внутрь корпуса через входной патрубок и попадает в съемный поддон, в который предварительно залито 400 гр компрессорного масла. Воздух, приходя в контакт с поверхностью масла, очищается от относительно крупных примесей, а затем через отверстия поступает вверх и проходит через фильтрующий элемент, которым является набивка из промасленных капроновых нитей. В этой набивке оседают более мелкие механические включения, и очищенный воздух через выходной патрубок поступает в клапанную коробку компрессора для сжатия.
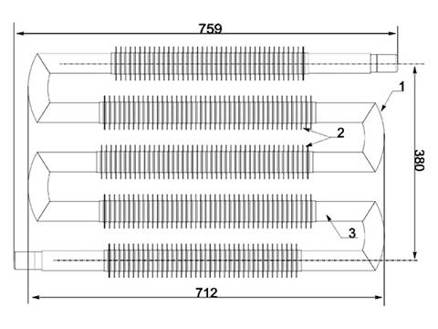
Змеевик
Змеевик (рис. 2.4) предназначен для охлаждения сжатого в компрессоре воздуха, а также для частичной амортизации трубопровода НМ от вибрации, возникающей при работе мотор-компрессора.

Рис. 2.4. Змеевик-охладитель
Змеевик установлен под вагоном вертикально и поперек движения для лучшего обдува и охлаждения и крепится с помощью хомутов к кронштейнам рамы кузова. Змеевик представляет собой пять отрезков труб с наружным диаметром 38 мм, сваренных между собой угольниками. На внешней поверхности труб приварены 245 стальных шайб для повышения эффективности теплоотдачи. Таким образом, температура сжатого воздуха снижается со 1800 С на входе в змеевик до примерно 500 ÷ 600 С на выходе.
Маслоотделитель
Маслоотделитель (рис. 2.6) Э-120Т предназначен для очистки сжатого в компрессоре воздуха от влаги и маслянистых включений.

Рис. 2.6. Маслоотделитель. Общий вид
На каждом вагоне установлены последовательно друг за другом два маслоотделителя. Они расположены между змеевиком и обратным клапаном Э-155 и крепятся при помощи кронштейнов к раме кузова вагона.
Маслоотделитель состоит:
1 - крышка
2 - наполнитель
3 - крепежные болты
4 - сетчатые перегородки
5 - корпус
6 - кронштейны
7 - штуцер выходной
8 - штуцер входной
9 - штуцер сливного крана
Работа маслоотделителя. После змеевика сжатый воздух через входной штуцер попадает внутрь корпуса стремительно расширяется, и, поднимаясь вверх, проходит через наполнитель, состоящий из множества тонкостенных латунных или стальных цилиндров общим весом около 800 гр, уложенных навалом в полости, образованной двумя сетчатыми перегородками. На поверхности этого наполнителя происходит процесс конденсации паров влаги и масла, и далее в капельном виде этот конденсат стекает вниз к штуцеру сливного краника. Очищенный сжатый воздух проходит через выходной штуцер в съемной крышке в следующий маслоотделитель, где снова происходит процесс очистки и осушения воздуха, хотя его интенсивность ниже, чем в первом устройстве. Съемная крышка маслоотделителя крепится к корпусу шестью болтами через резиновую прокладку. Слив конденсата из каждого маслоотделителя производится в ТО-1 при помощи сливного краника.
Кроме описанного выше устройства для более качественной очистки воздуха перед пневматическими и электропневматическими приборами, а также в начале ответвления магистралей от напорного трубопровода установлены дополнительные сетчатые контактные фильтры, состоящие из корпуса, фильтра и заглушки. Фильтр представляет собой две латунные гильзы, между которыми расположен фильтрующий элемент, состоящий из тонкошерстного войлока или фетра.
Мотор-компрессор ЭК-4Б
Мотор-компрессор ЭК-4Б (МК) предназначен для производства сжатого воздуха на вагоне и его нагнетания в главный резервуар с целью накопления.
Установлен под вагоном в его хвостовой части в районе второй тележки и крепится к специальным кронштейнам рамы кузова при помощи трех болтов с использованием резинометаллических втулок-амортизаторов.
Состоит из двух основных узлов — электродвигателя и компрессора. Осевая линия валов МК располагается поперек кузова вагона, а электродвигатель крепится к корпусу (картеру) компрессора при помощи шести болтов М16. Картер компрессора, отливаемый из серого чугуна, является деталью, на которой монтируются все остальные узлы. Доступ в корпус осуществляется через окна, закрываемые крышками. Связующим звеном между электродвигателем и компрессором является двухступенчатый редуктор.
Электродвигатель
Предназначен для создания крутящего момента на коленчатом валу компрессора. Его узел состоит из следующих элементов: электродвигателя, прессшпановой прокладки, малой (ведущей) шестерни, которая фиксируется на валу электродвигателя с помощью шпонки, упорной шайбы и пластинчатой шайбы, а также двух болтов.
Электродвигатель ДК-408В представляет собой четырёхполюсную коллекторную машину постоянного тока с напряжением питания 750 В мощностью 4,5 кВт и частотой вращения якоря (вала двигателя) 1500 об/мин.
Редуктор
Предназначен для уменьшения частоты вращения коленчатого вала компрессора при передаче на него крутящего момента с вала электродвигателя при одновременном увеличении крутящего момента на коленчатом валу.
Редуктор выполнен в виде четырех косозубых цилиндрических шестерен. Шестерня находится на валу электродвигателя и является ведущей, а шестерня — на коленчатом валу компрессора и является ведомой. Шестерни и служат в качестве промежуточного звена и располагаются на отдельном эксцентриковом валу, ось которого находится ниже осей двух основных валов — электродвигателя и коленчатого вала компрессора. При этом с шестерней входит в зацепление шестерня, а с шестерней — шестерня.
Общее передаточное число редуктора — 3,9.
Компрессор
Предназначен для непосредственного сжатия поступающего воздуха. Его характерные черты:
· поршневой, с кривошипно-шатунным механизмом
· с горизонтальным расположением цилиндров
· двухцилиндровый
· однорядный
· воздушного (естественного) охлаждения
· простого действия
· одноступенчатого сжатия
· низкого давления
· малой производительности
Режим работы — повторно-кратковременный с продолжительностью включения до 50 %
Основные технические характеристики:
· Давление нагнетания — не более 8,2 АТ
· Производительность (эффективная) — не менее 420 л/мин
· Частота вращения коленчатого вала (номинальная) — 385 об/мин
· Потребляемая мощность (мощность, затрачиваемая на вращение коленчатого вала компрессора) — 3,7 кВт
· Диаметр цилиндра — 112 мм
· Ход поршня — 92 мм
· Направление вращения коленчатого вала (если смотреть со стороны электродвигателя) — по часовой стрелке
· Масса МК в сборе — 313 кг, из них компрессор вместе с редуктором — 104 кг.
Устройство компрессора
Компрессор представляет собой картер (корпус), в котором в двух шариковых подшипниках вращается двухколенный коленчатый вал. Подшипник вмонтирован в кольцевую расточку торцевой стенки внутри картера, а подшипник — в съемную крышку, которая крепится к картеру с торца через прессшпановую прокладку четырьмя болтами и имеет прилив в виде втулки под болт подвески, а также штуцер, закрываемый пробкой, необходимый для вентиляции картера. Внутренние кольца подшипников вместе с ведомой шестерней поджимаются упорными шайбами, а их болты контрятся пластинчатыми шайбами. Внешнее кольцо подшипника фиксируется в крышке с помощью стопорного кольца.
К каждой шейке коленчатого вала крепится шатун, имеющий разъемную головку, скрепляющуюся двумя шатунными болтами через прокладки и разбрызгиватель. Болты завинчиваются гайками и стопорятся шплинтами. Нижняя головка в сборе представляет собой нижний шатунный подшипник. В верхнюю головку шатуна запрессовывается бронзовая втулка, являющаяся верхним шатунным подшипником для поршневого пальца, при помощи которого поршень соединяется с шатуном.
Каждый поршень с внешней стороны имеет четыре кольцевых канавки (ручья) для четырех поршневых колец. Из них ближайшие к днищу поршня предназначены для компрессионных колец, изготовленных из чугуна, а две других канавки используются для маслосъемных колец, выполненных из капрона или алюминиевого сплава. Одно из этих колец устанавливается сразу за двумя компрессионными, а второе маслосъемное кольцо размещается на юбке поршня. Требуемая упругость маслосъемных колец обеспечивается волновыми пружинными эспандерами, которые закладываются в канавки поршня под кольца.
Оба поршня размещаются в блоке цилиндров, который крепится к картеру шестью шпильками М14 через прессшпановую прокладку с использованием двух направляющих штифтов. На шпильки навинчиваются гайки с пружинными шайбами.
Блок цилиндров завершается крышкой клапанной коробки, между нею и блоком цилиндров размещается сама клапанная коробка. Крепление крышки и клапанной коробки к блоку цилиндров производится шестью шпильками М16 через уплотнительные прокладки и, изготовленные из прессшпана или паронита с использованием направляющего штифта. На шпильки навинчиваются гайки с пружинными шайбами.
Крышка клапанной коробки изнутри разделена на две обособленных полости — всасывающую, находящуюся снизу и заканчивающуюся снаружи входным штуцером и нагнетательную, находящуюся сверху и заканчивающуюся снаружи выходным штуцером. Крышка и блок цилиндров с внешней стороны снабжены ребрами для усиления теплоотдачи.
При вращении коленчатого вала шатунная шейка совершает круговое движение, так же, как и нижняя головка шатуна. При этом верхняя головка шатуна и поршни совершают возвратно-поступательное движение. Движение, которое совершает шатун в целом, называется плоским.
Клапанная коробка
Клапанная коробка представляет собой две стальных плиты, между которыми в углублениях размещаются двенадцать стальных упругих пластин. Каждый клапан образует группа из трех пластин — таким образом, каждый цилиндр компрессора снабжен одним всасывающим клапаном (снизу) и одним нагнетательным клапаном (сверху). Фиксация пластины между плитами осуществляется при помощи шпонок. Сами плиты соединяются между собой посредством
двух винтов с гайками.
При неработающем компрессоре его поршни неподвижны, пластины всасывающего и нагнетательного клапанов занимают свободное (вертикальное) положение. При работе компрессора работу каждого цилиндра можно разделить на два такта — всасывания и нагнетания.
При всасывании воздуха в цилиндр объем под поршнем увеличивается и пластины всасывающего клапана, прижимаясь к упорному бурту, прогибаются и пропускают воздух в цилиндр. В это же время пластины нагнетательного клапана, также прогибаясь, еще более плотно прижимается к седлу, тем самым исключая попадание воздуха из нагнетательного патрубка обратно в компрессор.
При нагнетании воздуха объем под поршнем уменьшается — происходит сжатие — на рис. это соответствует движению поршня вправо. Упругое усилие пластины нагнетательного клапана рассчитано так, что она начинает отгибаться от седла, когда давление в цилиндре становится равным расчетному давлению нагнетания — при этом уже пластины всасывающих клапанов оказываются плотно прижаты к своим седлам. Таким образом, действие пластин нагнетательного клапана аналогично действию пластин всасывающего клапана.
Смазка компрессора
Для смазки компрессора применяется компрессорное масло К-12 (для зимы) или К-19 (для лета). Масло объемом 2,5 л заливается в картер через горловину в его верхней части. Уровень масла определяется по маслоуказателю (рис. ), который представляет собой щуп, вмонтированный в винтовую пробку. Она вкручивается в резьбовое отверстие, расположенное на задней стенке картера (с противоположной от блока цилиндров стороны) и использующееся для подлива масла в картер.
Смазка трущихся частей компрессора — барботажная, осуществляется с помощью двух разбрызгивателей, установленных в разъемах нижних шатунных головок. При вращении коленчатого вала эти части шатунов совершают круговое движение, при этом ребристая поверхность разбрызгивателя, погружаясь в масло, разбрызгивает его при последующем перемещении вверх. Таким образом, внутри картера создается масляный туман. Этой масляной взвесью и смазываются все трущиеся части компрессора. Смазка зубчатой передачи редуктора происходит за счет двух нижних шестерен промежуточного звена, погруженных в масляную ванну.
При постановке состава в депо машинист обязан проверить на ощупь степень нагрева картера компрессора — он должен быть тёплым или горячим, но не обжигающим руку. Следует проверить надежность крепления МК и состояние всех его узлов. Также необходимо обратить внимание на целостность двух предохранительных тросов, опоясывающих МК снизу и служащих для предотвращения его падения на путь в случае излома элементов подвески.
Определение производительности компрессора
Производительностью компрессора называется величина, равная объему сжимаемого за единичное время (1 минуту) воздуха. Производительность подразделяют на теоретическую (равна 700 литрам в минуту) и эффективную (равна 420 литрам в минуту). Последняя всегда меньше первой из-за наличия в цилиндрах компрессора мертвого пространства, наличия противодавления в пространстве под поршнем, а также упругого сопротивления пластинчатых клапанов, гидросопротивлению при всасывании и нагнетании и потерям на трение при вращении коленчатого вала.
Мертвым пространством называется свободное пространство между днищем поршня и клапанной коробкой. Оно образуется из-за того, что поршень в своем верхнем положении (положении окончания фазы нагнетания) не доходит до клапанной коробки — между ними сохраняется постоянный зазор. После нагнетания воздух, оставшийся в образовавшейся воздушной подушке, имеет давление, равное давлению нагнетания. Чем оно выше, тем больший ход поршня требуется для того, чтобы расширить оставшийся под поршнем воздух до атмосферного, т. к. только в этот момент открывается всасывающий клапан.
Определение производительности в эксплуатации
Для этого необходимо при включившихся МК на всем составе засечь по манометру прирост давления воздуха в НМ за одну минуту их работы. Этот прирост должен составлять не менее 1 АТ. Это говорит о том, что все МК на составе работоспособны и имеют расчетную эффективную производительность:
Q = Vнм x (Pкон-Pнач) / t
Здесь Q — производительность, Vнм — объем напорной магистрали (420 л), Pкон — избыточное давление по окончании замера (1 АТ), Pнач — избыточное давление в начале замера (0 АТ), t — время испытания (1 мин).
Определение производительности на отдельном вагоне
Выполняется в ТР-2 после замены клапанной коробки или в ТР-3 после ремонта самого МК. Для этого необходимо на порожнем вагоне закрыть концевые краны НМ и ТМ, соединить все воздушные магистрали между собой, ручку крана машиниста перевести во второе (поездное) положение и при закрытых дверях включить МК. При этом время его работы до достижения давления воздуха 8 АТ в напорной и других воздушных магистралях вагона должно составлять не более 8 минут.
Определение производительности методом двух резервуаров.
Производится при изготовлении нового МК, а также в случае его ремонта на заводе-изготовителе. Для этого следует закрыть все краны, включить МК и, после увеличения давления воздуха в I резервуаре до 8 АТ, открыть полностью кран 3, а кран 1 приоткрыть так, чтобы величина давления в I резервуаре сохранилась постоянной — 8 АТ. После этого необходимо полностью открыть кран 2, а кран 3 полностью закрыть. При этом ведется наблюдение за величиной давления воздуха во II резервуаре — за 1 минуту она должна вырасти не менее, чем на 1,5 АТ
Причины снижения эффективной производительности:
· Засорение воздушного фильтра компрессора
· Неплотная посадка пластин клапанов на свои седла
· Излом пластин клапанов или их подгар
· Износ компрессионных колец поршней
· Пробой уплотнительных прокладок клапанной коробки
· Неплотность в соединении выходного штуцера крышки с накидной гайкой трубопровода НМ.
Воздушные резервуары
Воздушные резервуары (емкости) (рис. 4.1) предназначены для создания необходимого запаса сжатого воздуха определенного давления для обеспечения действия пневматических приборов и электрических аппаратов после остановки компрессоров.

Рис. 4.1. Воздушный резервуар
Резервуары наполняются сжатым воздухом давлением 5÷8 АТ и относятся к наиболее ответственному оборудованию вагонов метрополитена.
В зависимости от типа, на вагоне может быть установлено несколько воздушных резервуаров: от двух на номерных вагонах с краном машиниста № 000 до четырех на вагонах "Е" с краном машиниста № 000.
Все резервуары размещаются под вагоном и крепятся к раме кузова посредством двух хомутов с использованием деревянных подкладок ― между рамой кузова и резервуаром.

Применение деревянных подкладок обусловлено, прежде всего, хорошей изоляционной способностью дерева. В случае непреднамеренного переброса низковольтного напряжения на трубопроводы магистрали управления, а через них на все трубопроводы, воздушные резервуары также окажутся под напряжением. Резервуары, благодаря своему большому объему, начнут выступать в роли конденсаторов электрической энергии, что может вызвать пробой, т. е. появление дугового искрообразования между резервуаром и заземленной рамой кузова. Структура металла стенки резервуара будет нарушена.
Переброс напряжения может возникнуть из-за неисправности электромагнитных вентилей цепи управления и разрушения орешковых изоляторов.
Назначение и характеристики резервуаров
Главный резервуар объемом 300 литров. Предназначен для питания сжатым воздухом всех пневматических потребителей вагона после остановки мотор-компрессора. Располагается вдоль вагона справа перед второй тележкой рядом с мотор-компрессором.
Один запасной резервуар объемом 100 литров (вагоны типа "Еж-3" и номерные) или два объемом по 55 литров каждый (вагоны типа "Е"). Предназначены для питания сжатым воздухом напорной магистрали тормозных цилиндров и магистрали управления в случае разрушения главного резервуара или разрыва трубопроводов напорной магистрали до обратного клапана Э-175. Запасные резервуары размещаются поперек вагона слева перед второй тележкой рядом с тормозным воздухораспределителем.
Уравнительный резервуар объемом 9,5 литров является обособленным видом воздушных резервуаров. Предназначен для искусственного увеличения объема надпоршневой камеры крана машиниста № 000 с целью получения наибольшего числа ступеней служебного пневматического торможения. Уравнительный резервуар расположен вдоль кузова вагона.
Устройство воздушных резервуаров
Все воздушные резервуары (рис. 4.2) состоят из обечайки ― стального цилиндра (5), к которой с двух сторон приварены сферические днища (1). Сваривание днищ заодно с обечайкой производится с применением центрирующих колец ― обручей (6), которые в начале привариваются изнутри к днищам таким образом, что часть центрирующего кольца выступает по окружности за торец днища на 15÷18 мм. Далее, этими кольцами днища вставляются в обечайку и, после этого, наружным швом (7) свариваются друг с другом.
На одном из сферических днищ размещается входной штуцер (2), а также приварена табличка (3), на которой клеймами выбивают основные данные:
· Наименование завода-изготовителя
· Дата изготовления
· Номер воздушного резервуара
· Объем и рабочее давление воздуха
На обечайке находится выходной штуцер (2А), а также штуцер для сливного краника (4).
Резервуар состоит:
1 - сферические днища
2 - штуцер
3 - паспортная табличка
4 - сливной краник
5 - обечайка
6 - центрирующие кольца
7 - сварной шов
А) Толщина стенок днищ и обечайки у главного резервуара составляет 5,5 мм и 4,0 мм соответственно.
Б) Толщина стенок всего запасного резервуара, а также уравнительного составляет соответственно 3,0 мм и 1,9 мм.
Технические освидетельствования воздушных резервуаров
Каждый воздушный резервуар за время своей службы проходит следующие виды осмотров и освидетельствований.
1. Наружный осмотр. При этом резервуар осматривается на предмет отсутствия видимых трещин и вмятин, дутья воздуха со стороны штуцеров. Проверяется качество подвески и покраски резервуара, а также в некоторых случаях (при проведении гидравлического испытания) ― на срез резьбы штуцеров, который не должен превышать 20% от общего числа витков.
2. Наружный и внутренний осмотр с проведением гидравлического испытания. Проводится один раз в 4 года (плюс 6 месяцев). В этом случае после проведения наружного осмотра согласно п.1, а также внутреннего осмотра стенок резервуара через открытые штуцеры приступают к наполнению резервуара теплой водой с созданием избыточного давления, превышающего рабочее давление воздуха на 5 АТ. На номерных вагонах главный и запасной резервуар испытывают с поднятием избыточного давления воды до 15 АТ. После того, как это давление будет выдержано в течении 5 мин., его сбрасывают, а воду сливают. Далее приступают к отстукиванию киянкой стенок резервуара и сварных швов. При этом звук должен быть чистым и звонким, указывающим на отсутствие внутренних трещин в структуре металла и на монолитность всей конструкции.
Использование воды при таких испытаниях продиктовано опасностью разлета осколков стенок резервуара в случае его разрыва. Это может произойти из-за резкого расширения воздуха после его сжатия, а вода ― несжимаема, и поэтому травмирование обслуживающего персонала в случае разрыва резервуара не произойдет. Теплая вода нужна для исключения отложения конденсата на стенках резервуара.
|
Из за большого объема этот материал размещен на нескольких страницах:
1 2 3 4 5 6 7 |



