j = J / 6,25, мА/см2,
где: J (мА) - среднее значение силы переменного тока за время измерений; 6,25 - площадь ВЭ, см2.
Действие переменного тока признается опасным при средней плотности тока более 1 мА/см2 (10 А/м2).
При использовании мультиметров, позволяющих измерять напряжение и силу тока, допускается сначала измерить смещение потенциала ВЭ по п.4.2.23, а затем, включив прибор в цепь в качестве амперметра, измерить силу переменного тока на ВЭ.
При наличии амперметра и вольтметра переменного тока одновременно измеряют основной и дополнительный критерии после подключения ВЭ к трубопроводу.
4.3 ПРОЕКТИРОВАНИЕ ЭЛЕКТРОХИМИЧЕСКОЙ ЗАЩИТЫ
Общие положения
4.3.1 ЭХЗ стальных подземных сооружений следует применять в соответствии с требованиями ГОСТ 9.602-89* и разд.4.2 настоящей Инструкции.
ЭХЗ стальных вставок длиной не более 10 м на полиэтиленовых газопроводах на линейной части и участков соединений полиэтиленовых газопроводов со стальными вводами в дома (при наличии на вводе электроизолирующих соединений) разрешается не предусматривать. При этом засыпка траншеи в той ее части, где проложена стальная вставка, по всей глубине заменяется на песчаную.
Стальные газопроводы, реконструируемые методом санации с помощью полимерных материалов, подлежат защите на общих основаниях.
Стальные газопроводы, реконструируемые методом протяжки полиэтиленовых труб, подлежат защите на тех участках, где стальная труба необходима как защитный футляр (под автомобильными, железными дорогами и др.).
Стальные футляры трубопроводов под автомобильными дорогами, железнодорожными и трамвайными путями при бестраншейной прокладке (прокол, продавливание и другие технологии, разрешенные к применению) должны быть, как правило, защищены средствами ЭХЗ, при прокладке открытым способом - изоляционными покрытиями и ЭХЗ в соответствии с п. п.2.1.3, 2.2.5, 2.2.7-2.2.9. В качестве футляров рекомендуется использовать трубы с внутренним защитным покрытием. При защите трубы и футляра средствами ЭХЗ труба и футляр соединяются через регулируемую перемычку.
4.3.2 Основанием для проектирования ЭХЗ новых трубопроводов являются данные о коррозионной агрессивности грунтов и наличии блуждающих токов (разд.4.2 настоящей Инструкции). Основанием для проектирования ЭХЗ действующих трубопроводов являются данные о коррозионной агрессивности грунтов, наличии зон опасного влияния блуждающих постоянных токов и переменных токов (разд.4.2), а также о коррозионных повреждениях трубопроводов.
Указанные данные могут быть получены в результате изысканий организации - разработчика проекта подземных сооружений, либо специализированной организации, привлекаемой на субподрядных началах. Проектирование ЭХЗ должно осуществляться также на основе технических условий, выдаваемых специализированными предприятиями по защите от коррозии или организациями, эксплуатирующими трубопроводы.
4.3.3 Объем измерений, выполняемых при определении коррозионной агрессивности грунтов, наличии блуждающих постоянных токов и переменных токов и зон их опасного влияния, определен в разд.4.2 настоящей Инструкции.
4.3.4 В случае прокладки подземного сооружения на расстоянии до 300 м от путей рельсового транспорта, электрифицированного на постоянном токе, необходимо измерить потенциалы рельсов с целью определения возможности и выбора места подключения дренажной защиты.
4.3.5 При проектировании ЭХЗ трубопроводов в зоне действия ЭХЗ проложенных ранее сооружений необходимо получить данные от эксплуатирующих организаций о номинальных параметрах действующих установок ЭХЗ и о режимах их работы (значения силы тока и напряжения на выходе установок, радиусы действия ЭХЗ).
4.3.6 При разработке проекта согласовывают:
- подключение установок ЭХЗ к сетям переменного тока - с организациями, эксплуатирующими эти сети;
- размещение самих установок и элементов системы ЭХЗ (анодных заземлителей, гальванических анодов (протекторов), воздушных и кабельных линий, контрольно-измерительных пунктов) - с держателями геофонда, землепользователями и организациями, эксплуатирующими смежные подземные сооружения;
- выполнение работ с выходом на проезжую часть в крупных городах - с местными управлениями дорожного хозяйства и ГИБДД.
4.3.7 Исходным для проектирования ЭХЗ новых сооружений является ситуационный план в масштабе 1:2000 (иногда 1:1000) проектируемых и существующих подземных сооружений, а для действующих сооружений - их ситуационный план с выделением тех сооружений, для которых проектируется ЭХЗ.
Во всех случаях на плане должны быть указаны: диаметры сооружений; рельсовые сети электрифицированного транспорта; действующие установки ЭХЗ; точки подключения к рельсовым путям отсасывающих кабелей и существующих дренажных установок; данные о коррозионной агрессивности грунтов и зонах блуждающих токов.
4.3.8 В соответствии со СНиП "Инструкция о порядке разработки, согласования, утверждения и составе проектной документации на строительство предприятий, зданий и сооружений" в состав проектной документации на ЭХЗ входят:
- ситуационный план по п.4.3.7;
- рабочие чертежи с согласованиями по п.4.3.6, включая рабочий план в масштабе 1:500;
- заключение специализированной организации о гидрогеологических условиях для проектирования глубинных заземлителей, включающее при необходимости геолого-геофизический разрез местности;
- спецификация оборудования;
- паспорт проекта;
Пояснительная записка содержит:
- основание для разработки проекта;
- характеристику защищаемых сооружений;
- сведения об источниках блуждающих токов;
- оценку коррозионной ситуации;
- обоснование выбора установок ЭХЗ (при отсутствии соответствующих указаний в технических условиях);
- количество и параметры установок ЭХЗ (сводная таблица);
- сведения о проведенных согласованиях и соответствии проекта требованиям ГОСТ, СНиП и другим нормативным документам;
- сведения о соответствии проекта рекомендациям по охране природы.
В паспорте проекта указываются его краткая техническая характеристика, состав проекта и технико-экономические показатели.
4.3.9 Проектом ЭХЗ должна быть предусмотрена установка стационарных контрольно-измерительных пунктов (КИПов) с интервалом не более 200 м в пределах поселения и не более 500 м вне пределов поселения.
В первую очередь такие КИПы устанавливаются:
- в пунктах подключения дренажного кабеля к трубопроводу;
- в концах заданных зон защиты;
- в местах максимального сближения трубопровода с анодным заземлителем.
Рекомендуется также установка КИПов:
- в местах пересечения трубопровода с рельсами электрифицированного транспорта;
- в местах пересечения трубопровода со смежными подземными сооружениями, не включенными в систему совместной ЭХЗ;
- у одного конца футляров длиной не более 20 м и у обоих концов футляров длиной более 20 м.
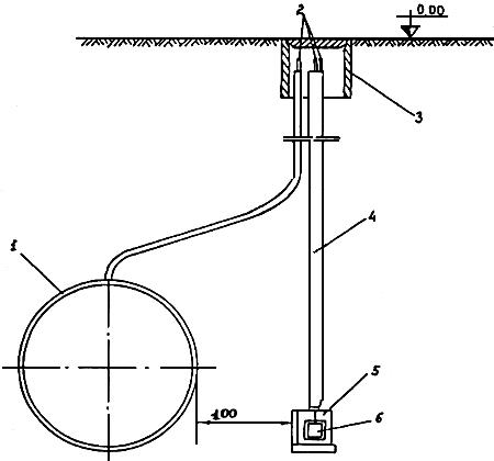
4.3.10 Сборочный чертеж КИПа на трубопроводе приведен в Альбоме 2 МГНП 01-99 "Узлы и детали электрозащиты инженерных сетей от коррозии" (АО институт "МосгазНИИпроект", М.; 1999, стр.67). Стационарный КИП оборудован стационарным медносульфатным электродом сравнения длительного действия с датчиком потенциала (вспомогательным электродом - ВЭ), для чего используют электроды типа ЭНЕС, ЭСН-МС. Измерительная шина (или проводник) от трубопровода, проводники от электрода сравнения и датчика потенциала выведены под ковер или в фальшколодец (рис.4.3.1).
Конструкция и основные параметры электродов ЭНЕС и ЭСН-МС даны в
4.3.11 Для дополнительного контроля действия ЭХЗ рекомендуется предусматривать установку индикаторов общей и (или) локальной коррозии на участках трубопровода с высокой коррозионной агрессивностью грунта при одновременном опасном влиянии блуждающих токов. Наиболее целесообразна установка индикаторов на КУ и в КИПах на концах зон защиты. Индикаторы рекомендуется устанавливать также на участках, где применяется смягченный критерий защищенности по п.2.2.10.
Оценка опасности общей коррозии производится с помощью блока пластин-индикаторов (БПИ), а оценка опасности локальной коррозии - с помощью индикатора локальной коррозии (ИЛК) (Приложение О). В стационарных КИПах на электроде сравнения в качестве датчика потенциала (взамен датчика потенциала по п.4.3.10) может быть использован блок пластин-индикаторов.
4.3.12 С целью обеспечения эффективности ЭХЗ трубопроводов в проекте должна быть предусмотрена установка электроизолирующих соединений (электроизолирующих фланцев, муфт, вставок, сгонов и др.), для газопроводов в соответствии со СНиП .
4.3.13 Установку электроизолирующих соединений следует предусматривать:
- на входе и выходе трубопровода из земли (на участках перехода подземного трубопровода в надземный разрешается вместо установки электроизолирующих соединений применять электрическую изоляцию трубопроводов от опор и конструкций изолирующими прокладками);
- на входе и выходе газопроводов из ГРП (ШРП);
- на вводе трубопроводов в здания, где возможен их электрический контакт с землей через заземленные металлические конструкции, инженерные коммуникации здания и нулевой провод электропроводки здания;
- на вводе трубопровода на объект, являющийся источником блуждающих токов;
- для электрической изоляции отдельных участков трубопровода от остального трубопровода.

Рис.4.3.1 Устройство стационарного контрольно-измерительного пункта с медносульфатным электродом сравнения длительного действия
1 - трубопровод; 2 - контрольные проводники от трубопровода, электрода сравнения и датчика потенциалов; 3 - ковер; 4 - защитная трубка; 5 - электрод сравнения; 6 - датчик потенциала.
4.3.14 Выбор способа ЭХЗ осуществляют следующим образом.
Катодную защиту применяют при опасности почвенной коррозии, при одновременной опасности почвенной коррозии и коррозии блуждающими постоянными токами и переменными токами, при опасности коррозии только переменными токами, а также в зонах опасности только блуждающих постоянных токов, если включением дренажей не удается обеспечить защиту трубопроводов.
Защиту поляризованными или усиленными дренажами применяют при наличии опасности только блуждающих токов для соответствующих участков сближения защищаемого трубопровода с рельсовой сетью электрифицированных на постоянном токе железных дорог или трамвая при устойчивых отрицательных потенциалах рельсов (или знакопеременных потенциалах рельсов трамвая).
Гальваническая защита - защита гальваническими анодами (протекторами) может применяться:
- в грунтах с удельным сопротивлением не более 50 Ом·м для отдельных участков трубопроводов небольшой протяженности, не имеющих электрических контактов с другими сооружениями, при отсутствии опасности блуждающих токов или при наличии опасности блуждающих токов, если вызываемое ими среднее смещение потенциала от стационарного не превышает +0,3 В (с применением вентильных устройств); для участков трубопроводов, электрически отсеченных от общей сети изолирующими соединениями, а также в случаях, когда расчетные защитные токи относительно малы (например, £ 1 А), или как дополнительное средство, когда действующие катодные станции не обеспечивают защиту отдельных участков-трубопроводов;
- для защиты трубопроводов сжиженного газа.
4.3.15 Основные требования к преобразователям для катодной защиты и электродренажам:
1. Неавтоматические преобразователи для катодной и дренажной защиты должны иметь ручное плавное или ступенчатое регулирование выходных параметров по напряжению и току от 10 до 100% номинальных значений.
2. Автоматические преобразователи для катодной и дренажной защиты должны обеспечивать стабильные потенциалы трубопроводов или токи защиты с погрешностью, не превышающей 2,5% от заданного значения.
3. Коэффициент полезного действия преобразователей и усиленных электродренажей в номинальном режиме должен быть не менее 70%.
4. Коэффициент мощности преобразователей и усиленных электродренажей в номинальном режиме должен быть не менее 0,7.
5. Уровень шума, создаваемый средствами катодной и электродренажной защиты, применяемых в городах и населенных пунктах, на всех частотах не должен превышать 60 дБ.
6. Технический ресурс преобразователей, усиленных и поляризованных электродренажей должен быть не менее 50000 ч.
7. Все новые средства ЭХЗ (преобразователи, усиленные и поляризованные дренажи) должны быть подвергнуты эксплуатационным испытаниям не менее одного года на соответствие вышеприведенным требованиям независимой экспертной комиссией по программам, согласованным с потребителем.
8. Коэффициент пульсации выходного напряжения преобразователей и усиленных дренажей определяется требованиями потребителя.
4.3.16 В качестве анодных заземлителей установок катодной защиты применяют железокремнистые, углеграфитовые, стальные и чугунные электроды, помещенные в большинстве случаев в коксовую засыпку.
Технико-экономический расчет анодных заземлений заключается в определении оптимальных конструктивных параметров и числа анодных заземлителей, обеспечивающих минимальные приведенные суммарные затраты (отнесенные к одному году эксплуатации).
Анодные заземлители следует размещать на максимально возможном удалении от защищаемого трубопровода и в грунтах с минимальным удельным электрическим сопротивлением ниже уровня их промерзания.
4.3.17 Для гальванической защиты подземных сооружений рекомендуется использовать магниевые аноды (протекторы), обладающие наиболее отрицательным потенциалом (см. табл.4.3.1).
Таблица 4.3.1
Технические данные магниевых гальванических анодов, упакованных с активатором
Типанода | Габаритные размеры, мм | Масса(округленно), кг | |
диаметр | длина | ||
ПМ-5У | 165 | 580 | 16 |
ПМ-10У | 200 | 700 | 30 |
ПМ-20У | 270 | 710 | 60 |
Следует применять аноды, упакованные с активатором, который предохраняет анод от пассивации, обеспечивает равномерное распределение защитного тока и более равномерное растворение анодов.
Располагать гальванические аноды рекомендуется на расстоянии не менее 4-5 м от трубопровода.
4.3.18 В проектах ЭХЗ прямые нерегулируемые перемычки предусматриваются только для соединения металлических коммуникаций одинакового назначения.
В случае прокладки трубопроводов в одной траншее или в разных траншеях с разносом не более 5 м допускается предусматривать электроперемычки из изолированных стальных полос (с изоляцией не хуже изоляции газопровода). Разъемные соединения должны быть выведены под люк.
В случае расстояния между трубопроводами свыше 5 м электроперемычки следует предусматривать кабелем, имеющим общее сечение жил не менее 50 мм2 по меди. Присоединение кабелей к трубопроводам выполняется через контактные устройства.
Примечание:
При установке электроизолирующих соединений (ЭИС) на надземных участках газопроводов у ГРС, ГРП, ШРП следует устанавливать обводные электроперемычки, присоединяя их перед ЭИС на входе газопровода и после ЭИС на выходе газопровода. Сечение электроперемычек должно быть не менее 50 мм2 по меди (400 мм2 по стали). Если газопровод после ГРП (ШРП) выполняется надземным (по стенам, опорам, эстакадам), обводная электроперемычка не предусматривается.
В проектах совместной защиты различных подземных сооружений предусматривается система поляризованных (или вентильных) и регулируемых перемычек для подключения сооружений. Поляризованные и регулируемые электроперемычки применяются для включения в систему защиты сооружения, отличающегося от основного защищаемого сооружения продольной проводимостью и состоянием изоляционного покрытия, например, водопровода или теплопровода к электрозащитной установке или к газопроводу.
Проектирование ЭХЗ вновь прокладываемых трубопроводов
4.3.19 Проектирование ЭХЗ вновь прокладываемых подземных трубопроводов осуществляется одновременно с проектированием трубопроводов.
4.3.20 Объемы измерений, выполняемых при определении коррозионной агрессивности грунтов, наличия блуждающих постоянных токов и переменных токов и зон их опасного влияния, определяются в соответствии с разд.4.2, объем дополнительных данных - по п. п.4.3.4 настоящей Инструкции.
4.3.21 Параметры системы ЭХЗ определяются расчетным путем. При основных расчетах должны быть определены количество, параметры и места расположения катодных станций, электродренажных установок, гальванических анодов (протекторов) и анодных заземлителей.
4.3.22 Расчет ЭХЗ может проводиться по ведомственным и региональным методикам, основанным на статистическом материале (например, о защитных плотностях тока), собранном эксплуатационными и проектными организациями.
4.3.23. Расчет ЭХЗ при совместной защите сооружений различного назначения может проводиться по методике, приведенной в Методика основана на вычислении средней плотности защитного тока для всех сооружений на данной территории с учетом площади поверхности сооружений каждого типа, площади территории и среднего удельного сопротивления грунта и наиболее пригодна при низких или невысоких сопротивлениях изоляции и(или) значительных утечках защитного тока на посторонние (не защищенные) сооружения. При использовании данной методики радиус действия и ток одной установки вычисляют по формулам (13) и (11) В Приложении П приведен также конкретный пример расчета совместной ЭХЗ.
4.3.24 Расчет ЭХЗ сети трубопроводов может проводиться также на персональном компьютере по программе АРМ ЭХЗ-6П, основанной на решении общей математической задачи о распределении суммарного потенциала по трубам сети. Путем решения задачи "Оптимальная система ЭХЗ" при заданных характеристиках сети, количестве и размещении катодных станций, анодных заземлений и дренажей программа подбирает, в частности, оптимальные (минимальные) токи катодной защиты, обеспечивающие защитные суммарные потенциалы по всей сети. Путем решения задачи "Потенциал при заданных токах" программа при заданных характеристиках сети, количестве и заданных токах катодных станций, количестве и размещении анодных заземлителей и электродренажей программа вычисляет распределение суммарного потенциала по сети, которое может быть сопоставлено с необходимым - с последующим внесением нужных изменений в систему ЭХЗ. После решения указанных основных задач программа подбирает типы выпускаемых катодных станций и необходимые характеристики других устройств системы ЭХЗ. В число вводимых исходных данных входят для каждого участка сети значения удельного сопротивления грунта и принятые или экспериментально определенные значения сопротивления изоляции трубопровода.
Информация о программе АРМ ЭХЗ-6П, а также пример расчета по этой программе приведены в
4.3.25 Расчет анодных заземлений системы ЭХЗ производят с учетом п.4.3.17, исходя из необходимого тока катодной защиты и геолого-геофизического разреза грунта на местности, полученного методом вертикального электрического зондирования и отражающего строение грунта, толщины и удельные сопротивления его слоев. Указанные характеристики грунта вместе с типом, размерами и количеством анодных заземлителей определяют сопротивление растеканию тока анодного заземления, а сила тока и характеристики самого заземления - срок его службы.
4.3.26 Расчет одиночных вертикальных и горизонтальных заземлителей в однородном и двухслойном грунте, однорядных групповых заземлений из вертикальных заземлителей в однородном грунте и (с определенными ограничениями) в двухслойном грунте можно производить на персональном компьютере по программе CAG. Информация о программе CAG и пример ее использования приведены в
4.3.27 Расчет одиночных вертикальных заземлителей (в первую очередь, глубинных) в многослойном грунте с числом слоев от 3 до 12 может производиться на персональном компьютере по программе MLG-2. Информация о программе MLG-2 и пример ее использования приведены в
4.3.28 При использовании программы АРМ ЭХЗ-6П расчет анодного заземления из вертикальных или горизонтальных заземлителей в однородном грунте производится самой программой после расчета и выбора системы катодной защиты.
4.3.29 Расчет защиты гальваническими анодами (протекторами) может проводиться также по методике, приведенной в Расчет дренажной защиты может производиться по методике, приведенной в
4.3.30 Расчет гальванической (протекторной) защиты может быть также проведен на персональном компьютере по программе АРМ ЭХЗ-6П (Приложение Р). Если в процессе расчета катодной защиты необходимые защитные токи оказываются малыми (например, 0,2-0,5 А), программа сама предлагает проектировщику выбрать гальваническую (протекторную) защиту, и если такой выбор подтвержден, производит ее расчет.
Проектирование ЭХЗ действующих трубопроводов
4.3.31 Проектирование ЭХЗ действующих трубопроводов осуществляется в соответствии с Общими положениями п. п.4.3.1-4.3.18 данной Инструкции.
4.3.32 Методики расчета ЭХЗ проектируемых трубопроводов (пп.4.3.19-4.3.30) могут быть применены и для действующих трубопроводов. Однако в данном случае более надежен метод опытного включения. Выбор параметров поляризованного дренажа осуществляется, как правило, методом опытного включения.
4.3.33 В результате опытного включения устанавливают тип ЭХЗ (дренажная или катодная) и основные ее параметры, а также пункты присоединения дренажных кабелей к подземным сооружениям и источникам блуждающих токов или места установки анодных заземлений; зону действия защиты; характер влияния защиты на смежные сооружения, необходимость и возможность осуществления совместной защиты.
4.3.34 Объем измерений, выполняемых при опытном включении, определяется организацией, проектирующей защиту. Порядок измерений излагается в программе, составленной перед началом работ, в которой указываются режимы работы защиты при опытном включении, пункты измерений на трубопроводах и смежных сооружениях, продолжительность измерений в каждом пункте с указанием размещения измерительных приборов.
4.3.35 Измерения потенциалов смежных сооружений в период опытного включения установок ЭХЗ, как правило, выполняются организациями, эксплуатирующими эти сооружения. В отдельных случаях эти работы выполняются организацией, проектирующей защиту, в присутствии представителей эксплуатационных организаций, в ведении которых находятся смежные сооружения.
4.3.36 При испытаниях установок ЭХЗ должны быть приняты меры по исключению их вредного влияния на смежные сооружения.
4.3.37 Вредное влияние защиты на смежные подземные металлические сооружения может быть устранено уменьшением тока защиты; регулировкой режима работы защиты на смежных сооружениях (если они оснащены ЭХЗ); включением смежных сооружений в систему совместной защиты.
4.3.38 Для опытного включения при отсутствии передвижных лабораторий можно использовать выпускаемые электродренажные установки и катодные станции.
4.3.39 При дренажной защите от блуждающих токов точка подключения кабеля к трубопроводу выбирается на таком участке, где средние значения положительных потенциалов трубопровода по отношению к земле максимальны.
Кроме того, пункт подключения дренажных кабелей к трубопроводу выбирается с учетом наименьшего расстояния от пункта присоединения к источнику блуждающих токов (рельсам, дроссель-трансформаторам, отсасывающим пунктам, тяговым подстанциям), возможности доступа к трубопроводу без вскрытия.
При возможности выбора нескольких мест присоединения предпочтение отдают участкам сетей с наибольшими диаметрами при прочих равных условиях.
4.3.40 Не допускается непосредственное присоединение установок дренажной защиты к отрицательным шинам тяговых станций трамвая, а также к сборке отрицательных линий этих подстанций. Не допускается присоединять усиленный дренаж в анодных зонах рельсовой сети, а также к рельсам деповских путей.
4.3.41 Подключение усиленного дренажа к рельсовым путям электрифицированных железных дорог не должно приводить в часы интенсивного движения поездов к тому, чтобы в отсасывающем пункте появлялись устойчивые положительные потенциалы.
4.3.42 Поляризованные и усиленные дренажи, подключаемые к рельсовым путям электрифицированных железных дорог с автоблокировкой, не должны нарушать нормальную работу рельсовых цепей системы централизованной блокировки во всех режимах.
Места и условия подключения поляризованных и усиленных дренажей согласовываются с соответствующими службами МПС.
4.3.43 Среднечасовой ток всех установок дренажной защиты, подключенных к рельсовому пути или сборке отрицательных питающих линий тяговой подстанции магистральных участков электрифицированных дорог постоянного тока, не должен превышать 25% общей нагрузки данной тяговой подстанции.
4.3.44 При опытном включении в качестве дренажного кабеля можно использовать шланговые кабели сечением 16-120 мм2.
4.3.45 При присоединении дренажного кабеля к трубопроводу и элементам отсасывающей сети электротранспорта должен быть обеспечен надежный электрический контакт путем плотного скрепления контактирующих поверхностей.
Присоединение к рельсам трамвая и железных дорог может выполняться при помощи специальной струбцины, обжимающей подошву рельса, или болтовых соединений. В случае сварных стыков используются отверстия, имеющиеся в шейках рельсов.
Подключение дренажного кабеля к отсасывающему пункту, сборке отсасывающих кабелей и средней точке путевого дросселя выполняется с использованием существующего болтового соединения с применением дополнительной гайки.
4.3.46 На опытное включение дренажной установки должно быть получено разрешение транспортного ведомства. Представитель ведомства при опытном включении присоединяет дренажный кабель к сооружениям источников блуждающих токов.
4.3.47 Продолжительность работы опытной дренажной защиты зависит от местных условий и составляет от нескольких десятков минут до нескольких часов. При этом, как правило, должен быть охвачен период максимальных нагрузок электротранспорта.
4.3.48 Измерение тока дренажа, потенциалов защищаемого трубопровода, смежных подземных сооружений и рельсов электротранспорта производят в соответствии с режимами работы защиты, намеченными программой.
4.3.49 Если в результате измерений установлено, что зона эффективного действия поляризованной дренажной установки не распространяется на весь район выявленной опасности, пункт дренирования перемещают или включают одновременно несколько дренажных установок в различных пунктах.
При недостаточной эффективности принятых мер проводят опытное включение усиленных дренажных установок или комплекса дренажных установок с катодной станцией. В последнем случае опытное включение катодной станции проводят после окончательного выбора параметров дренажных установок.
4.3.50 При опытном включении катодной защиты для установки временных заземлений, как правило, выбирают участки, на которых впоследствии предполагается разместить и стационарные заземления.
4.3.51 Временное анодное заземление представляет собой ряд металлических электродов, помещенных вертикально в грунт на расстоянии 2-3 м друг от друга в 1 или 2 ряда. В качестве электродов обычно применяет некондиционные трубы диаметром 25-50 мм и длиной 1,5-2 м, забитые в землю на глубину 1-1,5 м.
4.3.52 Анодное заземление следует относить от подземных сооружений на максимально возможное расстояние. В отдельных случаях при отсутствии достаточной площади для размещения анодного заземления применяют заземления, состоящие из двух и более групп электродов, расположенных на отдельных участках, группы электродов соединяют между собой кабелем либо индивидуально подключают к катодной станции.
Для обеспечения эффективности катодной защиты целесообразно выбирать участки размещения анодных заземлений, на которых между защищаемыми трубопроводами и анодным заземлением отсутствуют прокладки других подземных металлических сооружений.
По возможности анодное заземление следует размещать на участках с минимальным удельным электрическим сопротивлением грунта и без дорожного покрытия (газоны, скверы, пойменные участки рек, прудов т. п.).
4.3.53 Как правило, при опытном включении катодной защиты определяют основной ее параметр - среднее значение силы тока в цепи ЭХЗ.
При составлении проекта остальные параметры защиты (сопротивление дренажного кабеля, сопротивление растеканию тока анодного заземления, напряжение на зажимах катодной станции или вольтодобавочного устройства усиленного электродренажа) рассчитывают либо выбирают с учетом технико-экономических показателей различных вариантов соотношения параметров.
4.3.54 Проектирование ЭХЗ подземных стальных трубопроводов, находившихся в коррозионно-опасных условиях более сроков, указанных в п.2.1.6, осуществляется после проверки их технического состояния в соответствии с НТД и устранения выявленных дефектов.
Примечание:
В связи с тем, что при включении ЭХЗ возможно восстановление и отслаивание продуктов коррозии на поверхности трубопровода, длительно находившегося в эксплуатации, необходимо в течение 1-го года эксплуатации ЭХЗ осуществить проверку плотности (а по возможности и прочности) трубопровода и проверку изоляции "надтрассовым" методом.
4.4 ПРОИЗВОДСТВО СТРОИТЕЛЬНО-МОНТАЖНЫХ РАБОТ ПО ЭЛЕКТРОХИМИЧЕСКОЙ ЗАЩИТЕ
4.4.1 Перед началом строительства проект должен быть зарегистрирован Подрядчиком в организации, осуществляющей такую регистрацию.
Регистрирующая проект организация проверяет действительность на текущий момент согласований проекта, определяет соответствие предусмотренных проектом мероприятий возможностям и требованиям текущего периода, необходимость реализации проекта к моменту регистрации и наличие лицензии у Подрядчика.
Необходимые изменения, вносящиеся в проект на этой стадии, должны быть согласованы со всеми заинтересованными организациями, согласовавшими проект при его разработке, и новыми организациями, чьи интересы затрагиваются при внесении этих изменений в проект.
4.4.2 До начала строительно-монтажных работ строительная организация получает в соответствующих местных органах власти разрешение на производство работ, после чего вызывает на место производства работ представителей всех заинтересованных организаций, уточняет с их помощью наличие и местоположение в зоне производства работ подземных сооружений и коммуникаций, согласовывает с ними план производства работ.
От организации, чьи подземные сооружения или коммуникации находятся в непосредственной (до 5 м) близости к местам производства работ, должны быть получены письменные уведомления с привязками этих сооружений или коммуникаций и особыми требованиями к организации производства работ, если они имеются.
Примечание:
Местными органами власти может быть установлен и другой порядок организации подготовки к строительно-монтажным работам, в соответствии с которым Подрядчик получает уведомления непосредственно по месту размещения заинтересованных организаций. В этих случаях необходимость вызова их представителей на место производства работ определяется в момент получения уведомления.
4.4.3 Перед началом строительно-монтажных работ Подрядчик извещает о дате начала работ Заказчика, проектную организацию, организацию, осуществляющую технический надзор за строительством, и организацию, на обслуживание которой будет передаваться строящиеся защитные установки.
Сроки извещения о начале строительно-монтажных работ определяются указанными организациями.
4.4.4 Строительно-монтажные работы на объектах строительства установок ЭХЗ должны осуществляться по технологиям, предусмотренным проектами производства работ.
4.4.5 Строительство и монтаж узлов и деталей установок ЭХЗ рекомендуется осуществлять по типовым чертежам альбома МГНП 01-99 "Узлы и детали электрозащиты инженерных сетей от коррозии" АО института "МосгазНИИПроект".
Допускается строительство и монтаж отдельных узлов и деталей установок ЭХЗ по чертежам, разработанным специализированными проектными организациями (имеющими лицензии на выполнение конструкторских разработок) и согласованным с Заказчиком, эксплуатационной организацией и подрядными строительными организациями.
4.4.6 На каждом объекте строительства установок ЭХЗ Подрядчиком заводится журнал авторского и технического надзора, в который должны заносить свои замечания и сведения о контроле производства работ те организации, которые осуществляют технический надзор за строительством, авторский надзор и приемку отдельных узлов.
|
Из за большого объема этот материал размещен на нескольких страницах:
1 2 3 |



