ОБ ИСПОЛЬЗОВАНИИ ТРУБ ИЗ ТЕРМОПЛАСТОВ ВО ВНУТРЕННИХ ВОДОСТОКАХ ЗДАНИЙ МОСКОВСКОГО КЛИМАТИЧЕСКОГО РАЙОНА
, директор ГУП «НИИМосстрой», канд. техн. наук , ведущий научный сотрудник ГУП «НИИМосстрой», канд. техн. наук
В настоящее время большинство зданий не мыслятся без устройства внутренних водостоков. Однако 50 лет назад это было не так. Внутренние водостоки использовались крайне редко и устраивались из стальных труб. Именно тогда НИИМосстрой стал предпринимать попытки устраивать внутренние водостоки не из металлических труб, а из асбестоцементных; сначала на 5-этажных домах, «лагутенковских», которые только сейчас повсеместно сносятся. Сборка труб между собой осуществлялась на муфтах с полиизобутиленовой или эпоксидной заделкой.
Затем был осуществлен переход на использование пластмассовых труб. Это сейчас на монтаже внутренних санитарно-технических систем зданий доминируют трубы из полимеров как отечественных, так и многочисленных зарубежных производителей. Из-за рубежа поставляются в значительных объемах трубы из полипропилена (ПП), непластифицированного поливинилхлорида (НПВХ), полиэтилена (ПНД), полибутена (ПБ), акрилнитрилбутадиенстирола (АБС) и различных стеклопластиков. До сих пор одной из эффективных областей их применения являются внутренние водостоки зданий. Определенный интерес в этой связи может представить опыт НИИМосстрой по использованию труб из термопластов для устройства внутренних водостоков зданий в московском климатическом районе. Применение (СН 264-63) началось в блочных зданиях высотой 9 этажей с труб из полиэтилена низкой плотности (ПНП) диаметром 110 мм (толщина стенки ~19 мм), производимых согласно МРТУ на условное давление 1 МПа. Соединялись трубы между собой на раструбах с их заделкой раствором полиизобутилена в бензине. Затем стали применяться трубы из полиэтилена высокой плотности (ПВД) диаметром 110 мм и толщиной стенки около 10 мм. Эти трубы соединялись между собой на свободных стальных фланцах. Для этого концы труб оснащались отбортовками, которые изготовлялись путем термомеханического формования. Иногда трубы из обоих видов полиэтиленов сваривались встык. Начиная с конца 1960-х годов стали применяться трубы диаметром 110 мм и толщиной стенки 3,2 мм. Вначале из винипласта (НПВХ 40, МН 1427-61), монтаж которых осуществлялся согласно требованиям ведомственных строительных норм Главмосстроя ВСН–26–68, а затем только из НПВХ 60 (ТУ ), монтаж которых производился согласно требованиям норм Госстроя СССР СН 478-75. Трубы склеивались между собой внахлестку на раструбах. С начала 1980-х годов и по сей день применяются трубы из НПВХ-100, которые собираются между собой на раструбах с уплотнительными резиновыми кольцами. Их монтаж осуществлялся в соответствии с требованиями различных нормативов. Согласно инструкции Госстроя СССР СН 478-80 трубы диаметром 110 мм (ТУ ) при толщине стенки 3,2 мм могли использоваться для устройства водостоков в зданиях высотой до 9 этажей, а при толщине стенки 5,3 мм – в зданиях высотой до 16 этажей. Согласно ведомственным строительным нормам комплекса перспективного развития г. Москвы ВСН 48-96 трубы диаметром 110 мм с толщиной стенки 3,2 мм (ТУ -94-93) можно использовать для устройства стояков в зданиях до 17 этажей, с толщиной стенки 5,3 мм (ТУ и ТУ ) – в зданиях любой этажности (до 25 этажей). Параллельно с этим в середине 1980-х годов для устройства внутренних водостоков нашли свое применение напорные трубы из полиэтилена высокого давления ПВД диаметром 75 и 90 мм (ГОСТ ). Применялись трубы, поставляемые на катушках. При использовании труб мерной длины они предварительно сваривались встык в бухты диаметром 2,2–3,5 м. Толщина стенки труб соответствовала выбранному типу (каждому типу труб соответствует непрерывное в течение 50 лет эксплуатации допустимое рабочее давление в напорной системе воды при температуре 20 °C: л – 0,25 МПа, сл – 0,4 и с – 0,6 МПа). Выбор типа труб производился с учетом этажности зданий: л – 9 этажей, сл – 16 этажей и с – 25 этажей, применялись трубы в комбинации, например для 25-этажного здания: до 11 этажей – тип с, 11-16 этажей – сл и 17-25 этажей – тип л. В последнее время для устройства внутренних водостоков начали применять канализационные трубы из ПП ( «Стройполимер»). В системы внутренних водостоков входят: водосточные воронки, подвесные горизонтальные линии, стояки, выпуски [1]. Водосточные стояки и все отводные трубопроводы, в том числе прокладываемые ниже пола первого этажа, должны выдерживать гидростатический напор при засорах и переполнениях. При эксплуатации кровель с пластмассовыми водосточными воронками требуется особаятщательность монтажа и эксплуатации с тем, чтобы исключить механическое повреждение воронок. Это сдерживало применение пластмассовых воронок. Сейчас намечается применение водосточных воронок из пластмасс. Длина подземных водосточных выпусков из пластмассовых труб диаметром 110 мм и более допускается до 20 м. Для компенсации температурных удлинений водосточных стояков из ПВХ с клеевыми соединениями предусматривалось применение одного компенсационного соединения с резиновым уплотнительным кольцом на четыре–шесть этажей. Компенсация температурных удлинений стояков из ПВД предусматривалась за счет укладки трубопровода «змейкой» в штрабах и шахтах. При использовании для монтажа водосточных стояков труб длиной 5,6…6,0 м (на два этажа), соединяемых на резиновых кольцах, устанавливали одно неподвижное крепление в середине этажа под раструбом; два прохода через междуэтажные перекрытия считались подвижными креплениями. При использовании труб длиной 2,8…3,0 м (на один этаж) каждая труба крепилась неподвижно.

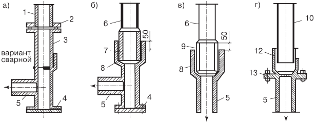
| Рисунок 1. Варианты узлов соединения водосточных стояков из пластмассовых труб с металлическими водосточными воронками 1 - водосточная воронка; 2 - сливной патрубок воронки; 3 - заделка канатом и цементом; 4 - стальная переходная деталь; 5 - резиновая прокладка; 6 - фланцевое соединение; 7 - отбортованный патрубок; 8 - прочистка; 9 - соединение на резиновом кольце стальной и пластмассовой труб; 10 - чугунный патрубок «фланец - гладкий конец»
|
Использовались различные варианты узлов [2, 3] соединения пластмассовых водосточных стояков с чугунными водосточными воронками (рис. 1) и со стальными отводными трубопроводами, прокладываемыми по подвалу для открытого выпуска ливневых вод на отмостку здания (рис. 2). Варианты (рис. 1а и 1б) предусматривали применение стальных переходных патрубков, имеющих фланцевое соединение с пластмассовыми трубами и раструбное соединение под заделку со сливными патрубками воронок. Для выполнения фланцевых соединений использовался отбортованный патрубок из ПВХ или ПЭ, соединяемый с верхней трубой стояка на клею или резиновым уплотнительным кольцом. Вариант (рис. 1в) предусматривал применение раструбного стального переходного патрубка, гладкий конец которого имел диаметр, соответствующий диаметру соединения с трубой из ПВХ на резиновом уплотнительном кольце. Для водосточных стояков диаметром 110 мм также использовались чугунные детали (фланец – гладкий конец). Они соединялись на фланцах со стальным переходным патрубком и на резиновом кольце с трубой из ПВХ или ПНД (рис. 1г). Вариант соединения стояков со стальнымиотводными трубопроводами (рис. 2а) предусматривает применение отбортованных патрубков для выполнения фланцевых соединений (отбортовка выполняется на патрубке с раструбом под резиновое кольцо) либо переходного патрубка из ПВХ или ПНД с запрессованным в него стальным патрубком (рис. 2б). В варианте (рис. 2в) запрессовывается патрубок из ПВХ или ПЭ. Запрессовываемые патрубки служат для создания более жесткой опоры, позволяющей заделывать переходный элемент в раструб стального трубопровода. Для водосточных стояков диаметром 110 мм использовались также чугунные детали (фланец – раструб), соединяемые с трубой из ПВХ или ПНД (рис. 2г).

| Рисунок 2. Варианты узлов соединения водосточных стояков из пластмассовых труб с водосточными отводными трубопроводами из стальных труб 1 - пластмассовая труба с отбортовкой; 2 - фланцевое соединение; 3 - стальной патрубок с фланцем; 4 - прочистка; 5 - стальной трубопровод выпуска; б, 7 - пластмассовая труба с запрессованным стальным патрубком; 8 - заделка канатом и цементом; 9 - вклеенный патрубок из ПВХ; 10 - пластмассовая труба; 11 - чугунная деталь «фланец – раструб»; 12 - резиновое кольцо; 13 - фланцевое соединение
|
При проектировании внутренних водостоков из труб из термопластов исходили из того, что максимальная водосборная площадь, приходящаяся на один водосточный стояк, для московского строительного региона с расчетной интенсивностью 20-минутного дождя, равной 80 л/с с 1 га, при периоде однократного превышения этой интенсивности, равном одному году, не должна быть больше: 400 м2 (диаметр 75 мм), и 1200 м2 (диаметр 110 мм). На самом деле, водосборная площадь, приходящаяся на один водосточный стояк, оказывалась значительно меньшей. В этом усматривались возможности, на будущее, уменьшения диаметров стояков [4] либо использования тонкостенных труб при сохранении диаметров [5] с целью получения дополнительного экономического эффекта за счет применения труб меньшей стоимости (стоимость полимерных труб во многом определяется их массой). При монтаже водосточные воронки и переходные металлические элементы прочно и жестко крепились к строительным конструкциям. Металлические фасонные части, находящиеся на трубопроводе, имели самостоятельное крепление с тем, чтобы предотвратить воздействие на пластмассовый трубопровод их веса. При монтаже водостоков из труб из термопластов также строго соблюдали вертикальность стояков, прочное крепление их элементов к строительным конструкциям; предохранение трубопроводов от засорения строительным мусором, глубину введения гладкого конца трубы в раструб до монтажной метки. Во всех соединениях на резиновых кольцах между торцом одной трубы и внутренней полкой раструба другой трубы оставлялся зазор с тем, чтобы обеспечить условия компенсации возможных температурных удлинений труб. Для монтажа водосточных стояков использовалась, как правило, технологическая схема «сверху вниз». Трубы опускали с крыши или с перекрытия верхнего этажа. Опускание труб через отверстия в междуэтажных перекрытиях и расстановка их по высоте строящегося здания производилась двумя рабочими. Один из них с верхнего этажа осторожно опускал трубу, а другой принимал ее сверху на свой этаж. Трубы, расставленные поэтажно по высоте здания, опирали в наклонном положении на межэтажные перекрытия. Вставлять трубы одна в другую до выполнения соединений с резиновыми уплотнителями или склеивания не допускалось. Для предохранения водосточных труб от нанесения рисок и царапин при их опускании отверстия в междуэтажных перекрытиях обкладывались пергамином, толем или рубероидом. Контейнеры (пакеты, пачки) с трубозаготовками на крышу или перекрытие верхнего этажа поднимали с помощью башенных кранов. Трубозаготовки хранили в упакованном виде вплоть до начала монтажа водосточных стояков. Другая технологическая схема монтажа водосточных стояков «снизу вверх» использовалась только в случаях, когда вначале осуществлялась прокладка стального отводного трубопровода в подвале. Переходные детали с чугунным сливным патрубком водосточной воронки и стальным отводным трубопроводом соединяли традиционно – путем законопачивания белым и смоляным канатами и последующей зачеканки расширяющимся цементом. При выполнении узлов соединения металлических труб с пластмассовыми использовались конопатки и чеканки только с гладкими рабочими поверхностями и скругленными кромками. В процессе работы ни в коем случае не допускалось нанесение ударов по пластмассовым деталям. Монтаж системы водостоков с использованием соединений на резиновых кольцах выполняли в следующей технологической последовательности. Прокладывали в подвале стальной отводной трубопровод. После доставки водосточных трубозаготовок на строительный объект их башенным краном поднимали на крышу или на перекрытие верхнего этажа. После этого проводился входной контроль качества поступивших трубозаготовок. Концы труб тщательно очищали от грязи. Размечали и прикрепляли к строительным конструкциям элементы крепежа. Опускали необходимое количество труб до самого низа с попутной расстановкой их по всей высоте здания. В подвале (либо на 1-м этаже) заделывали переходную деталь в раструб стального отводного трубопровода. На этажах обертывали каждую трубу в местах прохода через перекрытия пергамином (толем, рубероидом) в два слоя и закрепляли мягкой проволокой или шпагатом. После этого собирали трубы между собой по высоте здания. Отдельные трубы закрепляли к строительной конструкции, стягивая полукольца крепежных скоб болтами с гайками. На чердаке в раструб верхней водосточной трубы вставляли стальную переходную деталь и прикрепляли ее к строительному элементу. Сливной патрубок водосточной воронки заделывали в раструб стальной переходной детали. Трубы из ПВД для изготовления водосточных бухтстояков полной заводской готовности поставлялись с заводов-изготовителей труб на катушках или в бухтах. Технология устройства внутренних водостоков из полиэтиленовых бухт-стояков полной заводской готовности включала следующие технологические процессы: на заводе монтажных заготовок трубы сваривались встык нагревом в трубные плети, длина которых соответствовала длине водосточных стояков (от отводного водосточного трубопровода до водосточной воронки); к концам трубных плетей приваривались переходные патрубки для соединения труб с металлическими элементами систем водостоков – чугунными водосточными воронками и стальными отводными трубопроводами водосточных выпусков; трубные плети либо трубы, поступившие от заводаизготовителя на катушке, в процессе сварки на специальном барабане свертывались в бухты, скреплялись эластичными хомутами и подвергались пневматическим (гидравлическим) испытаниям; готовая бухта-стояк доставлялась на строительную площадку, поднималась башенным краном на крышу, разматывалась и опускалась в подготовленную для прокладки водосточного стояка шахту (отверстия по высоте шахты во всех перекрытиях оснащались защитными обкладками с целью предохранения полиэтиленовых труб от порезов и нанесения глубоких царапин); трубная плеть крепилась по всей высоте здания на нескольких этажах к строительным конструкциям; переходный патрубок с одного конца трубной плети подсоединялся к водосточному выпуску, а с другого конца – к водосточной воронке; производились гидравлические испытания смонтированной системы. Стальные отводные трубопроводы, которые проложены по подвалу для открытого выпуска ливневых вод на отмостку здания, с водосточными стояками соединялись с помощью либо фланцевого узла, аналогичного узлу соединения стояка с воронкой, либо с помощью переходной детали. Переходная деталь представляет собой отрезок трубы из ПВД, один его конец приваривают к бухте, а другой запрессовывают в стальной патрубок. Этот патрубок служит жесткой опорой, которая позволяет осуществить заделку переходного элемента в раструб стального трубопровода. При глубине раструба 100 мм стальной патрубок выступал из полиэтиленовой трубы на 50 мм, что обеспечивало удовлетворительную водонепроницаемость узла после его заделки. Полиэтилен является мягким полимерным материалом. Поэтому трубы и бухты оберегались от надрезов и царапин. Не допускалось их перемещение волоком. Бухтыстояки из таких труб транспортировались при температуре до минус 25 °С, а монтировались – до минус 20 °С. Их перевозка производилась специальным автотранспортом, предназначенным для крупногабаритных грузов, как правило, в горизонтальном положении. При перевозке в вертикальном либо в наклонном положениях бухты-стояки тщательно закреплялись. После доставки на строительную площадку бухты-стояки сразу же употреблялись в дело. Хранились на приобъектном складе только в зоне действия башенного крана на специально отведенных для этого горизонтальных площадках в штабелях высотой до 1,5 м. Бухты-стояки поднимались башенным краном на кровлю здания в горизонтальном положении. Их строповка выполнялась специальными хомутами в четырех местах, предварительно обернутых рубероидом. На кровле бухту укладывали рядом с отверстием шахты для водосточного стояка. Для качественного проведения работ по размотке бухты-стояка в трубную плеть и заведения ее в шахту, с целью получения возможности изогнуть трубы по допустимому радиусу, использовались подмости высотой около 1,5 м. Иногда бухта-стояк разматывалась из вертикального положения непосредственно в шахту двумя рабочими. Один раскреплял хомуты, поддерживал бухту, заводил ее в шахту и следил за тем, чтобы при разматывании не произошло перегибов на трубах. Второй рабочий опускал трубную плеть по мере разматывания бухты-стояка по шахте с этажа на этаж, следил за правильным расположением труб в шахте и производил предварительный ее крепеж хомутами, установленными на соответствующих этажах. Отклонение длины стояка, связанное с допусками на размеры и монтаж строительных конструкций, температурными условиями монтажа и т. д., регулировалось за счет укорочения нижнего стального переходного патрубка. Гидравлические испытания систем внутренних водостоков осуществляли путем заполнения их водой на всю высоту. Испытания проводились после наружного осмотра трубопроводов и устранения видимых дефектов. Гидравлическое испытание склеенных трубопроводов начинались не ранее чем через 24 ч после выполнения последней склейки. Система водостоков считалась выдержавшей испытания, если по истечении не менее 10 мин после ее наполнения при наружном осмотре всех ее элементов не обнаружено течи или других дефектов, а уровень воды не понизился. Заделка штраб, коробов и отверстий в межэтажных перекрытиях производилась после окончания всех работ по монтажу и испытанию трубопроводов. В заключение следует отметить, что за40 лет эксплуатация отдельных внутренних водостоков зданий из труб из термопластов в московском климатическом регионе не отмечено никаких нареканий от эксплуатирующих организаций по поводу нарушений прочности либо качества функционирования. Связывается это с несколькими факторами. Во-первых, с хорошим качеством строительно-монтажных работ, что обуславливается, как и предполагалось разработчиками (ГУП «НИИМосстрой»), высокими монтажно-технологическими свойствами труб из термопластов. Во-вторых, тем, что на стояки внутренних водостоков (диаметры 75-110 мм) пришлись водосборные площади, которые в несколько раз меньше тех, при которых может возникнуть напорный режим. То есть, системы внутренних водостоков из труб из термопластов работали весь период в самотечном режиме. В-третьих, как показали исследования, температурные условия, в которых находились трубы в течение всех сезонов года близки к нормальным, что весьма благоприятно для термопластов.
ЛИТЕРАТУРА 1. Лобачев водостоки зданий., М.: изд-во «Литературы по строительству», 1967, 96 с. 2. , , и др. Справочные материалы. Пластмассовые трубы в строительстве. Часть 1. Трубы и детали трубопроводов. Проектирование трубопроводов. М.: ВАЛАНГ, 1997, 287 с. 3. , , и др. Справочные материалы. Пластмассовые трубы в строительстве. Ч. 2. Строительство трубопроводов. Эксплуатация и ремонт трубопроводов. М.: ВАЛАНГ, 1997, 188 с. 4. , Ехлаков пластмассовых санитарно-технических устройств. М.: «Стройиздат», 1990, 239 с. 5. , К проблеме использования тонкостенных ПВХ труб во внутренних водосточных системах высотных зданий. Реф. Сб.: «Передовой опыт в строительстве Москвы», № 4, 1992, с.19-21.
|