Лекции по дисциплине «Гидравлика»
Специальности:
130503 Разработка и эксплуатация нефтяных и газовых месторождений
130504 Бурение нефтяных и газовых скважин
150411 Монтаж и техническая эксплуатация промышленного оборудования (по отраслям)
Лекция 1. ВВЕДЕНИЕ. ПРЕДМЕТ ГИДРАВЛИКИ И КРАТКАЯ ИСТОРИЯ ЕЕ РАЗВИТИЯ

Рис. 1.1. Разделы гидромеханики
Гидравлика (техническая механика жидкости) - прикладная часть гидромеханики, которая использует те или иные допущения для решения практических задач. Она обладает сравнительно простыми методиками расчета по сравнению с теоретической механикой жидкости, где применяется сложный математический аппарат. Однако гидравлика дает достаточную для технических приложений характеристику рассматриваемых явлений.
1.2. Жидкость и силы, действующие на неё
Жидкостью в гидравлике называют физическое тело способное изменять свою форму при воздействии на нее сколь угодно малых сил. Различают два вида жидкостей: жидкости капельные и жидкости газообразные (рис.1.2).

Рис. 1.2. Виды жидкостей

Рис. 1.3. Сжатие жидкостей и газов
|
|
(Н/м2) или (Па), |
где F - сила, действующая на жидкость, Н (ньютоны);
S - площадь, на которую действует эта сила, м² (кв. метры).

Рис. 1.5. Схема к определению давлений
За единицу давления в Международной системе единиц (СИ) принят паскаль - давление вызываемое силой 1 Н, равномерно распределенной по нормальной к ней поверхности площадью 1 м²:
1 Па = 1 Н/м² = 10-3 кПа = 10-6 МПа.
Размерность давления обозначается как "Па" (паскаль), "кПа" (килопаскаль), "МПа" (мегапаскаль). В технике в настоящее время продолжают применять систему единиц МКГСС, в которой за единицу давления принимается 1 кгс/м².
1 Па = 0,102 кгс/м² или 1 кгс/м² = 9,81 Па.

Рис. 1.6. Силы поверхностного натяжения

Рис. 1.7. Профиль скоростей при течении вязкой жидкости вдоль стенки

Рис. 1.8. Способы оценки вязкости жидкости
Лекция 2. ОСНОВЫ ГИДРОСТАТИКИ
Гидравлика делится на два раздела: гидростатика и гидродинамика. Гидростатикой называется раздел гидравлики, в котором рассматриваются законы равновесия жидкости и их практическое применение.
2.1. Гидростатическое давление
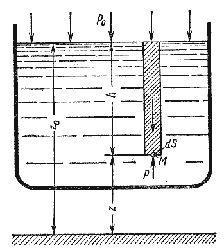
В покоящейся жидкости всегда присутствует сила давления, которая называется гидростатическим давлением.
Если эту силу P разделить на площадь дна Sabcd, то мы получим среднее гидростатическое давление, действующее на дно резервуара.
![]()
Гидростатическое давление обладает свойствами.
Свойство 1. В любой точке жидкости гидростатическое давление перпендикулярно площадке касательной к выделенному объему и действует внутрь рассматриваемого объема жидкости.

Рис. 2.1. Схема, иллюстрирующая свойства гидростатического давления:
а - первое свойство; б - второе свойство
Свойство 2. Гидростатическое давление неизменно во всех направлениях.
Свойство 3. Гидростатическое давление в точке зависит от ее координат в пространстве.
2.2. Основное уравнение гидростатики

Рис. 2.2. Схема для вывода основного уравнения гидростатики
2.3. Давление жидкости на плоскую наклонную стенку

Рис. 2.3. Схема к определению равнодействующей гидростатического давления на плоскую поверхность
2.4. Давление жидкости на цилиндрическую поверхность

Рис. 2.4. Схема к определению равнодействующей гидростатического давления на цилиндрическую поверхность
2.5. Закон Архимеда и его приложение

Рис. 2.5. Поперечный профиль судна
Лекция 3. ОСНОВЫ ГИДРОДИНАМИКИ
Гидродинамика - раздел гидравлики, в котором изучаются законы движения жидкости и ее взаимодействие с неподвижными и подвижными поверхностями.
3.1. Основные понятия о движении жидкости
Живым сечением ω (м²) называют площадь поперечного сечения потока, перпендикулярную к направлению течения.

Рис. 3.1. Живые сечения: а - трубы, б - клапана
Смоченный периметр χ ("хи") - часть периметра живого сечения, ограниченное твердыми стенками (рис.3.2, выделен утолщенной линией).

Рис. 3.2. Смоченный периметр
Средняя скорость потока υ - скорость движения жидкости, определяющаяся отношением расхода жидкости Q к площади живого сечения ω:
![]()
Линия тока (применяется при неустановившемся движении) это кривая, в каждой точке которой вектор скорости в данный момент времени направлены по касательной.
Трубка тока - трубчатая поверхность, образуемая линиями тока с бесконечно малым поперечным сечением. Часть потока, заключенная внутри трубки тока называется элементарной струйкой.

Рис. 3.3. Линия тока и струйка

Рис. 3.4. Труба с переменным диаметром при постоянном расходе
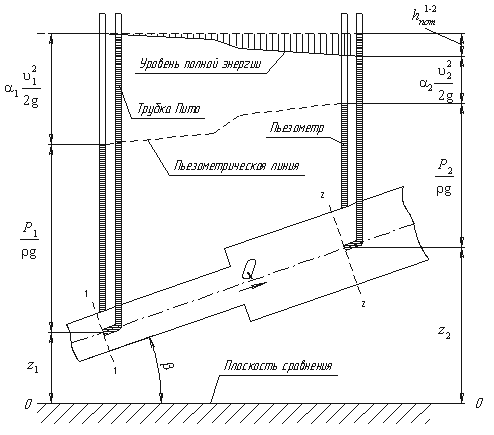
Уравнение Бернулли для идеальной жидкости

Рис.3.5. Схема к выводу уравнения Бернулли для идеальной жидкости
![]()
Уравнение Бернулли для реальной жидкости

Рис.3.6. Схема к выводу уравнения Бернулли для реальной жидкости
Уравнение Бернулли для реальной жидкости будет иметь вид:
![]()
Измерение скорости потока и расхода жидкости

Рис. 3.7. Трубка Пито и pасходомер Вентури
Лекция 4. ГИДРАВЛИЧЕСКИЕ СОПРОТИВЛЕНИЯ
4.1. Режимы движения жидкости

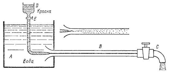
Рис. 4.1. Схема установки Рейнольдса
![]()
где ν - кинематическая вязкость;
k - безразмерный коэффициент;
d - внутренний диаметр трубы.
![]()
4.2. Кавитация

Рис. 4.2. Схема трубки для демонстрации кавитации
4.3. Потери напора при ламинарном течении жидкости

Рис. 4.3. Схема для рассмотрения ламинарного потока
![]()
где λ - коэффициент гидравлического трения, который для ламинарного потока вычисляется по выражению:
![]()
Однако при ламинарном режиме для определения коэффициента гидравлического трения λ рекомендует при Re < 2300 применять формулу
![]()
4.4. Потери напора при турбулентном течении жидкости
Характер линий тока в трубе в данный момент времени отличается большим разнообразием (рис.4.5).
Рис. 4.4. Пульсация скорости в турбулентном потоке
Рис. 4.5. Характер линий тока в турбулентном потоке
Рис. 4.6. Модель турбулентного режима движения жидкости
формула, называемая формулой Вейсбаха-Дарси и имеющая следующий вид:
![]()

Рис. 4.7. График Никурадзе
|
Стекло |
0 |
|
Трубы, тянутые из латуни, свинца, меди |
0…0,002 |
|
Высококачественные бесшовные стальные трубы |
0,06…0,2 |
|
Стальные трубы |
0,1…0,5 |
|
Чугунные асфальтированные трубы |
0,1…0,2 |
|
Чугунные трубы |
0,2…1,0 |
Таблица 4.1
Таблица для определения коэффициента гидравлического трения


Рис. 4.8. Номограмма Колбрука-Уайта для определения коэффициента гидравлического трения
4.5. Местные гидравлические сопротивления

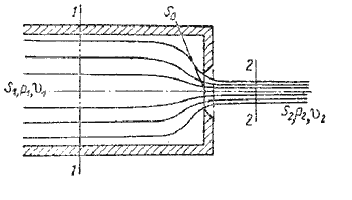
Рис. 4.9. Внезапное расширение трубы
![]()
где S1, S2 - площадь поперечных сечений 1-1 и 2-2.
![]()

Рис. 4.10. Постепенное расширение трубы

Рис. 4.11. Зависимость ζдиф от угла

|
Рис. 4.12. Внезапное сужение трубы |
4.13. Конфузор |
Полная потеря напора определится по формуле ;
![]()

Рис. 4.14. Сопло

|
Рис. 4.15. |
Рис. 4.16. Зависимости ζкол от угла δ |
Рис. 4.17. Отвод |
Лекция 5. ИСТЕЧЕНИЕ ЖИДКОСТИ ИЗ ОТВЕРСТИЙ, НАСАДКОВ И ИЗ-ПОД ЗАТВОРОВ
5.1. Истечение через малые отверстия в тонкой стенке при постоянном напоре

Рис. 5.1. Истечение из резервуара через малое отверстие

Рис. 5.2. Истечение через круглое отверстие


|
Рис. 5.3. Зависимость ε, φ и от числа Reu |
Рис. 5.4. Инверсия струй |
5.2. Истечение при несовершенном сжатии
Несовершенное сжатие наблюдается в том случае, когда на истечение жидкости через отверстие и на формирование струи оказывает влияние близость боковых стенок резервуара (рис.5.5).

Рис. 5.5. Схема несовершенного сжатия струи
5.3. Истечение под уровень

Рис. 5.6. Истечение по уровень
5.4. Истечение через насадки при постоянном напоре

Рис. 5.7. Истечение через насадок
Коэффициент расхода μ, зависящий от относительной длины насадка l / d и числа Рейнольдса, определяется по эмпирической формуле:


Рис. 5.8. Второй режим истечения через насадок

Рис. 5.9. Истечение жидкости через насадки а - расширяющиеся конические; б - сужающиеся конические; в - коноидальные; г - внутренние цилиндрические
5.5. Истечения через отверстия и насадки при переменном напоре (опорожнение сосудов)

Рис. 5.10. Схема опорожнения резервуара
|
|
|
|
Рис. 5.11. Опорожнение призматического резервуара |
Рис. 5.12. Опорожнение непризматического резервуара |
5.6. Истечение из-под затвора в горизонтальном лотке

Рис. 5.13. Истечение из-под затвора через незатопленное отверстие

Рис. 5.14. Истечение из-под затвора при затопленном отверстии
5.7. Давление струи жидкости на ограждающие поверхности

Рис. 5.15. Взаимодействие струи жидкости с неподвижной поверхностью

Рис. 5.16. Составные части свободной струи
Лекция 6. ГИДРАВЛИЧЕСКИЙ РАСЧЕТ ПРОСТЫХ ТРУБОПРОВОДОВ
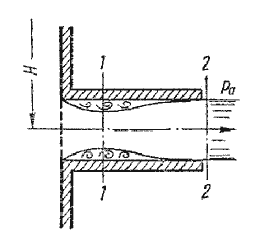
6.1. Простой трубопровод постоянного сечения

Рис. 6.1. Схема простого трубопровода

Рис.6.2. Зависимости потребных напоров от расхода жидкости в трубопроводе
6.2. Соединения простых трубопроводов
Последовательное соединение. Возьмем несколько труб различной длины, разного диаметра и содержащих разные местные сопротивления, и соединим их последовательно (рис. 6.3, а).

Рис. 6.3. Последовательное соединение трубопроводов

Рис. 6.4. Параллельное соединение трубопроводов
Разветвленное соединение. Разветвленным соединением называется совокупность нескольких простых трубопроводов, имеющих одно общее сечение - место разветвления (или смыкания) труб.

Рис. 6.5. Разветвленный трубопровод
6.3. Сложные трубопроводы
Сложный трубопровод в общем случае составлен из простых трубопроводов с последовательным и параллельным их соединением (рис. 6.6, а) или с разветвлениями (рис. 6.6, б).

Рис. 6.6. Схемы сложных трубопроводов

Рис. 6.7. Схема сложного кольцевого трубопровода
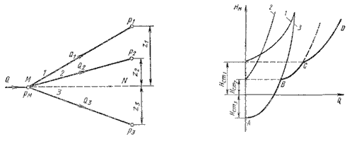
6.4. Трубопроводы с насосной подачей жидкостей

Рис. 6.8. Трубопроводы с насосной подачей

Рис. 6.9. Графическое нахождение рабочей точки
6.5. Гидравлический удар
Гидравлическим ударом называется резкое повышение давления, возникающее в напорном трубопроводе при внезапном торможении потока рабочей жидкости.

Рис. 6.10. Стадии гидравлического удара

Рис. 6.11. Изменение давления по времени у крана
6.6. Изменение пропускной способности трубопроводов в процессе их эксплуатации

Таблица 7.1
Условные обозначения основных гидроэлементов

СПИСОК ЛИТЕРАТУРЫ
1. , , и др. Примеры расчетов по гидравлике: Учебное пособие. - М.: Стройиздат, 19с.
2. , , и др. Гидро - пневмоавтоматика и гидропривод мобильных машин. Объемные гидро - и пневмомашины и передачи. - Минск: Высшая школа, 19с.
3. Башта и гидропневмоавтоматика. - М.: Машиностроение, 19с.
4. , , и др. Гидравлика, гидромашины и гидроприводы: Учебник. 2-е изд., перераб. - М.: Машиностроение, 19с.
5. Богданович механизмы поступательного движения: Схемы и конструкции. - М., Киев: МАШГИЗ, 19с.
6. , Михайлов : Учебник. Изд. 2-е, перераб. и доп. - М.: Стройиздат, 19с.
7. Васильченко оборудование мобильных машин: Справочник. - М.: Машиностроение, 19с., ил.
8. Задачник по гидравлике / Под ред. . - М., Л.: Государственное энергетическое издательство, 19с.
9. Задачник по гидравлике, гидромашинам и гидроприводу: Учеб. Пособие / , , и др.; Под ред. . - М.: Высш. шк., 19с.: ил.
10. Каверзин и дипломное проектирование по гидроприводу самоходных машин: Учебное пособие. - Красноярск: ПИК "Офсет", 19с.
11. , Яхно в инженерной практике. - К.: Техника, 19с.
12. Копырин и гидравлические машины. - М.: Высшая школа, 19с.
13. , , . Теоретическая гидромеханика. Часть 1. 6-е изд., перераб и дополн. - М.: Государственное издательство физико-математической литературы, 19с.
14. , , и др. Гидравлика: Учебник. - М.: Энергия, 19с., с ил.
15. Лабораторный курс гидравлики, насосов и гидропередач: Учеб. Пособие / Под ред. и . - 2-е изд., перераб. идоп. - М.: Машиностроение, 19с., с ил.
16. Лебедев гидропривод машин лесной промышленности. - М.: Лесная промышленность, 19с.
17. Лебедев машин лесной промышленности. - М.: Лесная промышленность, 19с.
18. Навроцкий и проектирование гидро - и пневмопривода: Учебник. - М.: Машиностроение, 19с., ил.
19. Осипов , гидравлические машины и и гидропривод: Уч. Пособие. 3-е изд., перераб. и доп. - М.: Лесная промышленность. 19с.
20. Осипов машин лесной промышленности и лесного хозяйства. - М.: Лесная промышленность, 19с.
21. Примеры гидравлических расчетов: Учеб. Пособие / Под ред. - 2-е изд., перераб. - М.: Транспорт, 19с.
22. Прокофьев -поршневой регулируемый гидропривод. М.: Машиностроение, 19с.
23. Рабинович . 2-е изд. Исправл. - М., 19с.
24. Рабинович . 3-е изд., исправл. и перераб. - М.: Государственное издательство физико-математической литературы, 19с.
25. Сборник задач по машиностроительной гидравлике: Учеб. пособие / , , и др.; Под ред. и . - 4-е изд., перераб. - М.: Машиностроение, 19с., ил.
26. , Усов гидроприводы: Справочник. - 2-е изд., перераб. и доп. - М: Машиностроение, 19с.: ил.
27. Справочное пособие по гидравлике, гидромашинам и гидроприводам / , , и др.; Под. ред. . - 2-е изд., перераб. и дополн. - Минск: Высшая школа, 19с.
28. Угинчус и гидравлические машины. - М. Л: Государственное энергетическое издательство, 19с.
29. Чугаев . - Л.: Энергия, 19с., ил.
Общая характеристика привода
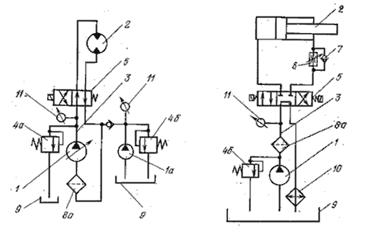
1.1. Структурная схема гидропривода
Гидроприводом называется совокупность устройств, предназначенных для приведения в движение механизмов и машин посредством рабочей жидкости, находящейся под давлением, с одновременным выполнением функций регулирования и реверсирования скорости движения выходного звена гидродвигателя.

Рис.1.1. Схема объемного гидропривода
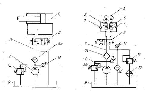
1.2. Классификация и принцип работы гидроприводов


Ри.1.2. Варианты принципиальных схем гидроприводов:
а - с объемным регулированием; б - с дроссельным регулированием;
в - нерегулируемый; г - с дроссельным регулированием рабочего и холостого ходов
2.2. Выбор и эксплуатация рабочих жидкостей
Таблица 2.1
Значения вязкости при крайних температурных пределах

2.3. Гидравлические линии

Рис.2.1. Схемы конструкции рукавов с оплеткой:
1 - внутренний резиновый слой; 2 - металлическая оплетка;
3 - промежуточный резиновый слой; 4 - наружный резиновый слой

Рис.2.2. Металлические рукава:
1 - профилированная лента; 2 - уплотнитель; 3 - проволочная оплетка
2.4. Соединения

Рис.2.3. Соединение по наружному конусу

Рис.2.4. Соединение по внутреннему конусу

Рис.2.5. Соединение с врезающимся кольцом

Рис.2.6. Фланцевое соединение

Рис.2.7. Подвижное разборное соединение:
а - шарнирное; б - в виде трубы, свернутой в спираль

Рис.2.8. Заделка концов рукавов:
а - при давлении до 0,5 МПа; б - при давлении свыше 10 МПа
Насосы и гидромоторы
3.1. Некоторые термины и определения
Насос - гидравлическая машина, в которой механическая энергия, приложенная к выходному валу, преобразуется в гидравлическую энергию потока рабочей жидкости.
Гидродвигатель - машина, в которой энергия потока рабочей жидкости преобразуется в энергию движения выходного звена. Если выходное звено получает вращательное движение, то такой гидродвигатель называют гидромотором, если поступательное, то силовым цилиндром.
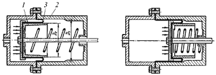
3.2. Гидравлические машины шестеренного типа
Шестеренные насосы. Основная группа шестеренных насосов состоит из двух прямозубых шестерен внешнего зацепления (рис.3.1, а).

Рис.3.1. Схемы шестеренных насосов:
а - с внешним зацеплением; б - с внутренним зацеплением; в - трехшестеренный

Рис.3.2. Шестеренный насос НШ-К и его составные элементы
3.3. Пластинчатые насосы и гидромоторы

Рис.3.3. Схема пластинчатого насоса однократного действия:
1 - ротор; 2 - приводной вал; 3 - пластины; 4 - статор;
5 - распределительный диск; 6, 8 - окна; 7 - гидролиния всасывания; 9 - гидролиния нагнетания

где b - ширина пластин; е - эксцентриситет; D - диаметр статора; z - число платин; t - толщина платин; n - частота вращения ротора.

a)
1, 7 - распределительные диски; 3 - статор; 4 - ротор; 5 - пластины;
6, 8 - окна напорной полости; 2, 12 - окна всасывающей полости; 9 - штифт;
10 - внутренняя поверхность статора; 11 – отверстие
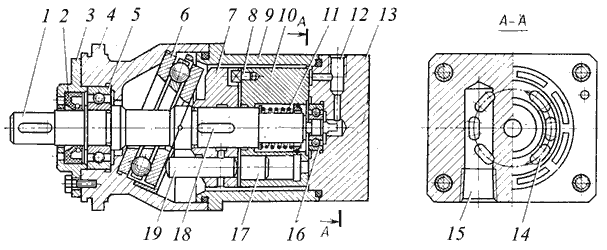
3.4. Радиально-поршневые насосы и гидромоторы

Рис.3.6. Схема радиально-поршневого насоса однократного действия

Рис.3.7. Радиально-поршневой насос однократного действия типа НП

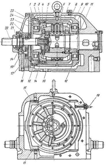
Рис.3.9. Аксиально-поршневой гидромотор типа Г15-2:
1 - вал; 2 - манжета; 3 - крышка; 4, 9 - корпус; 5, 16 - подшипник; 6 - радиально упорный подшипник; 7 - барабан; 8 - поводок; 10 - ротор; 11 - пружины; 12 - дренажное отверстие;
13 - распределительное устройство; 14 - полукольцевые пазы; 15 - отверстие напорное;
17 - поршни; 18 - шпонка; 19 - толкатель

Рис.3.9. Аксиально-поршневой гидромотор типа Г15-2:
1 - вал; 2 - манжета; 3 - крышка; 4, 9 - корпус; 5, 16 - подшипник; 6 - радиально упорный подшипник; 7 - барабан; 8 - поводок; 10 - ротор; 11 - пружины; 12 - дренажное отверстие;
13 - распределительное устройство; 14 - полукольцевые пазы; 15 - отверстие напорное;
17 - поршни; 18 - шпонка; 19 - толкатель
Рис.3.11. Структура условного обозначения аксиально-поршневых гидромашин серий 200 и 300
4.1. Механизмы с гибкими разделителями

Рис.4.1. Схемы мембран:
а - плоская с эластичным кольцом; б - гофрированная металлическая

Рис.4.2. Схемы работы мембранного гидроцилиндра

Рис.4.3. Схема металлического сильфона: а - сильфон; б - цельная стенка; в - сварная стенка
4.2. Классификация гидроцилиндров
Таблица 4.1
Классификация гидроцилиндров

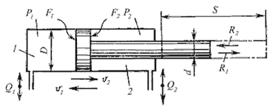
4.3. Гидроцилиндры прямолинейного действия
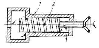
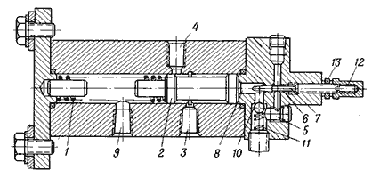
Для привода рабочих органов мобильных машин наиболее широко применяют поршневые гидроцилиндры двухстороннего действия с односторонним штоком (рис.4.4).

Рис.4.4. Гидроцилиндр:
1 - грязесъемник; 2 - гильза; 3 - шток; 4 - стопорное кольцо; 5 - манжета;
6 - поршень; 7 - проушина; 8 - грундбукса

Рис.4.5. Принципиальные схемы демпферов: а - пружинный демпфер; б - демпфер с ложным штоком; в - демпфер регулируемый с отверстием; г - гидравлический демпфер
4.4. Расчет гидроцилиндров

Рис.4.6. Основные и расчетные параметры гидроцилиндра
4.5. Поворотные гидроцилиндры

Рис.4.7. Поворотный однолопастной гидроцилиндр:
а - схема; б - общий вид

Рис.4.8. Поворотные гидроцилиндры: а - двухлопастной; б - трехлопастной

Рис.4.9. Речно-шестеренный механизм 4.10. Условное обозначение
поворотного гидроцилиндра
Гидрораспределители
5.2. Золотниковые гидрораспределители

Рис.5.1. Схема (а) и обозначение (б) гидрораспределителя

Рис.5.2. Схема работы золотникового гидрораспределителя

Рис.5.3. Примеры обозначения типов распределителей
Таблица 5.1
Виды управления распределителями

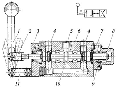
Рис.5.4. Гидрораспределитель с ручным управлением

Рис.5.5. Гидрораспределитель с электрогидравлическим управлением

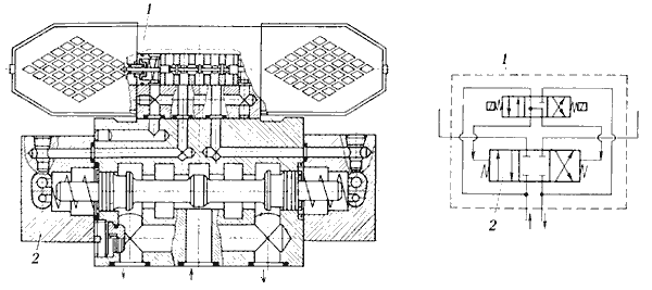
Рис.5.6. Общий вид (а) и продольный разрез (б) моноблочного
четырехзолотникового гидрораспределителя

Рис.5.7. Конструктивные исполнения золотников
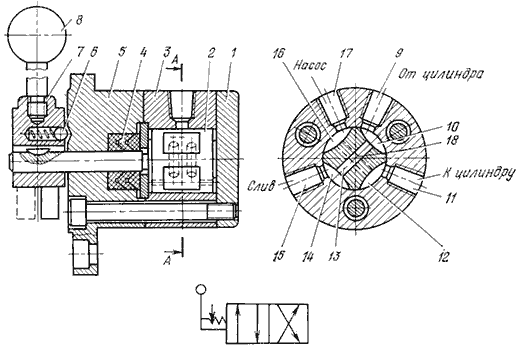
5.3. Крановые гидрораспределители

Рис.5.8. Схемы включения в гидросистему пробкового крана

Рис.5.9. Крановый гидрораспределитель и его условное обозначение
5.4. Клапанные гидрораспределители

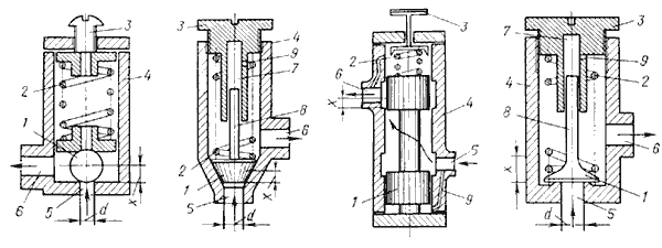
Рис.5.10. Клапанные распределители:
а, б - с качающимся рычагом; в - с кулачковым приводом;
г - с электромагнитным приводом
6.1. Общие сведения о гидроаппаратуре
Гидроаппаратом называется устройство, предназначенное для изменения или поддержания заданного постоянного давления или расхода рабочей жидкости, либо для изменения направления потока рабочей жидкости. Гидроаппаратура подразделяется на регулирующую и направляющую.
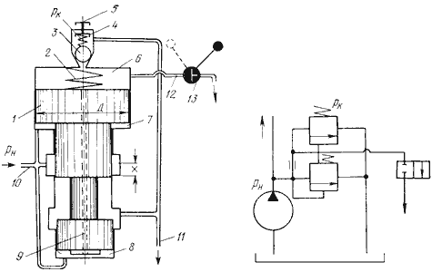
6.2. Напорные гидроклапаны

Рис.6.1. Принципиальные схемы напорных клапанов с запорно-регулирующими элементами:
а - с шариковым; б - с конусным; в - с золотниковым; г - с тарельчатым

Рис.6.2. Принципиальная схема дифференциального клапана

Рис.6.3. Напорный клапан непрямого действия:
а - принципиальная схема; б - условное обозначение
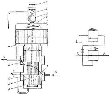
6.3. Редукционный клапан

Рис.6.4. Редукционный клапан:
а - принципиальная схема; б - условное обозначение

Рис.6.5. Редукционный клапан непрямого действия:
а - принципиальная схема; б - условное обозначение
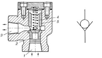
6.4. Обратные гидроклапаны
Обратным гидроклапаном называется направляющий гидроаппарат, предназначенный для пропускания рабочей жидкости только в одном направлении. Они могут иметь различные запорно-регулирующие элементы: шариковый, конусный, тарельчатый или плунжерный.

Рис.6.6. Обратный клапан типа Г51:
а - конструкция; б - условное обозначение

Рис.6.7. Блокировочное устройство
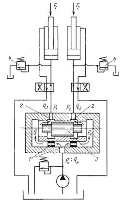
6.5. Ограничители расхода
Ограничителем расхода называется клапан, предназначенный для ограничения расхода в гидросистеме или на каком-либо ее участке.

Рис.6.8. Ограничитель расхода:
а - принципиальная схема; б - зависимость Q=f(ΔP); в - условное обозначение
При значении перепада давления ΔP < ΔP0 расход жидкости через ограничитель расхода будет зависеть от ΔP. При ΔP > ΔP0 расход жидкости станет предельным и равным Q0 (см. рис.6.8, б).
6.6. Делители (сумматоры) потока
Делителем потока называется клапан соотношения расходов, предназначенный для разделения одного потока рабочей жидкости на два и более равных потока независимо от величины противодавления в каждом из них.


Рис.6.9. Делитель потока:
а - принципиальная схема; б - условное обозначение;
в - условное обозначение сумматора потока
6.7. Дроссели и регуляторы расхода

Рис.6.10. Линейный дроссель:
1 - корпус; 2 - винт

Рис.6.11. Принципиальные схемы нелинейных дросселей:
а - игольчатого; б - комбинированного; в - пробкового щелевого;
г - пробкового эксцентричного; д - пластинчатого пакетного;
е - пластинчатого; ж - условное обозначение регулируемого дросселя;
1 - корпус; 2 - игла; 3 - диафрагма; 4 - пробка; 5 - пластина; 6 - втулка

Рис.6.12. Проливочные характеристики: а) - дросселя Г77-11; б) - регулятора расхода Г55-21

Рис.6.12. Проливочные характеристики: а) - дросселя Г77-11; б) - регулятора расхода Г55-21

Рис.6.12. Проливочные характеристики
а - дросселя Г77-11; б - регулятора расхода Г55-21
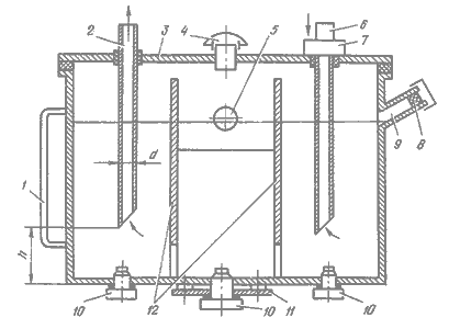
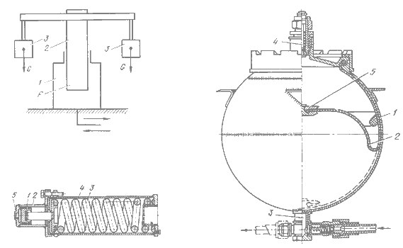
7.1. Гидробаки и теплообменники
Гидробаки предназначены для питания гидропривода рабочей жидкостью.

Рис.7.1. Гидробак:
1 - указатель масла; 2- всасывающая труба; 3 - крышка; 4 - сапун;
5 - глазок; 6 - сливная труба; 7 - фильтр; 8 - сетчатый фильтр (ячейки 0,1 0,1 мм);
9 - заливное отверстие; 10 - магнитная пробка; 11 - крышка для слива РЖ;
12 - перегородки (успокоители)

Рис.7.2. Теплообменники:
а - с водяным охлаждением; 1 - бак; 2 - змеевик;
б - с воздушным охлаждением; 1 - радиатор; 2 - вентилятор; 3 - магнитный пускатель;
4 - реле; 5 - терморегулятор; 6 - датчик температуры
7.2. Фильтры
Фильтры служат для очистки рабочей жидкости от содержащихся в ней примесей.

Рис.7.3. Схема фильтрации рабочей жидкости

Рис.7.4. Сетчатый фильтр
1 - корпус; 2 - сетка; 3 - диски; 4 - перфорированная трубка; 5 - гайка; 6 - прокладки.

Рис.7.5. Пластинчатый фильтр типа Г41:
1 - корпус; 2 - крышка; 3 - ось; 4 - резиновое кольцо; 5 - основные пластины;
6 - промежуточные пластины; 7 - скребки; 8 - шпилька; 9 - пробка.

Рис.7.6. Комбинированный фильтр из элементов грубой и тонкой очистки
|
|
|
|
Рис.7.7. Бумажный фильтроэлемент |
Рис.7.8. Структура фильтроматериала из спеченных шариков |
|
| |
|
Рис.7.9. Войлочный фильтр типа Г43: |
Рис.7.10. Магнитный фильтр типа С43-3: |

Рис.7.11. Схемы включения фильтров:
а - на всасывающей гидролинии; б - в напорной гидролинии;
в - в сливной гидролинии
7.3. Уплотнительные устройства

Рис.7.13. Герметизация неподвижных соединений

Рис.7.14. Схемы уплотнений:
а - щелевого; б, в - лабиринтного

Рис.7.15. Типы стыковых замков металлических колец:
а - прямой; б - косой; в, г - ступенчатый

Рис.7.16. Схемы уплотнений резиновым кольцом
круглого сечения

Рис.7.17. Герметизация набивками и сдавливание набивки:
а - болтами; б - пружиной

Рис.7.18. Схема действия манжетного уплотнения:
а - манжета до монтажа; б - манжета в смонтированном виде без
давления жидкости; в - манжета под давлением

Рис.7.19. Типовые формы манжет:
а, в - U-образные; б - монтаж манжет; г - шевронные

Рис.7.20. Манжеты для уплотнения вращающихся валов:
а - с наружным каркасом; б - с внутренним каркасом;
1 - металлический каркас; 2 - манжета; 3 - пружина
7.4. Гидравлические аккумуляторы
Гидравлическим аккумулятором называется гидроемкость, предназначенная для аккумулирования энергии рабочей жидкости, находящейся под давлением, с целью последующего использования этой энергии в гидроприводе.

Рис.7.21. Гидроаккумуляторы:
а - грузовой; б - пружинный; в - пневмогидравлический с упругим разделителем

Риc.7.22. Схема включения гидроаккумулятора для компенсации утечек:
1 - распределитель; 2 - предохранительный клапан непрямого действия;
3 - дроссель; 4, 8 - обратный клапан; 5 - гидроаккумулятор;
6 - гидроцилиндр; 7 - реле давления
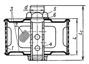
7.5. Гидрозамки
Гидрозамком называется направляющий гидроаппарат, предназначенный для пропускания потока рабочей жидкости в одном направлении при отсутствии управляющего воздействия, а при наличии управляющего воздействия - в обоих направлениях.

Рис.7.23. Односторонний гидрозамок
а - подача рабочей жидкости к полости А; б - течение жидкости из полости А в полость Б;
в - подача рабочей жидкости в полость Б; г - течение жидкости из полости Б в полость А
при наличии управляющего воздействия; д - условное обозначение одностороннего гидрозамка

Рис.7.24. Двухсторонний гидрозамок:
а - нейтральное положение; б - положение толкателя при подводе
давления в канал А; в - положение толкателя при подводе давления в канал В;
г - условные обозначения

Рис.7.25. Схема установки одностороннего гидрозамка:
а - без дросселя с обратным клапаном; б - дросселем и обратным клапаном
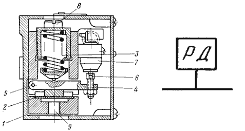
7.6. Гидравлические реле давления и времени
Реле давления применяется для последовательного включения или выключения отдельных исполнительных органов машины и для осуществления дистанционного управления.

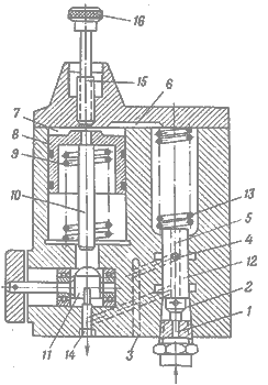
Рис.7.26. Реле давления Г62-2:
а - конструкция; б - условное обозначение реле давления;
1 - корпус; 2 - диафрагма; 3 - пружина; 4 - рычаг; 5 ось рычага;
6, 8 - винты; 9 - отверстие

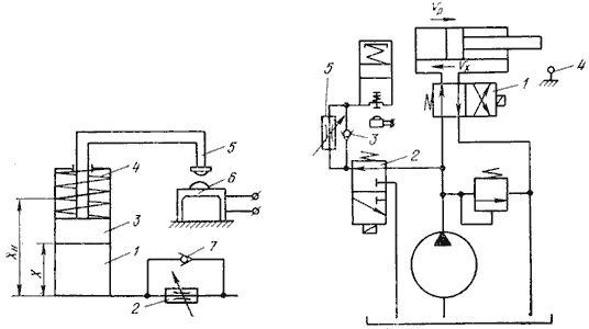
Рис.7.27. Реле времени:
а - принципиальная схема; б - вариант схемы включения

Рис.7.28. Реле времени дроссельного типа
1, 11 - пружины; 2 - золотник; 3, 4 - подводящее и отводящее отверстия;
5, 8 - полости; 6 - канал; 7 - дроссель; 9 - сливное отверстие; 10 - шарик;
12 - колпачок; 13 - контрогайка

Рис.7.29. Реле времени объемного типа
1, 4 - отверстия; 2, 6, 7 - полости; 3, 5 - каналы; 8 - поршень;
9, 13 - пружины; 10 - шток; 11 - упор; 12 - золотник;
14 - сливное отверстие; 15 - винт; 16 – рукоятка
7.7. Средства измерения
|
|
|
|
Рис.7.30. Войлочный фильтр типа Г43: |
Рис.7.31. Магнитный фильтр типа С43-3: |

Рис.7.32. Деформационные манометры:
а - мембранный; б - мембранный с двойной мембраной;
в - с консольной балкой; г - сильфонный;
1 - мембрана; 2, 4 - активный и компенсирующий тензорезистор; 3 - консольная балочка

Рис.7.32. Деформационные манометры:
а - мембранный; б - мембранный с двойной мембраной; в - с консольной балкой;
г - сильфонный; 1 - мембрана; 2, 4 - активный и компенсирующий тензорезистор;
3 - консольная балочка

Рис.7.34. Электрические манометры:
а - с трубкой Бурдона; б - тонкостенный цилиндрический датчик с наклеенными тензодатчиками; в - с манганиновой проволокой; г - пьезоэлектрический; 1 - трубка Бурдона; 2 - тензодатчики;
3 - тонкостенный стакан; 4 - манганиновый датчик; 5 - узкая щель; 6 - корпус; 7 - заливка эпоксидной смолой; 8 - пьезоэлектрический датчик; 9 - перегородка

Рис.7.35. Схемы расходомеров:
а - струйный; б - ультразвуковой; в - турбинный; г - тепловой; 1 - мембрана;
2 - неподвижный электрод; 3 - трубопровод; 4 - направляющая; 5 - корпус; 6 - подшипник; 7 - турбина; 8 - успокоитель; 9 - преобразователь сигнала; 10 - излучатель сигнала;
11 - дополнительный излучатель; 12 - приемник; 13 - дополнительный приемник;
14 - пластина; 15 - термопара; 16 - теплоизоляция; 17 - нагреватель
Пневматический привод
11.1. Общие сведения о применении газов в технике
Пневматический привод, состоящий из комплекса устройств для приведения в действие машин и механизмов, является далеко не единственным направлением использования воздуха (в общем случае газа) в технике и жизнедеятельности человека. В подтверждение этого положения кратко рассмотрим основные виды пневматических систем, отличающихся как по назначению, так и по способу использования газообразного вещества.

Рис.11.1. Истечение газа из отверстия в тонкой стенке

Рис.11.2. Зависимость массового расхода газа от отношения давлений

Рис.11.3. Принципиальная схема компрессорной станции

Рис.11.5. Типовой узел подготовки воздуха:
а - принципиальная схема; б - условное обозначение

Рис.11.6. Схемы пневмомоторов объемного (а) и динамического (б) действия

Рис.11.7. Схемы пневмозахватов

Рис.11.8. Схемы бесштоковых пневмодвигателей
поступательного движения
1. , , и др. Гидро - пневмоавтоматика и гидропривод мобильных машин. Объемные гидро - и пневмомашины и передачи. - Минск: Высшая школа, 19с.
2. Анурьев конструктора-машиностроителя. В 3-х Т. - 5-е изд., перераб. и доп. Том 3 - М.: Машиностроение, 1980 гс.
3. Башта и гидропневмоавтоматика. - М.: Машиностроение, 19с.
4. , , и др. Гидравлика, гидромашины и гидроприводы: Учебник. 2-е изд., перераб. - М.: Машиностроение, 19с.
5. Богданович механизмы поступательного движения: Схемы и конструкции. - М., Киев: МАШГИЗ, 19с.
6. Васильченко оборудование мобильных машин: Справочник. - М.: Машиностроение, 19с., ил.
7. Каверзин и дипломное проектирование по гидроприводу самоходных машин: Учебное пособие. - Красноярск: ПИК "Офсет", 19с.
8. , Ермашонок . Гидравлические машины и гидроприводы СДМ: Методические указания к выполнению курсовой работы. - Братск: ГОУ ВПО "БрГТУ", 20с.
9. , , Ермашонок гидравлики: Курс лекций. - Братск: ГОУ ВПО "БрГТУ", 2с.
10. Лебедев гидропривод машин лесной промышленности. - М.: Лесная промышленность, 19с.
11. Лебедев машин лесной промышленности. - М.: Лесная промышленность, 19с.
12. Навроцкий и проектирование гидро - и пневмопривода: Учебник. - М.: Машиностроение, 19с., ил.
13. Осипов , гидравлические машины и и гидропривод: Уч. Пособие. 3-е изд., перераб. и доп. - М.: Лесная промышленность. 19с.
14. Осипов машин лесной промышленности и лесного хозяйства. - М.: Лесная промышленность, 19с.
15. Прокофьев -поршневой регулируемый гидропривод. М.: Машиностроение, 19с.
16. , Усов гидроприводы: Справочник. - 2-е изд., перераб. и доп. - М: Машиностроение, 19с.: ил.
17. Справочное пособие по гидравлике, гидромашинам и гидроприводам / , , и др.; Под. ред. . - 2-е изд., перераб. и дополн. - Минск: Высшая школа, 19с.
18. Подготовка и оформление рукописей учебной, научной и методической литературы, издаваемой Братским государственным техническим университетом: Методические рекомендации, - 2-е изд. перераб. и доп. - Братск: БрГТУ, 20с.










