Подобные закономерности упрочнения поверхностного слоя наблюдаются и при дорновании отверстий в заготовках из стали 45 (рис. 5.11).
|
|
|
|
а |
б |
|
|
Рис. 5.12. Распределение микротвердости по толщине поверхностного слоя отверстий диаметром 2 мм глубиной 100 мм в заготовках из стали 20Х: а – после сверления; (а1 = 0,064 мм, а2 = 0,02 мм); |
|
в |
Некоторые результаты исследования деформационного упрочнения поверхностного слоя отверстий диаметром 2 мм глубиной 100 мм в заготовках из стали 20Х после сверления и дорнования показаны на рис. 5.12. Как и следовало ожидать, каких-либо особенностей в упрочнении поверхностного слоя при дорновании этих отверстий (по сравнению с обработкой отверстий диаметром 1,2 мм глубиной 5 мм) не обнаруживается. После дорнования существенно, почти на порядок, возрастает толщина упрочненного слоя. Максимальная микротвердость поверхностного слоя повышается примерно на 11%.
5.3. Применение дорнования для повышения износостойкости
сварочных наконечников
Дуговая сварка плавящимся электродом в защитных газах находит широкое применение в различных отраслях промышленности. При этом способе сварки подвод электрического тока и направление электродной проволоки осуществляются с помощью наконечника, представляющего собой выполненную из меди или ее сплавов толстостенную втулку с глубоким отверстием (d = 0,95…2,65 мм, L = (10…40)d). В процессе сварки происходит электроэрозионное и механическое изнашивание поверхности глубокого отверстия, что приводит к нарушению режима сварки, увеличению разбрызгивания металла и ухудшению качества сварного соединения.
|
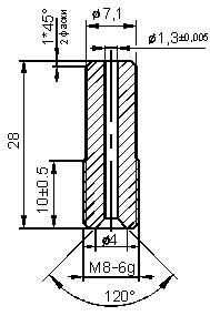
Рис. 5.13. Эскиз |
Очевидно, что одной из причин повышенного износа наконечников является низкая точность и качество поверхностного слоя глубоких отверстий, которые, как уже отмечалось, в соответствии с существующей технологией получаются сверлением спиральными сверлами и какой-либо отделочной обработке не подвергаются. В связи с этим нами были изучены возможности увеличения износостойкости наконечников за счет применения для окончательной обработки глубокого отверстия дорнования [40].
Исследования проводили на опытной партии наконечников из дисперсионно-упрочненного медного сплава ДУКМ М70 (НВ=1700 МПа), предназначенных для сварки проволокой диаметром 1,2 мм (рис. 5.13). Наконечники были изготовлены в (г. Верхняя Пышма, Свердловской обл.).
|
Рис. 5.14. Схема дорнования отверстий в наконечниках: 1 – толкатель прошивки; 2 – прошивка; 3 - направляющая втулка; 4 – наконечник; 5 – приспособление – спутник; |
Глубокие отверстия в наконечниках сверлили спиральным сверлом диаметром 1,2 мм. Затем эти отверстия подвергали двухцикловому дорнованию однозубыми твердосплавными прошивками (диаметры первой и второй прошивок соответственно составляли 1,295 и 1,324 мм). Дорнование глубоких отверстий выполняли с помощью специального устройства, аналогичного показанному на рис. 3.1 по схеме, приведенной на рис. 5.14. Для обеспечения самоустанавливаемости наконечников по прошивке их помещали в приспособление-спутник с большой площадью опоры. В качестве такого приспособления использовали специальную цангу (рис. 5.14), в отверстие которой наконечник устанавливался с гарантированным натягом.
Часть наконечников после сверления и дорнования была разрезана и использована для определения по изложенной выше методике параметров шероховатости поверхности глубоких отверстий и упрочнения их поверхностного слоя. Остальная часть партии наконечников (около 100 штук) была передана для производственных испытаний на опытный завод (г. Северск, Томской обл.).
Результаты исследования точности глубоких отверстий наконечников и качества их поверхностного слоя представлены в табл. 5.4 и на рис. 5.15. Как видно из табл. 5.4, при дорновании точность диаметра отверстий повышается в 8 раз – с 11 до 7 квалитета. Причем овальность отверстий снижается в 5...10 раз, а их конусообразность – в 6...9 раз. Параметр шероховатости поверхности
отверстий уменьшается в 7…14 раз и становится равным 0,09…0,27 мкм. Максимальная микротвердость поверхностного слоя отверстий после дорнования повышается не более чем на 10%, а толщина упрочненного слоя возрастает примерно в 7 раз (рис. 5.15).
Таблица 5.4
Значение параметров точности и шероховатости поверхности отверстий в токоподводящих наконечниках из медного сплава ДУКМ М70
после различных операций
|
Операции обработки отверстий |
Диаметр отверстий, |
Максимальная овальность, |
Максимальная конусообразность, |
Параметр шероховатости поверхности |
|
Сверление |
1,199…1,255 |
0,0155 |
0,022 |
0,65…3,80 |
|
Дорнование двухцик-ловое* |
1,296…1,303 |
0,0015 |
0,0023 |
0,09…0,27 |
*- диаметр первой прошивки 1,295 мм; диаметр второй прошивки 1,324 мм
Испытание наконечников проводили при сварке электродной проволокой СВ-08Г2С диаметром 1,2 мм в среде углекислого газа. Сварку осуществляли в нижнем положении с помощью сварочного выпрямителя ВДГ301 и подающего механизма А547У.
|
|
Рис. 5.15. Распределение микротвердости в поверхностном слое отверстий наконечников из медного сплава ДУКМ М70: |
Износостойкость наконечников оценивали по длине израсходованной электродной проволоки. Данные о средней износостойкости наконечников и условиях сварки приведены в табл. 5.5 и 5.6. В числителе указаны результаты испытания наконечников опытной партии (с продорнованными отверстиями), в знаменателе – с просверленными отверстиями.
Таблица 5.5
Условия сварки листовых конструкций и износостойкость
наконечников
|
Марка стали |
Сталь 09Г2С |
Сталь Ст.3сп |
Сталь 20 |
|
Толщина листа, мм |
6 |
4 |
10 |
|
Ток, А |
250 |
200 |
300 |
|
Напряжение, В |
25 |
25 |
28 |
|
Длина израсходованной на один наконечник проволоки, м |
|
|
|
Таблица 5.6
Условия сварки кольцевых поворотных стыков и износостойкость
наконечников
|
Марка стали |
Сталь 09Г2С |
Сталь Ст.3сп |
Сталь 20 |
|
Условный диаметр стыка, мм |
50 |
150 |
200...500 |
|
Толщина стенки, мм |
1,5...2 |
2,5...3,5 |
8...15 |
|
Ток, А |
150 |
180 |
190 |
|
Напряжение, В |
19 |
19 |
21 |
|
Длина израсходованной на один наконечник проволоки, м |
|
|
|
Как видно из табл. 5.5 и 5.6, в результате дорнования отверстий износостойкость наконечников повышается более чем в 3 раза. При этом дополнительные затраты, связанные с введением в технологический процесс изготовления наконечников операции дорнования, оказываются небольшими (не более 3% от отпускной цены наконечников).
список литературы
1. Абдукаримов глубоких отверстий различного диаметра и профиля электроискровым методом// Физика и химия обработки материалов.-1997. –№6. –С.107-110.
2. Абразивная и алмазная обработка материалов. Справочник. / Под редакцией – М.: Машиностроение, 1977.– 391с.
3. , Карпов стволов стрелкового оружия. –М.:НКАП Оборонгиз, 19с.
4. , Садыгов и доводка поверхностей деталей машин. – М.: Машиностроение, 1976. – 128 с.
5. Байсупов обработка металлов. –М.:Высшая школа, 19с.
6. Горохов приспособлений для обработки деталей методом поверхностного пластического деформирования. –М.:ВНИИТЭМР, 19с.
7. , , Тилик и смазки при обработке металлов давлением: Справочник. – М.: Металлургия, 1982.
– 312 с.
8. , Овечкин для дорнования отверстий. А. с. № 000 (СССР). Опубл.28.11.72. Бюл.№36.
9. Дечко глубоких отверстий в сталях. – Минск: Высшая школа, 19с.
10. Инструменты для обработки точных отверстий / С. В Кирсанов, , – М.: Машиностроение, 2005.– 336с.
11. , Алексеев электроэрозионное прошивание глубоких отверстий малого диаметра// Станки и инструмент. -1989. -№9. –С.42.
12. Кожевников глубоких отверстий спиральными сверлами малых диаметров// Сб. научн. тр. «Прогрессивные технологические процессы в машиностроении». Томск: ТПУ, 1997. –С.71-72.
13. Кожевников технология и инструмент для обработки глубоких отверстий. –М.:НИИмаш, 19с.
14. , Кирсанов инструменты. – Томск: Из-во Том. ун-та, 2003. – 392 с.
15. Кораблев обработки на металлорежущих станках в приборостроении. – М.: МАШГИЗ, 1962. – 228 с.
16. Куприянов инструмент для резания трудно-обрабатываемых материалов. – М.: Машиностроение, 1989.– 136с.
17. Лакирев : Обработка отверстий. – М.: Машиностроение, 1990. – 240 с.
18. Литвинов глубоких отверстий // Вестник машиностроения. – 1990. – № 5. – С.22 – 24.
19. , , и др. Прогрессивный инструмент для обработки отверстий. –М.:ВНИИТЭМР, 19с.
20. Машиностроение. Энциклопедия. Т. III – 3. Технология изготовления деталей машин / , , и др.; Под общ. ред. – М.: Машиностроение, 2002.– 840 с.
21. Монченко технология производства полых цилиндров. –М.:Машиностроение, 19с.
22. Морозенко глубоких отверстий малых диаметров // Станки и инструмент. – 1963. – №9. – С. 24 – 25.
23. Обработка глубоких отверстий/ , , и др./Под общ. ред. . –Л.:Машиностроение, 19с.
24. Общемашиностроительные нормативы режимов резания: Справочник: В 2-х т.:Т.1/, , и др. –М.:Машиностроение, 19с.
25. Петухов для дорнования. А. с. № 000 (СССР). Опубл. 25.11.76. Бюл. №43.
26. , , Исаев дорнование отверстий. –М.:Машиностроение, 19с.
27. Пугачев сверление глубоких отверстий малого диаметра// Сб. тез. докл. 7й Всес. конф. «Погрессивная технология обработки глубоких отверстий». –М.:НТЦ «Информтехника», 1991. – С.55-56.
28. , Розенберг пластического деформирования в процессах резания и деформирующего протягивания. –Киев:Наукова думка, 19с.
29. , , Гриценко поверхности, обработанной деформирующим протягиванием. –Киев:Наукова думка, 19с.
30. , , и др. Расчет и проектирование твердосплавных деформирующих протяжек и процесса протягивания. –Киев:Наукова думка, 19с.
31. , , Шейкин механика деформирующего протягивания. – Воронеж: Воронеж. гос. технол. акад., 2001. – 203 с.
32. Сароян колонны в глубоком бурении. –М.:Недра, 19с.
33. , Арляпов обработка глубоких отверстий малого диаметра дорнованием твердосплавными прошивками // Обработка металлов.– 2001. – № 2. – С.16 – 17.
34. , Арляпов для дорнования глубоких отверстий. Патент РФ № 000. Опубл. 20.03.99.. Бюл.№8.
35. , , Брюханцев для прошивания глубоких отверстий малого диаметра// СТИН. -1999. -№12. –С.33-34.
36. , , Брюханцев отверстий малых диаметров, обрабатываемых дорнованием твердосплавными прошивками в заготовках с бесконечной толщиной стенок// Сб. тр. «Механика и машиностроение». –Томск: ТПУ, 2000. –С.24-27.
37. , , и др. Способ базирования заготовки при дорновании. Патент РФ № 000. Опубл. 27.05.2005. Бюл. № 15.
38. , , и др. Устройство для дорнования глубоких отверстий. Патент РФ № 000. Опубл. 20.03.99. Бюл.№8.
39. , , Охотин процессов базирования заготовок, осуществляемых инструментом при свободном дорновании отверстий // Известия вузов. Машиностроение.– 2005. – № 7. – С.63 – 70.
40. , , и др. Применение дорнования для повышения износостойкости сварочных наконечников из дисперсионно-упрочненного медного сплава ДУКМ М70 // Обработка металлов. .– 2005. – № 2. – С.12 – 13.
41. , , Охотин опора для протяжных станков. Патент на полезную модель № 000. Опубл. 10.11.2003. Бюл. № 31.
42. , , Ямкин для дорнования отверстий. Патент РФ № 000. Опубл. 10.01.98 Бюл. № 1.
43. , , Бутряков колец подшипников чистовым пластическим деформированием. – М.: НИИНАвтопром, 1985. – 62 с.
44. Справочник технолога-машиностроителя. В 2-х т. Т.1. Под ред. и . –М.:Машиностроение, 19 с.
45. Суслов поверхностного слоя деталей машин – М.: Машиностроение, 2000. – 320 с.
46. , , Лубнин абразивно-экструзионной обработки для снятия напряжений поверхностного слоя каналов в деталях // Технология машиностроения. – 2003. – №3. –
С. 38 – 42.
47. Технология производства авиационных газотурбинных двигателей / , , – М.: Машиностроение, 2003.– 512с.
48. Феодосьев задачи и вопросы по сопротивлению материалов. - М.:Наука, 19с.
49. Холмогорцев процессов обработки отверстий. - М.:Машиностроение, 19с.
50. Шнейдер финишной обработки давлением:: Справочник. –СПб.: Политехника, 19с.
51. Ballized Bearings…alike within millionths// Automatic Machining, -1981.-Vol.43.-№2.-P.28-29.
52. By George A. Gazan. Ballizing an intoduction to principles.// Automatic Machining, -1969.-Vol.30.-№7.-P.57-58.
53. Mehr Stanzen als Bohren // Werkzeuge. – 2000. – №1. – Р.52 – 53.
54. Trous de 1 mm: 8.0.6.13.0 //Autom. Precision. – 1994. – 15.
–№9. – P 88.
содержание
введение. 3
1. Обзор методов обработки глубоких отверстий малого диаметра.. 4
1.1. Методы получения и отделочной обработки глубоких отверстий малого диаметра. 4
1.2. Технологические возможности дорнования и опыт его применения при обработке глубоких отверстий. 9
2. обеспечение самоустанавливаемости системы инструмент–заготовка при дорновании отверстий.. 18
2.1. Закономерности процессов базирования заготовок закрепленным инструментом при дорновании отверстий. 18
2.2. Обеспечение самоустанавливаемости заготовок. 29
2.3. Обеспечение самоустанавливаемости инструмента. 31
3. Разработка и исследование технологической оснастки для дорнования глубоких отверстий малого диаметра 34
3.1. Приспособления и инструменты для дорнования глубоких отверстий малого диаметра. 34
3.2. Исследование закономерностей механического поведения технологических систем дорнования глубоких отверстий малого диаметра 38
3.2.1. Расчетная оценка механического поведения технологических систем. 39
3.2.2. Экспериментальное исследование механического поведения технологических систем 47
4. ЗАКОНОМЕРНОСТИ КОНТАКТНОГО ВЗАИМОДЕЙСТВИЯ ИНСТРУМЕНТА С ТОЛСТОСТЕННОЙ ЗАГОТОВКОЙ ПРИ ДОРНОВАНИИ глубоких ОТВЕРСТИЙ МАЛОГО ДИАМЕТРА.. 54
4.1. Общие условия экспериментов. 54
3.2. Усилия дорнования. 56
4.3. Контактные давления. 61
4.4. Усадка отверстий. 63
5. Точность и качество поверхностного слоя при дорновании глубоких отверстий малого диаметра.. 67
5.1. Точность и шероховатость поверхности отверстий. 67
5.2 Упрочнение поверхностного слоя отверстий. 76
5.3. Применение дорнования для повышения износостойкости сварочных наконечников. 82
список литературы.. 86
содержание. 90
Владимир Федорович Скворцов
Алексей Юрьевич Арляпов
ДОРНОВАНИЕ ГЛУБОКИХ ОТВЕРСТИЙ МАЛОГО ДИАМЕТРА
Монография
Научный редактор
доктор технических наук, профессор
Сергей Васильевич Кирсанов
Отпечатано с оригинал-макета в редакции авторов
Подписано к печати
Формат 60х84/16. Бумага офсетная.
Печать RISO. Усл. печ. л. . Уч.-изд. л. .
Тираж экз. Заказ. Цена свободная.
Издательство ТПУ. Томск, пр. Ленина, 30.
|
Из за большого объема этот материал размещен на нескольких страницах:
1 2 3 4 5 6 7 8 |









– после сверления,
– после сверления и двухциклового дорнования с суммарным натягом 0,116 мм