В качестве инструмента при дорновании глубоких отверстий с
³30 мм используются протяжки; в зависимости от глубины отверстия и жесткости заготовок обработку осуществляют с их сжатием (рис.1.1, в), растяжением (рис.1.1, г) или осевым заневоливанием (рис.1.1, д).
При дорновании глубоких отверстий малого диаметра применение протяжек становится невозможным из-за их низкой прочности. Здесь в качестве инструмента могут быть использованы шары или прошивки (рис 1.1, а, е, ж), которые проталкиваются через обрабатываемое отверстие цилиндрическим стержнем-толкателем. Обработка заготовок также может вестись с их сжатием, растяжением и осевым заневоливанием.
Шары, особенно твердосплавные, как инструменты обладают несомненными достоинствами, к которым относятся высокая прочность, стойкость и точность [51, 52]. Однако, для их изготовления необходимо специальное оборудование. Существенным недостатком шаров, проявляющимся при дорновании отверстий малых диаметров, является возможность работы только с небольшими натягами. Так, для того, чтобы углы контакта шара диаметром 1 мм с заготовкой были не более 10°, величина натяга не должна превышать 0,015 мм. При бóльших натягах в процессе дорнования возможно образование нароста, что является недопустимым. Другим недостатком дорнования шарами является возможное искривление оси отверстия [50].
Прошивки лишены отмеченных недостатков. Но при эксплуатации, особенно твердосплавных прошивок, необходимо избегать появления изгибающих нагрузок, которые могут возникнуть при входе инструмента в обрабатываемое отверстие. Для этого прошивку целесообразно размещать с натягом в направляющей втулке, выполненной из эластичного антифрикционного материала, например фторопласта (рис.1.1, ж). Кроме этого, необходимо обеспечить самоустанавливаемость системы инструмент – заготовка [10]. Однако, как показывает анализ литературы, вопрос о самоустанавливаемости этой системы остается почти не изученным, что не позволяет в полной мере реализовать на практике технологические возможности дорнования и существенно ограничивает его применение.
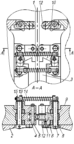
Для дорнования глубоких отверстий прошивками (шарами) используют специальные станки и различные прессы, которые оснащают специальными приспособлениями. Одним из основных узлов этих станков и приспособлений является узел поддержания толкателя, который позволяет обеспечить деформации подвергающегося продольному изгибу толкателя в допустимых пределах и дает возможность передать через него необходимое усилие.
|
|
Рис. 1.3. «Непрерывный» люнет для поддержания толкателя прошивки |
На рис. 1.3 показана конструкция так называемого «непрерывного» люнета [3], который представляет собой ряд подвижных пластин 1, соединенных шарнирами 2. В центральном отверстии пластин размещается толкатель 3; остальными отверстиями пластины надеваются на цилиндрические направляющие 4, жестко закрепленные на станине станка. При рабочем ходе толкателя пластины, скользя по направляющим, сближаются, а при его обратном ходе возвращаются в исходное положение.
|
Рис. 1.4. Приспособление для дорнования глубоких отверстий |
На рис. 1.4 приведена конструкция приспособления (к прессу) для дорнования глубоких отверстий [25]. Оно состоит из корпуса 1, на котором смонтирован стакан 2 с установленными в нем втулками 3. Между этими втулками расположены пружины 4. Через центральное отверстие втулок проходит толкатель 5, закрепленный в штоке 6 пресса. В корпусе соосно со стаканом выполнено гнездо 7 для размещения прошивки 8, а также фиксатор для удержания прошивки в определенном положении, состоящий из шарика 9 и пружины 10. При перемещении штока вниз толкатель проталкивает прошивку через отверстие заготовки 11. При этом втулки 3 под воздействием штока и пружин 4 равномерно смещаются вниз и поддерживают толкатель. При перемещении штока вверх втулки 3 под действием пружин 4 возвращаются в исходное положение.
Общим недостатком описанных устройств для поддержания толкателя является то, что длина последнего оказывается значительно больше глубины обрабатываемого отверстия. Это приводит к снижению жесткости толкателя, усложняет его изготовление, а также увеличивает габариты поддерживающего устройства.
На рис. 1.5 показана конструкция поддерживающего устройства толкателя специального станка для дорнования глубоких отверстий [8], не имеющая этого недостатка. Толкатель 1 жестко закреплен на станине 2 станка и поддерживается рядом разводимых люнетов. Обрабатываемая заготовка (на рисунке не показана) устанавливается на каретку 3, которая перемещается по направляющим станка. Каждый люнет состоит из роликов 4, установленных на осях 5, которые неподвижно закреплены на рычагах 6. Эти рычаги жестко соединены с осями 7, установленными с возможностью поворота относительно втулок 8, которые запрессованы в планки 9. Последние жестко закреплены на станине 2. На осях 7 размещены кулачки 10, осуществляющие возврат рычагов 6 в исходное положение. На осях 11, запрессованных в отверстия рычагов 6, установлены упорные ролики 12, предназначенные для разведения люнетов. В верхней части рычагов 6 расположены упоры 13 с пружинами 14, которые размещены на штангах 15.
|
Рис. 1.5. Поддерживающее устройство толкателя специального станка для дорнования глубоких отверстий |
В процессе дорнования отверстия каретка 3 передними скосами а нажимает на упорные ролики 12 и осуществляет поворот рычагов 6 с роликами 4. Таким образом, люнеты разводятся друг за другом, пропуская каретку с заготовкой. При обратном ходе каретка задними скосами б нажимает на кулачки 10 и возвращает рычаги 6 в исходное положение. Фиксация рычагов в исходном и разведенном положении осуществляется пружинами 14.
Основной недостаток этого устройства для поддержания толкателя – высокая сложность конструкции, состоящей из многих точных деталей.
Таким образом, существующие конструкции устройств для поддержания толкателя имеют ряд существенных недостатков. Поэтому их использование в приспособлениях для дорнования глубоких отверстий малого диаметра представляется нецелесообразным.
Очевидно, что для обоснованного проектирования операции дорнования глубоких отверстий малого диаметра и соответствующих технологических систем необходимо учитывать особенности их механического поведения, которые в настоящее время в литературе освещены недостаточно.
На основании выше изложенного можно констатировать, что для эффективной реализации дорнования при обработке глубоких отверстий малого диаметра необходимо решить следующие основные задачи:
· определить пути обеспечения самоустанавливаемости системы инструмент – заготовка;
· разработать конструкции твердосплавных инструментов и приспособлений для дорнования отверстий;
· установить закономерности механического поведения технологических систем дорнования и дать рекомендации по их проектированию;
· выявить закономерности контактного взаимодействия инструмента с толстостенной заготовкой;
· исследовать точность и качество поверхностного слоя, обеспечиваемые дорнованием и выработать рекомендации по его применению.
2. обеспечение самоустанавливаемости системы инструмент–заготовка при дорновании отверстий
Выполненный анализ показывает, что для решения указанной задачи целесообразно сначала рассмотреть процессы базирования заготовок закрепленным инструментом и на этой основе определить пути обеспечения самоустанавливаемости системы инструмент – заготовка для различных условий выполнения операции дорнования.
2.1. Закономерности процессов базирования заготовок закрепленным инструментом при дорновании отверстий
Рассмотрим процессы базирования заготовок типа втулок при дорновании отверстий с учетом основных действующих в этих процессах факторов [39]. К числу последних необходимо отнести начальную несоосность отверстия заготовки и инструмента, геометрические параметры и пространственное положение заготовки, ее вес, направление рабочего хода инструмента, коэффициенты трения в контактах заготовка-опора и заготовка-инструмент, схему дорнования отверстий (со сжатием или растяжением заготовки).
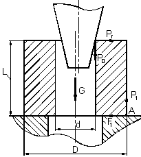
Базирование вертикально расположенной заготовки при дорновании ее по схеме сжатия и рабочем ходе инструмента сверху вниз. При перемещении инструмента вниз при определенных значениях действующих факторов заготовка будет, проскальзывая относительно опоры, смещаться вправо до совпадения осей рабочего конуса и обрабатываемого отверстия. Найдем силы, действующие при этом на заготовку со стороны инструмента. Уравнения равновесия плоской системы сил, действующих на заготовку (рис. 2.1,а), имеют вид
;
,
где
– вес заготовки. Из схемы сил (рис. 2.1,б), действующих со стороны рабочего конуса инструмента на заготовку, имеем [28]
, (2.1)
где α – половина угла рабочего конуса инструмента,
– коэффициент трения в контакте заготовка – инструмент.
Сила трения заготовки об опору составит
, (2.2)
где
– коэффициент трения в контакте заготовка – опора.
|
|
|
|
а |
б |
|
Рис. 2.1. Базирование вертикально расположенной заготовки при рабочем ходе инструмента сверху вниз (а) и схема сил на его рабочем конусе (б) |
Учитывая соотношения (2.1) и (2.2) и обозначая
, (2.3)
из уравнений равновесия получим
; (2.4)
. (2.5)
Из выражений (2.3)…(2.5) следует, что действующие на заготовку (и инструмент) при базировании силы (если заготовка проскальзывает относительно опоры) в целом невелики. Так, при
=5°,
радиальная сила
составляет около 0,2
, а осевая сила
- около 0,06
. Радиальная сила становится существенной только при дорновании отверстий малого диаметра в заготовках большого веса. В этом случае целесообразно использовать технологическую систему дорнования, в которой обеспечивается базирование инструмента по отверстию неподвижной заготовки [42].
Найдем условие самоустанавливаемости (неопрокидываемости) заготовки в процессе базирования (рис. 2.1,а). Для этого составим уравнение моментов сил относительно точки А, которое будет иметь вид
.
Опрокидывания заготовки не будет при
.
Подставляя выражения (2.4) и (2.5) в это неравенство, получим
. (2.6)
Из неравенства (2.6) видно, что допускаемая высота заготовки возрастает с увеличением ее наружного диаметра и с уменьшением коэффициента трения в контакте заготовки с опорой. Влияние коэффициента
и диаметра отверстия на допускаемую высоту заготовки является слабым. Так, например, при
=5°, f=0,2 коэффициент
=3,42, а при
=3°, f=0,1
=6,53; для заготовки с d=10мм, D=30мм при f1=0,3 получим для
=3,42
мм, а для
мм.
Если неравенство (2.6) не выполняется, заготовка в процессе базирования опрокидывается, перекашиваясь относительно инструмента
(и опоры). При этом угол перекоса заготовки обычно ограничивается самим рабочим конусом инструмента.
Для определения угла перекоса заготовки β рассмотрим схему, приведенную на рис. 2.2. За начало прямоугольной системы координат примем точку О, являющуюся точкой пересечении оси рабочего конуса инструмента и плоскости основания заготовки в исходном состоянии, которые перпендикулярны друг другу. Ось х совпадает с линией пересечения плоскости основания заготовки в исходном состоянии и плоскости ее опрокидывания, а ось у – с осью рабочего конуса. После поворота заготовки относительно точки А на угол β точка В займет положение В*, а точка С соответственно – С*. Координаты точек В* и С* будут следующими
;
.
Уравнение прямой, проходящей через точку В* под углом к оси абсцисс (90 + α), имеет вид
.
|
|
Рис. 2.2. |
Тогда уравнение прямой, проходящей через точку С* под углом к оси абсцисс (90 - α)
(2.7)
Подставив в уравнение (2.7) координаты точки С*, получим уравнение
(2.8)
После преобразований уравнение (2.8) примет вид
. (2.9)
Это уравнение является уравнением вида
, (2.10)
где
; (2.11)
. (2.12)
Решая уравнение (2.10), получаем
, (2.13)
где
,
. (2.14)
В уравнении (2.9)
, (2.15)
следовательно, уравнение (2.9) всегда имеет решение.
Учитывая соотношения (2.10…2.15), из уравнения (2.9) после преобразований получим следующую зависимость для определения угла перекоса заготовки
, (2.16)
где
– начальная несоосность отверстия заготовки и рабочего конуса инструмента.
Анализ зависимости (2.16) показывает, что основное влияние на угол
оказывают значения
и
. С увеличением
угол
возрастает, а с увеличением
– снижается (рис.2.3). Влияние остальных параметров на величину угла
является незначительным.
Экспериментальные исследования процесса базирования заготовок проводили с помощью устройств, конструктивные схемы которых показаны на рис. 2.4 и 2.5. В ходе экспериментов измеряли осевую силу и перекосы заготовок ∆ (см. рис. 2.2). Исследования проводили на заготовках из стали 20 (НВ = 1500 МПа) с d = 14 мм, D = 42 мм различной высоты L, которая составляла 40, 50, 75, 100 и 125 мм. Шероховатость поверхности торцов заготовок соответствовала параметру
≈ 2,5 мкм, а шероховатость поверхности опоры –
≈ 1,25 мкм. Опорный торец заготовок и инструменты смазывали жидкостью МР-7. Коэффициент трения (покоя) в контакте заготовок с опорой, найденный методом наклонной плоскости, в среднем составлял 0,32. Инструменты были выполнены из стали ШХ15 (НRCэ60…64), диаметр их цилиндрической ленточки был равен 15 мм, угол α составлял 5°, шероховатость рабочих поверхностей соответствовала параметру
≤0,04 мкм. Зазоры в сопряжении направляющей части инструментов и отверстий (опоры, направляющей втулки) составляли около 0,005 мм.
|
|
|
|
а |
б |
|
Рис. 2.3. Зависимости угла перекоса заготовки от несоосности ее отверстия и рабочего конуса инструмента(α=3°): а – d=10мм, D=30мм, 1 – L=75 мм, |
Измерение осевой силы выполняли с помощью образцового динамометра сжатия ДС-0,2 с точностью около 5Н. Для измерения перекоса заготовки использовали индикатор ИРБ с ценой деления 0,01 мм.
Эксперименты подтвердили вышеизложенные теоретические представления о закономерностях процесса базирования заготовок. При высоте заготовки меньше допускаемой она в процессе базирования проскальзывала относительно опоры. При этом обеспечивалось совмещение осей заготовки и рабочего конуса инструмента, т. е. заготовка самоустанавливалась. В противном случае происходил перекос заготовки. Измеренные значения углов перекоса заготовок практически полностью совпадали с их расчетными значениями, определенными по формуле (2.16). Значения допускаемой высоты заготовки, найденные из соотношения (2.6) для f = 0,1 и f = 0,3 при f1 = 0,32, составили соответственно 64,3 мм и 62,8 мм. Экспериментально определенные значения этой высоты находились в пределах от 50 до 75 мм.
|
|
|
|
Рис. 2.4. Устройство для исследования процесса базирования заготовки, осуществляемого консольно закрепленной прошивкой: 1 – инструмент; 2 – опора; 3 – заготовка; 4 – кронштейн; 5 – индикатор; |
Рис. 2.5. Устройство для исследования процесса базирования заготовки, осуществляемого перемещаемой толкателем прошивкой: 1 – инструмент; 2 – опора; |
Экспериментально установлено, что после перекоса заготовки происходит ее заклинивание между инструментом и опорой. По мере увеличения осевой силы, действующей на инструмент, дальнейшее поведение технологической системы дорнования определяется ее жесткостью. Для жестких заготовок, как показали эксперименты, имеет место следующее.
Если дорнование отверстий осуществляется консольно закрепленной прошивкой или протяжкой (см. рис.2.6), обладающих низкой жесткостью, то с увеличением осевой силы происходит уменьшение перекоса заготовки за счет упругого изгиба инструмента; перекос заготовки полностью устраняется еще до начала собственно дорнования отверстия (рис.2.6, б). При снятии осевой силы заготовка и инструмент возвращаются в начальное положение (рис.2.6, а). Так как обычно углы перекоса инструмента
невелики, то возникающие из-за этого погрешности обработки отверстия при дорновании (рис.2.6, в) оказываются незначительными.
|
|
|
|
|
а |
б |
в |
|
Рис. 2.6. Стадии взаимодействия консольно закрепленной прошивки (протяжки) с обрабатываемой заготовкой при нарушении условия ее самоустанавливаемости: а – образование перекоса заготовки; б – устранение перекоса заготовки за счет изгиба инструмента; в – дорнование отверстия |
Иная ситуация возникает, если дорнование отверстий выполняется, например, перемещаемой толкателем однозубой прошивкой с протяженной цилиндрической ленточкой, размещенной с малым зазором в направляющей втулке (рис.2.7). В этом случае в начале обработки обеспечивается высокая жесткость технологической системы. С увеличением осевой силы начальный перекос заготовки так же несколько уменьшается за счет устранения зазора между прошивкой и направляющей втулкой и контактных деформаций в стыках элементов технологической системы [угол
(рис.2.7, б) становится меньше угла
(рис.2.7, а)]. При этом перекос заготовки сохраняется и непосредственно при дорновании отверстия (до выхода прошивки из направляющей втулки), что приводит к появлению большой изгибающей нагрузки на инструмент и значительной погрешности профиля продольного сечения обработанного отверстия.
|
|
Рис. 2.7. Стадии взаимодействия перемещаемой толкателем прошивки с обрабатываемой заготовкой при нарушении условия ее самоустанавливаемости: а – образование перекоса заготовки; б – дорнование отверстия |
|
а |
б |
Таким образом, заклинивание заготовки является крайне нежелательным явлением, так как вызывает изгиб инструмента и может привести к его разрушению, а также снижает точность обработанного дорнованием отверстия. Очевидно, что особенно опасно это явление для твердосплавных инструментов малого диаметра, обладающих низкой изгибной прочностью.
Базирование горизонтально расположенной заготовки при дорновании ее по схеме сжатия. Процесс базирования заготовки в этом случае протекает несколько иначе, чем в рассмотренном выше. При перемещении инструмента влево (рис.2.8) и определенных значениях действующих факторов заготовка, проскальзывая относительно опоры, смещается вверх до совпадения осей рабочего конуса инструмента и обрабатываемого отверстия. Действующие при этом на заготовку (со стороны инструмента) силы определяются из соотношений
;
.
Из этих соотношений следует, что силы в процессе базирования горизонтально расположенной заготовки (при ее проскальзывании относительно опоры) в несколько раз выше, чем в рассмотренном выше случае.
Если не выполняется неравенство
, (2.17)
то заготовка при базировании опрокидывается, поворачиваясь вокруг точки А. Возникающий при этом угол перекоса заготовки также находится по формуле (2.16).
|
|
|
Рис. 2.8. Базирование горизонтально |
Анализ неравенства (2.17) показывает, что только заготовки очень небольшой высоты не будут опрокидываться при базировании. Так, при
=5°,
,
для заготовки с
мм,
мм допускаемая высота
мм, а для заготовки с
мм,
мм при этих же условиях
мм.
Экспериментальные исследования процессов базирования горизонтально расположенных заготовок также выполняли с помощью устройства, показанного на рис. 2.4. Опору устройства закрепляли в трехкулачковом патроне токарного станка; нагружение прошивки осевой силой обеспечивали при помощи пиноли задней бабки станка. Так же как и в предыдущем случае, использовали заготовки из стали 20 с d = 14 мм, D = 42 мм различной высоты. Остальные условия экспериментов также сохранялись неизменными.
Эксперименты показали, что при
,
возникающий при начальном этапе базирования перекос заготовки при дальнейшем перемещении инструмента влево устраняется и обеспечивается самоустанавливаемость заготовки. Если же не выполняется неравенство (2.6), то, так же как и в предыдущем случае, после перекоса заготовки происходит ее заклинивание между инструментом и опорой, которое сопровождается указанными выше негативными последствиями.
|
|
|
Рис. 2.9. Базирование вертикально расположенной заготовки при рабочем ходе инструмента снизу вверх |
Базирование вертикально расположенной заготовки при дорновании ее по схеме сжатия и рабочем ходе инструмента снизу вверх. В этом случае в процессе базирования заготовки (рис.2.9) можно выделить два этапа. На первом этапе при перемещении инструмента вверх происходит совмещение осей его рабочего конуса и обрабатываемого отверстия. На втором этапе базирования инструмент приподнимает заготовку до касания с верхней опорой.
|
Из за большого объема этот материал размещен на нескольких страницах:
1 2 3 4 5 6 7 8 |



















