Действующие на заготовку со стороны инструмента силы на первом этапе базирования находятся из соотношений
;
.
Условие самоустанавливаемости (неопрокидываемости) заготовки принимает вид
.
Анализ этого неравенства показывает, что при реальных значениях
и
опрокидывания заготовки независимо от ее размеров произойти не может, т. е. в рассматриваемом случае на первом этапе базирования всегда обеспечивается самоустанавливаемость заготовки.
Этот вывод подтверждается экспериментами, которые выполнены с помощью устройства, показанного на рис. 2.4. Так, если при базировании сверху стальных заготовок с d=14 мм, D=42 мм, как уже отмечалось, их самоустанавливаемость нарушалась при L>50 мм, то при базировании снизу этого не наблюдалось при L=150 мм.
Вместе с тем, на втором этапе базирования под влиянием, например, вибраций в технологической системе не исключено возникновение перекоса заготовки и ее заклинивание между инструментом и верхней опорой.
2.2. Обеспечение самоустанавливаемости заготовок
Как следует из выше изложенного, при широко используемых на практике технологических схемах дорнования отверстий со сжатием заготовок уже при сравнительно небольшой высоте (L=(1,5…2)D) их самоустанавливаемость нарушается.
Очевидно, что практически неограниченно увеличить допускаемую (по условию самоустанавливаемости) высоту заготовки можно, если перейти от дорнования с ее сжатием к дорнованию с ее растяжением. Если заготовка на конце имеет фланец или наружную выточку, то реализация дорнования с ее растяжением не представляет существенных трудностей. В противном случае для дорнования с растяжением заготовки на ней необходимо создавать искусственную технологическую базу, что является экономически оправданным лишь при изготовлении отдельных деталей, например, длинных гильз гидроцилиндров [30]. Таким образом, дорнование с растяжением заготовки может быть использовано только в немногих случаях.
При дорновании отверстий со сжатием заготовок многократно увеличить их допускаемую высоту можно путем применения специальных установочных приспособлений. Наиболее простыми эти приспособления оказываются для технологической схемы дорнования с вертикальным расположением заготовки и рабочим ходе инструмента сверху вниз.
В качестве одного из таких приспособлений нами предложено использовать приспособление-спутник [37], площадь опоры которого значительно превышает площадь опоры обрабатываемой заготовки. Это приспособление (рис.2.10) выполнено в виде специальной цанги, обод которой соединен упругими спицами с разрезной ступицей. В отверстие ступицы заготовка устанавливается с гарантированным натягом. Наружный радиус обода цанги определяется неравенством
.
Испытания показали, что приспособления – спутники подобной конструкции могут быть применены при дорновании глубоких отверстий малого диаметра во втулках, обладающих высокой продольной устойчивостью.
|
Рис. 2.10. Базирование заготовки, установленной в приспособлении-спутнике: 1 – заготовка; 2 – приспособление-спутник; 3 – опора; 4 – инструмент |
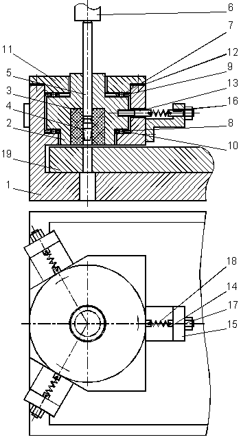
В ряде случаев для обеспечения самоустанавливаемости заготовок при дорновании отверстий может быть использована специальная опора, снабженная подшипником качения [41]. Опора (рис. 2.11) состоит из корпуса 1, внутри которого установлена подвижная в осевом направлении втулка 2, опирающаяся нижним торцом на пружину 3. Для ограничения осевого перемещения этой втулки предусмотрен винт 4. В верхней части корпуса 1 с осевым зазором относительно его торца смонтирована опорная шайба 5 с размещенным в ней упорным шариковым подшипником 6, через который эта шайба взаимодействует с верхним торцом втулки 2. Для удержания шайбы 5 от осевого перемещения служит гайка 7. Обрабатываемая заготовка 8 устанавливается на опорную шайбу 5. Внутри опоры предусмотрено пространство для размещения протяжки 9. В опорной шайбе 5 выполнены три радиальных отверстия, в которые запрессованы штыри 10. Оппозитно этим штырям на жестко закрепленных на корпусе 1 кронштейнах 11 с гайками 12 установлены винты 13. Между штырями 10 и винтами 13 смонтированы пружины 14.
Опора работает следующим образом. Обрабатываемая заготовка 8 устанавливается на опорную шайбу 5 опоры, протяжка 9 перемещается вниз и сначала, воздействуя рабочим конусом первого зуба на кромку обрабатываемого отверстия, обеспечивает совмещение его оси с собственной осью. При этом заготовка 8 перемещается в радиальном направлении вместе с опорной шайбой 5 и упорным шариковым подшипником 6, преодолевая незначительное сопротивление пружин 14. Как только начинается непосредственно процесс дорнования отверстия и осевое усилие дорнования достигает 3…5% от его максимального значения, пружина 3 сжимается, а втулка 2 вместе с упорным шариковым подшипником 6, опорной шайбой 5 и заготовкой 8 перемещается вниз на величину зазора между торцом корпуса 1 и опорной шайбой 5, т. е. шайба 5 с этого момента опирается на торец корпуса 1. После завершения обработки под действием пружины 3 втулка 2 вместе с упорным шариковым подшипником 6, опорной шайбой 5 и заготовкой 8 поднимается в крайнее верхнее положение. Под действием пружин 14 опорная шайба 5 вместе с упорным шариковым подшипником 6 возвращается в центральное положение. Заготовка 8 снимается с опоры, протяжка 9 перемещается в крайнее верхнее положение, устанавливается следующая заготовка, и цикл дорнования отверстия повторяется.
|
Рис. 2.11. Опора для дорнования, снабженная |
2.3. Обеспечение самоустанавливаемости инструмента
Как отмечалось выше, при дорновании отверстий малого диаметра в заготовках большого веса целесообразно добиваться не самоустанавливаемости заготовки по инструменту, а наоборот, обеспечивать самоустанавливаемость инструмента по отверстию неподвижной заготовки.
|
Рис. 2.12. Приспособление для дорнования отверстий малого диаметра в заготовках |
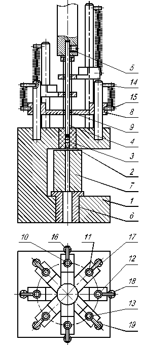
Приспособление для дорнования отверстий малого диаметра в заготовках большого веса [42] показано на рис. 2.12. Оно состоит из корпуса 1, подвижной втулки 2, в которую запрессована направляющая втулка 3. В этой втулке с натягом размещена прошивка 4 и с зазором толкатель 5, взаимодействующий со штоком пресса. Втулка 2 установлена в корпусе 1 на опорах, состоящих из шариков 7 и 8 и сепараторов 9 и 10, и удерживается от осевого смещения крышкой 11. Для регулировки осевого люфта втулки 2 в корпусе 1 служат прокладки 12. Во втулку 2 ввернуты три радиально расположенных винта 13. Оппозитно этим винтам установлены резьбовые штоки 14, размещенные в кронштейнах 15, которые жестко закреплены на корпусе 1. Резьбовые штоки 14 установлены на шпонках 16 и снабжены гайками 17. Между винтами 13 и штоками 14 смонтированы пружины 18. В нижней части корпуса 1 выполнена прорезь для установки обрабатываемой заготовки 19 и провальное отверстие для прошивки 4.
Приспособление работает следующим образом. Обрабатываемая заготовка 19 подается в прорезь корпуса 1. Толкатель 5 вручную перемещается вниз, вместе с ним перемещается прошивка 4, которая взаимодействует рабочим конусом с отверстием заготовки 19 (смещаясь вместе со втулками 2 и 3 и толкателем 5 в плоскости, перпендикулярной оси втулки 2) и самоустанавливается по оси этого отверстия. При этом изгибающие нагрузки на прошивку 4, благодаря малой силе трения в опорах втулки 2, оказываются незначительными. Затем включается привод пресса и его шток 6 через толкатель 5 проталкивает через обрабатываемое отверстие прошивку 4, которая падает в провальное отверстие в корпусе 1. После этого шток 6 пресса отводится в крайнее верхнее положение, а толкатель 5 вручную извлекается из приспособления. Под действием пружин 18 втулка 2 возвращается в центральное положение. Прошивка 4 вставляется сверху в отверстие втулки 2, в него устанавливается толкатель 5, с помощью которого прошивка 4 вводится в отверстие направляющей втулки 3. Далее устанавливается следующая заготовка и цикл обработки повторяется.
3. Разработка и исследование технологической оснастки для дорнования глубоких отверстий
малого диаметра
3.1. Приспособления и инструменты для дорнования глубоких
отверстий малого диаметра
Для дорнования глубоких отверстий малого диаметра использовали технологическую схему обработки, показанную на рис. 1.1, ж. В соответствии с этой схемой дорнование отверстий осуществляется перемещаемой толкателем однозубой прошивкой, размещенной с натягом в направляющей втулке. Такая технологическая схема в сочетании с применением (при необходимости) специальных установочных приспособлений позволяет обеспечить надежное базирование заготовки, снизить до минимума перекосы и изгиб прошивки при входе в обрабатываемое отверстие и, в конечном счете, успешно использовать для дорнования отверстий малого диаметра прошивки из твердого сплава, обладающие высокими технологическими возможностями.
Как показали эксперименты, длина цилиндрической ленточки прошивки может быть принята равной (1…1,5)dи (dи – диаметр ленточки), длина рабочего конуса − (2…3)dи, а длина обратного конуса − (0,5…1)dи. Углы конусов для повышения прочности прошивки целесообразно принимать равными 6°. Для исключения внецентренного приложения усилия к прошивке ее поверхность, контактирующую с торцом толкателя, необходимо выполнять сферической. Шероховатость рабочих поверхностей прошивки должна соответствовать значению
≤0,04 мкм.
Для дорнования глубоких отверстий малого диаметра разработаны приспособления (к прессам) двух основных конструктивных разновидностей [34, 35, 38].
Конструктивная схема приспособления с призматическими направляющими для толкателя прошивки [38] показана на рис.3.1. Оно состоит из корпуса 1, в верхнюю часть которого запрессована направляющая втулка 2. В отверстии этой втулки с натягом размещена однозубая прошивка 3 и с зазором – толкатель 4. В нижнюю часть корпуса 1 запрессована опорная втулка 5, на которую устанавливается обрабатываемая заготовка 6 (приспособление для ее установки на рис. 3.1 не показано). Поддерживающий узел для толкателя 4 состоит из двух плит 7, жестко соединенных между собой болтами 8 с гайками 9. Плиты 7 крепятся к корпусу винтами 10. В плоскости разъема этих плит выполнены
|
|
|
Рис. 3.1. Устройство для дорнования глубоких отверстий малого диаметра с призматическими направляющими для толкателя |
центральный сквозной призматический паз А для направления толкателя 4 и симметрично расположенные относительно него сквозные призматические пазы Б для направления двух цилиндрических скалок 11. На нижних концах этих скалок выполнены пазы, в которых запрессована траверса 12, размещенная в зазоре между плитами 7 с возможностью взаимодействия с толкателем 4. Причем в траверсе 12 выполнен Т-образный паз, а толкатель снабжен поперечиной, размещенной в этом пазе. Верхние концы скалок 11 запрессованы в перекладину 14, связанную со штоком 15 пресса.
Для уменьшения контактных напряжений в стыке толкатель – траверса в средней части последней выполнено утолщение. Для регулировки зазоров между толкателем и пазом А служат прокладки 13.
Приспособление работает следующим образом. Обрабатываемая заготовка 6 устанавливается на втулку 5. При перемещении штока 15 пресса и перекладины 14 вниз вместе с ними по пазам Б перемещаются скалки 11, соединенные траверсой 12, которая перемещает вниз по пазу А толкатель 4. Последний, в свою очередь, проталкивает через отверстие заготовки 6 прошивку 3, которая падает в провальное отверстие во втулке 5. При перемещении штока пресса вверх траверса 12 воздействует на поперечину толкателя и возвращает его в исходное положение. Прошивка 3 устанавливается во втулку 2 и цикл дорнования повторяется.
Таким образом, в описанном приспособлении длина толкателя прошивки становится минимальной (траверса вплотную может подойти к корпусу). Благодаря этому, а также тому, что поддержание толкателя обеспечивается по всей его длине, достигается высокая надежность приспособления в эксплуатации. Очень важно, что это приспособление является и весьма простым в изготовлении.
Вместе с тем, при диаметре обрабатываемого отверстия 1 мм и менее применение приспособления с призматическими направляющими для толкателя становится уже затруднительным из-за уменьшения толщины траверсы. Кроме того, оказывается затруднительным изготовление поперечины толкателя.
|
Рис. 3.2 Устройство для дорнования глубоких отверстий малого диаметра с пластинчатыми направляющими для толкателя |
Поэтому для дорнования глубоких отверстий диаметром d ≤ 1мм было разработано приспособление с пластинчатыми направляющими для толкателя прошивки [34]. Конструктивная схема этого приспособления показана на рис. 3.2. Оно состоит из корпуса 1, в верхнюю часть которого запрессована направляющая втулка 2. В ней с натягом размещена прошивка 3 и с зазором – толкатель 4, закрепленный винтом 5 в штоке пресса. В нижнюю часть корпуса 1 запрессована опорная втулка 6, на которую устанавливается обрабатываемая заготовка 7 (приспособление для ее установки на рис. 3.2 не показано). Для поддержания толкателя служат пластины 8 с запрессованными в них втулками 9 из эластичного антифрикционного материала с центральным отверстием, в котором толкатель установлен с натягом. Пластины 8 по концам содержат бобышки с отверстиями, которыми они свободно установлены
на запрессованные в корпус 1 колонны 10, 11, 12 и 13. Причем каждая пара этих колонн, несущая пластину 8, размещена в различных проходящих через ось толкателя 4 плоскостях. На штырях 14 и 15, запрессованных соответственно в верхнюю часть колонн 10, 11, 12 и 13 и бобышки пластин 8, смонтированы возвратные пружины 16, 17, 18 и 19.
|
Рис. 3.3. Устройство для нанесения жидкого смазочного материала на поверхность глубокого отверстия |
Приспособление работает следующим образом. Обрабатываемая заготовка 7 устанавливается на опорную втулку 6. При рабочем ходе пресса его шток, преодолевая сопротивление пружин 16, 17, 18 и 19 и незначительные силы трения, возникающие при перемещении толкателя 4 во втулках 9, своим торцом последовательно сдвигает размещенные на колоннах 10, 11, 12 и 13 пластины 8 со втулками 9 вниз, а толкатель проталкивает через отверстие заготовки прошивку 3, которая падает в провальное отверстие во втулке 6. При перемещении штока с толкателем 4 вверх под действием пружин 16, 17, 18 и 19 пластины 8 с втулками 9 возвращаются в исходное положение. Прошивка 3 помещается во втулку 2 и цикл обработки возобновляется.
В этом приспособлении расстояние l0 между соседними пластинами должно быть таким, чтобы исключалась потеря устойчивости толкателя. Последний следует рассматривать как нагруженный осевой сжимающей силой тонкостенный стержень, шарнирно опертый по концам и имеющий точечный контакт с промежуточными опорами. Для этого случая расстояние l0 определяется из неравенства
, где E, J – соответственно модуль упругости материала толкателя и момент инерции его сечения; Р – сжимающая сила (усилие дорнования).
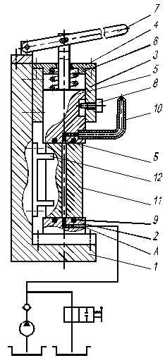
При выполнении операции дорнования глубоких отверстий малого диаметра важной задачей является нанесение жидкого смазочного материала на обрабатываемую поверхность. Для решения этой задачи разработано специальное устройство (рис. 3.3). Оно состоит из основания 1, на котором жестко закреплены опора 2 и стакан 3, снабженный крышкой 4. В стакане 3 соосно с опорой 2 установлена подвижная опора 5. Между ней и крышкой 4 размещена пружина 6, а верхняя часть опоры 5 соединена с двуплечим рычагом 7. Для ограничения осевого перемещения подвижной опоры 5 служит винт 8. В опорах 2 и 5 выполнены каналы А и Б для подвода жидкости, а на их оппозитно расположенных торцах проточены кольцевые пазы, в которых размещены уплотнения 9. Канал Б в опоре 5 соединен с маслоуказателем 10. Для базирования заготовки 11 служит призма 12, закрепленная на основании 1.
Жидкость на поверхность глубокого отверстия наносится следующим образом. Перемещением рукоятки двуплечего рычага 7 вверх поднимается, преодолевая сопротивление пружины 6, подвижная опора 5. Заготовка 11 устанавливается на призму 12. Рукоятка освобождается и под воздействием пружины 6 подвижная опора 5 опускается и через уплотнения 9 зажимает заготовку 11. Жидкость из левого бака через канал А подается в отверстие заготовки 11 и заполняет его и канал Б, о чем свидетельствует появление жидкости в маслоукзателе 10. Затем канал А соединяется с правым баком и жидкость стекает в него. Рукоятка двуплечего рычага 7 поднимается и заготовка снимается с устройства. При этом на поверхности глубокого отверстия остается необходимая для нормального протекания процесса дорнования пленка жидкости.
3.2. Исследование закономерностей механического поведения
технологических систем дорнования глубоких
отверстий малого диаметра
Для обоснованного выбора некоторых конструктивных параметров приспособлений (станков) для дорнования глубоких отверстий малого диаметра и проектирования самой операции дорнования, например, выбора материала толкателя, допустимых зазоров между толкателем и глубоким отверстием существенный интерес представляет изучение деформаций толкателя, возникающих в нем напряжений, а также силового взаимодействия толкателя с элементами поддерживающего узла и обработанной поверхностью отверстия.
3.2.1. Расчетная оценка механического поведения
технологических систем
Приближенное решение задачи о механическом поведении цилиндрического стержня (толкателя), вставленного с зазором в цилиндрическое отверстие и нагруженного осевыми сжимающими силами, приведено в работах [32, 48]. При этом приняты следующие допущения и предположения: 1) имеет место плоская форма изгиба стержня; 2) деформация изгиба стержня мала, так что отношение длины стержня к его прогибу LТ/k > 100; 3) стержень шарнирно оперт по концам; 4) стенки отверстия являются абсолютно жесткими; 5) трение между стержнем и стенками отверстия отсутствует.
В соответствии с решением [32], если сжимающая сила принимает значение
, (3.1)
где
– длина толкателя, то происходит потеря устойчивости на всей длине толкателя и он касается отверстия в одной точке (рис. 3.4, а).
Если сжимающая сила достигает значения
|
| ||
|
а |
б |
в |
|
Рис. 3.4. Схемы деформаций размещенного с зазором в отверстии стержня под действием осевой сжимающей силы |
, (3.2)
то происходит потеря устойчивости на участке
/2 и толкатель прижимается к отверстию на некотором прямолинейном участке (рис.3.4, б). При увеличении сжимающей силы до величины
(3.3)
происходит потеря устойчивости толкателя на указанном прямолинейном участке; на толкателе формируется три полуволны (рис. 3.4, в), а его контакт со стенками отверстия происходит в трех точках. При дальнейшем увеличении сжимающей силы до значения
(3.4)
происходит потеря устойчивости на участках
/6 и на каждой полуволне изогнутого толкателя формируется прямолинейный участок. Если сжимающая сила достигает значения
, (3.5)
|
|
|
Рис. 3.5. Схема к определению реакций стенок отверстия и выводу уравнения изогнутой оси стержня |
то на толкателе возникает девять полуволн, и он контактирует с отверстием в девяти точках. Такая ситуация сохранится до тех пор, пока сжимающая сила не будет превосходить значения
. (3.6)
При этом наибольший прогиб толкателя составляет
, где d и
соответственно диаметры отверстия и толкателя.
Определим реакции стенок отверстия, возникающие в точках контакта с изогнутым толкателем. Чтобы найти эти реакции, следуя [48], рассмотрим участок толкателя длиной, равной длине одной полуволны l (рис. 3.5). Действие отброшенных частей толкателя заменим реакциями RA и RB. Эти реакции будут
, (3.7)
где RC – реакция стенок отверстия. Запишем дифференциальное уравнение упругой линии толкателя для участка ![]()
. (3.8)
Это уравнение имеет следующее решение [32, 48]:
, (3.9)
где
. (3.10)
Граничные условия имеют вид:
1) при х = 0, у = 0;
2) при х =
, у = k;
3) при х =
, у¢ = 0.
Из первого граничного условия получаем В = 0. Из второго и третьего граничных условий получаем соответственно
; (3.11)
. (3.12)
Решая эту систему уравнений, получим
; (3.13)
. (3.14)
Уравнение изогнутой оси толкателя будет иметь вид
. (3.15)
Реакция стенок отверстия, учитывая, что RC = 2RA, будет равна
. (3.16)
При
реакция RC = 0, т. е., если значения сжимающих сил соответствуют выражениям (3.1), (3.3) и (3.5), то реакция стенок отверстия равна нулю. Иными словами, в моменты образования одной, трех, девяти и т. д. полуволн на изогнутом толкателе он лишь касается стенок отверстия, не оказывая на них никакого силового воздействия. При этом изогнутая ось толкателя представляет собой синусоиду. Наибольшие значения реакций стенок отверстия будут при
, т. е. при значениях сжимающей силы, определяемых соотношениями (3.2), (3.4) и (3.6). При этом значения реакций RСmax определятся по формуле
. (3.17)
Таким образом, для определения реакции стенок отверстия сначала по величине сжимающей силы необходимо найти число полуволн N на изогнутом толкателе и длину полуволны
,
а затем воспользоваться уравнением (3.16) или (3.17).
Cила трения толкателя о стенки отверстия определится из выражения
, (3.18)
где f2 – коэффициент трения в этом контакте.
|
|
|
|
а |
б |
|
в |
Рис. 3.6. Зависимости реакций стенок отверстия от сжимающей силы при |
На рис. 3.6…3.9 приведены расчетные зависимости реакций стенок отверстия от величины сжимающей силы для стальных толкателей диаметром 2 и 3 мм и длиной 100 и 200 мм, вставленных с зазорами 0,1 и 0,05 в это отверстие (модуль упругости стали был принят равным 2×105 МПа).
|
|
|
|
а |
б |
|
Рис. 3.7. Зависимости реакций стенок отверстия от сжимающей силы | |
|
|
|
|
а |
б |
|
Рис. 3.8. Зависимости реакций стенок отверстия от сжимающей силы | |
|
|
|
|
а |
б |
|
Рис. 3.9. Зависимости реакций стенок отверстия от сжимающей силы |
Как видно из этих графиков, возникающие реакции незначительны. Их наибольшие значения даже при напряжениях сжатия в толкателях около 2000 МПа оказываются меньше сжимающей силы в 150…300 раз.
|
Из за большого объема этот материал размещен на нескольких страницах:
1 2 3 4 5 6 7 8 |




















