Экзаменационная работа по дисциплине «Реконструкция зданий, сооружений и застройки».
Выполнил студент группы ПГС-10П1:
Проверил преподаватель:
Содержание:
Что включает в себя поверочный расчёт существующих конструкций, чем он отличается от расчётов вновь возводимых конструкций зданий и сооружений? 3-5
Как выполняется усиление опорных и промежуточных узлов сборных железобетонных ферм? Дать пояснение к методу их расчёта. 6-9
Привести примеры возможных вариантов усиления стальных стропильных ферм путём увеличения сечения их стержней? Как выполняется поверочный расчёт? 9-13
Список литературы 14
Вопрос №1: Что включает в себя поверочный расчёт существующих конструкций, чем он отличается от расчётов вновь возводимых конструкций зданий и сооружений?
Поверочный расчёт основной способ оценки технического состояния конструкций.
Поверочный расчёт выполняют с целью выявления:
- возможности
дальнейшей эксплуатации конструкций без ограничений; необходимости усиления конструкции; возможности ограниченной эксплуатации конструкций до плановых ремонтно-восстановительных работ; необходимости немедленного прекращения
эксплуатации для ликвидации аварийной ситуации.
Проведение поверочных расчетов обследуемых строительных конструкций зданий и сооружений можно разделить на два этапа:
- определение несущей способности отдельных элементов (расчет по предельным состояниям первой группы); определение усилий в конструкциях от внешних нагрузок и воздействий, соответствующих проектному заданию на реконструкцию.
Целесообразно выделить среди подлежащих поверочному расчету конструкций две группы:
- не имеющие дефектов. В случаях, когда предлагаемые в дальнейшем изменения нагрузок не приведут к увеличению внутренних усилий (М, N, Q), могут проверяться расчетом по нормам, действующим во время их проектирования; с дефектами, способными снизить несущую способность элементов. Необходимо рассчитывать по нормам, действующим на период обследования с учетом их фактического состояния.
Поверочный расчёт включает в себя:
- составление расчётной схемы; статический расчёт и определение усилий и перемещений в узлах и элементах конструкции; определение напряжений в элементах и узлах, проверка напряжений и перемещений на соответствие группам предельных состояний.
Главным отличием поверочных расчетов существующих конструкций заключается в том, что они выполняться по данным проведенных обследований и учитывают:
- фактические размеры сечений (Рис.1);

Рис. 1 Уменьшение сечения металлической трубы за счёт коррозии
- фактические прочностные и деформативные характеристики материалов; обнаруженные дефекты и повреждения (Рис. 2);

Рис. 2 Трещины в кирпичной кладке
- фактическое исполнение узлов опирания и сопряжения элементов конструкций, что вносит изменения в действительную расчётную схему и напряжённо-деформированное состояние элементов (Рис.3);

Рис. 3 Расчётная схема, используемая при проектировании и действительная расчётная схема плиты, опирающейся на ригели
- наличие и состояние связей, обеспечивающих пространственную жесткость зданий и сооружений и их элементов (Рис.4)

Рис. 4 Форма потери устойчивости из плоскости действия момента для колонн:
1-присоединённых к жёсткому блоку; 2 - не присоединённых к жёсткому блоку;
Вопрос №2: Как выполняется усиление опорных и промежуточных узлов сборных железобетонных ферм? Дать пояснение к методу их расчёта.
При усилении ферм покрытий возможны следующие варианты: усиление ферм в целом, сквозное усиление одного из поясов, усиление отдельных элементов и узлов.
Опорный узел.
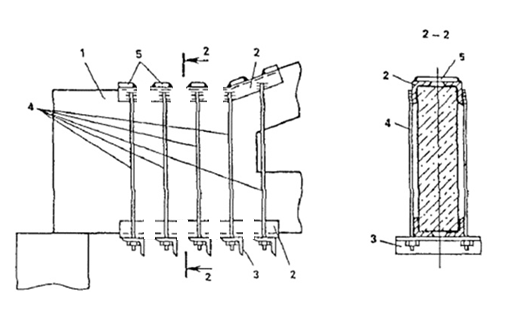
Для усиления опорных узлов (с недостаточной несущей способностью по поперечной силе) ферм рекомендуются металлические предварительно напряженные затяжки. Для понимания идеи усиления рассмотрим частный случай: имеется полный доступ к опорному узлу, за счёт того, что опирание плит покрытия осуществляется через стойки-посредники. (рис. 1).
Перед установкой каких либо усиляющих конструкций необходимо зачистить шлиф-машинкой или пескоструйной машиной горизонтальные поверхности узла, в случае, когда это сделать невозможно выполняется набетонка сверху и снизу. После вышеперечисленных процедур можно устанавливать элементы усиления (рис. 1). Предварительное напряжение достигается закручиванием гаек снизу.

Рис. 5 Усиление опорного узла фермы
1 - усиливаемый элемент; 2 - прокладки из уголков; 3 - упорные уголки;
4 - предварительно напряженные затяжки; 5 - соединительные планки
Для лучшего обжатия бетона соседние затяжки можно объединить между собой (пунктирные линии на рис.5)
В случае необходимости более значительного усиления опор узлов к хомутам на обеих боковых поверхностях опор привязываются сетки и производится омоноличивание опор с дополнительным армированием.
Расчёт усиления опорного узла:

Рис. 6 Расчётная схема усиления опорного узла фермы
Расчетное усилие в напрягаемых хомутах усиления опорных узлов ферм можно определить исходя из двух возможных вариантов разрушения:
1 вариант: Нижний пояс фермы может быть «оторван» от опорного узла по линии А – В за счёт растягивающего усилия в нижнем поясе. При этом, работой уже существующих хомутов, а также бетоном в растянутой зоне пренебрегаем. Спроецировав действующие силы на ось хомутов получим:
∑Foy = Nхом. - N рез. = 0
N рез.- результирующая «отрывающая» сила
N рез.= (Nн. п. - Nsp - Ns – Nс. р.) / ctg б
Nхом. = (N - Nsp - Ns - Ntr) / ctg a;
2 вариант: За счёт действия опорной реакции Fо. р. может произойти разрыв опорного сечения по линии А – С. При этом, работой уже существующих хомутов, а также бетоном в растянутой зоне пренебрегаем. Тогда из условия прочности на изгиб в наклонном сечении по линии А – С, можно записать уравнение равновесия относительно точки C /:
∑MC /= Fо. р.Чa - Nsp Ч (h0,sp - x / 2) - NsЧ (h0 - x / 2) - Nхом. Ч zхом. = 0
Nхом. = (Fо. р.Чa - Nsp Ч (h0,sp - x / 2) - NsЧ (h0 - x / 2)) / zхом.,
x = (Nsp + Ns) / Rb b;
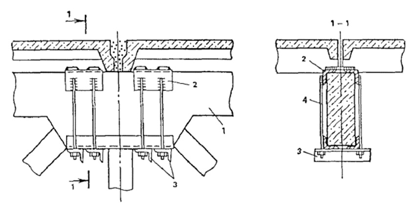
Промежуточный узел:
Технология усиления промежуточных узлов аналогична усилению опорного узла.

Рис. 7 Усиление промежуточного узла фермы
1 - усиливаемый элемент; 2 - прокладки из уголков; 3 - упорные уголки;
4 - предварительно напряженные затяжки; 5 - соединительные планки

Рис. 8 Расчётная схема усиления промежуточного узла фермы
Расчетное усилие Nхом. в напрягаемых хомутах усиления промежуточных узлов ферм можно определить исходя из предположения, что растянутый раскос может быть оторван от верхнего пояса растягивающим усилием. Спроецировав действующие силы на ось хомутов получим:
∑Foy = Nхом. + Asw nDE Rsw - (Nр. р /cosв)=0
Nхом. = (Nр. р /cosв)- Asw nDE Rsw
Asw - площадь сечения одного поперечного стержня (существующего);
Rsw - расчетное сопротивление поперечной арматуры; пDE - число поперечных стержней, пересекающих линию DE.
Также усиление опорных и промежуточных узлов можно выполнять при помощи внешнего армирования углетканью, которая обладает более высокими прочностными характеристиками, нежели сталь (табл. 1).
Сталь | Углеткань | |
Плотность (кг/м3) | 7800 | 1800-1900 |
Модуль упругости, ГПА | 210 | 55 |
Предел прочности (для металлов предел текучести) при растяжении, МПа | 240 | 1700 |
Стойкость к воздействию химически агрессивных сред, солевых растворов | Не стоек. Требуются мероприятия по защите от коррозии | Стоек |

Рис. 9 Усиление промежуточного узла фермы углетканью
При таком варианте усиления, углеткань всесторонне обжимает конструкцию, препятствуя развитию поперечных деформаций, тем самым увеличивает прочность бетона (прочность бетона во всестороннем обжатии увеличивается), препятствуя развитию характерных трещин.
Вопрос №3: Привести примеры возможных вариантов усиления стальных стропильных ферм путём увеличения сечения их стержней? Как выполняется проверочный расчёт?
Для усиления стропильных ферм рекомендуется использовать следующие способы:
- увеличение сечений отдельных элементов; изменение конструктивной схемы; подведение новых конструкций и введение дополнительных элементов решетки.
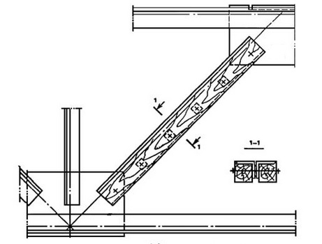
Усиление элементов ферм путём увеличения сечений применятся, как правило, для усиления нижнего пояса фермы, а также для усиления прогнувшихся элементов решётки.
При усилении стропильных ферм путем увеличения сечений стержней следует стремиться к сохранению центровки в узлах ферм. Если в результате усиления расцентровка превышает 1,5% высоты сечения стержня, необходимо рассчитывать стержень с учетом момента от эксцентричного прикрепления в узле. При усилении сжатых стержней элементы усиления целесообразно располагать таким образом, чтобы максимально увеличить радиус инерции сечения, при этом их можно не заводить на фасонки, если обеспечена прочность неусиленного сечения. Элементы усиления растянутых стержней заводят на фасонки на длину, достаточную для передачи воспринимаемой ими части усилия. Совместная работа усиливаемого элемента и дополнительных усиливающих деталей обеспечивается креплением в виде сварных швов. Наиболее предпочтительными вариантами усиления элементов из парных уголков с точки зрения расцентровки изображены на рисунке 9.

Рис. 10 Усиление элементов из парных уголков
1 - усиливаемый элемент; 2 – элемент усиления;
Для исключения аварийных ситуаций при монтаже (растянутый элементы становятся сжатыми, сжатые становятся растянутыми) возможно нарастить сечение растянутых элементов для уменьшения гибкости деревянными брусками. (рис. 11)

Рис. 11 Усиление элементов с использованием деревянного бруса
Суть проверочного расчёта заключается в том, чтобы усиленное сечение удовлетворяло первой (прочность и устойчивость) и второй (прогибы) группе предельных состояний.
В случае, когда усиленное сечение не получает расцентровки (рис. 5), проверка его проводится как для центрально нагруженных стержней:
- сжатые стержни – проверка устойчивости в плоскости действия момента и из плоскости действия момента (проверка прочности необходима только в случае ослабления сечения, и проводится аналогично растянутым стержням):
![]()
(упругая стадия работы)
![]()
(с учётом возникновения пластических деформаций)
![]()
- осреднённое расчётное сопротивление бистального элемента
![]()
– минимальный коэффициент продольного изгиба, определяемый для усиливаемого элемента
![]()
– коэффициент продольного изгиба, определяемый для усиливаемого и элемента усиления
![]()
– нагрузка на элемент до реконструкции
![]()
– добавочные нагрузки на элемент, после реконструкции
![]()
- площадь усиливаемого элемента
![]()
- площадь усиляющего элемента
- растянутые стержни – проверка прочности по нормальным напряжениям от действия продольной силы:
![]()
(упругая стадия работы)
![]()
(с учётом возникновения пластических деформаций)
![]()
– расчётное сопротивление растяжению усиливаемого элемента

Рис. 12 Усиление элемента из парных уголков с расцентровкой усиливаемого элемента
1 - усиливаемый элемент; 2 – элемент усиления;
В случае, когда усиленное сечение получает расцентровку (например, если заказчик реконструкции может предоставить только ограниченную номенклатуру изделий)
(рис. 12), проверку сечения необходимо производить с учётом возникающего эксцентриситета приложения нагрузки. Расчёт проводится аналогично расчёту центрально-сжатых стержней, но с заменой ![]()
на ![]()
(методика определения изложена в СНиП II-23-81*):
- сжатые стержни переходят в разряд сжато – изгибаемых, поэтому проверка устойчивости в свете всего вышесказанного производится следующим образом (проверка прочности необходима только в случае ослабления сечения, и проводится аналогично растянуто-изогнутым стержням):
![]()
(с учётом возникновения пластических деформаций)
Проверку устойчивости сжато-изгибаемых элементов имеет смысл производить только с учётом развития пластических деформаций, так как сечение нужно рассматривать только единым, иначе его нельзя считать сжато – изгибаемым (иначе не возникает расцентровки и как следствие изгибающего момента).
![]()
![]()
– приведенный эксцентриситет (методика определения изложена в СНиП II-23-81*)
![]()
- приведенная гибкость (методика определения изложена в СНиП II-23-81*)
- растянутые стержни переходят в разряд растянуто-изогнутых, поэтому проверку их прочности по нормальным напряжениям теперь необходимо производить совместное действия продольной силы и изгибающего момента:
![]()
![]()
(с учётом возникновения пластических деформаций)
Проверку прочности сжато-изгибаемых элементов имеет смысл производить только с учётом развития пластических деформаций, так как сечение нужно рассматривать только единым, иначе его нельзя считать растянуто – изгибаемым (иначе не возникает расцентровки и как следствие изгибающего момента).
![]()
– общий момент сопротивления усиливаемого элемента и элемента усиления
Список литературы:
Реконструкция зданий и сооружений / , , , Под ред. М.: Высшая школа, 1991. Пособие по проектированию усиления стальных конструкций (к СНиП II-23-81*) / , , , и др. М.: Стройиздат, 1989. Рекомендации по проектированию усиления железобетонных конструкций зданий и сооружений реконструируемых предприятий / , , , и др.; под ред. М.: Стройиздат, 1992. Реконструкция промышленных предприятий / , , , М.: Стройиздат, 1990. Расчёт усилений конструкций перед реконструкцией и капитальным ремонтом / , , Тамбов: Издательство ФГБОУ ВПО "ТГТУ", 2012. Реконструкция зданий и сооружений: усиление, восстановление, ремонт / , 2-е изд. М.: Издательство Ассоциации строительных вузов, 2012. Рекомендации по оценке состояния и усилению строительных конструкций промышленных зданий и сооружений / , , , и др. М.: Стройиздат, 1989.


