Министерство образования Иркутской области
Государственное бюджетное профессиональное образовательное учреждение Иркутской области
«Иркутский колледж автомобильного транспорта и дорожного строительства»
Методические указания
по выполнению практических работ по теме «Соединения элементов строительных конструкций» междисциплинарного курса МДК.01.01 Проектирование зданий и сооружений
для студентов специальности 08.02.01 Строительство и эксплуатация зданий и сооружений
Иркутск 2016 г.
Методические указания по выполнению практических работ разработаны в соответствии с рабочей программой междисциплинарного курса МДК.01.01 Проектирование зданий и сооружений по специальности среднего профессионального образования: 08.02.01 Строительство и эксплуатация зданий и сооружений
Организация-разработчик: ГБПОУ ИО «ИКАТ и ДС»
Разработчики:
, преподаватель ГБПОУ ИО «ИКАТ и ДС»
Рассмотрено на заседании совета профессиональной программы
МДК.01.01 Проектирование зданий и сооружений: Методические указания по выполнению практических работ по теме «Соединения элементов строительных конструкций» для студентов 08.02.01 Строительство и эксплуатация зданий и сооружений / . – Иркутск: ГБПОУ ИО «ИКАТ и ДС», 2016. - 13 с.
Методические указания по выполнению практических работ по теме «Соединения элементов строительных конструкций» МДК.01.01 Проектирование зданий и сооружений составлены в соответствии с ФГОС СПО по специальности 08.02.01 Строительство и эксплуатация зданий и сооружений. Методические указания предназначены студентам заочной формы обучения.
ВВЕДЕНИЕ
Методические указания разработаны для выполнения 2 практических работ. Практические работы выполняются в теме «Соединения элементов строительных конструкций». Практические работы №11 «Расчет сварных швов», №12 «Расчет нагельного соединения» выполняются для достижения результата «Выполнять расчеты соединений элементов строительных конструкций».
В методических указаниях для каждой практической работы представлены краткие теоретические сведения по теме, примеры решения типовых задач, даны задания для индивидуального выполнения работ по вариантам, и зачетные контрольные вопросы. При выполнении работ необходимо обязательно пользоваться соответствующими СНиПами, СП.
Методические указания к выполнению практической работы №11.
«Расчет сварных швов»
Цель работы: выработать практические навыки и умения расчета сварных соединений.
Ход работы: ознакомиться с методикой решения задач. Выполнить расчет стыковых и угловых швов по индивидуальным заданиям.
Краткие теоретические сведения
Сварные соединения различают по конструктивному признаку на стыковые и угловые. Толщину стыкового шва принимают равной толщине наиболее тонкого из свариваемых элементов. Расчетная длина сварного шва за счет возможного непровара по концам соединения ( при отсутствии специальных конструктивных мероприятий) принимается равной его полной длине, уменьшенной на двойную толщину для стыкового шва и на 1 см для углового шва.
ℓw=ℓ - 2t
ℓw=ℓ -1 см.
Расчет стыковых швов на растяжение или сжатие производят по формуле:
N/t* ℓw≤ Rwy*γc (1)
где N-продольная сила;КН,
t - наименьшая толщина соединяемых элементов,
ℓw - расчетная длина шва,
Rwy - расчетное сопротивление стыкового шва растяжению, сжатию определяется по СНиП Rwy=0,85 Ry
Если прочность стыкового шва недостаточна, его делают косым.
Угловые сварные швы работают на срез.
Расчет угловых швов выполняют по формуле:
N/[n*βf*kf* ℓw] ≤ Rwf*γc*γwf (2)
где: n – число швов (односторонний или двусторонний шов)
βf – коэффициент, учитывающий глубину провара шва, зависит от вида сварки и марки электродов: для ручной сварки 0,7; для автоматической 1.
kf – катет углового шва, см.
Rwf – расчетное сопротивление углового шва срезу по металлу шва, МПа;
γc – коэффициент условий работы соединения;
γwf –коэффициент условий работы шва.
N/[n*βz*kf* ℓw] ≤ Rwz*γc*γwz (3)
Индекс z означает, что расчет шва выполняют по металлу границы сплавления.
Задача 1.Два листа (рис.1) из стали С235 сечением 1100х7 мм соединены прямым сварным швом встык ручной сваркой. Электроды марки Э42А. Определить, какое растягивающее усилие может выдержать стык.

Рис.1.
Решение:
Расчетное сопротивление стыкового шва на растяжение Rwy=182 МПа.
Коэффициент условий работы соединения γc =1.
Определяем расчетную длину шва: ℓw=ℓ - 2t = 110-2*0,7=108,6 см.
Из условия прочности (1) получим растягивающее усилие, воспринимаемое сварным швом:
N=Rwy* γc*t* ℓw=18.2*1*0.7*108.6=1384 КН.
Ответ: Стык может выдержать усилие 1384 КН.
Задание - Выполнить аналогичный расчет стыкового шва по индивидуальным заданиям (таблица 1)
Таблица 1.
№ варианта | Ширина листов, мм | Толщина листов, мм | Марка стали | Коэффициент условий работы γc |
1 | 300 | 4 | С235 | 1 |
2 | 310 | 5 | С245 | 0,95 |
3 | 320 | 6 | С255 | 1 |
4 | 340 | 7 | С275 | 0,95 |
5 | 380 | 8 | С285 | 1 |
6 | 400 | 9 | С345 | 0,95 |
7 | 420 | 10 | С345К | 1 |
8 | 440 | 11 | С375 | 0,95 |
9 | 460 | 12 | С235 | 1 |
10 | 500 | 14 | С390 | 0,95 |
11 | 550 | 16 | С390К | 1 |
12 | 600 | 8 | С440 | 0,95 |
13 | 640 | 4 | С590 | 1 |
14 | 680 | 6 | С590К | 0,95 |
15 | 720 | 10 | С245 | 1 |
Задача 2. Проверить прочность стыкового шва двух элементов на действие растягивающей силы N. Материал конструкции – сталь С-245. Сварка ручная, электроды Э 42. Недостающие данные принять по таблице 2.
Таблица 2.
№ варианта | N, кН | t, мм | ℓ, мм | γn | γc |
1 | 220 | 4 | 300 | 1 | 0,95 |
2 | 270 | 6 | 310 | 0,95 | 1 |
3 | 450 | 8 | 320 | 1 | 0,95 |
4 | 500 | 10 | 330 | 0,95 | 1 |
5 | 600 | 12 | 340 | 1 | 0,95 |
6 | 700 | 14 | 360 | 0,95 | 1 |
7 | 800 | 16 | 370 | 1 | 0,95 |
8 | 900 | 18 | 380 | 0,95 | 1 |
9 | 1000 | 20 | 390 | 1 | 0,95 |
10 | 1100 | 22 | 400 | 0,95 | 1 |
11 | 1200 | 25 | 450 | 1 | 0,95 |
12 | 1300 | 28 | 580 | 0,95 | 1 |
13 | 1400 | 30 | 470 | 1 | 0,95 |
14 | 1500 | 32 | 500 | 0,95 | 1 |
15 | 1600 | 34 | 520 | 1 | 0,95 |
16 | 1700 | 36 | 530 | 0,95 | 1 |
17 | 1800 | 28 | 540 | 1 | 0,95 |
18 | 1900 | 25 | 600 | 0,95 | 1 |
19 | 200 | 18 | 620 | 1 | 0,95 |
20 | 2000 | 7 | 200 | 0,95 | 1 |
21 | 300 | 6 | 210 | 1 | 0,95 |
22 | 400 | 8 | 220 | 0,95 | 1 |
23 | 520 | 12 | 230 | 1 | 0,95 |
24 | 640 | 10 | 250 | 0,95 | 1 |
25 | 720 | 16 | 270 | 1 | 0,95 |
26 | 850 | 18 | 280 | 0,95 | 1 |
27 | 920 | 20 | 290 | 1 | 0,95 |
28 | 780 | 10 | 315 | 0,95 | 1 |
29 | 385 | 12 | 346 | 1 | 0,95 |
30 | 492 | 14 | 423 | 0,95 | 1 |
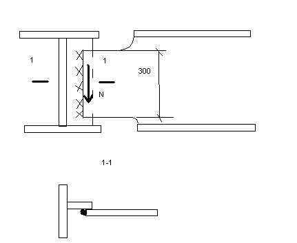
Задача 3. Требуется рассчитать сварной монтажный стык балки (рис.2). Материал конструкций – сталь С235, электроды Э42А. Сварка ручная. Расчетная срезающая сила с учетом коэффициента надежности по назначению N=131 кН, толщина ребра 8 мм, толщина стенки балки 7,5 мм.

Рис.2
Решение.
Принимаем односторонний угловой шов по всей высоте обрезанной стенки балки длиной 30 см. Расчетные сопротивления углового шва срезу по металлу шва Rwf =180 МПа=18 кН/см2, срезу по металлу сплавления Rwz=166 МПа=16,6 кН/см2. коэффициент условий работы γc=1. при ручной сварке βf=0,7, βz=1. γwf =1, γwz =1.
Расчетная длина шва
ℓw=ℓ -1 см.=30-1=29 см. необходимый катет углового шва находим из 1)условия среза по металлу шва:
kf =N/[n*βf* Rwf*γc*γwf * ℓw] = 131/1*0,7*18*1*1*29=0,36 см=3,6 мм.
2)условия срезу по металлу границы сплавления:
kf =N/[n*βz* Rwz*γc*γwz * ℓw] = 131/1*1*16,6*1*1*29=0,27 см=2,7 мм.
Принимая большую из величин kf, расчетный катет углового шва составит 3,6 мм. Однако по конструктивным требованиям катет шва при наибольшей толщине свариваемых элементов t=8 мм не может быть меньше 5 мм (таблица 3). Окончательно принимаем сварной шов толщиной 5 мм.
Таблица 3.
Минимальные катеты сварных швов.
Вид сварки | Предел текучести стали, МПа | Толщина более толстого из свариваемых элементов, мм | |||||
4-5 | 6-10 | 11-16 | 17-22 | 23-32 | 33-40 | ||
Автоматическая и механизированная | До 430 | 3 | 4 | 5 | 6 | 7 | 8 |
430-580 | 4 | 5 | 6 | 7 | 8 | 9 | |
Ручная дуговая | До 430 | 4 | 5 | 6 | 7 | 8 | 9 |
430-580 | 5 | 6 | 7 | 8 | 9 | 10 |
Задача 4. Определить катет сварного углового шва стыка двух листов (рис.3). Сварка ручная, электроды Э42А. Материал конструкции сталь С245. Коэффициент надежности по назначению γn=0.95. Исходные данные принять по таблице 4.

Рис.3.
Таблица 4.
Номер варианта | N, кН | t, мм | l, мм |
1 | 40 | 6 | 100 |
2 | 60 | 6 | 140 |
3 | 70 | 6 | 160 |
4 | 80 | 6 | 180 |
5 | 90 | 6 | 200 |
6 | 100 | 8 | 220 |
7 | 120 | 8 | 240 |
8 | 130 | 8 | 260 |
9 | 140 | 8 | 280 |
10 | 160 | 8 | 300 |
11 | 180 | 8 | 320 |
12 | 200 | 10 | 340 |
13 | 220 | 10 | 360 |
14 | 260 | 10 | 380 |
15 | 280 | 10 | 400 |
16 | 300 | 10 | 420 |
17 | 320 | 10 | 440 |
18 | 340 | 10 | 460 |
19 | 280 | 8 | 480 |
20 | 300 | 8 | 500 |
21 | 320 | 8 | 520 |
22 | 340 | 8 | 540 |
23 | 260 | 6 | 560 |
24 | 285 | 6 | 580 |
25 | 310 | 6 | 600 |
26 | 325 | 6 | 620 |
27 | 345 | 6 | 640 |
28 | 365 | 6 | 660 |
29 | 418 | 8 | 680 |
30 | 444 | 8 | 700 |
Контрольные вопросы
1.Какие вы знаете соединения металлических конструкций?
2.Укажите преимущества и недостатки сварных соединений.
3.Назовите и охарактеризуйте типы сварных швов.
4.Назовите условие прочности стыковых сварных швов.
5.От чего зависит расчетная длина стыкового и углового шва?
6.Назовите условие прочности угловых сварных швов.
7.Почему расчетная длина шва не равна его геометрической длине?
8.Необходимо знать все используемые условные обозначения и их смысл.
Методические указания к выполнению практической работы №12.
«Расчет нагельного соединения»
Цель работы: выработать практические навыки и умения расчета нагельных соединений.
Ход работы: ознакомиться с методикой решения задач. Выполнить расчет нагельного соединения по индивидуальным заданиям.
Краткие теоретические сведения
Нагельные соединения деревянных конструкций могут быть симметричными и несимметричными. К ним относятся болты, сквозные и глухие нагели, гвозди. Расчетную несущую способность цилиндрического нагеля на один шов сплачивания при направлении усилий, передаваемых нагелями вдоль волокон и гвоздями под любым углом определяют исходя из условий: изгиба нагеля, смятия древесины крайнего соединяемого элемента толщиной «а» и древесины среднего соединяемого элемента толщиной «с» по таблице СНиП:
Схемы соединений | Напряженное состояние соединения | Расчетная несущая способность Т на один шов сплачивания (условный срез) стального нагеля, кН |
1.Симметричные соединения | а)смятие в средних элементах; б)смятие в крайних элементах | 0,5 cd 0.8ad |
2.несимметричные соединения | а)смятие во всех элементах равной толщины, а также в более толстых элементах односрезных соединений | 0,35cd |
б)смятие в более толстых средних элементах двухсрезных соединений при а≤0,5с | 0.25cd | |
в)смятие в более тонких крайних элементах при а≤0,35с | 0.8ad | |
г)смятие в более тонких элементах односрезных соединений и в крайних элементах при с>а>0,35с | Кн*а*d | |
3.Симметричные и несимметричные соединения | а)изгиб гвоздя | 2,5d2+0,01а2, но не более 4d2 |
б)изгиб нагеля стали ВСт 3 | 1,8d2+0.02a2, но не более 2,5d |
Где: d-диаметр нагеля;
Кн-приведены в СНиП II-25-80.
Расчетную несущую способность на один шов сплачивания принимают равной минимальной из трех значений. Расположение нагелей производят с учетом наименьших расстояний между их осями. Для стальных цилиндрических нагелей: S1=7d, S2=3.5d, S3=3d., для гвоздей S1=15d при толщине пробиваемого элемента с=4d; для элементов непробиваемых гвоздями насквозь, независимо от их толщины S1 ≥15d, S2=4d, S3=4d. Диаметр гвоздей следует принимать не более 0,25 толщины пробиваемых элементов.
Блок – схема расчета
Определение расчетной силы→ определение диаметра нагеля → определение несущей способности нагеля → определение числа нагелей → размещение нагелей.
Задача. Рассчитать нагельное соединение стыка растянутого пояса фермы (рис.4.), выполненного с помощью накладок на нагелях из круглой стали марки С235. пояс фермы выполнен из брусьев сечением c*h=130*180 мм. Накладки приняты из досок сечением a*h=60*180 мм каждая. Расчетное растягивающее усилие N´=120 кН. Коэффициент надежности по назначению γn=1. конструкция пояса изготовлена из сосны 2 сорта и относится к группе Б1.
Рис 4.
РЕШЕНИЕ:
Расчетная сила с учетом коэффициента надежности по назначению:
N=N´* γn=120*1=120 кН.
Диаметр нагелей принимаем равным (0,2-0,25)а, где а - толщина накладки.
d=1,6 см.
определяем несущую способность нагеля на один шов сплачивания (таблица):
- из условия изгиба нагеля:
Т=1,8d2+0.02a2=1.8*1.62+0.02*62=5.32 кН≤2,5d2=2.5*1.6=6.4 кН.
-из условия смятия среднего элемента:
Тс=0,5cd=0,5*13*1,6=10,4 кН.
-из условия смятия крайнего элемента:
Та=0,8аd=0,8*6*1,6=7,7 кН.
Наименьшая несущая способность Т=5,32 кН.
Нагели двухсрезные - nш=2.
Требуемое число нагелей: n=N/( nш*Т) = 120/(2*5,32)=11,3 шт.
Принимаем 12 нагелей, из них 4 болта с каждой стороны стыка. Нагели располагаем в два продольных ряда. Расстояние между нагелями вдоль волокон: S1=7d=7*1.6=11.2 см.
Принимаем 12 см.
Расстояние от оси нагелей до кромки накладок:
S3=3d=3*1.6=4.8 см. Принимаем 5 см.
Расстояние между нагелями поперек волокон:
S2=3.5d=3.5*1.6=5.6 см.
Принимаем 8 см (исходя из размеров сечения).
Задание. Решить аналогичную задачу по индивидуальным заданиям таблицы 5.
Таблица 5.
Варианты заданий
№ варианта | с, см | а, см | h, см | N´, кН | γn |
1 | 120 | 40 | 160 | 100 | 0.95 |
2 | 110 | 50 | 170 | 110 | 1 |
3 | 100 | 60 | 150 | 120 | 0.95 |
4 | 140 | 70 | 190 | 130 | 1 |
5 | 130 | 45 | 170 | 140 | 0.95 |
6 | 150 | 55 | 180 | 150 | 1 |
7 | 160 | 65 | 190 | 90 | 0.95 |
8 | 170 | 75 | 200 | 80 | 1 |
9 | 180 | 40 | 210 | 110 | 0.95 |
10 | 140 | 50 | 150 | 120 | 1 |
11 | 130 | 60 | 160 | 130 | 0.95 |
12 | 120 | 70 | 180 | 140 | 1 |
13 | 110 | 45 | 150 | 150 | 0.95 |
14 | 160 | 55 | 200 | 100 | 1 |
15 | 150 | 65 | 210 | 130 | 0.95 |
Контрольные вопросы
1.Какие вы знаете соединения деревянных конструкций?
2. От чего зависит расчетная несущая способность нагеля?
3.От чего зависит расчетная несущая способность нагеля?
4.На что работают нагели?
Литература
Основная:
1. Сетков, конструкции. Расчет и проектирование : учебник для студ. сред. проф. Образования / , . - 3-е изд. доп. и испр. - М.: ИНФРА-М, 2011. – 312 с.
Дополнительная:
1. Мандриков расчета металлических конструкций.-М.:Стройиздат,1991
2. , , Мандриков конструкции. Т.1.-М.:Стройиздат,1984
3. , Добромыслов задач по строительным конструкциям.-М.:Стройиздат,1986
Нормативно-справочная:
1. СНиП 2.01.07-85*.Нагрузки и воздействия.
2. СНиП II-23-81*.Стальные конструкции.
3. СНиП II-25-80.Деревянные конструкции.
4. СП 53-102-2004. Общие правила проектирования стальных конструкций



