Раздел III. Организация государственной противопожарной службы.
Оперативная пожарная обстановка. Анализ основных параметров и элементов оперативной обстановки в городе. Определение параметров оперативной обстановки. Сущность организационного проектирования систем пожарной безопасности городов. Требования нормативных актов, определяющих порядок организации противопожарной в городах и сельских населенных пунктах. Организация противопожарной службы в организациях и на объектах. Определение количества пожарных депо и пожарных автомобилей в городах, сельских населенных пунктах и предприятиях.
Вопросы для подготовки к экзамену по дисциплине «Пожарная безопасность отраслей экономики»
Вопросы для подготовки
1. Сложный массотеплообменный процесс разделения жидких смесей, состоящих из нескольких взаиморастворимых компонентов.
2. Название установки, изображенной на рисунке:

1 - корпус; 2 - тарелки; 3 - куб; 4, 6 - исчерпывающая и укрепляющая части колонны; 5 - питательная тарелка; 7 - дефлегматор.
3. Какая жидкость поступает на орошение верха ректификационной колонны и перетекает по колонне сверху вниз?
4. Процесс поглощения газов, паров и растворенных веществ твердыми телам и жидкостями.
5. Процессы сорбции, как правило, обратимы. На основе какого процесса основано выделение поглощенных веществ?
6. Как называются поглотители, применяемые для осуществления процессов сорбции?
7. Как называется метод улавливания или выделения органических растворителей с целью их повторного использования?
8. В промышленности процессы абсорбции обычно идут в аппаратах колонного типа, как они называются?
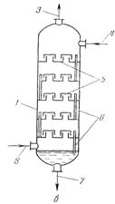
9. Название установки, изображенной на рисунке:

1- корпус; 2 - насадка; 3 - отвод абсорбируемых газов; 4 - ввод абсорбента; 5 - патрубки с колпачками, 6 - сливные трубки; 7 - выход отработанного абсорбента; 8 – ввод абсорбтива (газа).
10.Название установки, изображенной на рисунке:

1- корпус; 2 - насадка; 3 - отвод абсорбируемых газов; 4 - ввод абсорбента; 5 - патрубки с колпачками, 6 - сливные трубки; 7 - выход отработанного абсорбента; 8 – ввод абсорбтива (газа).
11. Процесс поглощения веществ из смеси газов жидкостью.
12. Процесс поглощения (концентрирование) веществ из растворов или газов на поверхности твердого тела.
13. Вид растворителя для лакокрасочных материалов.
14. Процесс поглощения, сопровождающийся образованием химических соединений.
15. Какие условия должны выполняться для потекания процесса десорбции?
16. Какие условия должны соблюдаться для протекания процесса сорбции?
17. Какие вещества используют в качестве адсорбентов?
18. Растворы пленкообразующих веществ, исполбзуемые в летучих органических растворителях.
19. Какие вещества применяются в промышленности в качестве адсорбента?
20. Вид растворителя для лакокрасочных материалов.
21. Чем являются колонны, камеры, автоклавы?
22. Какие вещества применяются в промышленности в качестве адсорбента?
23.К какому виду относятся 90 % лакокрасочных материалов?
24.Способ окраски, изображенный на схеме:

25.Способ окраски, изображенный на схеме:

1 - ванна; 2 - насос; 3 - карман; 4 - сточный лоток; 5 - изделие; 6 - конвейер.
26.Способ окраски, изображенный на схеме:

1 - воздушные завесы; 2 - входной и выходной тамбуры; 3 - контур с соплами; 4 - камера облива; 5 - изделие; 6 - конвейер; 7 - паровой туннель; 8 - рециркуляционная вентиляция; 9 - насос; 10 - красочный бак.
27.Способ окраски, изображенный на схеме:

28. Вид растворителя для лакокрасочных материалов.
29.Тепловой процесс удаления влаги из твердых материалов путем ее испарения и отвода образующихся паров.
30.Влажностью материала называется количество влаги, выраженное в какой единице измерения?
31.Как называется любая жидкость (горючая и негорючая), находящаяся в материале?
32.Сушильная установка, изображенная на схеме:

1- вентиляторы; 2 - подогреватели; 3 - сушильная камера; 4 - транспортные приспособления; 5 - рециркуляционная линия.
33.Сушильная установка, изображенная на схеме:

1 - осевые вентиляторы; 2 - калориферы; 3 - каналы для воздуха; 4 - высушиваемый материал; 5 - направляющие экраны (щитки); 6 - тележка.
34.Сушильная установка, изображенная на схеме:

1 - сушильная камера; 2, 3 - шиберы для регулирования расхода воздуха; 4 - вытяжная труба; 5 - жалюзийная камера; 6 - осевой вентилятор; 7 - калорифер; 8 - высушиваемый материал; 9 - двери.
35.Сушильная установка, изображенная на схеме:

1- вентилятор; 2 - калорифер; 3 - поворачивающиеся полки; 4 - циклон; 5 - рукавный фильтр; 6 - шнек для выгрузки высушенного материала.
36.Вид растворителя для лакокрасочных материалов.
37.Классификация химических реакторов по режиму движения реакционной среды.
38.Процесс образования высокомолекулярного вещества (полимера) путём многократного присоединения молекул низкомолекулярного вещества (мономера, олигомера) к активным центрам в растущей молекуле полимера.
39.Процесс образования полимеров, при котором взаимодействие молекул мономеров сопровождается выделением побочных низкомолекулярных соединений (воды, спирта, хлористого водорода и др.).
40.Какой процесс используется в промышленности для получения полиолефинов?
41.Какой процесс используется в промышленности для получения синтетических смол?
42.Какое давление поддерживают в реакторе для осуществления в промышленных условиях процесса производства полиэтилена методом высокого давления?
43.Компоненты, используемые при получении синтетического каучука.
44. По какой формуле определяется избыточное давление взрыва DР для индивидуальных горючих веществ, состоящих из атомов С, Н, О, N, Cl, Br, I, F?
45.Время ручного отключения трубопровода.
46.Время автоматического отключения трубопровода.
47.Маслянистая, легковоспламеняющая жидкость.
48.Какой нормативный документ устанавливает противопожарные требования к складам нефти и нефтепродуктов?
49.Категории складов нефти и нефтепродуктов.
50.Общая вместимость склада нефти и нефтепродуктов I категории.
51.Общая вместимость склада нефти и нефтепродуктов II категории.
52.Общая вместимость склада нефти и нефтепродуктов IIIа категории.
53.Общая вместимость склада нефти и нефтепродуктов IIIб категории.
54.Общая вместимость склада нефти и нефтепродуктов IIIв.
55.Общая вместимость резервуаров для хранения нефтепродуктов, размещаемых на территории автозаправочной станции, должна быть (с учетом вместимости хранимой автоцистерны), при размещении автозаправочной станции за пределами населенных пунктов.
56.Формула для определения высоты обвалования на складах нефти и нефтепродуктов.
57.Технологическая установка, изображенная на схеме:


1 - сырая нефть; 2 - теплообменник; 3 - обессоленная и обезвоженная нефть; 4 - горячая вода; 5 - деэмульгатор; 6 - раствор щелочи; 7 – электродегидратор (ЭД); 8 - нефть; 9 - пара электродов; 10 - уровень раздела фаз нефть-вода; 11 - вода; 12 - переливная труба для сброса воды в канализацию.
58.Технологическая установка, изображенная на схеме:

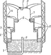
1 - предварительная отбензинивающая колонка К-1; 2 - пары нестабильного бензина; 3 - сложная ректификационная колонна К-2; 4 - теплообменники; 5 - обессоленная и обезвоженная нефть с ЭЛОУ; 6 - бензин; 7 - лигроин; 8 - керосин; 9 - соляр; 10 - вакуумная колонна К-10; 11 - газойль; 12 - веретенное масло; 13 - машинное масло; 14 - цилиндровое масло; 15 - гудрон; 16 - трубчатая печь; 17 - мазут; 18 - отбензиненная нефть.
59.Расстояние от склада сжиженного углеводородного газа до высоковольтной линии электропередач с высотой опоры 20 м.
60.Какие вещества относятся углеводородным газам?
61.Углеводородные газы, используемые в быту.
62.Как называют температуру при которой газ переходит в жидкое состояние?
63.Сильно пахнущие вещества, добавляемые в сжиженный газ для придания ему специфического запаха.
64. Химическая формула ацетилена.
65. Физические свойства ацетилена (С2Н2).
66.НКПРП цетилена (С2Н2).
67.ВКПРП ацетилена (С2Н2).
68.Температура горения ацетилена (С2Н2) (в воздухе).
69.Химическая формула карбида кальция.
70.Какое количество С2Н2 выделяет при взаимодействии с водой 1 кг карбида кальция?
71.Что образуется при реакция взаимодействия СаС2 с водой?
72.Название аппарата, изображенного на схеме:

73.Название аппарата, изображенного на схеме:

1 - неподвижный резервуар; 2, 3 - на-правляющие: 4 - верхние ролики теле-скопов и колокола; 5 - специальный колпак против образования вакуума; 6 - грузы; 7 - колокол; 8 - нижние ролики телескопов и колокола; 9 - трубопровод.
74.Название склада лесоматериала согласно классификации по месту в лесопромышленном комплексе.
75.Какой нормативный документ устанавливает противопожарные требования к складам лесоматериалов?
|
Из за большого объема этот материал размещен на нескольких страницах:
1 2 3 4 5 6 7 8 |



