ГРОДНЕНСКИЙ ГОСУДАРСТВЕННЫЙ АГРАРНЫЙ УНИВЕРСИТЕТ
Кафедра механизации и
электрификации животноводства
07-16
МЕТОДИЧЕСКОЕ УКАЗАНИЕ
по выполнению практической работы
УСТРОЙСТВО И РАБОТА МОЛОЧНО-ВАКУУМНОЙ СИСТЕМЫ
ДОИЛЬНОЙ УСТАНОВКИ «ВЕСТФАЛИЯ».
по курсу «Механизация и электрификация животноводства»
для студентов зооинженерного факультета
Составила: ассистент
Рассмотрена и утверждена на
заседании кафедры
«16» января 2008 г.
Протокол № 6
Гродно – 2008
Цель работы: Изучение устройства и работы молочно-вакуумной системы
доильной установки «Вестфалия».
Оборудование: фрагмент доильной установки «Вестфалия» и методические
пособия.
ОТЧЕТ ДОЛЖЕН СОДЕРЖАТЬ:
1. Назначение и общее устройство вакуумно-молочной системы доильной установки «Вестфалия».
2. Схему вакуумной линии. Устройство и принцип работы вакуумного регулятора и вакуумного насоса.
3. Схему молочной линии. Устройство и принцип работы электромагнитного пульсатора и молокоприемника.
ОБЩИЕ СВЕДЕНИЯ.Доильная установка «Вестфалия» предназначена для доения коров в доильных залах при беспривязном боксовом содержании животных. Она обеспечивает машинное доение коров, учет и транспортировку выдоенного молока, фильтрование и охлаждение. Типовая доильная установка содержит по два групповых станка, расположенных вдоль траншеи. В зависимости от количества коров на ферме установка содержит от 6 до 28 доильных станков.
В комплект установки входят (рис.1) вакуумный агрегат, молокопровод, трубопровод автомата промывки молокопроводящих путей, вакуум-провод, автоматизированная компьютерная система доения с молокоприемником и приспособлением для подмыва вымени коровы.

ВАКУУМНОЙ СИСТЕМЫ
Вакуумная установка (рис.2) комплектуется водокольцевым вакуумным насосом, вакуумным баллоном, емкостью для воды. Вакуумный баллон служит для сглаживания колебаний вакуума. Он защищает насос от попадания в его промывочной жидкости, а также от металлических частиц и других инородных предметов, попадающих в вакуумные трубопроводы при демонтажно-монтажных работах.

Рис. 2. Принципиальная схема водокольцевой вакуумной установки:
1 – вакуумный насос; 2 – емкость для воды; 3 – вакуумный баллон;
4 – клапан; 5 – муфта; 6 – патрубок нагнетательный
Достоинством водокольцевых насосов является отсутствие трущихся деталей и малый уровень шума. Указанные достоинства обеспечиваются принципом их работы. Схема водокольцевого вакуумного насоса приведена на рис. 3. При вращении рабочего колеса насоса образуется жидкостное кольцо 1, которое под действием центробежной силы прижимается к внутренней поверхности корпуса. Вследствие эксцентричного расположения рабочего колеса жидкостное кольцо отходит от втулки ротора, увеличивая рабочий объем, в который через всасывающее окно 2 всасывается воздух. Ячейка, образуемая внутренней поверхностью втулки ротора и лопатками 3, увеличивает свой объем до определенной величины угла поворота колеса. При этом происходит процесс всасывания. При дальнейшем повороте рабочего колеса начинается сжатие воздуха за счет уменьшения объема ячейки. При достижении в ячейке заданного давления (при повороте колеса на определенный угол) ячейка сообщается с нагнетательным окном 4, через которое сжатый воздух вытесняется в нагнетательную полость и выходит из машины.

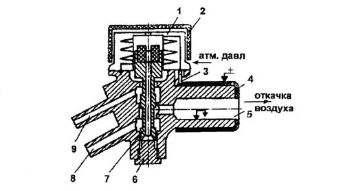
Регулятор вакуума монтируется на магистральном вакуумпроводе. Его принцип действия следующий. Над мембранами 4 и 6 клапанов (рис. 4) создается вакуум. При работе насоса на мембраны 4 и 6 клапанов 3 и 7 воздействуют силы перепада давления. Под воздействием этих сил клапаны изменяют свое положение. Основной клапан 3 регулирует поток натекания воздуха в систему. Вакуумный регулятор фирмы «Вестфалия» мгновенно реагирует на этот поток воздуха. Короткое время реагирования (0,5 секунды) гарантирует долго сохраняющийся на одном уровне вакуум. Стабильный вакуум снижает заболеваемость коров маститом и является обязательным условием при использовании электроники на других узлах доильной установки. Для чистки регулятор разбирается без помощи инструментов.

Рис. 4. Принципиальная схема вакуумного регулятора:
1 – вакуум-провод; 2 – воздушный патрубок; 3 – клапан; 4 – мембрана;
5 – воздушный патрубок; 6 – мембрана; 7 – клапан; 8 – пружина;
9 – винт регулировочный; 10 – вакуумметр; 11 – трубка вакуумная.
3. УСТРОЙСТВО И РАБОТА ЛИНИИ ДОЕНИЯ КОРОВ
Основными узлами молочной системы доильной установки являются доильные аппараты, молочный трубопровод, молокоприемник, автоматы додаивания и механизмы снятия аппаратов. Каждый доильный аппарат (рис 5) состоит из четырех доильных стаканов, коллектора, пульсатора, молочного и вакуумного шлангов, мерной емкости.

Электромагнитные пульсаторы для попарного доения (рис.6). Пульсаторы действуют от постоянного и переменного электрического тока напряжением 12В (по требованию техники безопасности). При протекании электрического тока по обмотке пульсатора стерженек ферромагнитного материала втягивается внутрь и закрывает отверстие в центре пульсатора, отключая камеру под электромагнитом от атмосферного воздуха и соединяя ее с постоянным вакуумом. Пульсатор обеспечивает пульсацию вакуума в межстенном пространстве доильного стакана с частотой 65 пульсов в минуту при доении коров.

Рис. 6. Схема электромагнитного пульсатора для попарного доения:
1 – электромагнит; 2 – кожух; 3 – металлическая оболочка; 4 – прокладка;
5 – патрубок; 6 – пробка; 7 – стержень; 8, 9 – патрубки пульсирующего вакуума.
Молокоприемник (рис.7) емкостью 70 литров собирает молоковоздушную смесь и выводит молоко из-под вакуума. Он предохраняет вакуумный насос от попадания в него молока или моющего раствора. Эти функции молокоприемника обеспечивают его основные два узла – молочная емкость с поплавковым сенсорным устройством и предохранительная камера. Молоковоздушная смесь при доении из молочного трубопровода поступает в молокоприемник и накапливается в нем. По мере заполнения молокоприемника молоком или моющим раствором поплавок всплывает и включает насос для откачки порции молока или моющего раствора. Датчик включения молочного насоса работает так, что определенная порция молока всегда остается в молокоприемнике, предотвращая попадание воздуха в молочный насос.

Рис. 7. Основные узлы молокоприемника:
1 – предохранительная камера; 2 – всасывающий патрубок;
3 – пульт; 4 – молокоприемник; 5 – насос молочный.
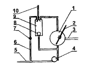
При отказе молочного насоса (переполнении молокоприемника) жидкость (молоко или моющий раствор) из молокоприемника засасывается в предохранительную камеру 9 (рис.8). При заполнении предохранительной камеры, имеющийся в ней поплавок 8 всплывает и прекращает доступ вакуума в молокоприемник, а, следовательно, и в молокопровод. Комбинированное управление по времени и поплавком регулирует интервалы откачки. Молочный насос перекачивает молоко из молокосборника в танк-охладитель. В связи с тем, что насос не является самовсасывающим, его бесперебойная работа обеспечивается всасывающим шлангом, расположенным выше оси насоса при откачке молока из молокосборника.

Рис. 8. Принципиальная схема устройства предохранительной камеры:
1 – молокоприемник; 2 – поплавковый датчик; 3 – молочный трубопровод;
4 – молочный насос; 5 – нагнетательный трубопровод; 6 – промывочный шланг;
7 – зажим; 8 – клапан; 9 – предохранительная камера; 10 – всасывающий
вакуумный трубопровод.
Молочный фильтр (рис.9) предназначен для очистки молока от механических примесей. Основной конструкторский элемент фильтра – бумажный фильтрующий элемент разового пользования. Регулярное техническое обслуживание проводится через каждые 1500 часов работы оборудования специалистом сервисного центра.

КОНТРОЛЬНЫЕ ВОПРОСЫ.
1. Как устроена вакуумная система?
2. Поясните принцип работы водокольцевого вакуумного насоса.
3. Назначение и принцип работы вакуумного регулятора.
4. Перечислите основные узлы молочной системы.
5. Как работает электромагнитный пульсатор?
6. Какие функции выполняет молокоприемник?
7. Как устроен молочный фильтр?



