Полиэтиленовый Бак
30, 60 и 100 литров
Руководство Пользователя

MILLIPORE
Замечание
Millipore Corporation оставляет за собой право вносить изменения в данный документ без дополнительного уведомления. Millipore Corporation не несет никакой ответственности за любые ошибки, которые могут быть обнаружены в настоящем документе. Данное руководство содержит полную и точную информацию на момент его публикации. Во всех случаях Millipore Corporation не несет ответственности за случайные или косвенные убытки, причиненные в связи или вследствие использования использованием настоящего руководства.
Авторские права
© 1998 MILLIPORE CORPORATION. ОТПЕЧАТАНО ВО ФРАНЦИИ. ВСЕ ПРАВА ЗАЩИЩЕНЫ.
ДАННАЯ КНИГА ИЛИ ЕЕ ЧАСТИ НЕ МОГУТ БЫТЬ ВОСПРОИЗВЕДЕНЫ В ЛЮБОЙ ФОРМЕ БЕЗ ПИСЬМЕННОГО РАЗРЕШЕНИЯ ИЗДАТЕЛЕЙ.
Раздел 1 Документальная информация D - 03/06
Торговые марки
Millipore, Elix, Milli-Q и Millipak являются зарегистрированными торговыми марками Millipore Corporation.
Rios является зарегистрированной торговой маркой Millipore Corporation.
Все остальные торговые марки являются торговыми марками соответствующих производителей.
СОДЕРЖАНИЕ
Глава 1 Введение
1.1. Использование данного руководства
1.2. Контактная информация Millipore
Глава 2 Информация о продукте
2.1 Основные компоненты
2.2 Технические характеристики
Глава 3 Распаковка бака – Что внутри?
Глава 4 Установка бака
4.1 Заполнение бака водой
4.2 Отбор воды из бака
4.3 Датчик уровня
4.4 Вентиляционный фильтр
4.5 Трубка аварийного перелива и обратный клапан
Глава 5 Техническое обслуживание
5.1 Техническое обслуживание трубки аварийного перелива
5.2 Хранение бака в течение длительного времени
5.3 Санитизация бака
Глава 6 Информация для заказа
6.1 Каталожные номера баков
6.2 Каталожные номера расходных материалов
6.3 Каталожные номера аксессуаров
Глава 1 Введение
1.1. Использование данного руководства
Данное руководство по эксплуатации содержит указания по установке, нормальной эксплуатации и техническому обслуживанию 30, 60 и 100-литровых ПЭ баков. Обозначение "Бак" используется в данном руководстве для 30-литрового, 60-литрового и для 100-литрового бака, если иное не оговорено. Для осуществления нормальной эксплуатации и технического обслуживания настоятельно рекомендуется ознакомиться с данным руководством и полностью разобраться с содержащимися в нем рекомендациями до начала работы с системой.
1.2. Контактная информация Millipore
ИНТЕРНЕТ
На Интернет сайте компании Millipore можно найти адреса, номера телефонов/факсов и другую полезную информацию
Адрес в Интернете: www.millipore.com
www. /techservice
Контакты Производителя
Millipore SAS
67120 Molsheim
FRANCE
Глава 2 Информация о продукте
2.1 Основные компоненты

2.2 Технические характеристики
РАЗМЕРЫ сантиметры (дюймы)


Глава 3 Распаковка бака – Что внутри?
Откройте упаковку бака. С помощью списка, приведенного ниже, удостоверьтесь, что все компоненты на месте. Настоятельно рекомендуется ознакомиться с содержимым упаковки, так как эти предметы будут использованы при установке.
Свяжитесь с Millipore, если какие-либо предметы отсутствуют.
Бак и основание бака
Передний шаровой клапан
Кабель датчика уровня со штепселем
Крышка
Входное отверстие бака
¼ дюйма шаровой клапан
½ дюйма шаровой клапан
Трубка аварийного перелива и обратный клапан
В пакете с аксессуарами
Удлинитель трубки аварийного перелива
Переходник на трубку 6 мм
Красная заглушка для переходника
Следующие предметы НЕ ВХОДЯТ В КОМПЛЕКТ С БАКОМ и заказываются отдельно:
Вентиляционный фильтр
Соединительные крепежи для трубки входящей воды
Трубка для воды, входящей из системы водоочистки
Глава 4 Установка бака
4.1 Заполнение бака водой
Другой конец входящей трубки подсоединен к источнику, заполняющему бак.

Трубка входящей воды может быть обрезана для установки 6 мм соединительного переходника. Трубка вставляется в переходник с обеих сторон. Обычно соединительный переходник устанавливается возле системы очистки воды. Соединительный переходник используется при измерении скорости потока воды из системы водоочистки. Для измерений отсоединить трубку идущую со стороны системы водоочистки. Использовать красную заглушку для закупорки открытой стороны переходника и предотвращения вытекания воды из бака.
4.2 Отбор воды из бака
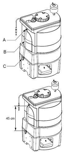
Продеть конец трубки через отверстие в задней стенке основания бака и подсоединить его к ¼ дюймовому шаровому клапану (А). Для этого потребуется крепеж, не входящий в комплект вместе с баком.
½ дюймовый шаровой клапан (В) может быть использован для приложений, требующих быстрого отбора большого количества воды (например, посудомоечная машина), а также для полного опустошения бака.
4.3 Датчик уровня
Датчик уровня предназначен для использования с системой очистки воды для индикации уровня воды в баке.
При поставке поплавок датчика уровня прикреплен к стержню. Открутить крышку бака чтобы увидеть стержень и поплавок датчика уровня. Для того чтобы поплавок мог свободно перемещаться вдоль стержня, необходимо удалить удерживающий его пластиковый зажим.
Магнит расположен в верхней части поплавка. Если поплавок перевернут, отображаемый уровень воды в баке будет неверным.
4.4 Вентиляционный фильтр
Вентиляционный фильтр используется для фильтрования воздуха, поступающего в бак. По мере отбора воды из бака, поступающий в него воздух проходит через фильтр. Важно, чтобы бак был закрыт герметично – для этого крышка должна быть плотно закрыта, а на трубке аварийного перелива должен быть установлен обратный клапан (смотри ниже). Это позволит воздуху проходить только сквозь вентиляционный фильтр.
Доступны два типа вентиляционных фильтров. Каталожные номера и описание приведены ниже:
TANKMPK01. Этот фильтр используется в том случае, когда бак заполняется водой из системы Elix. Этот фильтр содержит активированный уголь, натровую известь и 0.65 мкм гидрофобную мембрану. Фильтр заменяют один раз в год.
TANKMPK02. Этот фильтр используется в том случае, когда бак заполняется водой из системы обратного осмоса RiOs. Этот фильтр содержит две 0.65 мкм гидрофобные мембраны. Фильтр заменяют один раз в год.
УСТАНОВКА ОБОИХ ТИПОВ ВЕНТИЛЯЦИОННОГО ФИЛЬТРА
Снять крышку с переходника.
Вентиляционный фильтр устанавливается через переходник в верхней части бака. Резьба на фильтре не нуждается в обмотке лентой, так как на переходнике есть резиновое уплотнение. Закручивать вентиляционный фильтр в переходник до упора. Не перетягивать.
Не выбрасывать переходник при замене фильтра. Вентиляционный фильтр имеет двусторонние вентиляционные входы, которые не используются.
4.5 Трубка аварийного перелива и обратный клапан

Трубка аварийного перелива подсоединена между баком и обратным клапаном (С). Обратный клапан предотвращает попадание воздуха в бак через трубку аварийного перелива.
Подсоединить трубку аварийного перелива к баку. Конец трубки аварийного перелива (В) насаживается на стержень на задней стенке бака (А).
Желательно иметь не менее 45 см по вертикали от верхней части бака до обратного клапана.
Обратный клапан имеет определенную ориентацию. Он ориентирован таким образом, что вода может вытекать из трубки аварийного перелива, но воздух не может попадать через трубку в бак.
Глава 5 Техническое обслуживание
5.1 Техническое обслуживание трубки аварийного перелива
Периодически проверять трубку на наличие в ней воды. При обнаружении воды в трубке отсоединить ее от бака, вылить воду и подсоединить обратно к верхней части бака.
Проводить санитизацию трубки аварийного перелива каждый раз при замене вентиляционного фильтра, или не менее двух раз в год. Санитизацию можно проводить дезинфицирующим средством (гипохлорит натрия 5%) или перекисью водорода (раствор ~ 1.5%).
При обесцвечивании трубка аварийного перелива должна быть заменена.
5.2 Хранение бака в течение длительного времени
Если бак не используется в течении более чем недели, воду из него следует слить. При хранении внутренние стенки бака должны быть сухими.
5.3 Санитизация бака
Санитизацию бака можно проводить либо с помощью санитизирующих химических веществ, либо с помощью ультрафиолетового (УФ) света.
ХИМИЧЕСКАЯ САНИТИЗАЦИЯ
Отсоединить любое оборудование, питающееся из резервуара (системы Milli-Q®, посудомоечные машины,…)
Отсоединить ASM, если он используется.
Заполнить бак водой из системы водоочистки. Отсоединить источник воды от бака путем закупоривания соединительного переходника питающей трубки с помощью заглушки. Добавить реактив для достижения концентрации 100 мг/л в баке.Например, при использовании 11.4% раствора гипохлорита натрия:
26 мл на 30 л бак
52 мл на 60 л бак
88 мл на 100 л бак
Гипохлорит натрия при растворении в воде образует сильный химический раствор, который может быть очень опасен для ваших глаз и кожи. Использовать защитные очки, перчатки и прочее защитное оборудование.
Не бросайте в бак хлорную таблетку.
Если вы не используете 11.4% гипохлорит натрия, свяжитесь с Millipore для подбора процедуры санитизации, совместимой с используемыми Вами приложениями.
Открыть на несколько секунд клапаны на передней части и в дне бака для их санитизации. Оставить бак замоченным по крайней мере на 12 часов. Полностью слить содержимое бака через ½ дюймовый шаровой клапан в дне бака. Подсоединить источник воды к баку и наполнить его. Наполнить и слить бак полностью дважды. Подсоединить оборудование к баку и заменить вентиляционный фильтр. Подсоединить к баку ASM если он используется.Замечание: Частота санитизации зависит от использования и применений. Рекомендуется проводить санитизацию не реже раза в год, по возможности в конце лета.
САНИТИЗАЦИЯ УЛЬТРАФИОЛЕТОВЫМ СВЕТОМ
Для предотвращения образования биопленки и распространения бактерий внутри бака может быть использован Автоматический Санитизационный Модуль (АSМ).
Модуль использует бактерицидные свойства ультрафиолетового света (УФ) длиной волны 254 нм, испускаемого ртутной лампой, смонтированной внутри бака. Лампа помещается в крышку, вместо стандартной, закрывающей бак.
УФ лампа ASM может включаться один или несколько раз в день.
Для дополнительной информации об ASM свяжитесь с Millipore.
Глава 6 Информация для заказа
6.1 Каталожные номера баков
________________________________________________________________________
Описание Каталожный номер
30 л полиэтиленовый бак TANKPE030
60 л полиэтиленовый бак TANKPE060
1000 л полиэтиленовый бак TANKPE100 .
6.2 Каталожные номера расходных материалов
________________________________________________________________________
Описание Каталожный номер
Усовершенствованный вентиляционный фильтр
(Рекомендован для хранения воды Elix®) TANKMPK01
Стандартный вентиляционный фильтр
(Рекомендован для хранения воды RiOs®) TANKMPK02
6.3 Каталожные номера аксессуаров
________________________________________________________________________
Описание Каталожный номер
Скоба для крепления на стену TANKFIX01
Автоматический Санитизационный Модуль (230В/50Гц) TANKS50UV
Автоматический Санитизационный Модуль (230В/50Гц)
с датчиком воды TANKS5LUV
Автоматический Санитизационный Модуль (120В/60Гц) TANKS60UV
Автоматический Санитизационный Модуль (120В/60Гц)
с датчиком воды TANKS6LUV
Распределительный насос (230В/50Гц) с соединительным
комплектом TANKREC50
Распределительный насос (120В/60Гц) с соединительным
комплектом TANKREC51 .



