
ГОСУДАРСТВЕННЫЙ СТАНДАРТ СОЮЗА ССР
ОГРАЖДЕНИЯ ЛЕСТНИЦ, БАЛКОНОВ И КРЫШ СТАЛЬНЫЕ
ОБЩИЕ ТЕХНИЧЕСКИЕ УСЛОВИЯ
ГОСТ 25772- 83
ГОСУДАРСТВЕННЫЙ КОМИТЕТ СССР ПО ДЕЛАМ СТРОИТЕЛЬСТВА
Москва
ГОСУДАРСТВЕННЫЙ СТАНДАРТ СОЮЗА ССР
ОГРАЖДЕНИЯ ЛЕСТНИЦ, БАЛКОНОВ И КРЫШ СТАЛЬНЫЕ Общие технические условия Steel guardrailing of stalrways, balkonies and roofs. General specifications | ГОСТ |
Постановлением Государственного комитета СССР по делам строительства от 18 апреля 1983 г. № 72 срок введения установлен
с 01.01.84
Несоблюдение стандарта преследуется по закону
Настоящий стандарт распространяется на стальные ограждения лестничных маршей и площадок, балконов и крыш.
Стандарт не распространяется на ограждения стальных лестниц и площадок.
1. ТИПЫ, ОСНОВНЫЕ ПАРАМЕТРЫ И РАЗМЕРЫ
1.1. По назначению ограждения подразделяют на типы, приведенные в табл. 1.
Таблица 1
Назначение ограждения | Обозначение типа |
Для лестничных маршей: внутренних наружных дошкольных учреждений | МВ lом hом MН lом hом MД lом hом |
Для лестничных площадок: внутренних наружных дошкольных учреждений | ПВ ПН ПД |
Для балконов: здании высотой до 30 м зданий высотой свыше 30 м дошкольных учреждений незадымляемых лестничных клеток | БП БВ БД БЛ |
Для крыш: без парапета с парапетом | КО KII |
Примечание. lом hом - по ГОСТ 9818.0-85.
(Измененная редакция, Изм. №1)
1.2. По заполнению каркаса ограждения подразделяют на виды:
Р - решетчатые;
Э - экранные (для навески экранов из листовых или плитных материалов);
К - комбинированные (с решетчатыми и экранными участками).
1.3. Основные размеры ограждении и размеры между элементами ограждений должны соответствовать указанным в табл. 2.
Таблица 2
Тип ограждения | H | h | а, не более | b |
МВ lом hом | 900 | 800 | 150 | 300 |
МН lом hом | 1200 | 1100 | ||
МД lом hом | 1180 | 100 | - | |
ПВ | 900 | 800 | 150 | 300 |
ПН | 1200 | 1100 | ||
ПД | 1180 | 100 | - | |
БП | 1000 | 900 | 110 | 300 |
БВ | 1100 | 1000 | ||
БД | 1200 | 1180 | 100 | - |
БЛ | 1100 | 110 | 300 | |
КО | 600 | - | 300 | - |
КП |
Примечание. Буквенные обозначения размеров (H, h, a и b) ограждений приведены в справочном приложении.
l.4. Ограждения эксплуатируемых крыш должны быть выполнены в соответствии с требованиями, предъявляемыми к ограждениям балконов.
1.5. Стальные ограждения крыш, устанавливаемые на парапет, должны иметь высоту за вычетом высоты парапета.
1.6. Условное обозначение марки ограждения принимают в соответствии со схемой:

Пример условного обозначения марки ограждения лестничного марша внутренней лестницы длиной 2700 и высотой 900 мм, решетчатого:
MB 27.12-27.9 Р ГОСТ
То же, ограждения лестничной площадки наружной лестницы длиной 2400 и высотой 1200 мм, экранного:
ПН - 24.12 Э ГОСТ
То же, ограждения крыш без парапета длиной 3800 и высотой 600 мм, решетчатого:
КО - 38.6 Р ГОСТ
2. ТЕХНИЧЕСКИЕ ТРЕБОВАНИЯ
2.1. Ограждения следует изготовлять в соответствии с требованиями настоящего стандарта, ГОСТ , стандартов или технических условий на ограждения конкретных типов но рабочим чертежам, утвержденным в установленном порядке.
2.2. Качество поверхности и внешний вид ограждений должны соответствовать образцам-эталонам, утвержденным в установленном порядке. На поверхности ограждении не должно быть механических повреждений, заусенцев, искривлений, окалины или ржавчины.
2.3. Ограждения должны выдерживать нагрузки, предусмотренные в СНиП 2.01.07-85.
(Измененная редакция, Изм. №1)
2.4. Материалы для стальных элементов ограждений должны приниматься согласно СНиП II-23-84.
2.5. Каркасы ограждений следует изготовлять сварными. Сварку следует выполнять согласно СНиП III-18-75.
2.6. Для балконов жилых зданий, за исключением балконов незадымляемых лестничных клеток, следует применять только экранные ограждения.
2.7. Ограждения лестниц и балконов детских дошкольных учреждений не должны иметь промежуточных наклонных и горизонтальных элементов.
2.8. Конструкция экранных и комбинированных ограждений должна быть снабжена элементами, обеспечивающими крепление и замену экранов.
2.9. Предельные отклонения размеров и отклонения формы ограждений от номинальных приведены в табл. 3.
Таблица 3
мм
Наименование показателя | Пред. откл |
Длина L: до 1500 включ. | ± 2 |
св. 1500 » 3900 » | ± 3 |
» 3900 » 7200 » | ± 4 |
Высота H | ±2 |
Размеры 300 и менее (a; b) | ±1 |
Перпендикулярность ограждения (кроме лестниц.) | 4 |
Заданный угол сопряжения элементов (для лестниц) | 3 |
Прямолинейность в плоскости и из плоскости ограждения при длине L: | |
до 1500 включ. | 1 |
св. 1500 » 3900 » | 3. |
» 3900 » 7200 » | 5 |
Примечание. Предельные отклонения от прямолинейности относятся как к ограждению в целом, так и к отдельным его элементам.
2.10. Ограждения должны быть защищены от коррозии в соответствии со СНиП 2.03.11-85.
(Измененная редакция. Изм. №1)
3. КОМПЛЕКТНОСТЬ
3.1. Ограждения должны поставляться комплектно. В комплект поставки должны входить:
ограждения;
крепежные детали для экранных и комбинированных ограждений;
техническая документация в соответствии с требованиями ГОСТ .
3.2. В комплект поставок не входят экраны для экранных и комбинированных ограждений.
4. ПРАВИЛА ПРИЕМКИ
4.1. Ограждения должны приниматься отделом технического контроля предприятия-изготовителя партиями. Партией следует считать ограждения одной марки, изготовленные по одной технологии.
Размер партии устанавливают по соглашению между изготовителем и потребителем, но не более 200 шт.
4.2. Для контроля внешнего вида, размеров и качества антикоррозийного покрытия из разных пакетов каждой партии отбирают 5% ограждений, но не менее 5 шт.
4.3. При получении неудовлетворительных результатов контроля хотя бы по одному из показателей качества по этому показателю проводят повторный контроль на удвоенном числе образцов, отобранных от той же партии.
Если при повторной проверке окажется хотя бы одно ограждение, не удовлетворяющее требованиям настоящего стандарта, то всю партию подвергают поштучной приемке.
4.4. Для контроля ограждений на соответствие требованиям п. 2.3 проверяют одно ограждение при постановке его на производство, при изменении конструкции или технологии изготовления.
4.5. Потребитель имеет право проводить контрольную проверку соответствия ограждений требованиям настоящего стандарта, соблюдая при этом приведенный порядок отбора ограждений и применяя указанные методы контроля.
5. МЕТОДЫ КОНТРОЛЯ
5.1. Качество поверхности и внешний вид (п. 2.2) отобранных ограждений определяют визуально сравнением с образцом-эталоном, утвержденным в установленном порядке.
5.2. Контроль ограждений на соответствие требованиям п. 2.3 проводят по схемам испытания ограждений конкретных типов, утвержденных в установленном порядке.
5.3. Качество стали и сварочных материалов должно быть удостоверено сертификатами предприятий-поставщиков или по данным лаборатории предприятия-изготовителя ограждений.
5.4. Контроль качества сварных швов и их размеров (п. 2.5) следует проводить в соответствии со СНиП III-18-75.
5.5. Линейные размеры ограждений (п. 2.9) контролируют рулеткой класса 2 по ГОСТ 7502-80, металлической линейкой по ГОСТ 427-75 и штангенциркулем по ГОСТ 166-80.
5.6. Отклонение от перпендикулярности (п. 2.9) проверяют металлическим угольником со стороной длиной 1 м, изготовленным по чертежам, согласованным с органами Госстандарта, и металлической линейкой по ГОСТ 427-75. Угольник последовательно накладывают на все четыре угла ограждения. Одну сторону угольника плотно прижимают к ограждению и измеряют металлической линейкой наибольший зазор между второй стороной угольника и ограждением.
5.7. Отклонение от заданного угла сопряжения элементов ограждений лестниц (п. 2.9) проверяют металлическим угольником-шаблоном со стороной длиной 1 м, изготовленным по чертежам, согласованным с органами Госстандарта, и металлической линейкой по ГОСТ 427-75. Угольник последовательно накладывают на два тупых угла ограждения. Одну сторону угольника плотно прижимают к ограждению и измеряют металлической линейкой наибольший зазор между второй стороной угольника и ограждением.
5.8. Отклонение от прямолинейности (п. 2.9) проверяют измерением металлической линейкой по ГОСТ 427-75 зазора между ограждением и струной, закрепленной по концам ограждения или его элемента.
5.9. Контроль качества защитных покрытий от коррозии (п. 2.10) - по СНиП 3.04.03-85.
(Измененная редакция, Изм. №1)
6. УПАКОВКА, МАРКИРОВКА, ТРАНСПОРТИРОВАНИЕ И ХРАНЕНИЕ
6.1. Ограждения упаковывают в пакеты по чертежам предприятия-изготовителя, утвержденным в установленном порядке. Упаковка пакетов должна обеспечивать сохранность ограждений и защитного покрытия от механических повреждений.
Масса пакета не должна превышать 3000 кг.
Максимальные размеры транспортных пакетов должны соответствовать ГОСТ .
Формирование транспортных пакетов производится в соответствии с ГОСТ .
Требования к пакетам и средствам пакетирования должны соответствовать ГОСТ , ГОСТ и ГОСТ .
(Измененная редакция, Изм. №1)
6.2. Маркировка, наносимая на металлический, пластмассовый или деревянный ярлык, прикрепляемый к пакету, должна содержать:
наименование или товарный знак предприятия-изготовителя;
условное обозначение (марку) ограждения;
число ограждений в пакете;
массу пакета;
номер пакета;
клеймо (штамп) отдела технического контроля предприятия-изготовителя.
Транспортную маркировку производить в соответствии с требованиями ГОСТ .
(Измененная редакция, Изм. №1)
6.3. Каждая партия отгружаемых ограждений должна сопровождаться документом, содержащим:
наименование или товарный знак предприятия-изготовителя;
наименование потребителя;
номер заказа;
условное обозначение (марку) ограждения;
вид и цвет защитного покрытия;
число и номера пакетов с указанием массы каждого пакета;
штамп отдела технического контроля предприятия-изготовителя.
6.4. Стальные ограждения должны храниться по маркам в пакетах с опиранием на деревянные прокладки и подкладки.
Подкладки под нижний ряд ограждений должны быть толщиной не менее 50 и шириной не менее 100 мм и уложены по ровному основанию через 1000 мм, но не менее двух на одно ограждение.
Прокладки между ограждениями должны быть толщиной не менее 20 и шириной не менее 100 мм.
6.5. При транспортировке ограждений необходимо обеспечивать укладку пакетов с опиранием на деревянные прокладки, прокладки согласно п. 6.4. Ограждения транспортируют любым видом транспорта, в соответствии с Правилами перевозки грузов, действующими на транспорте данного вида.
(Измененная редакция, Изм. №1)
6.6. Условия транспортирования ограждений при воздействии климатических факторов - ОЖ1, условия хранения - Ж2 по ГОСТ .
(Измененная редакция. Изм. №1)
7. УКАЗАНИЯ ПО МОНТАЖУ
7.1. Монтаж ограждений следует производить в соответствии с требованиями ГОСТ и СНиП 3.03.01-87.
(Измененная редакция, Изм. №1)
7.2. Зазоры, с между элементами ограждения и железобетонными плитами и маршами должны соответствовать указанным в табл. 4.
Таблица 4
мм
Тип ограждения | с |
MB lом hом, МН lом hом, ПВ, ПН, БП, БВ, и БЛ | 100 ±1 |
МД lом hом, ПД и БД | 20 ±1 |
Примечание. Буквенное обозначение размера с приведено в справочном приложении.
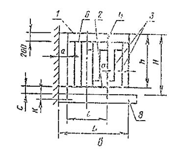
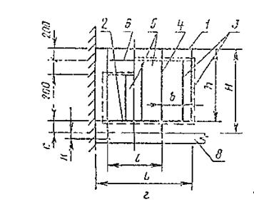
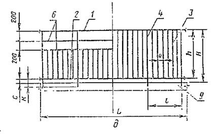
ПРИЛОЖЕНИЕ
Справочное
ПРИМЕРЫ ОГРАЖДЕНИЙ ЛЕСТНИЦ, БАЛКОНОВ И КРЫШ








а - решетчатые ограждения лестничных маршей; б - экранные и комбинированные ограждения лестничных маршей; в - решетчатые ограждения лестничных площадок; г - экранные и комбинированные ограждения лестничных площадок; д - решетчатые ограждения балконов; е - экранные и комбинированные ограждения балконов; ж - ограждения крыш без парапета; и - ограждения крыш с парапетом; 1 - поручень; 2 - горизонтальный или наклонный ограждающий элемент; 3 - вертикальный ограждающий элемент; 4 - стойка; 5 - экран (показан пунктирной линией); 6 - горизонтальный или наклонный промежуточный ограждающий элемент; 7 - ступени; 8 - плита лестничной площадки; 9 - балконная плита; 10 - уровень кровли.
Примечания:
1. Значения шага стоек l и общей длины ограждения L принимают по рабочим чертежам.
2. Значение длины стойки k для заделки ее или приварки к плите или лестничному маршу принимают по рабочим чертежам.
3. Архитектурные решения ограждений являются условными.



