.
2.6.2. В том случае, когда лестничная клетка разделена на две зоны с внутренним переходом между зонами, расчет подпора в лестничную клетку и лифтовую шахту рекомендуется выполнять нижеследующим методом. Давление в лифтовой шахте на первом этаже определяется по формуле:
, (38)
А, В, С — | коэффициенты по табл. 5; |
Рвес — | давление воздуха в вестибюле по формуле (20); |
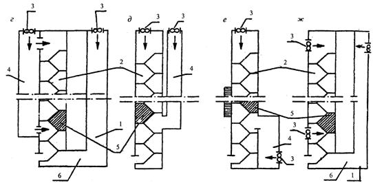
DРк. ш — | разность давлений между лестничной клеткой и лифтовой шахтой на уровне верхнего этажа лестничной клетки или «рассечки» (рис. 2 г, д, е, ж) DРк. ш = Рк. нз. в - Рш. нз. в; |
При числе этажей в нижней зоне лестничной клетки более 10 разность давлений DРк. ш не должна превышать предельные значения, указанные в табл.4.
Таблица 5
Коэффициенты для определения давления Рш, Па, при планировке В
Число | Коэффициенты А, В, С в формуле (19) при числе лифтов | ||||||||
этажей в | 2 | 3 | 4 | ||||||
зоне | А | В | С | А | В | С | А | В | С |
5 | 10,0 | 1,6 | 0,6 | 7,5 | 1,52 | 0,65 | 5 | 1,44 | 0,7 |
7 | 12,5 | 1,72 | 0,47 | 8,5 | 1,58 | 0,5 | 5 | 1,44 | 0,52 |
9 | 15,0 | 1,84 | 0,33 | 10,0 | 1,64 | 0,35 | 5 | 1,44 | 0,35 |
11 и более | 25,0 | 1,9 | 0,22 | 15,0 | 1,7 | 0,2 | 5 | 1,44 | 0,18 |
Общий расход воздуха, поступающий в лестничную клетку и лифтовую шахту нижней зоны здания, определяется по формуле (28).
Средний расход Gср на каждом этаже со второго по верхний для нижней зоны здания определяется по табл. 6.
Таблица 6
Средний расход воздуха на каждый этаж нижней зоны здания со второго по верхний Gср, кг/ч, при планировке В
DРк. ш, Па, на «уровне рассечки» | Значение Gср, кг/ч, при Рш1, Па | |||||
30 | 60 | 90 | 120 | 150 | 180 | |
150 | 1910 | 2165 | 2400 | 2640 | 2900 | 3140 |
45 | 1890 | 2100 | 2330 | 2580 | 2720 | 2920 |
25 | 1820 | 2070 | 2300 | 2560 | 2700 | 2900 |
-20 | 1560 | 1800 | 2070 | 2320 | 2570 | 1860 |
Расход воздуха для подачи в нижнюю зону лестничной клетки Gкнз кг/ч, определяется по рис. 7. Для подачи в лифтовую шахту Gк, нз кг/ч, — по формуле:
(40)
Давление воздуха в верхней части нижней зоны лестничной клетки («уровень рассечки») определяется по формуле:
(41)
где Рш1 — | по формуле (38); |
ΔРк. ш — | по п. 2.5.2 б; |
Nзh — | число этажей в зоне и высота этажа; |
— | разность удельных весов наружного и внутреннего воздуха принимается по табл.3. |
Давление воздуха в верхней части верхней зоны лестничной клетки определяют по формуле:
. (42)
По давлению Рк. вз. в и давлению в лифтовой шахте Рш1, рассчитанному по формуле (38), определяют расход воздуха для верхней зоны лестничной клетки, кг/ч, по формуле
. (43)
По рис. 8 определяют средний расход воздуха Gср. вз, кг/ч, на каждый этаж верхней зоны здания.
Расход воздуха для верхней зоны лифтовой шахты определяют по формуле
. (44)
Общий расход воздуха, подаваемый в лифтовые шахты, определяют по формуле
. (45)
Общий расход воздуха, подаваемого в лестничную клетку, определяют по формуле
. (46)
Полное давление вентилятора, Па, определяют по формулам:
а) для шахт лифтов
; (47)
б) для верхней зоны лестничной клетки
; (48)
в) для нижней зоны лестничной клетки
, (49)
где DРс — | потери в сети воздуховодов обвязки вентилятора, Па; |
N — | число этажей в здании; |
Nз — | число этажей в нижней зоне здания; |
Н — | высота этажа, м; |
— | разность удельных весов наружного и внутреннего воздуха, Н/м3, определяется по табл. 3; |
Рш1 — | давление воздуха в лифтовой шахте на 1-м этаже, Па. |
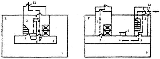
Расчет приточной противодымной вентиляции лестнично-лифтового узла Г аналогичен расчету узла В.
2.7. Противодымная защита тамбур-шлюзов.
2.7.1. Приточный воздух подается в тамбур-шлюзы при входе в незадымляемую лестничную клетку 3-го типа.
2.7.2. Расход наружного воздуха в тамбур-шлюз лестничной клетки 3-го типа на этаже пожара следует определять из расчета подачи 4700 м3/ч или 5640 кг/ч на 1 м2 площади открытой створки двери тамбур-шлюза.
2.7.3. Расход наружного воздуха, кг/ч, в тамбур-шлюзы закрытыми дверями остальных этажей следует рассчитывать по формуле
, (50)
где Ащ — | площадь, м2, неплотностей и щелей в притворах дверей тамбур-шлюзов, м2; |
V — | скорость ветра, м/с, наружного воздуха в холодный период года при параметрах Б, но не более 5 м/с; |
r — | плотность наружного воздуха, кг/м3, в холодный период года при параметрах Б; |
N — | число этажей лестничной клетки. |
2.7.4. Следует рассчитать расход воздуха через неплотности закрытых клапанов на всех этажах здания, кроме этажа пожара, по формуле (5) при среднем избыточном давлении в подающем воздуховоде и через неплотности воздуховодов по табл. 2. Если расход воздуха через неплотности закрытых клапанов меньше требуемого для тамбур-шлюзов по формуле (50), то его следует обеспечить неполным закрытием клапанов или другими способами при наладке системы.
Подачу наружного воздуха во время пожара в тамбур-шлюзы перед лестничными клетками 3-го типа рекомендуется предусматривать от специального вентилятора, нагнетающего воздух в вертикальную шахту с установленными на каждом этаже автоматическими клапанами, открываемыми по сигналу дымового датчика, размещенного в коридоре. В качестве приточного клапана рекомендуется использовать дымовой клапан.
Производительность приточной системы, м3/ч, лестничной клетки 3-го типа определяется как сумма расхода воздуха, подаваемого в тамбур-шлюз на этаже пожара, расхода воздуха в остальные тамбур-шлюзы с закрытыми клапанами по формуле (50) и утечки воздуха через неплотности воздуховодов.
2.7.5. Приток наружного воздуха в тамбур-шлюз перед лестницей в подвальном помещении категории В следует рассчитывать при одной открытой двери из тамбур-шлюза в подвальный этаж при расходе воздуха 4700 м3/ч на 1 м2 площади двери.
2.7.6. Расход наружного воздуха в тамбур-шлюз перед лифтовой шахтой в подвальных этажах следует рассчитывать при закрытых дверях по формуле (50).




Рис. 1. Планировки А, Б, В и Г лестнично-лифтовых узлов
1 — лестница в незадымляемой лестничной клетке 1-го типа с переходом через наружную зону; 2 — лестница в незадымляемой лестничной клетке 2-го типа; 3 — лифтовой холл;
4 — коридор; 5 — принимаемая в расчет открытая дверь на этаже пожара; 6 — шахта дымоудаления; 7 — дверь, закрытая при пожаре; 8 — типовой этаж; 9 — первый этаж;
10 — лифтовая шахта; 11 — лифт; 12 — дверь для выхода из здания


Рис. 2. Принципиальные схемы подачи наружного воздуха в
незадымляемые лестничные клетки 2-го типа и лифтовые шахты
а — в лифтовую шахту при незадымляемой лестничной клетке 1-го типа;
б — в незадымляемую лестничную клетку 2-го типа, с пропуском части воздуха в лифтовую шахту;
в — в незадымляемую лестничную клетку и лифтовую шахту отдельными системами;
г, д, е, ж — в незадымляемые лестничные клетки 2-го типа с рассечками;
1 — лифтовая шахта; 2 — лестничная клетка; 3 — вентилятор; 4 — вентиляционный канал; 5 — рассечка; 6 — вестибюль

Рис. 3. Средний расход воздуха Gср , кг/ч, на каждый этаж со 2-го по верхний в зависимости от давления воздуха в лифтовой шахте на 1-м этаже Рш1, Па, числа дверей на этаже и температуры наружного воздуха в холодный период года (параметры Б) для 1—14-этажного (а), для 15—20-этажного (б) и 21—27-этажного (в) здания
Номер кривой | 1 | 2 | 3 | 4 | 5 | 6 | 7 | 8 | 9 | Для рис. 3 а |
Число дверей | 16 | 8 | 4 | и 3 б | ||||||
Температура, °С | -45 | -25 | -5 | -45 | -25 | -5 | -45 | -25 | -5 | |
Номер кривой | 10 | 11 | 12 | 13 | 14 | 15 | Для рис. 3 в | |||
Число дверей | 8 | 4 | ||||||||
Температура, °С | -45 | -25 | -5 | -45 | -25 | -5 | ||||

|
Из за большого объема этот материал размещен на нескольких страницах:
1 2 3 4 5 |



